Phospholipid Application in Environmental Sensing Devices
JUL 16, 20259 MIN READ
Generate Your Research Report Instantly with AI Agent
Patsnap Eureka helps you evaluate technical feasibility & market potential.
Phospholipid Sensing Background and Objectives
Phospholipids have emerged as a promising material for environmental sensing devices, offering unique properties that enable the detection of various pollutants and contaminants in air, water, and soil. The development of phospholipid-based sensors represents a significant advancement in environmental monitoring technologies, combining the sensitivity of biological systems with the robustness required for field applications.
The evolution of phospholipid sensing technology can be traced back to the early studies of cell membranes and their interactions with environmental stimuli. Researchers discovered that phospholipids, the primary components of cell membranes, could be engineered to respond to specific environmental changes, paving the way for their use in sensing applications. This realization led to a surge in research focused on harnessing the potential of phospholipids for environmental monitoring.
As environmental concerns have grown more pressing in recent decades, the need for accurate, real-time, and cost-effective sensing solutions has become increasingly apparent. Traditional methods of environmental analysis often involve time-consuming laboratory procedures and expensive equipment, limiting their applicability for widespread monitoring. Phospholipid-based sensors offer a promising alternative, capable of providing rapid, on-site detection of a wide range of environmental pollutants.
The primary objective of phospholipid application in environmental sensing devices is to develop highly sensitive, selective, and stable sensors that can operate reliably in diverse environmental conditions. These sensors aim to detect and quantify various pollutants, including heavy metals, organic compounds, and biological contaminants, at concentrations relevant to environmental and health standards. Additionally, researchers are working towards miniaturization and integration of these sensors into portable devices, enabling widespread deployment for continuous environmental monitoring.
Another crucial goal is to enhance the specificity of phospholipid-based sensors, allowing for the simultaneous detection of multiple analytes in complex environmental matrices. This multi-analyte detection capability would significantly improve the efficiency and cost-effectiveness of environmental monitoring programs. Furthermore, efforts are being made to increase the longevity and stability of these sensors, ensuring their reliability in long-term environmental monitoring applications.
The development of phospholipid-based environmental sensors also aligns with the broader trend towards sustainable and bio-inspired technologies. By utilizing naturally occurring molecules and mimicking biological sensing mechanisms, these devices offer a more environmentally friendly approach to pollution detection compared to traditional chemical sensors. This aspect is particularly relevant in the context of growing environmental awareness and the push for green technologies across industries.
The evolution of phospholipid sensing technology can be traced back to the early studies of cell membranes and their interactions with environmental stimuli. Researchers discovered that phospholipids, the primary components of cell membranes, could be engineered to respond to specific environmental changes, paving the way for their use in sensing applications. This realization led to a surge in research focused on harnessing the potential of phospholipids for environmental monitoring.
As environmental concerns have grown more pressing in recent decades, the need for accurate, real-time, and cost-effective sensing solutions has become increasingly apparent. Traditional methods of environmental analysis often involve time-consuming laboratory procedures and expensive equipment, limiting their applicability for widespread monitoring. Phospholipid-based sensors offer a promising alternative, capable of providing rapid, on-site detection of a wide range of environmental pollutants.
The primary objective of phospholipid application in environmental sensing devices is to develop highly sensitive, selective, and stable sensors that can operate reliably in diverse environmental conditions. These sensors aim to detect and quantify various pollutants, including heavy metals, organic compounds, and biological contaminants, at concentrations relevant to environmental and health standards. Additionally, researchers are working towards miniaturization and integration of these sensors into portable devices, enabling widespread deployment for continuous environmental monitoring.
Another crucial goal is to enhance the specificity of phospholipid-based sensors, allowing for the simultaneous detection of multiple analytes in complex environmental matrices. This multi-analyte detection capability would significantly improve the efficiency and cost-effectiveness of environmental monitoring programs. Furthermore, efforts are being made to increase the longevity and stability of these sensors, ensuring their reliability in long-term environmental monitoring applications.
The development of phospholipid-based environmental sensors also aligns with the broader trend towards sustainable and bio-inspired technologies. By utilizing naturally occurring molecules and mimicking biological sensing mechanisms, these devices offer a more environmentally friendly approach to pollution detection compared to traditional chemical sensors. This aspect is particularly relevant in the context of growing environmental awareness and the push for green technologies across industries.
Environmental Monitoring Market Analysis
The environmental monitoring market has experienced significant growth in recent years, driven by increasing awareness of environmental issues, stringent regulations, and technological advancements. The global market for environmental sensing and monitoring technologies is projected to reach substantial value in the coming years, with a compound annual growth rate (CAGR) that outpaces many other industrial sectors.
A key factor contributing to this growth is the rising demand for real-time and accurate environmental data. Governments, industries, and research institutions are increasingly recognizing the importance of continuous monitoring of air quality, water quality, soil contamination, and other environmental parameters. This demand is particularly strong in urban areas, industrial zones, and regions facing severe environmental challenges.
The market for environmental sensing devices is segmented based on product type, sampling method, and end-user industry. Product types include fixed sensors, portable sensors, and remote sensing systems. Among these, portable sensors are gaining traction due to their flexibility and ease of use in various environmental conditions. The end-user industries driving market growth include government agencies, environmental protection organizations, industrial sectors such as manufacturing and energy, and academic and research institutions.
Geographically, North America and Europe currently dominate the environmental monitoring market, owing to strict environmental regulations and high adoption rates of advanced technologies. However, the Asia-Pacific region is expected to witness the fastest growth in the coming years, fueled by rapid industrialization, urbanization, and increasing environmental concerns in countries like China and India.
The integration of phospholipid-based sensing technologies in environmental monitoring devices represents a promising niche within this broader market. Phospholipids, known for their unique properties and biocompatibility, offer potential advantages in developing highly sensitive and selective sensors for detecting various environmental pollutants. This emerging technology aligns well with the market's demand for innovative, reliable, and cost-effective sensing solutions.
As environmental regulations become more stringent worldwide, there is a growing need for sensors capable of detecting pollutants at increasingly lower concentrations. Phospholipid-based sensors have the potential to meet this demand, particularly in applications such as water quality monitoring, air pollution detection, and soil contamination assessment. The market opportunity for these advanced sensing technologies is substantial, especially in sectors where traditional sensing methods fall short in terms of sensitivity or specificity.
A key factor contributing to this growth is the rising demand for real-time and accurate environmental data. Governments, industries, and research institutions are increasingly recognizing the importance of continuous monitoring of air quality, water quality, soil contamination, and other environmental parameters. This demand is particularly strong in urban areas, industrial zones, and regions facing severe environmental challenges.
The market for environmental sensing devices is segmented based on product type, sampling method, and end-user industry. Product types include fixed sensors, portable sensors, and remote sensing systems. Among these, portable sensors are gaining traction due to their flexibility and ease of use in various environmental conditions. The end-user industries driving market growth include government agencies, environmental protection organizations, industrial sectors such as manufacturing and energy, and academic and research institutions.
Geographically, North America and Europe currently dominate the environmental monitoring market, owing to strict environmental regulations and high adoption rates of advanced technologies. However, the Asia-Pacific region is expected to witness the fastest growth in the coming years, fueled by rapid industrialization, urbanization, and increasing environmental concerns in countries like China and India.
The integration of phospholipid-based sensing technologies in environmental monitoring devices represents a promising niche within this broader market. Phospholipids, known for their unique properties and biocompatibility, offer potential advantages in developing highly sensitive and selective sensors for detecting various environmental pollutants. This emerging technology aligns well with the market's demand for innovative, reliable, and cost-effective sensing solutions.
As environmental regulations become more stringent worldwide, there is a growing need for sensors capable of detecting pollutants at increasingly lower concentrations. Phospholipid-based sensors have the potential to meet this demand, particularly in applications such as water quality monitoring, air pollution detection, and soil contamination assessment. The market opportunity for these advanced sensing technologies is substantial, especially in sectors where traditional sensing methods fall short in terms of sensitivity or specificity.
Phospholipid Sensor Technology Status
Phospholipid-based sensors have emerged as a promising technology in environmental sensing devices, offering unique capabilities for detecting and monitoring various environmental pollutants and parameters. The current status of this technology reflects significant advancements in both research and practical applications.
One of the key developments in phospholipid sensor technology is the creation of biomimetic membranes that closely mimic natural cell membranes. These artificial lipid bilayers serve as the foundation for highly sensitive and selective sensing platforms. Researchers have successfully engineered these membranes to incorporate specific receptors or recognition elements, enabling the detection of a wide range of environmental contaminants, including heavy metals, organic pollutants, and microbial pathogens.
Recent progress in nanomaterial integration has further enhanced the performance of phospholipid-based sensors. The incorporation of nanoparticles, quantum dots, and carbon-based materials into the lipid membranes has led to improved sensitivity, stability, and signal transduction. These hybrid systems have demonstrated remarkable detection limits, often reaching parts-per-billion levels for various environmental analytes.
Advancements in microfluidic technologies have also played a crucial role in the development of phospholipid sensor devices. Miniaturized sensing platforms, such as lab-on-a-chip devices, have been successfully created using phospholipid membranes as the sensing element. These compact systems offer the advantages of reduced sample volume requirements, faster response times, and the potential for on-site, real-time environmental monitoring.
The field has witnessed significant progress in the development of multi-analyte sensing capabilities. Researchers have designed phospholipid-based sensor arrays that can simultaneously detect multiple environmental parameters or contaminants. This approach not only enhances the efficiency of environmental monitoring but also provides a more comprehensive assessment of environmental quality.
Efforts to improve the long-term stability and reusability of phospholipid sensors have yielded promising results. Novel encapsulation techniques and the use of stabilizing agents have extended the shelf life and operational lifespan of these sensors, making them more suitable for continuous environmental monitoring applications.
Despite these advancements, challenges remain in the widespread adoption of phospholipid-based sensors for environmental applications. Issues such as matrix effects in complex environmental samples, sensor fouling in harsh conditions, and the need for standardization and calibration protocols are active areas of research and development.
One of the key developments in phospholipid sensor technology is the creation of biomimetic membranes that closely mimic natural cell membranes. These artificial lipid bilayers serve as the foundation for highly sensitive and selective sensing platforms. Researchers have successfully engineered these membranes to incorporate specific receptors or recognition elements, enabling the detection of a wide range of environmental contaminants, including heavy metals, organic pollutants, and microbial pathogens.
Recent progress in nanomaterial integration has further enhanced the performance of phospholipid-based sensors. The incorporation of nanoparticles, quantum dots, and carbon-based materials into the lipid membranes has led to improved sensitivity, stability, and signal transduction. These hybrid systems have demonstrated remarkable detection limits, often reaching parts-per-billion levels for various environmental analytes.
Advancements in microfluidic technologies have also played a crucial role in the development of phospholipid sensor devices. Miniaturized sensing platforms, such as lab-on-a-chip devices, have been successfully created using phospholipid membranes as the sensing element. These compact systems offer the advantages of reduced sample volume requirements, faster response times, and the potential for on-site, real-time environmental monitoring.
The field has witnessed significant progress in the development of multi-analyte sensing capabilities. Researchers have designed phospholipid-based sensor arrays that can simultaneously detect multiple environmental parameters or contaminants. This approach not only enhances the efficiency of environmental monitoring but also provides a more comprehensive assessment of environmental quality.
Efforts to improve the long-term stability and reusability of phospholipid sensors have yielded promising results. Novel encapsulation techniques and the use of stabilizing agents have extended the shelf life and operational lifespan of these sensors, making them more suitable for continuous environmental monitoring applications.
Despite these advancements, challenges remain in the widespread adoption of phospholipid-based sensors for environmental applications. Issues such as matrix effects in complex environmental samples, sensor fouling in harsh conditions, and the need for standardization and calibration protocols are active areas of research and development.
Current Phospholipid Sensing Solutions
01 Phospholipid synthesis and modification
Various methods for synthesizing and modifying phospholipids are described. These include enzymatic processes, chemical reactions, and novel synthetic pathways to produce phospholipids with specific structures or properties. The techniques aim to improve yield, purity, or functionality of phospholipids for various applications.- Phospholipid synthesis and modification: Various methods for synthesizing and modifying phospholipids are described. These include chemical synthesis routes, enzymatic modifications, and techniques for altering the structure or properties of phospholipids. Such processes can be used to create novel phospholipids with specific characteristics for use in pharmaceuticals, cosmetics, or other applications.
- Phospholipid-based drug delivery systems: Phospholipids are utilized in the development of drug delivery systems, such as liposomes and nanoparticles. These systems can improve the solubility, stability, and targeted delivery of various therapeutic compounds. The formulation and characterization of these phospholipid-based delivery systems are described in several patents.
- Analytical methods for phospholipids: Various analytical techniques and methods for the detection, quantification, and characterization of phospholipids are presented. These include spectroscopic methods, chromatographic techniques, and mass spectrometry-based approaches. Such methods are crucial for quality control, research, and development in industries utilizing phospholipids.
- Phospholipid applications in food and nutrition: Phospholipids find applications in food and nutrition, including as emulsifiers, stabilizers, and nutritional supplements. Patents describe the use of phospholipids in functional foods, infant formulas, and dietary supplements. Methods for extracting and purifying phospholipids from natural sources for these applications are also covered.
- Phospholipids in cosmetic and personal care products: The use of phospholipids in cosmetic and personal care formulations is described in several patents. Phospholipids can act as emollients, moisturizers, and delivery vehicles for active ingredients in skincare and haircare products. Methods for incorporating phospholipids into stable cosmetic formulations are also presented.
02 Phospholipid-based drug delivery systems
Phospholipids are utilized in the development of drug delivery systems, such as liposomes and nanoparticles. These systems enhance drug solubility, stability, and targeted delivery. The formulations may include specific phospholipid compositions or combinations with other materials to optimize drug encapsulation and release.Expand Specific Solutions03 Analytical methods for phospholipids
Various analytical techniques are developed for the characterization, quantification, and quality control of phospholipids. These methods may include chromatography, spectroscopy, or mass spectrometry approaches. They aim to improve the accuracy, sensitivity, and efficiency of phospholipid analysis in different matrices.Expand Specific Solutions04 Phospholipids in food and nutrition
Applications of phospholipids in food and nutritional products are explored. This includes their use as emulsifiers, stabilizers, or functional ingredients. Research focuses on improving food quality, texture, and nutritional value through the incorporation of specific phospholipids or phospholipid-rich extracts.Expand Specific Solutions05 Phospholipids in cosmetic and personal care products
Phospholipids are utilized in cosmetic and personal care formulations for their moisturizing, emulsifying, and skin-beneficial properties. Research in this area focuses on developing novel phospholipid-based ingredients or improving existing formulations to enhance product performance and skin compatibility.Expand Specific Solutions
Key Players in Environmental Sensing Industry
The field of phospholipid application in environmental sensing devices is in an early growth stage, with increasing market potential as environmental monitoring becomes more critical. The technology is still evolving, with varying levels of maturity across different applications. Key players include a mix of academic institutions and companies, such as the University of Leeds, Vilnius University, and Fudan University, which are conducting fundamental research. Companies like Mine Safety Appliances and Waters Technology are developing commercial applications. The market size is expanding as demand grows for sensitive and specific environmental sensors. Collaboration between academia and industry is driving innovation, with universities like Nanjing Tech and Shandong Normal contributing to technological advancements.
University of Leeds
Technical Solution: The University of Leeds has developed innovative phospholipid-based environmental sensing devices for water quality monitoring. Their approach utilizes self-assembled phospholipid bilayers as the sensing element, which can detect various contaminants in water samples. The technology employs fluorescence spectroscopy to measure changes in membrane permeability upon exposure to pollutants, allowing for rapid and sensitive detection of environmental toxins[1][3]. The university has also explored the integration of these phospholipid sensors with microfluidic platforms, enhancing the portability and automation of the sensing process[2].
Strengths: High sensitivity, rapid detection, and potential for miniaturization. Weaknesses: May require specialized equipment for fluorescence measurements and potential stability issues in complex environmental samples.
Fudan University
Technical Solution: Fudan University has made significant advancements in phospholipid-based environmental sensing devices, focusing on the development of biomimetic membranes for pollutant detection. Their research team has engineered phospholipid vesicles with embedded receptor proteins that can selectively bind to specific environmental contaminants[4]. Upon binding, these vesicles undergo conformational changes that can be detected using various transduction methods, including electrochemical impedance spectroscopy and surface plasmon resonance[5]. The university has also explored the use of DNA-phospholipid hybrid structures to enhance the specificity and stability of their sensing platforms[6].
Strengths: High selectivity, versatility in detection methods, and potential for multi-analyte sensing. Weaknesses: Complexity in sensor preparation and potential challenges in long-term stability of biomimetic membranes.
Core Phospholipid Sensing Innovations
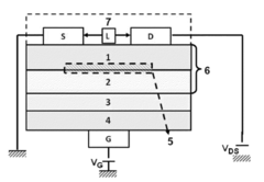
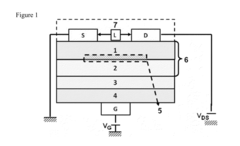
Method to realize electronic field-effect transistor sensors
PatentInactiveUS20140312879A1
Innovation
- The development of field-effect transistors (FETs) with a self-assembled biological layer deposited between the dielectric and semiconductor, allowing intimate contact for enhanced sensitivity and integration with electronic circuits, using organic or inorganic semiconductor materials like poly(3-hexylthiophene) and carbon allotropes, enabling label-free detection of analytes.
Phosphate sensor, its use and its method of preparation
PatentInactiveUS20160077042A1
Innovation
- A phosphate sensor using a molecularly imprinted polymer membrane with thiourea-based receptors, which measures changes in conductance to detect and measure phosphate concentrations, providing selectivity and durability by binding specifically to phosphate ions and excluding other ions.
Environmental Regulations Impact
The application of phospholipids in environmental sensing devices has significant implications for environmental regulations. As these innovative sensors become more prevalent, regulatory bodies are adapting their policies to incorporate these new technologies into existing frameworks.
One of the primary impacts is on water quality monitoring regulations. Phospholipid-based sensors offer enhanced sensitivity and specificity for detecting various pollutants, including heavy metals and organic contaminants. This improved detection capability is prompting regulatory agencies to revise their water quality standards and monitoring protocols. For instance, the Environmental Protection Agency (EPA) is considering updating its guidelines for water testing methods to include phospholipid-based sensing techniques.
Air quality regulations are also being influenced by the emergence of phospholipid-based environmental sensors. These devices can detect airborne particulates and gaseous pollutants with greater accuracy than traditional methods. As a result, air quality standards are being reevaluated to account for the more precise measurements provided by these sensors. This could lead to more stringent emission limits and improved enforcement of air pollution regulations.
The use of phospholipid-based sensors in soil contamination assessment is driving changes in land use and remediation regulations. These sensors can rapidly detect and quantify soil pollutants, enabling more efficient site assessments and remediation planning. Regulatory bodies are updating their soil quality guidelines to incorporate data from these advanced sensing technologies, potentially leading to more targeted and cost-effective cleanup efforts.
Environmental impact assessments are another area where phospholipid-based sensors are influencing regulations. The ability to conduct real-time, on-site monitoring of multiple environmental parameters is changing how environmental impact studies are conducted. Regulatory agencies are revising their requirements for environmental impact assessments to include data from these advanced sensing devices, potentially streamlining the approval process for development projects while ensuring more comprehensive environmental protection.
The increased use of phospholipid-based sensors is also impacting regulations related to environmental monitoring in industrial settings. Many industries are now required to implement more frequent and accurate monitoring of their emissions and effluents. This shift is driving the development of new compliance standards that take advantage of the capabilities offered by these advanced sensing technologies.
As phospholipid-based environmental sensors continue to evolve, it is likely that environmental regulations will undergo further changes to fully leverage the benefits of these technologies. This ongoing adaptation of regulatory frameworks will be crucial in ensuring that environmental protection measures keep pace with technological advancements in the field of environmental sensing.
One of the primary impacts is on water quality monitoring regulations. Phospholipid-based sensors offer enhanced sensitivity and specificity for detecting various pollutants, including heavy metals and organic contaminants. This improved detection capability is prompting regulatory agencies to revise their water quality standards and monitoring protocols. For instance, the Environmental Protection Agency (EPA) is considering updating its guidelines for water testing methods to include phospholipid-based sensing techniques.
Air quality regulations are also being influenced by the emergence of phospholipid-based environmental sensors. These devices can detect airborne particulates and gaseous pollutants with greater accuracy than traditional methods. As a result, air quality standards are being reevaluated to account for the more precise measurements provided by these sensors. This could lead to more stringent emission limits and improved enforcement of air pollution regulations.
The use of phospholipid-based sensors in soil contamination assessment is driving changes in land use and remediation regulations. These sensors can rapidly detect and quantify soil pollutants, enabling more efficient site assessments and remediation planning. Regulatory bodies are updating their soil quality guidelines to incorporate data from these advanced sensing technologies, potentially leading to more targeted and cost-effective cleanup efforts.
Environmental impact assessments are another area where phospholipid-based sensors are influencing regulations. The ability to conduct real-time, on-site monitoring of multiple environmental parameters is changing how environmental impact studies are conducted. Regulatory agencies are revising their requirements for environmental impact assessments to include data from these advanced sensing devices, potentially streamlining the approval process for development projects while ensuring more comprehensive environmental protection.
The increased use of phospholipid-based sensors is also impacting regulations related to environmental monitoring in industrial settings. Many industries are now required to implement more frequent and accurate monitoring of their emissions and effluents. This shift is driving the development of new compliance standards that take advantage of the capabilities offered by these advanced sensing technologies.
As phospholipid-based environmental sensors continue to evolve, it is likely that environmental regulations will undergo further changes to fully leverage the benefits of these technologies. This ongoing adaptation of regulatory frameworks will be crucial in ensuring that environmental protection measures keep pace with technological advancements in the field of environmental sensing.
Biosensor Integration Challenges
The integration of phospholipid-based biosensors into environmental sensing devices presents several significant challenges. One of the primary obstacles is the stability of phospholipid membranes in diverse environmental conditions. Fluctuations in temperature, pH, and ionic strength can significantly affect the structural integrity and functionality of these biomimetic membranes, potentially leading to false readings or sensor failure.
Another critical challenge lies in the selectivity and specificity of phospholipid-based sensors. Environmental samples often contain a complex mixture of analytes, which can interfere with the detection of target molecules. Developing phospholipid membranes with highly specific receptor molecules or recognition elements is essential to ensure accurate and reliable sensing in complex environmental matrices.
The sensitivity of phospholipid-based biosensors is another area of concern. While these sensors can offer high sensitivity in controlled laboratory conditions, maintaining this level of performance in real-world environmental applications can be challenging. Factors such as background noise, matrix effects, and the presence of interfering substances can significantly impact the sensor's ability to detect low concentrations of target analytes.
Durability and longevity of phospholipid-based sensors in environmental monitoring applications pose additional challenges. Continuous exposure to harsh environmental conditions, including UV radiation, oxidative stress, and microbial contamination, can degrade the phospholipid membranes over time. This degradation can lead to reduced sensor performance and necessitate frequent calibration or replacement, which may not be practical for long-term environmental monitoring deployments.
The integration of phospholipid-based sensing elements with electronic components and signal transduction systems presents another set of challenges. Ensuring seamless communication between the biological recognition element and the electronic readout system is crucial for accurate data acquisition and interpretation. This integration often requires interdisciplinary expertise in areas such as surface chemistry, microfluidics, and electronics.
Miniaturization and portability of phospholipid-based environmental sensing devices are also important considerations. Developing compact, field-deployable sensors that maintain the functionality and sensitivity of laboratory-scale devices is essential for widespread adoption in environmental monitoring applications. This miniaturization process must address issues such as sample handling, power consumption, and data storage and transmission.
Another critical challenge lies in the selectivity and specificity of phospholipid-based sensors. Environmental samples often contain a complex mixture of analytes, which can interfere with the detection of target molecules. Developing phospholipid membranes with highly specific receptor molecules or recognition elements is essential to ensure accurate and reliable sensing in complex environmental matrices.
The sensitivity of phospholipid-based biosensors is another area of concern. While these sensors can offer high sensitivity in controlled laboratory conditions, maintaining this level of performance in real-world environmental applications can be challenging. Factors such as background noise, matrix effects, and the presence of interfering substances can significantly impact the sensor's ability to detect low concentrations of target analytes.
Durability and longevity of phospholipid-based sensors in environmental monitoring applications pose additional challenges. Continuous exposure to harsh environmental conditions, including UV radiation, oxidative stress, and microbial contamination, can degrade the phospholipid membranes over time. This degradation can lead to reduced sensor performance and necessitate frequent calibration or replacement, which may not be practical for long-term environmental monitoring deployments.
The integration of phospholipid-based sensing elements with electronic components and signal transduction systems presents another set of challenges. Ensuring seamless communication between the biological recognition element and the electronic readout system is crucial for accurate data acquisition and interpretation. This integration often requires interdisciplinary expertise in areas such as surface chemistry, microfluidics, and electronics.
Miniaturization and portability of phospholipid-based environmental sensing devices are also important considerations. Developing compact, field-deployable sensors that maintain the functionality and sensitivity of laboratory-scale devices is essential for widespread adoption in environmental monitoring applications. This miniaturization process must address issues such as sample handling, power consumption, and data storage and transmission.
Unlock deeper insights with Patsnap Eureka Quick Research — get a full tech report to explore trends and direct your research. Try now!
Generate Your Research Report Instantly with AI Agent
Supercharge your innovation with Patsnap Eureka AI Agent Platform!



