Compatibility of Enovix Batteries with Existing Battery Management Systems
Enovix Battery Tech Evolution and Objectives
Enovix, a pioneering company in the field of lithium-ion battery technology, has been at the forefront of developing innovative battery solutions. The evolution of Enovix's battery technology can be traced back to its founding in 2007, with a focus on addressing the limitations of conventional lithium-ion batteries. The company's primary objective has been to significantly increase energy density while maintaining safety and reliability.
The technological journey of Enovix batteries began with the development of their proprietary 3D silicon lithium-ion battery architecture. This design aimed to overcome the challenges associated with using silicon anodes, which have higher energy storage capacity but tend to expand during charging. Enovix's solution involves a unique stacking structure that accommodates silicon expansion, allowing for greater energy density without compromising battery integrity.
As the technology progressed, Enovix focused on refining their manufacturing processes to ensure scalability and cost-effectiveness. This included the development of advanced production techniques and the integration of automation to streamline battery production. The company's objectives expanded to include not only energy density improvements but also enhanced cycle life and faster charging capabilities.
In recent years, Enovix has set its sights on compatibility with existing battery management systems (BMS) as a key technological goal. This objective recognizes the importance of seamless integration with current electronic devices and systems. By ensuring compatibility, Enovix aims to facilitate the adoption of their high-energy-density batteries across various applications without requiring significant changes to existing BMS architectures.
The evolution of Enovix battery technology has also been driven by the growing demand for sustainable energy solutions. As such, the company has incorporated environmental considerations into their technological objectives, focusing on developing batteries with reduced environmental impact and improved recyclability.
Looking forward, Enovix's technological roadmap includes further advancements in energy density, with targets exceeding 1000 Wh/L for certain applications. Additionally, the company aims to expand its battery technology into new markets, including electric vehicles and grid storage systems, while maintaining its commitment to BMS compatibility and safety standards.
In conclusion, the evolution of Enovix battery technology represents a continuous pursuit of higher energy density, improved performance, and broader applicability. The company's objectives have expanded from initial energy density improvements to encompass compatibility with existing systems, sustainability, and adaptability to diverse applications, positioning Enovix at the cutting edge of battery innovation.
Market Demand for Advanced Battery Solutions
The market demand for advanced battery solutions has been experiencing significant growth, driven by the increasing adoption of electric vehicles (EVs), renewable energy systems, and portable electronic devices. As the world shifts towards cleaner and more sustainable energy sources, the need for high-performance, long-lasting, and safe batteries has become paramount.
In the automotive sector, the rapid expansion of the EV market has created a substantial demand for advanced battery technologies. Consumers are seeking vehicles with longer driving ranges, faster charging capabilities, and improved safety features. This has led to a surge in research and development efforts to enhance battery performance and energy density.
The renewable energy sector is another key driver of advanced battery demand. As solar and wind power generation becomes more prevalent, the need for efficient energy storage solutions has grown exponentially. Grid-scale battery systems are essential for balancing supply and demand, ensuring power stability, and enabling the integration of intermittent renewable sources into the existing energy infrastructure.
In the consumer electronics market, there is a constant push for devices with longer battery life, faster charging times, and smaller form factors. This has created a demand for batteries that can deliver higher energy density in compact sizes, without compromising on safety or longevity.
The industrial and aerospace sectors are also contributing to the growing demand for advanced battery solutions. These industries require batteries that can operate reliably in extreme conditions, offer high power output, and maintain long cycle life.
Enovix batteries, with their innovative 3D silicon lithium-ion technology, are well-positioned to address many of these market demands. Their ability to provide higher energy density, improved safety, and potentially longer cycle life makes them attractive for various applications across different sectors.
However, the compatibility of Enovix batteries with existing Battery Management Systems (BMS) is a crucial factor in their market adoption. As BMS plays a vital role in monitoring and controlling battery performance, safety, and longevity, ensuring seamless integration with current systems is essential for widespread acceptance and implementation of Enovix technology.
The market's readiness to adopt new battery technologies is evident, but it is tempered by the need for reliability, safety, and ease of integration. As such, the demand for advanced battery solutions like Enovix is closely tied to their ability to work harmoniously with existing infrastructure and management systems.
Enovix Battery Tech: Current Status and Challenges
Enovix, a pioneering company in the lithium-ion battery industry, has made significant strides in developing advanced battery technology. However, their innovative approach faces several challenges, particularly in terms of compatibility with existing Battery Management Systems (BMS).
The current status of Enovix battery technology is characterized by its unique 3D silicon anode structure, which offers higher energy density compared to traditional lithium-ion batteries. This architecture allows for more efficient use of space within the battery, potentially increasing energy capacity by up to 100%. The company has successfully demonstrated the feasibility of their technology in various prototypes and small-scale production runs.
Despite these advancements, Enovix batteries face compatibility issues with existing BMS. Traditional BMS are designed to work with conventional lithium-ion batteries, which have different voltage curves, charging profiles, and thermal characteristics compared to Enovix's silicon-based cells. This mismatch creates challenges in accurately monitoring and managing the state of charge, state of health, and overall performance of Enovix batteries when integrated into systems designed for standard lithium-ion cells.
One of the primary technical hurdles is the need for BMS recalibration. Enovix batteries exhibit a different voltage behavior during charge and discharge cycles, which can lead to inaccurate state of charge estimations by conventional BMS. This discrepancy could result in suboptimal battery utilization, reduced cycle life, or even safety concerns if not properly addressed.
Another challenge lies in thermal management. The unique structure of Enovix batteries may lead to different heat generation and dissipation patterns compared to traditional cells. Existing BMS may not be equipped to handle these thermal characteristics effectively, potentially compromising the battery's performance and longevity.
Furthermore, the higher energy density of Enovix batteries presents challenges in terms of safety protocols. Current BMS may not be designed to handle the increased energy content within the same physical volume, necessitating updates to safety algorithms and hardware to ensure proper protection against overcharging, over-discharging, and thermal runaway.
Addressing these compatibility issues requires collaborative efforts between Enovix and BMS manufacturers. Potential solutions include developing custom BMS specifically designed for Enovix batteries or creating adaptive algorithms that can be integrated into existing BMS to accommodate the unique characteristics of silicon-anode cells. These efforts are crucial for the widespread adoption of Enovix technology in various applications, from consumer electronics to electric vehicles.
Existing BMS Compatibility Solutions for Enovix Batteries
01 Battery compatibility with electronic devices
Enovix batteries are designed to be compatible with various electronic devices. This includes ensuring proper voltage and current output, physical form factor compatibility, and adherence to industry standards for battery interfaces. The compatibility extends to different types of devices such as smartphones, laptops, and wearables, allowing for seamless integration and optimal performance.- Battery Management Systems for Enovix Batteries: Advanced battery management systems are developed to optimize the performance and compatibility of Enovix batteries. These systems monitor and control various parameters such as voltage, current, and temperature to ensure safe and efficient operation across different devices and applications.
- Integration of Enovix Batteries in Electronic Devices: Techniques for integrating Enovix batteries into various electronic devices are explored. This includes designing compatible form factors, developing appropriate power interfaces, and ensuring seamless communication between the battery and device systems for optimal performance and longevity.
- Charging and Discharging Protocols for Enovix Batteries: Specialized charging and discharging protocols are developed to maximize the efficiency and lifespan of Enovix batteries. These protocols take into account the unique characteristics of Enovix battery technology, ensuring compatibility with existing charging infrastructure while optimizing performance.
- Thermal Management Solutions for Enovix Batteries: Innovative thermal management solutions are designed to address the specific heat dissipation requirements of Enovix batteries. These solutions aim to maintain optimal operating temperatures across various applications, enhancing compatibility and performance in different environmental conditions.
- Software Interfaces for Enovix Battery Systems: Specialized software interfaces are developed to facilitate seamless integration of Enovix batteries with various devices and systems. These interfaces enable efficient communication, data exchange, and control between the battery and the host device, enhancing overall compatibility and user experience.
02 Thermal management and safety features
Enovix batteries incorporate advanced thermal management and safety features to ensure compatibility with a wide range of operating conditions. This includes temperature regulation mechanisms, overcharge protection, and short-circuit prevention. These features enhance the batteries' reliability and safety when used in various devices and environments.Expand Specific Solutions03 Charging protocol compatibility
The batteries are designed to be compatible with various charging protocols and systems. This includes fast charging technologies, wireless charging standards, and USB Power Delivery. The compatibility ensures that Enovix batteries can be efficiently charged using a wide range of charging methods and devices.Expand Specific Solutions04 Software and firmware integration
Enovix batteries are designed with compatibility in mind for software and firmware integration. This includes battery management systems, power monitoring software, and device-specific optimizations. The integration allows for efficient power management, accurate battery status reporting, and enhanced overall performance when used in various electronic devices.Expand Specific Solutions05 Environmental and regulatory compliance
Enovix batteries are developed to meet various environmental and regulatory standards, ensuring compatibility with global markets and applications. This includes compliance with transportation regulations, recycling standards, and environmental protection guidelines. The adherence to these standards allows for widespread adoption and use of Enovix batteries in different regions and industries.Expand Specific Solutions
Key Players in Battery and BMS Industries
The compatibility of Enovix Batteries with existing Battery Management Systems (BMS) represents a critical challenge in the evolving energy storage landscape. The industry is in a growth phase, with the global lithium-ion battery market expected to reach significant scale in the coming years. Major players like LG Energy Solution, Samsung SDI, and CATL are driving technological advancements, while companies such as Robert Bosch GmbH and SK Innovation are focusing on BMS development. The integration of Enovix's novel battery architecture with established BMS platforms is crucial for market adoption, requiring collaboration between battery manufacturers and BMS providers to ensure seamless compatibility and optimal performance.
Robert Bosch GmbH
LG Energy Solution Ltd.
Core Innovations in Enovix-BMS Integration
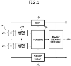
- An apparatus and method that utilize a voltage sensor and processor to detect voltage variations and compensate the open-circuit voltage (OCV) of a battery based on the state of charge (SOC) and aging direction of battery cells, employing incremental capacity analysis and voltage variation amount functions.
- A battery management system with an integrated board structure that includes a sub-BMS circuit, a main BMS circuit, and communication ports, allowing for flexible hierarchy and communication method settings through a user interface, enabling easy management and connection of multiple battery modules in series, parallel, or series-parallel configurations.
Safety and Regulatory Considerations
Safety and regulatory considerations are paramount when integrating new battery technologies like Enovix into existing battery management systems (BMS). The unique architecture of Enovix batteries, featuring a 3D silicon anode structure, necessitates careful evaluation of safety protocols and compliance with industry standards.
Thermal management is a critical aspect of safety for Enovix batteries. The higher energy density of these batteries may lead to increased heat generation during charging and discharging cycles. Existing BMS must be capable of accurately monitoring and controlling temperature fluctuations to prevent thermal runaway incidents. This may require modifications to thermal sensors and cooling systems to accommodate the specific thermal characteristics of Enovix batteries.
Overcharge and over-discharge protection mechanisms in current BMS may need recalibration to align with the voltage and capacity profiles of Enovix batteries. The silicon anode's behavior during charge and discharge cycles differs from traditional graphite anodes, potentially requiring adjustments to voltage thresholds and cut-off parameters in the BMS algorithms.
Regulatory compliance is another crucial consideration. Enovix batteries must meet stringent safety standards set by organizations such as UL, IEC, and UN. Compatibility with existing BMS should not compromise adherence to these standards. Certification processes may need to be revisited to ensure that the combined Enovix battery and BMS system meets all required safety benchmarks.
The integration of Enovix batteries may also impact transportation regulations. The higher energy density could affect shipping classifications and handling requirements. BMS manufacturers and device makers must consider these factors when designing products incorporating Enovix technology to ensure compliance with international transportation safety guidelines.
Failure mode analysis and safety testing protocols for BMS may require updates to account for the unique characteristics of Enovix batteries. This includes evaluating potential failure scenarios specific to the 3D silicon anode structure and developing appropriate safety responses within the BMS.
Long-term reliability and aging effects of Enovix batteries in conjunction with existing BMS need thorough investigation. The BMS must be capable of accurately gauging state of health and predicting end-of-life for these new batteries, which may exhibit different degradation patterns compared to conventional lithium-ion cells.
In conclusion, while Enovix batteries offer promising advancements in energy density and performance, their integration with existing BMS presents significant safety and regulatory challenges. Addressing these considerations is crucial for ensuring the safe and compliant deployment of Enovix technology across various applications.
Environmental Impact Assessment
The environmental impact assessment of Enovix batteries and their compatibility with existing battery management systems (BMS) is a crucial aspect to consider in the broader context of sustainable energy solutions. Enovix's silicon-anode lithium-ion batteries offer significant improvements in energy density and performance compared to traditional lithium-ion batteries. However, their integration with existing BMS and potential environmental implications require careful evaluation.
One of the primary environmental benefits of Enovix batteries is their increased energy density, which allows for smaller and lighter battery packs. This reduction in size and weight can lead to improved energy efficiency in various applications, particularly in electric vehicles and portable electronics. The decreased material usage in battery production also contributes to a lower overall environmental footprint.
The manufacturing process of Enovix batteries utilizes a 3D cell architecture, which may have different environmental implications compared to traditional battery production methods. While this process potentially reduces waste and improves material utilization, a comprehensive life cycle assessment is necessary to fully understand its environmental impact. This assessment should include factors such as raw material extraction, energy consumption during production, and end-of-life recycling considerations.
Compatibility with existing BMS is a critical factor in the environmental assessment of Enovix batteries. If these batteries can be seamlessly integrated into current systems without requiring significant modifications or replacements of BMS components, it could minimize electronic waste and reduce the environmental burden associated with system upgrades. However, if substantial changes to BMS are necessary, the environmental impact of producing and implementing new management systems must be carefully evaluated.
The longevity and cycle life of Enovix batteries also play a crucial role in their environmental impact. If these batteries demonstrate improved durability and longer operational lifespans compared to conventional lithium-ion batteries, it could lead to a reduction in battery replacements and associated waste. This potential for extended use aligns with circular economy principles and could contribute to overall waste reduction in the battery industry.
Recycling and end-of-life management of Enovix batteries are essential considerations in the environmental impact assessment. The unique composition and structure of these batteries may require specialized recycling processes. Developing efficient and environmentally friendly recycling methods for Enovix batteries is crucial to ensure the recovery of valuable materials and minimize the environmental impact of battery disposal.
In conclusion, while Enovix batteries show promise in terms of energy density and performance, a comprehensive environmental impact assessment is necessary to fully understand their sustainability profile. This assessment should consider the entire life cycle of the batteries, from raw material extraction to end-of-life management, as well as their compatibility with existing battery management systems. Such an evaluation will provide valuable insights into the overall environmental viability of integrating Enovix batteries into various applications and energy storage solutions.







