How to Integrate Solar Inverters with Existing Infrastructure?
JUL 17, 20259 MIN READ
Generate Your Research Report Instantly with AI Agent
Patsnap Eureka helps you evaluate technical feasibility & market potential.
Solar Inverter Integration Background and Objectives
Solar energy has emerged as a pivotal component in the global transition towards sustainable and renewable power sources. The integration of solar inverters with existing infrastructure represents a critical challenge in maximizing the efficiency and effectiveness of solar energy systems. This technological evolution has its roots in the early 2000s when grid-tied solar systems began to gain traction, necessitating the development of more sophisticated inverter technologies.
The primary objective of solar inverter integration is to seamlessly incorporate solar power generation into established electrical grids and building systems. This integration aims to enhance energy efficiency, reduce reliance on fossil fuels, and provide a more stable and resilient power supply. As solar technology has advanced, so too have the capabilities of inverters, evolving from simple DC to AC converters to smart, multifunctional devices capable of managing complex power flows and grid interactions.
The trajectory of solar inverter technology has been marked by significant milestones. Early inverters were primarily focused on basic power conversion, while modern inverters incorporate features such as maximum power point tracking (MPPT), grid support functions, and advanced monitoring capabilities. The push towards smart grids and the Internet of Things (IoT) has further accelerated the development of inverters with communication and data analytics capabilities.
Current technological trends in solar inverter integration include the development of hybrid inverters that can manage both solar and battery storage systems, microinverters for individual panel optimization, and string inverters with enhanced grid support features. The industry is also moving towards higher power densities, improved efficiency, and more compact designs to facilitate easier integration with existing structures.
The challenges facing solar inverter integration are multifaceted. They include ensuring compatibility with diverse grid standards across different regions, managing the intermittent nature of solar power, and addressing cybersecurity concerns as inverters become more connected. Additionally, there is a growing need for inverters to provide grid stability services, such as voltage and frequency regulation, to support the increasing penetration of renewable energy sources.
Looking forward, the goals of solar inverter integration are centered on achieving seamless interoperability with smart grids, enhancing energy management capabilities, and improving overall system reliability and efficiency. This includes developing more advanced control algorithms, improving power quality, and reducing the overall cost of solar energy systems through more efficient and integrated inverter designs.
The primary objective of solar inverter integration is to seamlessly incorporate solar power generation into established electrical grids and building systems. This integration aims to enhance energy efficiency, reduce reliance on fossil fuels, and provide a more stable and resilient power supply. As solar technology has advanced, so too have the capabilities of inverters, evolving from simple DC to AC converters to smart, multifunctional devices capable of managing complex power flows and grid interactions.
The trajectory of solar inverter technology has been marked by significant milestones. Early inverters were primarily focused on basic power conversion, while modern inverters incorporate features such as maximum power point tracking (MPPT), grid support functions, and advanced monitoring capabilities. The push towards smart grids and the Internet of Things (IoT) has further accelerated the development of inverters with communication and data analytics capabilities.
Current technological trends in solar inverter integration include the development of hybrid inverters that can manage both solar and battery storage systems, microinverters for individual panel optimization, and string inverters with enhanced grid support features. The industry is also moving towards higher power densities, improved efficiency, and more compact designs to facilitate easier integration with existing structures.
The challenges facing solar inverter integration are multifaceted. They include ensuring compatibility with diverse grid standards across different regions, managing the intermittent nature of solar power, and addressing cybersecurity concerns as inverters become more connected. Additionally, there is a growing need for inverters to provide grid stability services, such as voltage and frequency regulation, to support the increasing penetration of renewable energy sources.
Looking forward, the goals of solar inverter integration are centered on achieving seamless interoperability with smart grids, enhancing energy management capabilities, and improving overall system reliability and efficiency. This includes developing more advanced control algorithms, improving power quality, and reducing the overall cost of solar energy systems through more efficient and integrated inverter designs.
Market Analysis for Solar Inverter Integration
The solar inverter integration market is experiencing significant growth, driven by the increasing adoption of solar energy systems worldwide. As more residential, commercial, and industrial sectors embrace renewable energy solutions, the demand for seamless integration of solar inverters with existing electrical infrastructure has surged. This market is characterized by a diverse range of applications, from small-scale residential installations to large utility-scale solar farms.
The global solar inverter market size was valued at approximately $12.8 billion in 2020 and is projected to reach $26.3 billion by 2026, growing at a CAGR of 12.7% during the forecast period. The integration segment of this market is expected to witness even higher growth rates due to the increasing need for retrofitting existing power systems with solar capabilities.
Key factors driving the market include government incentives and regulations promoting renewable energy adoption, declining costs of solar photovoltaic (PV) systems, and growing awareness of environmental sustainability. The residential sector is showing particularly strong growth, with homeowners increasingly interested in reducing electricity bills and achieving energy independence through solar power integration.
Geographically, Asia-Pacific leads the market, with China and India at the forefront of solar energy adoption. Europe follows closely, driven by ambitious renewable energy targets set by the European Union. North America, particularly the United States, is also experiencing rapid growth in solar inverter integration, supported by favorable policies and declining installation costs.
The market is segmented based on inverter type, with string inverters, central inverters, and microinverters being the primary categories. String inverters currently dominate the market due to their cost-effectiveness and suitability for a wide range of applications. However, microinverters are gaining traction, especially in residential settings, due to their ability to optimize individual panel performance and provide greater system flexibility.
Challenges in the market include the need for standardization of integration protocols, concerns about grid stability with high penetration of distributed solar energy, and the complexity of retrofitting older infrastructure. These challenges present opportunities for innovation in smart grid technologies, energy storage solutions, and advanced inverter functionalities.
The competitive landscape is characterized by a mix of established electrical equipment manufacturers and specialized solar technology companies. Key players are focusing on developing intelligent inverters with enhanced communication capabilities, improved efficiency, and advanced grid support features to meet the evolving demands of the integration market.
The global solar inverter market size was valued at approximately $12.8 billion in 2020 and is projected to reach $26.3 billion by 2026, growing at a CAGR of 12.7% during the forecast period. The integration segment of this market is expected to witness even higher growth rates due to the increasing need for retrofitting existing power systems with solar capabilities.
Key factors driving the market include government incentives and regulations promoting renewable energy adoption, declining costs of solar photovoltaic (PV) systems, and growing awareness of environmental sustainability. The residential sector is showing particularly strong growth, with homeowners increasingly interested in reducing electricity bills and achieving energy independence through solar power integration.
Geographically, Asia-Pacific leads the market, with China and India at the forefront of solar energy adoption. Europe follows closely, driven by ambitious renewable energy targets set by the European Union. North America, particularly the United States, is also experiencing rapid growth in solar inverter integration, supported by favorable policies and declining installation costs.
The market is segmented based on inverter type, with string inverters, central inverters, and microinverters being the primary categories. String inverters currently dominate the market due to their cost-effectiveness and suitability for a wide range of applications. However, microinverters are gaining traction, especially in residential settings, due to their ability to optimize individual panel performance and provide greater system flexibility.
Challenges in the market include the need for standardization of integration protocols, concerns about grid stability with high penetration of distributed solar energy, and the complexity of retrofitting older infrastructure. These challenges present opportunities for innovation in smart grid technologies, energy storage solutions, and advanced inverter functionalities.
The competitive landscape is characterized by a mix of established electrical equipment manufacturers and specialized solar technology companies. Key players are focusing on developing intelligent inverters with enhanced communication capabilities, improved efficiency, and advanced grid support features to meet the evolving demands of the integration market.
Current Challenges in Solar Inverter Integration
The integration of solar inverters with existing infrastructure presents several significant challenges that need to be addressed for successful implementation. One of the primary obstacles is the compatibility issue between modern solar inverters and older electrical systems. Many existing buildings and power grids were not designed with solar energy integration in mind, leading to potential conflicts in voltage regulation, frequency synchronization, and power quality management.
Grid stability is another major concern when integrating solar inverters. The intermittent nature of solar power generation can cause fluctuations in the grid, potentially leading to voltage sags, swells, and frequency deviations. These fluctuations can negatively impact the overall power quality and stability of the electrical network, requiring advanced control mechanisms and energy storage solutions to mitigate these effects.
The lack of standardization in communication protocols and data formats poses a significant challenge for seamless integration. Different manufacturers may use proprietary systems, making it difficult to achieve interoperability between solar inverters and existing energy management systems. This fragmentation hinders the development of unified control strategies and limits the potential for large-scale solar integration.
Safety and protection mechanisms present another hurdle in solar inverter integration. Existing infrastructure may not have adequate safeguards to handle bidirectional power flow, which is characteristic of solar energy systems. This can lead to potential safety hazards, such as islanding, where the solar system continues to energize a portion of the grid during a power outage, posing risks to utility workers and equipment.
Scalability and future-proofing are also critical challenges. As solar adoption continues to grow, existing infrastructure must be able to accommodate increasing numbers of distributed energy resources. This requires careful planning and investment in grid upgrades to ensure that the system can handle higher penetration levels of solar power without compromising reliability or efficiency.
The economic aspect of integration cannot be overlooked. Retrofitting existing infrastructure to accommodate solar inverters can be costly, particularly for older buildings and grids. The expense of upgrading transformers, switchgear, and control systems may act as a deterrent for widespread adoption, especially in areas with aging infrastructure.
Regulatory and policy frameworks also present challenges in some regions. Outdated regulations may not adequately address the integration of distributed energy resources, creating barriers for solar inverter deployment. Additionally, inconsistent policies across different jurisdictions can complicate the implementation process for large-scale solar projects spanning multiple areas.
Lastly, the technical expertise required for successful integration is often in short supply. Many electrical professionals and utility workers may lack the specialized knowledge needed to effectively integrate and maintain solar inverter systems within existing infrastructure. This skills gap can lead to suboptimal installations, reduced system performance, and increased maintenance issues over time.
Grid stability is another major concern when integrating solar inverters. The intermittent nature of solar power generation can cause fluctuations in the grid, potentially leading to voltage sags, swells, and frequency deviations. These fluctuations can negatively impact the overall power quality and stability of the electrical network, requiring advanced control mechanisms and energy storage solutions to mitigate these effects.
The lack of standardization in communication protocols and data formats poses a significant challenge for seamless integration. Different manufacturers may use proprietary systems, making it difficult to achieve interoperability between solar inverters and existing energy management systems. This fragmentation hinders the development of unified control strategies and limits the potential for large-scale solar integration.
Safety and protection mechanisms present another hurdle in solar inverter integration. Existing infrastructure may not have adequate safeguards to handle bidirectional power flow, which is characteristic of solar energy systems. This can lead to potential safety hazards, such as islanding, where the solar system continues to energize a portion of the grid during a power outage, posing risks to utility workers and equipment.
Scalability and future-proofing are also critical challenges. As solar adoption continues to grow, existing infrastructure must be able to accommodate increasing numbers of distributed energy resources. This requires careful planning and investment in grid upgrades to ensure that the system can handle higher penetration levels of solar power without compromising reliability or efficiency.
The economic aspect of integration cannot be overlooked. Retrofitting existing infrastructure to accommodate solar inverters can be costly, particularly for older buildings and grids. The expense of upgrading transformers, switchgear, and control systems may act as a deterrent for widespread adoption, especially in areas with aging infrastructure.
Regulatory and policy frameworks also present challenges in some regions. Outdated regulations may not adequately address the integration of distributed energy resources, creating barriers for solar inverter deployment. Additionally, inconsistent policies across different jurisdictions can complicate the implementation process for large-scale solar projects spanning multiple areas.
Lastly, the technical expertise required for successful integration is often in short supply. Many electrical professionals and utility workers may lack the specialized knowledge needed to effectively integrate and maintain solar inverter systems within existing infrastructure. This skills gap can lead to suboptimal installations, reduced system performance, and increased maintenance issues over time.
Existing Solar Inverter Integration Solutions
01 Grid-tied solar inverter systems
These systems connect solar panels to the electrical grid, converting DC power from panels to AC power for home use and grid feed-in. They often include features for monitoring, power optimization, and grid synchronization.- Grid-tied solar inverter systems: Grid-tied solar inverter systems are designed to connect solar panels to the utility grid. These systems convert DC power from solar panels to AC power compatible with the grid, allowing for bidirectional power flow. They often include features like maximum power point tracking (MPPT) and anti-islanding protection for safety and efficiency.
- Microinverter technology: Microinverters are small inverters attached to individual solar panels or small groups of panels. They convert DC to AC at the panel level, offering advantages such as improved system efficiency, easier installation, and better performance in partially shaded conditions. Microinverters also provide panel-level monitoring and can enhance system reliability.
- Power optimization and monitoring: Solar inverters incorporate various power optimization techniques and monitoring systems to maximize energy yield. These include advanced MPPT algorithms, real-time performance monitoring, and remote diagnostics. Some systems use power optimizers in conjunction with string inverters to enhance overall system efficiency and provide detailed panel-level data.
- Energy storage integration: Modern solar inverters often include features for integrating energy storage systems, such as batteries. These hybrid inverters can manage power flow between solar panels, batteries, and the grid, enabling functions like self-consumption optimization, backup power during outages, and grid support services. They play a crucial role in creating more resilient and flexible solar energy systems.
- Smart grid functionality: Advanced solar inverters incorporate smart grid functionalities to enhance grid stability and support grid management. These features include reactive power control, voltage regulation, frequency response, and communication interfaces for grid operators. Smart inverters can adapt their operation based on grid conditions and utility requirements, contributing to a more stable and efficient power system.
02 Microinverter technology
Microinverters are small inverters attached to individual solar panels, offering advantages in efficiency, flexibility, and reliability compared to traditional string inverters. They can optimize power output for each panel independently.Expand Specific Solutions03 Power optimization and maximum power point tracking
Advanced solar inverters incorporate maximum power point tracking (MPPT) algorithms to optimize power output under varying conditions. This technology ensures the solar system operates at peak efficiency throughout the day.Expand Specific Solutions04 Safety and protection features
Modern solar inverters include various safety mechanisms such as anti-islanding protection, ground fault detection, and surge protection. These features ensure safe operation and compliance with electrical codes and standards.Expand Specific Solutions05 Smart grid integration and energy management
Advanced inverters offer smart grid integration capabilities, allowing for two-way communication with the grid. They can provide grid support functions, energy storage integration, and intelligent energy management for improved efficiency and reliability.Expand Specific Solutions
Key Players in Solar Inverter Industry
The integration of solar inverters with existing infrastructure is a rapidly evolving field within the renewable energy sector. The market is in a growth phase, driven by increasing demand for clean energy solutions and grid modernization efforts. The global solar inverter market size is projected to reach significant figures in the coming years, reflecting the technology's growing adoption. Technologically, the field is advancing quickly, with companies like Enphase Energy, SMA Solar Technology, and Delta Electronics leading innovation. These firms are developing smart, efficient inverters that can seamlessly integrate with various grid systems and energy storage solutions. The competitive landscape is diverse, featuring both established players and emerging startups, indicating a dynamic and innovative market environment.
Delta Electronics, Inc.
Technical Solution: Delta Electronics has developed innovative solutions for integrating solar inverters with existing infrastructure. Their M70A string inverter series features built-in arc fault circuit interrupters and rapid shutdown technology, ensuring compliance with the latest safety standards[9]. Delta's solar inverters incorporate power quality improvement functions, such as reactive power control and low voltage ride-through capabilities, supporting grid stability[10]. The company's InfraSuite Energy Management System allows for comprehensive monitoring and control of solar installations, integrating with building management systems and smart grids[11]. Delta also offers hybrid inverters that combine solar power conversion with battery storage management, facilitating the creation of resilient microgrids[12].
Strengths: Strong focus on power quality and grid support features; comprehensive energy management solutions; wide range of products for different scales of installation. Weaknesses: Less market presence in some regions compared to other major players; some advanced features may require additional hardware or software licenses.
SMA Solar Technology AG
Technical Solution: SMA Solar Technology offers a range of solutions for integrating solar inverters with existing infrastructure. Their Sunny Boy and Sunny Tripower inverters feature SMA Smart Connected, a proactive monitoring and maintenance service that reduces downtime and operational costs[5]. SMA's ennexOS energy management platform enables seamless integration of solar systems with building energy management systems and grid services[6]. The company's grid-forming inverters, like the Sunny Central UP, support grid stability and can provide black start capability for microgrids[7]. SMA also offers retrofitting solutions for older solar installations, allowing for modernization without complete system replacement[8].
Strengths: Comprehensive product range for various applications; advanced grid support features; strong focus on system interoperability. Weaknesses: Complex systems may require specialized knowledge for installation and maintenance; higher-end solutions can be costly for smaller installations.
Core Technologies for Seamless Grid Integration
Portable Solar Carport System
PatentActiveUS20220376651A1
Innovation
- A portable solar carport system with a framework of metal tubing and wheel assemblies, allowing the solar panels to be easily moved and stored, featuring bifacial panels and a deployable design that can be rolled into a garage for protection, with integrated circuitry and an inverter for electricity generation.
Inverter arrangement for wind power installations and photovoltaic installations
PatentInactiveUS20210050728A1
Innovation
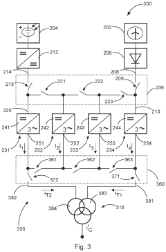
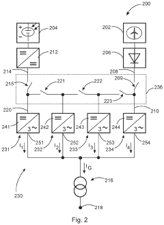
- An inverter arrangement with multiple inverters, an intermediate circuit switching device, and an output current switching device that allows for the formation of partial intermediate circuits and sub-arrangements, enabling flexible assignment of inverters and galvanic isolation to accommodate varying power inputs from wind and solar sources, and optional integration with energy storage and consumers.
Regulatory Framework for Solar Grid Integration
The regulatory framework for solar grid integration plays a crucial role in facilitating the seamless incorporation of solar inverters into existing infrastructure. This framework encompasses a complex web of policies, standards, and guidelines that govern the interconnection of solar energy systems with the power grid.
At the federal level, the Federal Energy Regulatory Commission (FERC) has established key regulations, such as Order No. 2222, which aims to remove barriers to the participation of distributed energy resources in wholesale electricity markets. This order encourages the integration of solar inverters by allowing them to compete on a level playing field with traditional power sources.
State-level policies also significantly impact solar grid integration. Many states have implemented Renewable Portfolio Standards (RPS) that mandate a certain percentage of electricity generation from renewable sources, including solar. These standards often include specific provisions for distributed generation and grid interconnection, directly influencing the integration of solar inverters.
Interconnection standards, such as IEEE 1547, provide technical guidelines for connecting distributed energy resources to the grid. These standards ensure that solar inverters meet safety, power quality, and reliability requirements. Recent updates to IEEE 1547 have incorporated advanced grid support functions, enabling solar inverters to contribute to grid stability and voltage regulation.
Net metering policies, adopted by many states, allow solar system owners to receive credit for excess electricity fed back into the grid. These policies have been instrumental in promoting the adoption of solar energy systems and their integration with existing infrastructure. However, ongoing debates about the fair valuation of solar energy and potential grid impacts have led to revisions in net metering policies in some jurisdictions.
Grid codes and utility requirements form another critical component of the regulatory framework. These codes specify the technical and operational standards that solar inverters must meet to connect to the grid. They often include requirements for voltage and frequency ride-through capabilities, reactive power support, and communication protocols.
The regulatory landscape also addresses cybersecurity concerns associated with the increasing number of grid-connected devices. Standards such as NERC CIP (Critical Infrastructure Protection) outline cybersecurity requirements for critical electric infrastructure, including solar inverters and their associated control systems.
As the penetration of solar energy increases, regulators are adapting frameworks to address emerging challenges. This includes developing rules for energy storage integration, implementing smart inverter functionalities, and creating mechanisms for aggregating distributed energy resources to provide grid services.
At the federal level, the Federal Energy Regulatory Commission (FERC) has established key regulations, such as Order No. 2222, which aims to remove barriers to the participation of distributed energy resources in wholesale electricity markets. This order encourages the integration of solar inverters by allowing them to compete on a level playing field with traditional power sources.
State-level policies also significantly impact solar grid integration. Many states have implemented Renewable Portfolio Standards (RPS) that mandate a certain percentage of electricity generation from renewable sources, including solar. These standards often include specific provisions for distributed generation and grid interconnection, directly influencing the integration of solar inverters.
Interconnection standards, such as IEEE 1547, provide technical guidelines for connecting distributed energy resources to the grid. These standards ensure that solar inverters meet safety, power quality, and reliability requirements. Recent updates to IEEE 1547 have incorporated advanced grid support functions, enabling solar inverters to contribute to grid stability and voltage regulation.
Net metering policies, adopted by many states, allow solar system owners to receive credit for excess electricity fed back into the grid. These policies have been instrumental in promoting the adoption of solar energy systems and their integration with existing infrastructure. However, ongoing debates about the fair valuation of solar energy and potential grid impacts have led to revisions in net metering policies in some jurisdictions.
Grid codes and utility requirements form another critical component of the regulatory framework. These codes specify the technical and operational standards that solar inverters must meet to connect to the grid. They often include requirements for voltage and frequency ride-through capabilities, reactive power support, and communication protocols.
The regulatory landscape also addresses cybersecurity concerns associated with the increasing number of grid-connected devices. Standards such as NERC CIP (Critical Infrastructure Protection) outline cybersecurity requirements for critical electric infrastructure, including solar inverters and their associated control systems.
As the penetration of solar energy increases, regulators are adapting frameworks to address emerging challenges. This includes developing rules for energy storage integration, implementing smart inverter functionalities, and creating mechanisms for aggregating distributed energy resources to provide grid services.
Environmental Impact Assessment
The integration of solar inverters with existing infrastructure presents both opportunities and challenges for environmental sustainability. This assessment examines the potential environmental impacts of such integration, considering both positive and negative aspects.
Solar inverter integration contributes significantly to reducing greenhouse gas emissions by enabling greater utilization of renewable energy sources. As more solar power is fed into the grid, reliance on fossil fuel-based electricity generation decreases, leading to a reduction in carbon dioxide and other harmful emissions. This shift towards cleaner energy sources helps mitigate climate change and improves air quality in urban areas.
The implementation of solar inverters can also lead to a decrease in water consumption associated with traditional power generation methods. Thermal power plants, which rely heavily on water for cooling, can be partially replaced by solar energy systems that require minimal water usage. This conservation of water resources is particularly crucial in regions facing water scarcity.
However, the production and disposal of solar inverters and associated equipment may have environmental implications. The manufacturing process of inverters involves the use of various materials, including metals and plastics, which can contribute to resource depletion and generate industrial waste. Proper recycling and disposal mechanisms must be established to minimize the environmental impact at the end of the inverters' life cycle.
Land use changes may occur as a result of solar inverter integration, particularly in large-scale installations. While rooftop solar systems have minimal land impact, utility-scale solar farms may require significant land area, potentially affecting local ecosystems and biodiversity. Careful site selection and environmental impact studies are necessary to mitigate these concerns.
The integration of solar inverters can also have positive effects on grid stability and energy efficiency. By enabling better management of power flow and reducing transmission losses, these systems can contribute to overall energy conservation. This improved efficiency translates to reduced environmental impact across the entire energy production and distribution chain.
Noise pollution is another factor to consider, although modern solar inverters generally operate quietly. In residential areas, proper placement and sound insulation measures can minimize any potential disturbance to the local environment.
In conclusion, while the integration of solar inverters with existing infrastructure presents some environmental challenges, the overall impact is largely positive. The significant reduction in greenhouse gas emissions and the promotion of renewable energy sources outweigh the potential drawbacks. With proper planning, responsible manufacturing, and effective end-of-life management, solar inverter integration can play a crucial role in creating a more sustainable energy ecosystem.
Solar inverter integration contributes significantly to reducing greenhouse gas emissions by enabling greater utilization of renewable energy sources. As more solar power is fed into the grid, reliance on fossil fuel-based electricity generation decreases, leading to a reduction in carbon dioxide and other harmful emissions. This shift towards cleaner energy sources helps mitigate climate change and improves air quality in urban areas.
The implementation of solar inverters can also lead to a decrease in water consumption associated with traditional power generation methods. Thermal power plants, which rely heavily on water for cooling, can be partially replaced by solar energy systems that require minimal water usage. This conservation of water resources is particularly crucial in regions facing water scarcity.
However, the production and disposal of solar inverters and associated equipment may have environmental implications. The manufacturing process of inverters involves the use of various materials, including metals and plastics, which can contribute to resource depletion and generate industrial waste. Proper recycling and disposal mechanisms must be established to minimize the environmental impact at the end of the inverters' life cycle.
Land use changes may occur as a result of solar inverter integration, particularly in large-scale installations. While rooftop solar systems have minimal land impact, utility-scale solar farms may require significant land area, potentially affecting local ecosystems and biodiversity. Careful site selection and environmental impact studies are necessary to mitigate these concerns.
The integration of solar inverters can also have positive effects on grid stability and energy efficiency. By enabling better management of power flow and reducing transmission losses, these systems can contribute to overall energy conservation. This improved efficiency translates to reduced environmental impact across the entire energy production and distribution chain.
Noise pollution is another factor to consider, although modern solar inverters generally operate quietly. In residential areas, proper placement and sound insulation measures can minimize any potential disturbance to the local environment.
In conclusion, while the integration of solar inverters with existing infrastructure presents some environmental challenges, the overall impact is largely positive. The significant reduction in greenhouse gas emissions and the promotion of renewable energy sources outweigh the potential drawbacks. With proper planning, responsible manufacturing, and effective end-of-life management, solar inverter integration can play a crucial role in creating a more sustainable energy ecosystem.
Unlock deeper insights with Patsnap Eureka Quick Research — get a full tech report to explore trends and direct your research. Try now!
Generate Your Research Report Instantly with AI Agent
Supercharge your innovation with Patsnap Eureka AI Agent Platform!