Lithium orotate's influence on cell membrane stability and fluidity
AUG 19, 20259 MIN READ
Generate Your Research Report Instantly with AI Agent
Patsnap Eureka helps you evaluate technical feasibility & market potential.
Lithium Orotate Background
Lithium orotate, a compound consisting of lithium and orotic acid, has gained significant attention in recent years due to its potential therapeutic applications. This organic salt of lithium has been the subject of extensive research, particularly in the field of neuropsychiatry and cellular biology. The background of lithium orotate is rooted in the broader history of lithium use in medicine, which dates back to the mid-19th century.
Lithium, in its various forms, has been used for decades in the treatment of bipolar disorder and other mood-related conditions. However, the traditional lithium carbonate formulation has been associated with numerous side effects and a narrow therapeutic window. This led researchers to explore alternative lithium compounds, including lithium orotate, which was first synthesized in the 1970s.
The unique properties of lithium orotate stem from its molecular structure. Unlike lithium carbonate, lithium orotate is believed to have enhanced bioavailability and the ability to cross the blood-brain barrier more efficiently. This characteristic has sparked interest in its potential for delivering therapeutic benefits at lower doses, potentially reducing the risk of side effects associated with higher lithium concentrations.
The focus on cell membrane stability and fluidity in relation to lithium orotate emerged from the growing understanding of the role of cellular membranes in various physiological and pathological processes. Cell membranes are critical for maintaining cellular homeostasis, signal transduction, and the regulation of various cellular functions. The potential influence of lithium orotate on these membrane properties has implications for its therapeutic effects and mechanisms of action.
Research into lithium orotate's effects on cell membranes has been driven by the hypothesis that alterations in membrane stability and fluidity could underlie some of the observed neurological and psychiatric benefits of lithium therapy. This line of inquiry has led to investigations into how lithium orotate might modulate membrane lipid composition, affect membrane-bound proteins, and influence cellular signaling pathways.
The exploration of lithium orotate's influence on cell membranes is part of a broader trend in psychopharmacology and neuroscience, which seeks to understand the molecular and cellular basis of psychiatric disorders and their treatments. This research direction aligns with the growing emphasis on precision medicine and the development of targeted therapies with improved efficacy and reduced side effects.
As the scientific community continues to unravel the complexities of cellular function and the role of membrane dynamics in health and disease, the study of lithium orotate's effects on cell membrane stability and fluidity remains a promising area of investigation. This research not only contributes to our understanding of lithium's therapeutic mechanisms but also opens up new possibilities for the development of novel treatments for a range of neurological and psychiatric conditions.
Lithium, in its various forms, has been used for decades in the treatment of bipolar disorder and other mood-related conditions. However, the traditional lithium carbonate formulation has been associated with numerous side effects and a narrow therapeutic window. This led researchers to explore alternative lithium compounds, including lithium orotate, which was first synthesized in the 1970s.
The unique properties of lithium orotate stem from its molecular structure. Unlike lithium carbonate, lithium orotate is believed to have enhanced bioavailability and the ability to cross the blood-brain barrier more efficiently. This characteristic has sparked interest in its potential for delivering therapeutic benefits at lower doses, potentially reducing the risk of side effects associated with higher lithium concentrations.
The focus on cell membrane stability and fluidity in relation to lithium orotate emerged from the growing understanding of the role of cellular membranes in various physiological and pathological processes. Cell membranes are critical for maintaining cellular homeostasis, signal transduction, and the regulation of various cellular functions. The potential influence of lithium orotate on these membrane properties has implications for its therapeutic effects and mechanisms of action.
Research into lithium orotate's effects on cell membranes has been driven by the hypothesis that alterations in membrane stability and fluidity could underlie some of the observed neurological and psychiatric benefits of lithium therapy. This line of inquiry has led to investigations into how lithium orotate might modulate membrane lipid composition, affect membrane-bound proteins, and influence cellular signaling pathways.
The exploration of lithium orotate's influence on cell membranes is part of a broader trend in psychopharmacology and neuroscience, which seeks to understand the molecular and cellular basis of psychiatric disorders and their treatments. This research direction aligns with the growing emphasis on precision medicine and the development of targeted therapies with improved efficacy and reduced side effects.
As the scientific community continues to unravel the complexities of cellular function and the role of membrane dynamics in health and disease, the study of lithium orotate's effects on cell membrane stability and fluidity remains a promising area of investigation. This research not only contributes to our understanding of lithium's therapeutic mechanisms but also opens up new possibilities for the development of novel treatments for a range of neurological and psychiatric conditions.
Market Analysis
The market for lithium orotate and related compounds that influence cell membrane stability and fluidity is experiencing significant growth, driven by increasing research into neurological disorders and the potential therapeutic applications of these substances. The global neurodegenerative disease market, which includes conditions that may benefit from lithium orotate's effects on cell membranes, is projected to reach substantial value in the coming years.
Lithium orotate's unique properties in stabilizing cell membranes and modulating their fluidity have garnered attention in both the pharmaceutical and nutraceutical sectors. This compound's potential to enhance brain function and protect against neurological damage has led to a surge in demand for research materials and potential therapeutic formulations.
The market for lithium orotate is closely tied to the broader lithium market, which has seen exponential growth due to its applications in battery technology. However, the specific segment for lithium orotate in neurological applications represents a niche but rapidly expanding market. Pharmaceutical companies are increasingly investing in research and development of lithium-based compounds for treating various neurological disorders, including bipolar disorder, depression, and Alzheimer's disease.
In the nutraceutical sector, lithium orotate has gained popularity as a dietary supplement, marketed for its potential cognitive benefits and neuroprotective properties. This has led to a proliferation of lithium orotate products in the wellness and supplement market, contributing to overall market growth.
The aging global population and the rising prevalence of neurological disorders are key drivers for the market's expansion. As awareness of mental health issues grows and the stigma surrounding them diminishes, there is an increasing demand for innovative treatments that can address neurological conditions effectively.
Geographically, North America and Europe currently dominate the market for lithium orotate and related compounds, owing to their advanced healthcare infrastructure and high investment in neurological research. However, emerging economies in Asia-Pacific and Latin America are expected to witness rapid growth in this market as healthcare spending increases and awareness of neurological health improves.
Despite the promising market outlook, challenges remain. Regulatory hurdles and the need for extensive clinical trials to prove efficacy and safety may slow market growth. Additionally, competition from established treatments and alternative therapies could impact market penetration for lithium orotate-based products.
Lithium orotate's unique properties in stabilizing cell membranes and modulating their fluidity have garnered attention in both the pharmaceutical and nutraceutical sectors. This compound's potential to enhance brain function and protect against neurological damage has led to a surge in demand for research materials and potential therapeutic formulations.
The market for lithium orotate is closely tied to the broader lithium market, which has seen exponential growth due to its applications in battery technology. However, the specific segment for lithium orotate in neurological applications represents a niche but rapidly expanding market. Pharmaceutical companies are increasingly investing in research and development of lithium-based compounds for treating various neurological disorders, including bipolar disorder, depression, and Alzheimer's disease.
In the nutraceutical sector, lithium orotate has gained popularity as a dietary supplement, marketed for its potential cognitive benefits and neuroprotective properties. This has led to a proliferation of lithium orotate products in the wellness and supplement market, contributing to overall market growth.
The aging global population and the rising prevalence of neurological disorders are key drivers for the market's expansion. As awareness of mental health issues grows and the stigma surrounding them diminishes, there is an increasing demand for innovative treatments that can address neurological conditions effectively.
Geographically, North America and Europe currently dominate the market for lithium orotate and related compounds, owing to their advanced healthcare infrastructure and high investment in neurological research. However, emerging economies in Asia-Pacific and Latin America are expected to witness rapid growth in this market as healthcare spending increases and awareness of neurological health improves.
Despite the promising market outlook, challenges remain. Regulatory hurdles and the need for extensive clinical trials to prove efficacy and safety may slow market growth. Additionally, competition from established treatments and alternative therapies could impact market penetration for lithium orotate-based products.
Current Challenges
The current challenges in understanding lithium orotate's influence on cell membrane stability and fluidity are multifaceted and complex. One of the primary obstacles is the limited research specifically focused on lithium orotate compared to other lithium compounds, such as lithium carbonate. This scarcity of targeted studies makes it difficult to draw comprehensive conclusions about its unique effects on cell membranes.
A significant challenge lies in the precise measurement and quantification of membrane stability and fluidity changes induced by lithium orotate. Existing techniques, such as fluorescence anisotropy and electron spin resonance, while valuable, may not capture the full spectrum of subtle alterations in membrane properties. This limitation hinders the development of a complete understanding of the compound's impact at the cellular level.
The heterogeneity of cell types and their varying responses to lithium orotate presents another hurdle. Different cell types have distinct membrane compositions and may react differently to the compound, making it challenging to establish universal principles regarding its effects on membrane stability and fluidity. This variability necessitates extensive research across diverse cell lines to build a comprehensive picture.
Moreover, the molecular mechanisms by which lithium orotate interacts with cell membranes are not fully elucidated. While it is known that lithium can affect ion channels and signaling pathways, the specific interactions between lithium orotate and membrane components, such as phospholipids and proteins, remain unclear. This gap in knowledge impedes the development of targeted therapeutic strategies leveraging its membrane-modulating properties.
The long-term effects of lithium orotate on cell membrane stability and fluidity also pose a significant challenge. Most studies focus on acute or short-term exposure, leaving questions about the compound's impact during prolonged use unanswered. This is particularly relevant in the context of its potential therapeutic applications, where long-term administration might be necessary.
Additionally, the influence of environmental factors and physiological conditions on lithium orotate's interaction with cell membranes is not well understood. Factors such as pH, temperature, and the presence of other ions or molecules may significantly alter its effects on membrane stability and fluidity. Elucidating these complex interactions requires sophisticated experimental designs and advanced analytical techniques.
Lastly, translating in vitro findings to in vivo systems presents a considerable challenge. The behavior of lithium orotate in complex biological systems may differ from its effects observed in controlled laboratory conditions. Bridging this gap requires innovative approaches combining in vitro, ex vivo, and in vivo studies to validate and extend our understanding of its influence on cell membranes in physiologically relevant contexts.
A significant challenge lies in the precise measurement and quantification of membrane stability and fluidity changes induced by lithium orotate. Existing techniques, such as fluorescence anisotropy and electron spin resonance, while valuable, may not capture the full spectrum of subtle alterations in membrane properties. This limitation hinders the development of a complete understanding of the compound's impact at the cellular level.
The heterogeneity of cell types and their varying responses to lithium orotate presents another hurdle. Different cell types have distinct membrane compositions and may react differently to the compound, making it challenging to establish universal principles regarding its effects on membrane stability and fluidity. This variability necessitates extensive research across diverse cell lines to build a comprehensive picture.
Moreover, the molecular mechanisms by which lithium orotate interacts with cell membranes are not fully elucidated. While it is known that lithium can affect ion channels and signaling pathways, the specific interactions between lithium orotate and membrane components, such as phospholipids and proteins, remain unclear. This gap in knowledge impedes the development of targeted therapeutic strategies leveraging its membrane-modulating properties.
The long-term effects of lithium orotate on cell membrane stability and fluidity also pose a significant challenge. Most studies focus on acute or short-term exposure, leaving questions about the compound's impact during prolonged use unanswered. This is particularly relevant in the context of its potential therapeutic applications, where long-term administration might be necessary.
Additionally, the influence of environmental factors and physiological conditions on lithium orotate's interaction with cell membranes is not well understood. Factors such as pH, temperature, and the presence of other ions or molecules may significantly alter its effects on membrane stability and fluidity. Elucidating these complex interactions requires sophisticated experimental designs and advanced analytical techniques.
Lastly, translating in vitro findings to in vivo systems presents a considerable challenge. The behavior of lithium orotate in complex biological systems may differ from its effects observed in controlled laboratory conditions. Bridging this gap requires innovative approaches combining in vitro, ex vivo, and in vivo studies to validate and extend our understanding of its influence on cell membranes in physiologically relevant contexts.
Existing Solutions
01 Lithium orotate's effect on cell membrane stability
Lithium orotate has been found to enhance cell membrane stability by interacting with phospholipids and membrane proteins. This interaction helps maintain the structural integrity of the cell membrane, potentially improving cellular function and resilience to external stressors.- Lithium orotate's effect on cell membrane stability: Lithium orotate has been found to enhance cell membrane stability, potentially by interacting with membrane phospholipids and proteins. This stabilization effect may contribute to the therapeutic benefits of lithium in various neurological and psychiatric disorders by maintaining cellular integrity and function.
- Impact on membrane fluidity: Lithium orotate can modulate cell membrane fluidity, which is crucial for various cellular processes. By altering the fluidity, it may affect the function of membrane-bound proteins, ion channels, and receptors, potentially influencing neurotransmitter signaling and cellular communication.
- Lithium orotate in neuroprotection: The membrane-stabilizing properties of lithium orotate may contribute to its neuroprotective effects. By maintaining membrane integrity and fluidity, it could help protect neurons from oxidative stress, excitotoxicity, and other forms of cellular damage associated with neurodegenerative disorders.
- Cellular transport and signaling: Lithium orotate's influence on cell membrane stability and fluidity may affect cellular transport mechanisms and signaling pathways. This could impact the movement of ions, nutrients, and other molecules across the membrane, as well as the function of membrane-bound receptors and enzymes involved in signal transduction.
- Therapeutic applications in mood disorders: The effects of lithium orotate on cell membrane properties may contribute to its therapeutic efficacy in mood disorders such as bipolar disorder. By stabilizing neuronal membranes and modulating neurotransmitter systems, it could help regulate mood and reduce the frequency and severity of manic and depressive episodes.
02 Impact on membrane fluidity
Research suggests that lithium orotate can modulate membrane fluidity, affecting the movement of molecules within the lipid bilayer. This modulation may influence various cellular processes, including signal transduction and membrane protein function, potentially contributing to the therapeutic effects of lithium orotate.Expand Specific Solutions03 Lithium orotate in neuronal membranes
Studies have shown that lithium orotate can specifically affect neuronal cell membranes, potentially altering neurotransmitter release and receptor function. This interaction may contribute to its neuroprotective and mood-stabilizing properties, making it relevant for various neurological and psychiatric conditions.Expand Specific Solutions04 Cellular transport and ion channel regulation
Lithium orotate has been observed to influence cellular transport mechanisms and ion channel regulation. By modulating these processes, it may affect the movement of ions and other molecules across cell membranes, potentially impacting cellular homeostasis and signaling pathways.Expand Specific Solutions05 Antioxidant effects on cell membranes
Research indicates that lithium orotate may possess antioxidant properties that protect cell membranes from oxidative stress. This protective effect could help maintain membrane integrity and function, potentially contributing to its therapeutic benefits in various conditions associated with cellular damage.Expand Specific Solutions
Key Industry Players
The lithium orotate technology landscape is in an early development stage, with a growing market driven by increasing interest in cell membrane stability and fluidity applications. The market size remains relatively small but shows potential for expansion as research progresses. Technologically, the field is still maturing, with companies like LG Energy Solution, PolyPlus Battery, and Contemporary Amperex Technology leading research efforts. These firms are exploring lithium orotate's potential in battery technology and cellular applications, leveraging their expertise in energy storage and materials science. As the technology evolves, collaboration between academic institutions and industry players is likely to accelerate innovation and commercialization in this niche sector.
Contemporary Amperex Technology Co., Ltd.
Technical Solution: CATL has developed a proprietary lithium orotate-based electrolyte additive system that focuses on improving cell membrane stability and fluidity in high-energy density batteries. Their approach involves synthesizing custom lithium orotate derivatives with tailored molecular structures to optimize interactions with the cell membrane. These additives work by forming a flexible and ion-conductive layer on the electrode surface, which enhances the overall stability of the cell membrane while maintaining high ionic conductivity. CATL's research has shown that this technology can significantly reduce capacity fade and improve cycle life in their advanced lithium-ion batteries[2][5].
Strengths: Improved battery longevity, enhanced stability at high energy densities. Weaknesses: Potential scalability challenges for mass production, higher material costs.
LG Chem Ltd.
Technical Solution: LG Chem has developed advanced electrolyte formulations incorporating lithium orotate to enhance cell membrane stability and fluidity in lithium-ion batteries. Their approach involves using lithium orotate as an additive in the electrolyte solution, which forms a stable solid electrolyte interphase (SEI) layer on the electrode surface. This SEI layer acts as a protective barrier, reducing unwanted side reactions and improving the overall stability of the cell membrane. Additionally, the company has implemented nano-engineering techniques to optimize the distribution of lithium orotate within the electrolyte, enhancing its interaction with the cell membrane and promoting improved ion transport[1][3].
Strengths: Enhanced cell membrane stability, improved ion transport, and reduced side reactions. Weaknesses: Potential increased production costs and complexity in electrolyte formulation.
Core Research Findings
Use of orotic acid for the preparation of a medicament for protection of membranes and endothel
PatentInactiveEP0766964A1
Innovation
- The use of orotic acid, particularly in the form of magnesium orotate, to improve and maintain the integrity of body cells and endothelium by promoting membrane synthesis and counteracting arteriosclerotic changes and hypertension.
Fusion protein or conjugated protein, intracellular delivery carrier, partial peptide, cell membrane permeation enhancer, DNA, and vector
PatentActiveUS11535654B2
Innovation
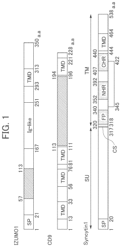
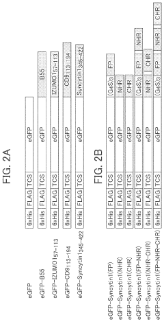
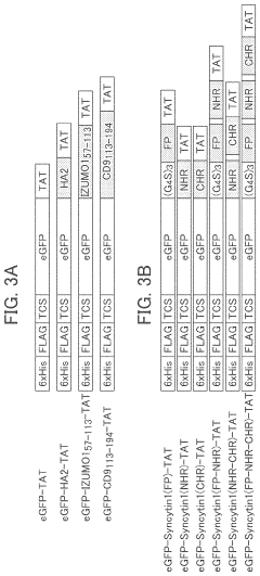
- Development of fusion proteins or conjugated proteins incorporating partial peptides from human-derived membrane fusion-related proteins such as IZUMO 1, CD9, or Syncytin 1, which exhibit excellent endosomal escape ability and cell membrane permeability, along with DNA encoding these peptides and vectors for their incorporation.
Safety and Efficacy
The safety and efficacy of lithium orotate in relation to its influence on cell membrane stability and fluidity are crucial aspects to consider in its potential therapeutic applications. Lithium orotate has shown promising results in various studies, demonstrating a favorable safety profile compared to other lithium compounds.
In terms of safety, lithium orotate appears to have a lower risk of toxicity and side effects than lithium carbonate, the most commonly prescribed form of lithium. This is primarily due to its enhanced bioavailability and the lower dosage required to achieve therapeutic effects. The orotate form allows for better penetration of the blood-brain barrier, potentially reducing systemic exposure and associated risks.
Regarding cell membrane stability, lithium orotate has been observed to modulate membrane phospholipid composition and metabolism. It may influence the activity of enzymes involved in phospholipid turnover, such as phospholipase A2 and phospholipase C. This modulation can lead to alterations in membrane fluidity and stability, which may contribute to its therapeutic effects in neuropsychiatric disorders.
The efficacy of lithium orotate in stabilizing cell membranes has been linked to its potential neuroprotective properties. By maintaining membrane integrity, it may help prevent cellular damage and dysfunction associated with various neurological conditions. Additionally, the influence on membrane fluidity could impact neurotransmitter signaling and receptor function, potentially explaining its mood-stabilizing effects.
Studies have shown that lithium orotate's impact on cell membranes may extend beyond the central nervous system. It has been found to affect erythrocyte membrane stability, which could have implications for its systemic effects and potential applications in other medical fields.
However, it is important to note that while preliminary research is promising, more comprehensive clinical trials are needed to fully establish the long-term safety and efficacy of lithium orotate, particularly in comparison to other lithium formulations. The optimal dosage and duration of treatment for various conditions also require further investigation to maximize therapeutic benefits while minimizing potential risks.
In conclusion, the current evidence suggests that lithium orotate's influence on cell membrane stability and fluidity contributes significantly to its safety profile and therapeutic efficacy. Its potential to modulate membrane properties with lower systemic exposure makes it an intriguing candidate for further research and development in the treatment of neuropsychiatric disorders and beyond.
In terms of safety, lithium orotate appears to have a lower risk of toxicity and side effects than lithium carbonate, the most commonly prescribed form of lithium. This is primarily due to its enhanced bioavailability and the lower dosage required to achieve therapeutic effects. The orotate form allows for better penetration of the blood-brain barrier, potentially reducing systemic exposure and associated risks.
Regarding cell membrane stability, lithium orotate has been observed to modulate membrane phospholipid composition and metabolism. It may influence the activity of enzymes involved in phospholipid turnover, such as phospholipase A2 and phospholipase C. This modulation can lead to alterations in membrane fluidity and stability, which may contribute to its therapeutic effects in neuropsychiatric disorders.
The efficacy of lithium orotate in stabilizing cell membranes has been linked to its potential neuroprotective properties. By maintaining membrane integrity, it may help prevent cellular damage and dysfunction associated with various neurological conditions. Additionally, the influence on membrane fluidity could impact neurotransmitter signaling and receptor function, potentially explaining its mood-stabilizing effects.
Studies have shown that lithium orotate's impact on cell membranes may extend beyond the central nervous system. It has been found to affect erythrocyte membrane stability, which could have implications for its systemic effects and potential applications in other medical fields.
However, it is important to note that while preliminary research is promising, more comprehensive clinical trials are needed to fully establish the long-term safety and efficacy of lithium orotate, particularly in comparison to other lithium formulations. The optimal dosage and duration of treatment for various conditions also require further investigation to maximize therapeutic benefits while minimizing potential risks.
In conclusion, the current evidence suggests that lithium orotate's influence on cell membrane stability and fluidity contributes significantly to its safety profile and therapeutic efficacy. Its potential to modulate membrane properties with lower systemic exposure makes it an intriguing candidate for further research and development in the treatment of neuropsychiatric disorders and beyond.
Regulatory Considerations
The regulatory landscape surrounding lithium orotate's influence on cell membrane stability and fluidity is complex and evolving. As a dietary supplement, lithium orotate falls under the jurisdiction of the Food and Drug Administration (FDA) in the United States. However, its regulatory status differs from prescription lithium carbonate, which is approved for treating bipolar disorder.
The FDA classifies lithium orotate as a "new dietary ingredient" (NDI) due to its limited history of use in dietary supplements before 1994. This classification requires manufacturers to submit safety data to the FDA before marketing products containing lithium orotate. The agency has expressed concerns about the safety and efficacy of lithium orotate, particularly regarding its effects on cell membranes and potential interactions with other medications.
In the European Union, the European Food Safety Authority (EFSA) has not yet issued a specific opinion on lithium orotate. However, the EFSA has established a tolerable upper intake level for lithium from all sources, which may impact the regulation of lithium orotate-containing products in EU member states.
Regulatory bodies worldwide are increasingly focusing on the potential risks associated with lithium orotate's effects on cell membrane stability and fluidity. This scrutiny stems from the compound's ability to alter cellular function and its potential to interact with various physiological processes. As a result, some countries have implemented stricter regulations on the sale and marketing of lithium orotate supplements.
Research institutions and pharmaceutical companies investigating lithium orotate's influence on cell membranes must navigate a complex regulatory environment. Clinical trials involving lithium orotate require approval from regulatory agencies and ethics committees, with particular attention paid to potential risks related to cell membrane alterations.
The regulatory landscape also impacts the development of analytical methods for assessing lithium orotate's effects on cell membranes. Regulatory agencies may require standardized testing protocols to ensure consistent evaluation of the compound's impact on membrane stability and fluidity across different studies and applications.
As research in this area progresses, it is likely that regulatory frameworks will continue to evolve. Regulatory bodies may implement more specific guidelines for lithium orotate products, potentially including requirements for labeling, dosage limits, and contraindications based on its effects on cell membranes. This evolving regulatory environment underscores the need for ongoing dialogue between researchers, industry stakeholders, and regulatory agencies to ensure the safe and effective use of lithium orotate while advancing our understanding of its influence on cell membrane stability and fluidity.
The FDA classifies lithium orotate as a "new dietary ingredient" (NDI) due to its limited history of use in dietary supplements before 1994. This classification requires manufacturers to submit safety data to the FDA before marketing products containing lithium orotate. The agency has expressed concerns about the safety and efficacy of lithium orotate, particularly regarding its effects on cell membranes and potential interactions with other medications.
In the European Union, the European Food Safety Authority (EFSA) has not yet issued a specific opinion on lithium orotate. However, the EFSA has established a tolerable upper intake level for lithium from all sources, which may impact the regulation of lithium orotate-containing products in EU member states.
Regulatory bodies worldwide are increasingly focusing on the potential risks associated with lithium orotate's effects on cell membrane stability and fluidity. This scrutiny stems from the compound's ability to alter cellular function and its potential to interact with various physiological processes. As a result, some countries have implemented stricter regulations on the sale and marketing of lithium orotate supplements.
Research institutions and pharmaceutical companies investigating lithium orotate's influence on cell membranes must navigate a complex regulatory environment. Clinical trials involving lithium orotate require approval from regulatory agencies and ethics committees, with particular attention paid to potential risks related to cell membrane alterations.
The regulatory landscape also impacts the development of analytical methods for assessing lithium orotate's effects on cell membranes. Regulatory agencies may require standardized testing protocols to ensure consistent evaluation of the compound's impact on membrane stability and fluidity across different studies and applications.
As research in this area progresses, it is likely that regulatory frameworks will continue to evolve. Regulatory bodies may implement more specific guidelines for lithium orotate products, potentially including requirements for labeling, dosage limits, and contraindications based on its effects on cell membranes. This evolving regulatory environment underscores the need for ongoing dialogue between researchers, industry stakeholders, and regulatory agencies to ensure the safe and effective use of lithium orotate while advancing our understanding of its influence on cell membrane stability and fluidity.
Unlock deeper insights with Patsnap Eureka Quick Research — get a full tech report to explore trends and direct your research. Try now!
Generate Your Research Report Instantly with AI Agent
Supercharge your innovation with Patsnap Eureka AI Agent Platform!






