On-Board Charger Bidirectional V2G: Efficiency, Grid Codes And Safety
SEP 23, 20259 MIN READ
Generate Your Research Report Instantly with AI Agent
Patsnap Eureka helps you evaluate technical feasibility & market potential.
V2G Bidirectional Charging Background and Objectives
Vehicle-to-Grid (V2G) technology has evolved significantly over the past two decades, transitioning from theoretical concept to practical implementation. The fundamental premise of V2G emerged in the late 1990s when researchers began exploring how electric vehicles could serve as distributed energy resources rather than mere power consumers. By 2010, pilot projects demonstrated basic bidirectional power flow capabilities, though efficiency rarely exceeded 80% and safety protocols remained rudimentary.
The technological evolution accelerated after 2015 with the proliferation of electric vehicles and growing grid stability concerns. Major automakers including Nissan, BMW, and Tesla began investing in bidirectional charging capabilities, recognizing the potential for EVs to participate in grid services. Simultaneously, utility companies started exploring regulatory frameworks to accommodate this novel grid resource, though standardization remained fragmented across different regions.
Current V2G technology enables electric vehicles to not only draw power from the grid but also discharge stored energy back when needed, effectively transforming vehicles into mobile energy storage units. This bidirectional functionality creates opportunities for grid stabilization, peak shaving, and renewable energy integration. The core components enabling this capability include bidirectional on-board chargers (BOBCs), communication protocols, and control systems that coordinate between vehicle batteries and grid requirements.
The primary objectives of advancing bidirectional on-board charger technology focus on three critical areas: efficiency improvement, grid code compliance, and safety enhancement. Efficiency targets aim to minimize conversion losses during bidirectional power flow, with industry leaders pursuing 95%+ efficiency to make V2G economically viable. Current systems typically achieve 88-92% efficiency, representing significant energy and financial losses at scale.
Grid code compliance presents another substantial challenge, as regulations vary significantly across regions and continue to evolve. BOBCs must adapt to diverse requirements for power quality, frequency regulation, and fault response while maintaining interoperability across different utility networks. This necessitates flexible hardware architectures and updatable firmware solutions.
Safety remains paramount in V2G implementation, requiring sophisticated protection mechanisms against electrical hazards, thermal management issues, and cybersecurity threats. The intimate connection between vehicle systems and critical infrastructure demands robust isolation, fault detection, and secure communication protocols to prevent both physical damage and system compromises.
The technological trajectory points toward integrated solutions that combine high-efficiency power electronics, adaptive control algorithms, and standardized communication protocols to overcome these challenges while reducing system complexity and cost.
The technological evolution accelerated after 2015 with the proliferation of electric vehicles and growing grid stability concerns. Major automakers including Nissan, BMW, and Tesla began investing in bidirectional charging capabilities, recognizing the potential for EVs to participate in grid services. Simultaneously, utility companies started exploring regulatory frameworks to accommodate this novel grid resource, though standardization remained fragmented across different regions.
Current V2G technology enables electric vehicles to not only draw power from the grid but also discharge stored energy back when needed, effectively transforming vehicles into mobile energy storage units. This bidirectional functionality creates opportunities for grid stabilization, peak shaving, and renewable energy integration. The core components enabling this capability include bidirectional on-board chargers (BOBCs), communication protocols, and control systems that coordinate between vehicle batteries and grid requirements.
The primary objectives of advancing bidirectional on-board charger technology focus on three critical areas: efficiency improvement, grid code compliance, and safety enhancement. Efficiency targets aim to minimize conversion losses during bidirectional power flow, with industry leaders pursuing 95%+ efficiency to make V2G economically viable. Current systems typically achieve 88-92% efficiency, representing significant energy and financial losses at scale.
Grid code compliance presents another substantial challenge, as regulations vary significantly across regions and continue to evolve. BOBCs must adapt to diverse requirements for power quality, frequency regulation, and fault response while maintaining interoperability across different utility networks. This necessitates flexible hardware architectures and updatable firmware solutions.
Safety remains paramount in V2G implementation, requiring sophisticated protection mechanisms against electrical hazards, thermal management issues, and cybersecurity threats. The intimate connection between vehicle systems and critical infrastructure demands robust isolation, fault detection, and secure communication protocols to prevent both physical damage and system compromises.
The technological trajectory points toward integrated solutions that combine high-efficiency power electronics, adaptive control algorithms, and standardized communication protocols to overcome these challenges while reducing system complexity and cost.
Market Analysis for V2G Integration
The Vehicle-to-Grid (V2G) market is experiencing significant growth as electric vehicle adoption accelerates globally. Current market projections indicate that the global V2G technology market is expected to reach $17.4 billion by 2027, growing at a compound annual growth rate of approximately 48% from 2020. This growth is driven by increasing investments in smart grid infrastructure and the rising penetration of electric vehicles across major automotive markets.
Consumer demand for V2G integration is primarily motivated by potential economic benefits, including reduced electricity costs through strategic charging and discharging, as well as revenue generation opportunities from grid services. Surveys indicate that up to 60% of EV owners express interest in V2G capabilities when presented with clear financial incentives. However, consumer awareness remains relatively low, with only 25% of current EV owners fully understanding V2G technology and its benefits.
From a utility perspective, V2G represents a valuable resource for grid stabilization and demand response programs. Grid operators in regions with high renewable energy penetration are particularly interested in V2G as a flexible energy storage solution. Markets with advanced time-of-use electricity pricing structures show the highest potential for immediate V2G adoption, as they provide clear economic signals for optimal charging and discharging cycles.
Regional analysis reveals varying levels of market readiness. Europe leads in V2G implementation, with countries like Denmark, the Netherlands, and the UK establishing regulatory frameworks specifically for V2G integration. North America follows with significant pilot projects, particularly in California and the northeastern United States. The Asia-Pacific region shows tremendous growth potential, with Japan and South Korea making substantial investments in V2G infrastructure.
Market barriers include high initial costs of bidirectional charging equipment, regulatory uncertainties regarding electricity trading by individuals, and concerns about battery degradation. The price premium for bidirectional on-board chargers currently ranges from $1,200 to $3,000 per vehicle, representing a significant adoption hurdle.
Industry forecasts suggest that V2G market penetration will follow a classic S-curve adoption pattern, with accelerated growth expected between 2023-2028 as technology costs decrease and regulatory frameworks mature. The most promising market segments include fleet operators, residential customers with solar installations, and early technology adopters willing to participate in utility demand response programs.
Consumer demand for V2G integration is primarily motivated by potential economic benefits, including reduced electricity costs through strategic charging and discharging, as well as revenue generation opportunities from grid services. Surveys indicate that up to 60% of EV owners express interest in V2G capabilities when presented with clear financial incentives. However, consumer awareness remains relatively low, with only 25% of current EV owners fully understanding V2G technology and its benefits.
From a utility perspective, V2G represents a valuable resource for grid stabilization and demand response programs. Grid operators in regions with high renewable energy penetration are particularly interested in V2G as a flexible energy storage solution. Markets with advanced time-of-use electricity pricing structures show the highest potential for immediate V2G adoption, as they provide clear economic signals for optimal charging and discharging cycles.
Regional analysis reveals varying levels of market readiness. Europe leads in V2G implementation, with countries like Denmark, the Netherlands, and the UK establishing regulatory frameworks specifically for V2G integration. North America follows with significant pilot projects, particularly in California and the northeastern United States. The Asia-Pacific region shows tremendous growth potential, with Japan and South Korea making substantial investments in V2G infrastructure.
Market barriers include high initial costs of bidirectional charging equipment, regulatory uncertainties regarding electricity trading by individuals, and concerns about battery degradation. The price premium for bidirectional on-board chargers currently ranges from $1,200 to $3,000 per vehicle, representing a significant adoption hurdle.
Industry forecasts suggest that V2G market penetration will follow a classic S-curve adoption pattern, with accelerated growth expected between 2023-2028 as technology costs decrease and regulatory frameworks mature. The most promising market segments include fleet operators, residential customers with solar installations, and early technology adopters willing to participate in utility demand response programs.
Technical Challenges in Bidirectional OBC Development
The development of bidirectional on-board chargers (OBCs) for V2G technology faces several significant technical challenges that must be addressed to achieve widespread adoption. One of the primary obstacles is achieving high power conversion efficiency while maintaining compact size and weight constraints. Current bidirectional OBCs typically achieve 90-93% efficiency, which falls short of the 95%+ efficiency targets needed to make V2G economically viable. Power losses during bidirectional energy transfer not only reduce system efficiency but also generate heat that requires sophisticated thermal management solutions.
Topology selection presents another critical challenge. While traditional unidirectional chargers employ simpler topologies, bidirectional power flow necessitates more complex circuit designs such as dual active bridge (DAB) or bridgeless PFC converters. These advanced topologies require precise control algorithms and additional components, increasing system complexity, cost, and potential points of failure.
Wide-bandgap semiconductor devices like Silicon Carbide (SiC) and Gallium Nitride (GaN) offer promising solutions for efficiency improvement but introduce new design challenges related to high-frequency operation, electromagnetic interference (EMI), and thermal management. The switching frequencies of 50-100 kHz or higher enabled by these semiconductors require careful PCB layout and component selection to mitigate parasitic effects.
Grid code compliance represents a substantial hurdle for bidirectional OBC developers. Different regions have varying requirements for power quality, harmonic distortion limits, and grid support functions. For instance, IEEE 1547 in North America and EN 50549 in Europe specify different requirements for voltage ride-through capabilities and reactive power support. Designing OBCs that can adapt to these diverse standards while maintaining performance is technically demanding.
Safety considerations introduce additional complexity. Bidirectional power flow creates new fault scenarios that must be addressed through sophisticated protection mechanisms. Isolation between vehicle and grid must be maintained under all operating conditions, requiring robust galvanic isolation solutions. Anti-islanding protection is also essential to prevent the OBC from energizing a portion of the grid during power outages, which could endanger utility workers.
Control system design for bidirectional OBCs is particularly challenging due to the need to seamlessly transition between charging and discharging modes while maintaining stability across varying grid conditions. Advanced control algorithms must handle grid voltage fluctuations, frequency variations, and load changes while ensuring safe operation and compliance with grid codes.
Topology selection presents another critical challenge. While traditional unidirectional chargers employ simpler topologies, bidirectional power flow necessitates more complex circuit designs such as dual active bridge (DAB) or bridgeless PFC converters. These advanced topologies require precise control algorithms and additional components, increasing system complexity, cost, and potential points of failure.
Wide-bandgap semiconductor devices like Silicon Carbide (SiC) and Gallium Nitride (GaN) offer promising solutions for efficiency improvement but introduce new design challenges related to high-frequency operation, electromagnetic interference (EMI), and thermal management. The switching frequencies of 50-100 kHz or higher enabled by these semiconductors require careful PCB layout and component selection to mitigate parasitic effects.
Grid code compliance represents a substantial hurdle for bidirectional OBC developers. Different regions have varying requirements for power quality, harmonic distortion limits, and grid support functions. For instance, IEEE 1547 in North America and EN 50549 in Europe specify different requirements for voltage ride-through capabilities and reactive power support. Designing OBCs that can adapt to these diverse standards while maintaining performance is technically demanding.
Safety considerations introduce additional complexity. Bidirectional power flow creates new fault scenarios that must be addressed through sophisticated protection mechanisms. Isolation between vehicle and grid must be maintained under all operating conditions, requiring robust galvanic isolation solutions. Anti-islanding protection is also essential to prevent the OBC from energizing a portion of the grid during power outages, which could endanger utility workers.
Control system design for bidirectional OBCs is particularly challenging due to the need to seamlessly transition between charging and discharging modes while maintaining stability across varying grid conditions. Advanced control algorithms must handle grid voltage fluctuations, frequency variations, and load changes while ensuring safe operation and compliance with grid codes.
Current Bidirectional OBC Architectures
01 Bidirectional power conversion topologies for OBC efficiency
Various power conversion topologies are employed in bidirectional on-board chargers to improve efficiency. These include dual active bridge (DAB) converters, LLC resonant converters, and phase-shifted full-bridge topologies. These designs optimize power flow in both grid-to-vehicle (G2V) and vehicle-to-grid (V2G) modes while minimizing switching losses and improving thermal performance. Advanced topologies incorporate soft-switching techniques and synchronous rectification to further enhance efficiency across wide voltage and load ranges.- Topology optimization for bidirectional OBC efficiency: Various circuit topologies are employed to enhance the efficiency of bidirectional on-board chargers. These include dual active bridge configurations, resonant converters, and multi-level converter designs that minimize switching losses and improve power density. Advanced topologies enable seamless bidirectional power flow while maintaining high efficiency across wide operating ranges, reducing thermal stress and component count.
- Control strategies for efficiency improvement: Sophisticated control algorithms are implemented to optimize the efficiency of bidirectional OBCs. These include phase-shift control, zero voltage switching techniques, and adaptive control methods that respond to varying load conditions. Advanced controllers minimize circulating currents, reduce harmonics, and optimize switching timing to maximize energy transfer efficiency in both charging and discharging modes.
- Thermal management solutions for high-efficiency operation: Effective thermal management systems are crucial for maintaining high efficiency in bidirectional OBCs. These include advanced cooling structures, optimized component layouts, and thermal interface materials that enhance heat dissipation. Improved thermal management prevents efficiency degradation due to temperature rise, extends component lifespan, and enables higher power density designs without compromising performance.
- Wide bandgap semiconductor implementation: The integration of wide bandgap semiconductors such as Silicon Carbide (SiC) and Gallium Nitride (GaN) significantly improves bidirectional OBC efficiency. These advanced materials enable higher switching frequencies, reduced switching losses, and better thermal performance compared to traditional silicon-based devices. Their implementation allows for smaller passive components, higher power density, and improved overall system efficiency across various operating conditions.
- Integration with vehicle-to-grid (V2G) functionality: Bidirectional OBCs are designed with vehicle-to-grid capabilities that maintain high efficiency during both power draw and power export operations. These systems incorporate specialized power factor correction circuits, grid synchronization mechanisms, and adaptive control algorithms to ensure efficient bidirectional energy transfer. The integration enables electric vehicles to serve as mobile energy storage units while maintaining optimal charging efficiency and battery health.
02 Control strategies for bidirectional OBC efficiency optimization
Sophisticated control algorithms are implemented to maximize bidirectional OBC efficiency. These include adaptive control schemes that optimize switching frequencies and duty cycles based on load conditions, predictive control methods that anticipate power demands, and digital control systems that precisely manage power factor correction. Advanced controllers dynamically adjust operating parameters to maintain peak efficiency during both charging and discharging operations, while ensuring seamless transitions between modes and maintaining power quality compliance with grid standards.Expand Specific Solutions03 Thermal management solutions for high-efficiency OBCs
Effective thermal management is crucial for maintaining high efficiency in bidirectional OBCs. Innovations include integrated cooling systems with optimized heat sink designs, phase-change materials for thermal buffering, and intelligent temperature monitoring with adaptive cooling control. Advanced thermal designs focus on component placement optimization, thermal interface materials with superior conductivity, and airflow management to prevent hotspots. These solutions enable sustained high-efficiency operation under varying load conditions while extending component lifespan.Expand Specific Solutions04 Wide bandgap semiconductor implementation for efficiency gains
The adoption of wide bandgap semiconductors such as Silicon Carbide (SiC) and Gallium Nitride (GaN) significantly improves bidirectional OBC efficiency. These materials enable higher switching frequencies, reduced switching losses, and better thermal performance compared to traditional silicon-based devices. The implementation of these advanced semiconductors allows for smaller passive components, higher power density, and improved overall system efficiency. Specialized gate drivers and optimized circuit layouts are developed to fully leverage the capabilities of these semiconductors.Expand Specific Solutions05 Integration of OBC with vehicle systems for holistic efficiency
Holistic integration of bidirectional OBCs with other vehicle systems enhances overall efficiency. This includes coordinated operation with battery management systems for optimized charging profiles, integration with thermal management systems to share cooling resources, and communication with vehicle energy management systems for intelligent power flow control. Advanced designs incorporate auxiliary power outputs to support vehicle systems during charging, unified controllers for multiple power conversion functions, and smart scheduling algorithms that optimize charging based on grid conditions and user preferences.Expand Specific Solutions
Key Industry Players in V2G Ecosystem
The Vehicle-to-Grid (V2G) technology market is currently in its early growth phase, with an estimated global market size of $1.5-2 billion, projected to expand significantly in the next decade. The competitive landscape is characterized by automotive manufacturers leading development efforts, with Hyundai Motor, Kia, Toyota, and Honda at the forefront of bidirectional charging innovations. Traditional power grid operators like State Grid Corporation of China and technology companies such as QUALCOMM and ChargePoint are also making significant investments. Technical maturity varies across regions, with Asian manufacturers demonstrating more advanced commercial implementations. Key challenges include standardizing efficiency metrics, ensuring grid code compliance across different markets, and addressing safety concerns in bidirectional power flow, areas where companies like Contemporary Amperex Technology and Siemens are developing specialized solutions.
State Grid Corp. of China
Technical Solution: State Grid Corporation of China has developed a comprehensive bidirectional on-board charging solution for V2G applications that integrates seamlessly with their vast national grid infrastructure. Their system employs a silicon carbide (SiC) based converter architecture with interleaved topology that achieves efficiency exceeding 95% while supporting power levels up to 20kW. The State Grid OBC features sophisticated grid synchronization technology with adaptive control algorithms that ensure compliance with China's stringent grid codes while optimizing power quality. Their solution incorporates a multi-layer safety system including isolation monitoring, leakage current detection, and automated fault response mechanisms that exceed GB/T standards. State Grid has implemented an advanced grid services platform that enables vehicles to participate in frequency regulation, peak shaving, and renewable energy integration, with demonstrated large-scale deployment across multiple provinces. The system features a proprietary communication protocol that enables secure, low-latency interaction between vehicles and grid management systems, supporting coordinated V2G operations at scale[9][11].
Strengths: Seamless integration with China's national grid infrastructure; extensive field deployment experience; comprehensive grid services platform enabling multiple value streams. Weaknesses: Limited compatibility with international grid standards; proprietary communication protocols may limit interoperability; optimization primarily for Chinese market conditions.
Honda Motor Co., Ltd.
Technical Solution: Honda has developed an innovative bidirectional on-board charging system for V2G applications that integrates gallium nitride (GaN) power semiconductors to achieve high efficiency in a compact form factor. Their solution employs a bridgeless totem-pole PFC front-end coupled with a dual-active bridge DC-DC stage, achieving peak efficiency of 95% while supporting bidirectional power flow up to 22kW. Honda's system features adaptive control algorithms that optimize operation based on battery chemistry, temperature, and state of charge to maximize battery longevity during V2G operations. The OBC incorporates comprehensive grid monitoring capabilities that ensure compliance with IEEE 1547 and regional grid codes, with particular emphasis on anti-islanding protection and power quality management. Honda has implemented a sophisticated communication architecture that enables secure interaction with charging infrastructure and grid operators using ISO/IEC 15118 and OpenADR protocols, supporting various V2G service models[6][8].
Strengths: Compact design with high power density; advanced battery protection algorithms; comprehensive communication capabilities supporting multiple V2G service models. Weaknesses: GaN technology introduces higher component costs; thermal management challenges at maximum power output; limited field deployment history compared to some competitors.
Critical Patents in Bidirectional Power Conversion
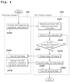
On-board charger for electric vehicle, relay control method thereof, and bidirectional charging system for electric vehicle comprising same
PatentPendingUS20250062620A1
Innovation
- The proposed solution involves an on-board charger (OBC) capable of quickly determining and controlling the operations of relays in both the OBC and external chargers, utilizing a relay control method that includes a controller to turn off relays based on power-related parameters and a bidirectional charging system that facilitates these operations.
System for bidirectional rapid charging applying Vehicle-to-Grid and method thereof
PatentActiveKR1020220058239A
Innovation
- A two-way fast charging system that applies V2G technology, allowing electric vehicles to both charge and discharge power, utilizing a bi-directional rapid charger/discharger that collects battery state, driver schedule information, and charge/discharge history to optimize charging and discharging functions based on calculated power requirements and system states.
Grid Code Compliance Framework
Grid code compliance is a critical framework that governs the interconnection of bidirectional on-board chargers (BOBCs) with the electrical grid in Vehicle-to-Grid (V2G) applications. These regulations vary significantly across different regions and countries, creating a complex landscape for V2G technology implementation. The framework typically encompasses voltage and frequency operating ranges, power quality requirements, fault ride-through capabilities, and grid support functions.
The primary components of grid code compliance for V2G systems include harmonics control, reactive power management, and response to grid disturbances. International standards such as IEEE 1547, IEC 61851, and ISO 15118 provide the foundational requirements for grid-connected electric vehicles, though regional adaptations introduce significant variations that manufacturers must navigate.
Harmonics management represents a significant challenge in V2G implementations, as bidirectional power flow can introduce waveform distortions that potentially destabilize grid operations. Most grid codes specify maximum total harmonic distortion (THD) limits, typically between 3-5% for current and voltage, requiring sophisticated filtering solutions in BOBC designs.
Reactive power control capabilities are increasingly mandated by modern grid codes, requiring V2G systems to provide voltage support through reactive power injection or absorption. This functionality necessitates advanced control algorithms and power electronics configurations that can maintain high efficiency while delivering these ancillary services.
Fault ride-through requirements present particular challenges for BOBCs, as they must remain connected during short-term grid disturbances rather than disconnecting immediately. This demands robust protection mechanisms and control strategies that can distinguish between genuine fault conditions requiring disconnection and temporary disturbances where continued operation is preferred.
The compliance verification process typically involves laboratory testing, field demonstrations, and certification procedures. Testing protocols must evaluate steady-state performance, dynamic response characteristics, and protection functions across various operating conditions. Certification bodies like UL in North America and TÜV in Europe provide the necessary validation services, though harmonization efforts are ongoing to streamline the process for global markets.
Emerging trends in grid code evolution include requirements for autonomous grid support functions, cybersecurity provisions, and aggregation capabilities that enable vehicle fleets to participate in grid services markets. These developments are driving innovation in BOBC control architectures and communication interfaces, pushing manufacturers toward more sophisticated system designs that can adapt to evolving regulatory landscapes.
The primary components of grid code compliance for V2G systems include harmonics control, reactive power management, and response to grid disturbances. International standards such as IEEE 1547, IEC 61851, and ISO 15118 provide the foundational requirements for grid-connected electric vehicles, though regional adaptations introduce significant variations that manufacturers must navigate.
Harmonics management represents a significant challenge in V2G implementations, as bidirectional power flow can introduce waveform distortions that potentially destabilize grid operations. Most grid codes specify maximum total harmonic distortion (THD) limits, typically between 3-5% for current and voltage, requiring sophisticated filtering solutions in BOBC designs.
Reactive power control capabilities are increasingly mandated by modern grid codes, requiring V2G systems to provide voltage support through reactive power injection or absorption. This functionality necessitates advanced control algorithms and power electronics configurations that can maintain high efficiency while delivering these ancillary services.
Fault ride-through requirements present particular challenges for BOBCs, as they must remain connected during short-term grid disturbances rather than disconnecting immediately. This demands robust protection mechanisms and control strategies that can distinguish between genuine fault conditions requiring disconnection and temporary disturbances where continued operation is preferred.
The compliance verification process typically involves laboratory testing, field demonstrations, and certification procedures. Testing protocols must evaluate steady-state performance, dynamic response characteristics, and protection functions across various operating conditions. Certification bodies like UL in North America and TÜV in Europe provide the necessary validation services, though harmonization efforts are ongoing to streamline the process for global markets.
Emerging trends in grid code evolution include requirements for autonomous grid support functions, cybersecurity provisions, and aggregation capabilities that enable vehicle fleets to participate in grid services markets. These developments are driving innovation in BOBC control architectures and communication interfaces, pushing manufacturers toward more sophisticated system designs that can adapt to evolving regulatory landscapes.
Safety Standards and Certification Requirements
The implementation of Vehicle-to-Grid (V2G) technology through bidirectional on-board chargers necessitates adherence to stringent safety standards and certification requirements. These frameworks are essential to ensure the protection of users, vehicles, electrical infrastructure, and the grid itself during bidirectional power flow operations.
International Electrotechnical Commission (IEC) standards form the backbone of V2G safety regulations. IEC 61851-1 establishes general requirements for electric vehicle conductive charging systems, while IEC 15118 specifically addresses the vehicle-to-grid communication interface. For bidirectional power flow, IEC 61851-23 provides critical guidelines on DC charging stations with V2G capabilities.
Grid interconnection safety is governed by IEEE 1547, which specifies requirements for interconnecting distributed resources with electric power systems. This standard is particularly relevant for V2G applications as electric vehicles essentially function as distributed energy resources when feeding power back to the grid.
Vehicle-specific safety standards include ISO 6469, which covers safety specifications for electrically propelled road vehicles, with particular emphasis on electrical safety. Additionally, UL 2202 addresses electric vehicle charging system equipment safety, while UL 9741 specifically focuses on bidirectional electric vehicle charging systems.
Electromagnetic compatibility (EMC) requirements are outlined in CISPR 25 and IEC 61000 series, ensuring that bidirectional chargers do not cause electromagnetic interference with vehicle systems or nearby electronic equipment. These standards are crucial as bidirectional power flow can potentially generate more electromagnetic disturbances than unidirectional charging.
Regional certification processes vary significantly. In North America, UL certification is predominant, while in Europe, CE marking based on compliance with relevant EU directives is required. Asian markets often have their own certification systems, such as CCC in China and PSE in Japan. These regional differences create compliance challenges for global V2G deployment.
Cybersecurity certification is emerging as a critical requirement, with standards like ISO/SAE 21434 addressing automotive cybersecurity engineering. As V2G systems involve communication between vehicles and grid infrastructure, they present potential vulnerabilities that must be secured against unauthorized access and manipulation.
Testing and validation protocols for bidirectional chargers are more complex than for conventional chargers, requiring verification of both charging and discharging functionalities under various operating conditions. This includes testing for fault conditions, overvoltage protection, thermal management, and emergency disconnection capabilities.
Human safety considerations are paramount, with requirements for electrical isolation, touch-safe connections, and clear user interfaces that prevent operational errors. Standards like IEC 62196 specify requirements for plugs, socket-outlets, and connectors used in V2G applications to ensure safe physical connections.
International Electrotechnical Commission (IEC) standards form the backbone of V2G safety regulations. IEC 61851-1 establishes general requirements for electric vehicle conductive charging systems, while IEC 15118 specifically addresses the vehicle-to-grid communication interface. For bidirectional power flow, IEC 61851-23 provides critical guidelines on DC charging stations with V2G capabilities.
Grid interconnection safety is governed by IEEE 1547, which specifies requirements for interconnecting distributed resources with electric power systems. This standard is particularly relevant for V2G applications as electric vehicles essentially function as distributed energy resources when feeding power back to the grid.
Vehicle-specific safety standards include ISO 6469, which covers safety specifications for electrically propelled road vehicles, with particular emphasis on electrical safety. Additionally, UL 2202 addresses electric vehicle charging system equipment safety, while UL 9741 specifically focuses on bidirectional electric vehicle charging systems.
Electromagnetic compatibility (EMC) requirements are outlined in CISPR 25 and IEC 61000 series, ensuring that bidirectional chargers do not cause electromagnetic interference with vehicle systems or nearby electronic equipment. These standards are crucial as bidirectional power flow can potentially generate more electromagnetic disturbances than unidirectional charging.
Regional certification processes vary significantly. In North America, UL certification is predominant, while in Europe, CE marking based on compliance with relevant EU directives is required. Asian markets often have their own certification systems, such as CCC in China and PSE in Japan. These regional differences create compliance challenges for global V2G deployment.
Cybersecurity certification is emerging as a critical requirement, with standards like ISO/SAE 21434 addressing automotive cybersecurity engineering. As V2G systems involve communication between vehicles and grid infrastructure, they present potential vulnerabilities that must be secured against unauthorized access and manipulation.
Testing and validation protocols for bidirectional chargers are more complex than for conventional chargers, requiring verification of both charging and discharging functionalities under various operating conditions. This includes testing for fault conditions, overvoltage protection, thermal management, and emergency disconnection capabilities.
Human safety considerations are paramount, with requirements for electrical isolation, touch-safe connections, and clear user interfaces that prevent operational errors. Standards like IEC 62196 specify requirements for plugs, socket-outlets, and connectors used in V2G applications to ensure safe physical connections.
Unlock deeper insights with Patsnap Eureka Quick Research — get a full tech report to explore trends and direct your research. Try now!
Generate Your Research Report Instantly with AI Agent
Supercharge your innovation with Patsnap Eureka AI Agent Platform!