Comparative study of global EREV policy frameworks
AUG 14, 20259 MIN READ
Generate Your Research Report Instantly with AI Agent
Patsnap Eureka helps you evaluate technical feasibility & market potential.
EREV Policy Evolution
The evolution of Extended Range Electric Vehicle (EREV) policies globally has been marked by significant shifts in approach and focus over the past decade. Initially, many countries introduced policies aimed at promoting the adoption of electric vehicles (EVs) in general, with EREVs often falling under broader EV categories.
In the early 2010s, countries like the United States and China led the way in implementing supportive policies for EREVs. The U.S. introduced federal tax credits for plug-in electric vehicles, including EREVs, as part of the Energy Improvement and Extension Act of 2008. China, recognizing the potential of EREVs to address range anxiety concerns, included them in their New Energy Vehicle (NEV) subsidy program launched in 2009.
As the decade progressed, European countries began to develop more targeted policies for EREVs. Germany, for instance, introduced its Electric Mobility Act in 2015, which provided incentives for EREVs alongside battery electric vehicles (BEVs). The UK followed suit with its Plug-in Car Grant scheme, which initially offered subsidies for both EREVs and BEVs.
However, a notable shift occurred in the mid-2010s as many countries began to prioritize zero-emission vehicles. This led to a gradual reduction in support for EREVs in favor of BEVs. For example, the Netherlands phased out tax incentives for plug-in hybrid vehicles, including EREVs, by 2016, while maintaining benefits for BEVs.
The late 2010s saw a further divergence in EREV policies globally. While some countries continued to include EREVs in their electrification strategies, others began to exclude them from incentive programs. Norway, a leader in EV adoption, maintained support for EREVs but at a lower level compared to BEVs. In contrast, California's Zero Emission Vehicle (ZEV) program began to phase out credits for EREVs in favor of longer-range BEVs.
Most recently, there has been a renewed interest in EREVs as a transitional technology in some markets. Japan, for instance, has maintained support for EREVs as part of its broader strategy to reduce emissions while addressing infrastructure limitations. Similarly, some European countries are reconsidering the role of EREVs in their electrification plans, particularly for regions with less developed charging infrastructure.
The evolution of EREV policies reflects the complex interplay between technological advancements, environmental goals, and market realities. As battery technology improves and charging infrastructure expands, policy frameworks continue to adapt, balancing the need for immediate emissions reductions with long-term sustainability goals.
In the early 2010s, countries like the United States and China led the way in implementing supportive policies for EREVs. The U.S. introduced federal tax credits for plug-in electric vehicles, including EREVs, as part of the Energy Improvement and Extension Act of 2008. China, recognizing the potential of EREVs to address range anxiety concerns, included them in their New Energy Vehicle (NEV) subsidy program launched in 2009.
As the decade progressed, European countries began to develop more targeted policies for EREVs. Germany, for instance, introduced its Electric Mobility Act in 2015, which provided incentives for EREVs alongside battery electric vehicles (BEVs). The UK followed suit with its Plug-in Car Grant scheme, which initially offered subsidies for both EREVs and BEVs.
However, a notable shift occurred in the mid-2010s as many countries began to prioritize zero-emission vehicles. This led to a gradual reduction in support for EREVs in favor of BEVs. For example, the Netherlands phased out tax incentives for plug-in hybrid vehicles, including EREVs, by 2016, while maintaining benefits for BEVs.
The late 2010s saw a further divergence in EREV policies globally. While some countries continued to include EREVs in their electrification strategies, others began to exclude them from incentive programs. Norway, a leader in EV adoption, maintained support for EREVs but at a lower level compared to BEVs. In contrast, California's Zero Emission Vehicle (ZEV) program began to phase out credits for EREVs in favor of longer-range BEVs.
Most recently, there has been a renewed interest in EREVs as a transitional technology in some markets. Japan, for instance, has maintained support for EREVs as part of its broader strategy to reduce emissions while addressing infrastructure limitations. Similarly, some European countries are reconsidering the role of EREVs in their electrification plans, particularly for regions with less developed charging infrastructure.
The evolution of EREV policies reflects the complex interplay between technological advancements, environmental goals, and market realities. As battery technology improves and charging infrastructure expands, policy frameworks continue to adapt, balancing the need for immediate emissions reductions with long-term sustainability goals.
EREV Market Dynamics
The global Extended Range Electric Vehicle (EREV) market has been experiencing significant growth and transformation in recent years, driven by a combination of technological advancements, environmental concerns, and supportive policy frameworks. EREVs, which combine the benefits of both electric and conventional powertrains, have emerged as a promising solution to address range anxiety and transition challenges in the shift towards electrification.
Market demand for EREVs has been steadily increasing, particularly in regions with well-developed charging infrastructure and strong government incentives. Countries like China, the United States, and several European nations have seen a surge in EREV adoption, with consumers attracted to the flexibility and reduced environmental impact these vehicles offer. The market size for EREVs has expanded considerably, with projections indicating continued growth in the coming years.
Industry trends show a clear shift towards EREVs as automakers seek to diversify their product portfolios and meet increasingly stringent emissions regulations. Many major automotive manufacturers have introduced EREV models or announced plans to do so, recognizing the technology's potential to bridge the gap between conventional and fully electric vehicles. This trend is expected to accelerate as battery technology improves and production costs decrease.
The competitive landscape of the EREV market is characterized by a mix of established automakers and new entrants. Traditional automotive giants have leveraged their existing manufacturing capabilities and brand recognition to introduce EREV models, while innovative startups have emerged with dedicated EREV platforms. This dynamic has fostered innovation and driven down costs, making EREVs more accessible to a broader consumer base.
Regional variations in EREV market dynamics are notable, with adoption rates and policy support differing significantly across countries. China has emerged as a leader in EREV deployment, supported by strong government incentives and a rapidly expanding charging network. In Europe, countries like Norway and the Netherlands have seen high EREV uptake due to favorable tax structures and environmental policies. The United States market has shown steady growth, particularly in states with robust zero-emission vehicle mandates.
Consumer preferences and behavior patterns play a crucial role in shaping EREV market dynamics. Factors such as range anxiety, charging convenience, and total cost of ownership significantly influence purchasing decisions. As awareness of EREVs increases and charging infrastructure expands, consumer acceptance is expected to grow, further driving market expansion.
Market demand for EREVs has been steadily increasing, particularly in regions with well-developed charging infrastructure and strong government incentives. Countries like China, the United States, and several European nations have seen a surge in EREV adoption, with consumers attracted to the flexibility and reduced environmental impact these vehicles offer. The market size for EREVs has expanded considerably, with projections indicating continued growth in the coming years.
Industry trends show a clear shift towards EREVs as automakers seek to diversify their product portfolios and meet increasingly stringent emissions regulations. Many major automotive manufacturers have introduced EREV models or announced plans to do so, recognizing the technology's potential to bridge the gap between conventional and fully electric vehicles. This trend is expected to accelerate as battery technology improves and production costs decrease.
The competitive landscape of the EREV market is characterized by a mix of established automakers and new entrants. Traditional automotive giants have leveraged their existing manufacturing capabilities and brand recognition to introduce EREV models, while innovative startups have emerged with dedicated EREV platforms. This dynamic has fostered innovation and driven down costs, making EREVs more accessible to a broader consumer base.
Regional variations in EREV market dynamics are notable, with adoption rates and policy support differing significantly across countries. China has emerged as a leader in EREV deployment, supported by strong government incentives and a rapidly expanding charging network. In Europe, countries like Norway and the Netherlands have seen high EREV uptake due to favorable tax structures and environmental policies. The United States market has shown steady growth, particularly in states with robust zero-emission vehicle mandates.
Consumer preferences and behavior patterns play a crucial role in shaping EREV market dynamics. Factors such as range anxiety, charging convenience, and total cost of ownership significantly influence purchasing decisions. As awareness of EREVs increases and charging infrastructure expands, consumer acceptance is expected to grow, further driving market expansion.
Global EREV Policy Landscape
The global Extended Range Electric Vehicle (EREV) policy landscape is characterized by a diverse array of regulatory frameworks, incentives, and strategic initiatives aimed at promoting the adoption and development of EREV technologies. These policies vary significantly across different regions and countries, reflecting local priorities, market conditions, and environmental goals.
In the United States, EREV policies are primarily driven by federal and state-level initiatives. The federal government offers tax credits for EREV purchases, while states like California have implemented zero-emission vehicle (ZEV) mandates, requiring automakers to sell a certain percentage of electric vehicles, including EREVs. Additionally, the U.S. Department of Energy provides research and development funding for advanced battery technologies and charging infrastructure.
The European Union has taken a more comprehensive approach to EREV promotion. The EU's CO2 emission standards for new cars and vans indirectly support EREV adoption by pushing automakers to produce more efficient vehicles. Many European countries offer purchase incentives, tax exemptions, and preferential access to urban areas for EREVs. Notable examples include Norway's extensive EV incentives and Germany's ambitious electromobility targets.
China, as the world's largest automotive market, has implemented a multi-faceted policy framework to support EREV development. The country's New Energy Vehicle (NEV) credit system mandates automakers to produce a certain quota of electric vehicles, including EREVs. Substantial subsidies for EREV purchases, coupled with restrictions on conventional vehicle registrations in major cities, have significantly boosted EREV adoption.
Japan and South Korea have focused on fostering domestic EREV industries through targeted research and development support, as well as consumer incentives. Both countries have set ambitious targets for EV market share and are investing heavily in battery technology and charging infrastructure.
Emerging economies, such as India and Brazil, are in the early stages of EREV policy development. These countries are primarily focusing on establishing basic regulatory frameworks and exploring incentive structures to encourage EREV adoption while balancing economic development priorities.
Global coordination efforts, such as the Electric Vehicles Initiative (EVI) under the Clean Energy Ministerial, aim to facilitate knowledge sharing and policy alignment among participating countries. These initiatives play a crucial role in harmonizing EREV standards and promoting best practices in policy implementation.
The evolving nature of EREV technologies and market dynamics necessitates continuous policy adaptation. Many countries are now shifting from direct purchase subsidies to more sustainable long-term strategies, such as emissions-based taxation systems and investments in charging infrastructure. This transition reflects a maturing EREV market and the need for policies that support both technology development and mass-market adoption.
In the United States, EREV policies are primarily driven by federal and state-level initiatives. The federal government offers tax credits for EREV purchases, while states like California have implemented zero-emission vehicle (ZEV) mandates, requiring automakers to sell a certain percentage of electric vehicles, including EREVs. Additionally, the U.S. Department of Energy provides research and development funding for advanced battery technologies and charging infrastructure.
The European Union has taken a more comprehensive approach to EREV promotion. The EU's CO2 emission standards for new cars and vans indirectly support EREV adoption by pushing automakers to produce more efficient vehicles. Many European countries offer purchase incentives, tax exemptions, and preferential access to urban areas for EREVs. Notable examples include Norway's extensive EV incentives and Germany's ambitious electromobility targets.
China, as the world's largest automotive market, has implemented a multi-faceted policy framework to support EREV development. The country's New Energy Vehicle (NEV) credit system mandates automakers to produce a certain quota of electric vehicles, including EREVs. Substantial subsidies for EREV purchases, coupled with restrictions on conventional vehicle registrations in major cities, have significantly boosted EREV adoption.
Japan and South Korea have focused on fostering domestic EREV industries through targeted research and development support, as well as consumer incentives. Both countries have set ambitious targets for EV market share and are investing heavily in battery technology and charging infrastructure.
Emerging economies, such as India and Brazil, are in the early stages of EREV policy development. These countries are primarily focusing on establishing basic regulatory frameworks and exploring incentive structures to encourage EREV adoption while balancing economic development priorities.
Global coordination efforts, such as the Electric Vehicles Initiative (EVI) under the Clean Energy Ministerial, aim to facilitate knowledge sharing and policy alignment among participating countries. These initiatives play a crucial role in harmonizing EREV standards and promoting best practices in policy implementation.
The evolving nature of EREV technologies and market dynamics necessitates continuous policy adaptation. Many countries are now shifting from direct purchase subsidies to more sustainable long-term strategies, such as emissions-based taxation systems and investments in charging infrastructure. This transition reflects a maturing EREV market and the need for policies that support both technology development and mass-market adoption.
Current EREV Incentives
01 Network security and access control for EREV systems
This category focuses on implementing security measures and access control mechanisms for Extended Range Electric Vehicle (EREV) policy frameworks. It includes methods for authentication, authorization, and secure communication between various components of the EREV ecosystem, ensuring data protection and system integrity.- Network security and access control for EREV systems: This category focuses on implementing security measures and access control mechanisms for Extended Range Electric Vehicle (EREV) policy frameworks. It includes methods for authentication, authorization, and secure communication within EREV networks to protect against unauthorized access and potential cyber threats.
- Data management and analytics for EREV policies: This point addresses the collection, storage, and analysis of data related to EREV policy frameworks. It involves techniques for efficient data handling, processing, and visualization to support decision-making and policy optimization in the context of extended range electric vehicles.
- Cloud-based infrastructure for EREV policy management: This category covers the development and implementation of cloud-based solutions for managing EREV policy frameworks. It includes methods for scalable and distributed computing, resource allocation, and service delivery to support the complex requirements of EREV systems.
- Integration of EREV policies with smart grid systems: This point focuses on the integration of EREV policy frameworks with smart grid technologies. It includes methods for optimizing energy distribution, load balancing, and grid stability while accommodating the unique requirements of extended range electric vehicles.
- User interface and experience design for EREV policy applications: This category addresses the development of user-friendly interfaces and experiences for EREV policy-related applications. It includes methods for creating intuitive dashboards, mobile apps, and other user interfaces to facilitate interaction with EREV systems and policies.
02 Data management and analytics for EREV policies
This point addresses the collection, storage, and analysis of data related to EREV policies. It involves techniques for efficient data handling, processing large volumes of information, and extracting meaningful insights to support policy decisions and optimize EREV operations.Expand Specific Solutions03 Integration of EREV policies with existing infrastructure
This category covers methods and systems for integrating EREV policy frameworks with existing transportation and energy infrastructure. It includes approaches for seamless communication between EREVs, charging stations, and power grids, as well as strategies for adapting current systems to accommodate EREV requirements.Expand Specific Solutions04 Dynamic policy adjustment and optimization for EREVs
This point focuses on developing adaptive and flexible policy frameworks for EREVs. It includes methods for real-time policy adjustments based on factors such as energy demand, traffic conditions, and environmental considerations, aiming to optimize the performance and efficiency of EREV systems.Expand Specific Solutions05 User interface and experience for EREV policy implementation
This category addresses the design and development of user-friendly interfaces for interacting with EREV policy frameworks. It includes methods for presenting policy information, facilitating user input, and providing feedback to EREV users, operators, and policymakers to ensure effective implementation and adoption of EREV policies.Expand Specific Solutions
Key EREV Policymakers
The global EREV policy framework landscape is characterized by a competitive and rapidly evolving market. The industry is in a growth phase, with increasing market size driven by environmental concerns and government incentives. Technological maturity varies among key players, with companies like Zhejiang Geely Holding Group, Dongfeng Motor Group, and CHERY NEW ENERGY leading in EREV development. Academic institutions such as Shanghai Jiao Tong University and Tsinghua University contribute significantly to research and innovation. State-owned enterprises like State Grid Shanghai Municipal Electric Power Co. play crucial roles in infrastructure development. The market is seeing increased collaboration between automotive manufacturers, technology companies, and research institutions to advance EREV technologies and policy frameworks.
Zhejiang Geely Holding Group Co., Ltd.
Technical Solution: Geely has been at the forefront of EREV (Extended Range Electric Vehicle) technology development in China. Their approach involves a series hybrid system where a small gasoline engine acts as a generator to charge the battery, extending the vehicle's range. Geely's EREV system typically achieves an electric-only range of 50-100 km, with a total range of over 700 km when utilizing the range extender[1]. The company has implemented this technology in various models, including the Lynk & Co 01 EREV, which has gained significant market traction. Geely's EREV strategy aligns with China's dual-credit policy, which incentivizes manufacturers to produce new energy vehicles while allowing for a gradual transition from traditional ICE vehicles[2].
Strengths: Balances electric efficiency with range anxiety reduction, aligns with Chinese policy incentives. Weaknesses: Complexity of dual powertrains may increase maintenance costs, still relies partially on fossil fuels.
Dongfeng Motor Group Co., Ltd.
Technical Solution: Dongfeng has developed its EREV technology focusing on a parallel hybrid system, which allows both the electric motor and the internal combustion engine to drive the wheels directly. Their approach aims to optimize fuel efficiency and reduce emissions while providing extended range capabilities. Dongfeng's EREV models typically offer an electric-only range of 60-80 km and a total range of over 600 km[3]. The company has integrated this technology into several models, including the Dongfeng Fengshen E70. Dongfeng's EREV strategy is part of its broader "Green 2022 Plan," which aims to reduce fleet emissions and align with China's increasingly stringent environmental regulations[4].
Strengths: Flexible powertrain configuration, potential for better highway performance. Weaknesses: More complex control systems required, potentially higher production costs compared to series hybrids.
EREV Policy Innovations
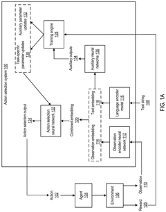
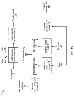
Action selection based on environment observations and textual instructions
PatentActiveUS20240320438A1
Innovation
- A system that combines a language encoder model, an observation encoder neural network, and an action selection neural network to generate combined embeddings for action selection, using reinforcement learning and auxiliary updates to optimize task-specific and auxiliary objectives, allowing the system to learn relationships between text and environmental observations.
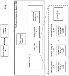
Multi-agent reinforcement learning with matchmaking policies
PatentPendingUS20240370725A1
Innovation
- The method involves maintaining a pool of candidate action selection policies with different matchmaking policies, reinforcement learning loss functions, and hyperparameters to encourage diversity and collective learning among learner policies, allowing them to explore and improve together through cooperative or competitive interactions.
EREV Environmental Impact
The environmental impact of Extended Range Electric Vehicles (EREVs) is a critical consideration in the global policy frameworks surrounding these vehicles. EREVs, which combine electric and conventional fuel technologies, offer a unique position in the transition towards cleaner transportation.
One of the primary environmental benefits of EREVs is their potential to significantly reduce greenhouse gas emissions compared to conventional internal combustion engine vehicles. When operating in electric mode, EREVs produce zero tailpipe emissions, contributing to improved air quality in urban areas. However, the overall environmental impact depends on the source of electricity used for charging. In regions with a high proportion of renewable energy in the power grid, EREVs can achieve substantial reductions in carbon footprint.
The production and disposal of EREV batteries present environmental challenges. The mining and processing of raw materials for batteries, such as lithium and cobalt, can have significant ecological impacts. Additionally, the energy-intensive manufacturing process of batteries contributes to the overall carbon footprint of EREVs. However, advancements in battery technology and recycling processes are gradually mitigating these concerns.
EREVs also offer advantages in terms of resource efficiency. By utilizing both electric and conventional fuel systems, they can optimize energy use based on driving conditions. This flexibility can lead to more efficient use of resources compared to pure electric vehicles in certain scenarios, particularly for long-distance travel where charging infrastructure may be limited.
The noise pollution reduction associated with EREVs is another environmental benefit. When operating in electric mode, these vehicles produce significantly less noise compared to conventional vehicles, contributing to a reduction in urban noise pollution.
As EREV technology continues to evolve, improvements in battery efficiency, charging infrastructure, and vehicle design are expected to further enhance their environmental performance. Policy frameworks worldwide are increasingly recognizing the potential of EREVs as a transitional technology in the shift towards more sustainable transportation systems.
In conclusion, while EREVs present some environmental challenges, particularly in battery production and disposal, their overall impact on reducing emissions and improving air quality positions them as a valuable component in the global effort to combat climate change and promote sustainable mobility.
One of the primary environmental benefits of EREVs is their potential to significantly reduce greenhouse gas emissions compared to conventional internal combustion engine vehicles. When operating in electric mode, EREVs produce zero tailpipe emissions, contributing to improved air quality in urban areas. However, the overall environmental impact depends on the source of electricity used for charging. In regions with a high proportion of renewable energy in the power grid, EREVs can achieve substantial reductions in carbon footprint.
The production and disposal of EREV batteries present environmental challenges. The mining and processing of raw materials for batteries, such as lithium and cobalt, can have significant ecological impacts. Additionally, the energy-intensive manufacturing process of batteries contributes to the overall carbon footprint of EREVs. However, advancements in battery technology and recycling processes are gradually mitigating these concerns.
EREVs also offer advantages in terms of resource efficiency. By utilizing both electric and conventional fuel systems, they can optimize energy use based on driving conditions. This flexibility can lead to more efficient use of resources compared to pure electric vehicles in certain scenarios, particularly for long-distance travel where charging infrastructure may be limited.
The noise pollution reduction associated with EREVs is another environmental benefit. When operating in electric mode, these vehicles produce significantly less noise compared to conventional vehicles, contributing to a reduction in urban noise pollution.
As EREV technology continues to evolve, improvements in battery efficiency, charging infrastructure, and vehicle design are expected to further enhance their environmental performance. Policy frameworks worldwide are increasingly recognizing the potential of EREVs as a transitional technology in the shift towards more sustainable transportation systems.
In conclusion, while EREVs present some environmental challenges, particularly in battery production and disposal, their overall impact on reducing emissions and improving air quality positions them as a valuable component in the global effort to combat climate change and promote sustainable mobility.
EREV Infrastructure Needs
The development of Extended Range Electric Vehicles (EREVs) necessitates a robust infrastructure to support their widespread adoption. This infrastructure primarily consists of charging stations, battery swapping facilities, and grid integration systems.
Charging infrastructure for EREVs requires a comprehensive network of charging stations, including both slow and fast charging options. Slow charging stations, typically installed in residential areas and workplaces, provide overnight charging capabilities. Fast charging stations, strategically located along highways and in urban centers, enable rapid charging during long-distance travel. The deployment of these charging stations must consider factors such as population density, traffic patterns, and existing electrical grid capacity.
Battery swapping facilities represent another crucial component of EREV infrastructure. These stations allow drivers to quickly exchange depleted batteries for fully charged ones, significantly reducing downtime compared to traditional charging methods. The implementation of standardized battery designs and automated swapping systems is essential for the efficient operation of these facilities.
Grid integration systems play a vital role in managing the increased electricity demand from EREVs. Smart grid technologies, including advanced metering infrastructure and demand response systems, help balance the load on the electrical grid and optimize charging patterns. Vehicle-to-grid (V2G) technology enables EREVs to act as distributed energy storage units, potentially providing grid stability services during peak demand periods.
The development of EREV infrastructure also requires significant investment in upgrading existing electrical grids. This includes reinforcing power distribution networks, installing high-capacity transformers, and implementing advanced grid management systems to handle the increased load from EREVs.
Furthermore, the establishment of standardized communication protocols between EREVs, charging stations, and grid operators is crucial for seamless integration and efficient energy management. These protocols enable real-time data exchange, facilitating features such as dynamic pricing, remote charging management, and predictive maintenance.
Lastly, the infrastructure needs for EREVs extend beyond physical components to include software platforms and user interfaces. These digital systems provide drivers with real-time information on charging station availability, route planning with charging stops, and energy consumption optimization. The development of user-friendly mobile applications and in-vehicle systems is essential for enhancing the overall EREV ownership experience and promoting widespread adoption.
Charging infrastructure for EREVs requires a comprehensive network of charging stations, including both slow and fast charging options. Slow charging stations, typically installed in residential areas and workplaces, provide overnight charging capabilities. Fast charging stations, strategically located along highways and in urban centers, enable rapid charging during long-distance travel. The deployment of these charging stations must consider factors such as population density, traffic patterns, and existing electrical grid capacity.
Battery swapping facilities represent another crucial component of EREV infrastructure. These stations allow drivers to quickly exchange depleted batteries for fully charged ones, significantly reducing downtime compared to traditional charging methods. The implementation of standardized battery designs and automated swapping systems is essential for the efficient operation of these facilities.
Grid integration systems play a vital role in managing the increased electricity demand from EREVs. Smart grid technologies, including advanced metering infrastructure and demand response systems, help balance the load on the electrical grid and optimize charging patterns. Vehicle-to-grid (V2G) technology enables EREVs to act as distributed energy storage units, potentially providing grid stability services during peak demand periods.
The development of EREV infrastructure also requires significant investment in upgrading existing electrical grids. This includes reinforcing power distribution networks, installing high-capacity transformers, and implementing advanced grid management systems to handle the increased load from EREVs.
Furthermore, the establishment of standardized communication protocols between EREVs, charging stations, and grid operators is crucial for seamless integration and efficient energy management. These protocols enable real-time data exchange, facilitating features such as dynamic pricing, remote charging management, and predictive maintenance.
Lastly, the infrastructure needs for EREVs extend beyond physical components to include software platforms and user interfaces. These digital systems provide drivers with real-time information on charging station availability, route planning with charging stops, and energy consumption optimization. The development of user-friendly mobile applications and in-vehicle systems is essential for enhancing the overall EREV ownership experience and promoting widespread adoption.
Unlock deeper insights with Patsnap Eureka Quick Research — get a full tech report to explore trends and direct your research. Try now!
Generate Your Research Report Instantly with AI Agent
Supercharge your innovation with Patsnap Eureka AI Agent Platform!






