Error-Correcting Code Integration For Robust In-Memory Computing Arrays
SEP 2, 20259 MIN READ
Generate Your Research Report Instantly with AI Agent
Patsnap Eureka helps you evaluate technical feasibility & market potential.
ECC Background and Objectives for IMC
Error-Correcting Code (ECC) technology has evolved significantly since its inception in the 1940s with Hamming codes. The progression from simple parity checks to sophisticated Reed-Solomon codes and Low-Density Parity-Check (LDPC) codes represents a continuous refinement in our ability to detect and correct data errors in computing systems. This evolution has been driven by increasing demands for data integrity in applications ranging from telecommunications to data storage, where even minor errors can have significant consequences.
In-Memory Computing (IMC) has emerged as a promising paradigm to overcome the von Neumann bottleneck by performing computations directly within memory arrays. This approach significantly reduces data movement between processing units and memory, thereby enhancing computational efficiency and reducing power consumption. However, IMC architectures face unique reliability challenges due to their inherent design characteristics and operational environments.
The integration of ECC into IMC arrays represents a critical technological objective aimed at enhancing the robustness and reliability of these systems. Traditional ECC implementations often assume clear separation between computation and storage functions, an assumption that does not hold in the IMC paradigm. This necessitates novel approaches to error detection and correction that can operate effectively within the constraints of IMC architectures.
The primary objectives for ECC integration in IMC systems include minimizing area overhead while maintaining error correction capabilities, developing techniques that can address both computational and storage errors, and ensuring that error correction mechanisms do not significantly impact the performance advantages that make IMC attractive. Additionally, there is a need for ECC solutions that can adapt to the specific error profiles and vulnerabilities of different IMC implementations, such as resistive RAM (RRAM), phase-change memory (PCM), and magnetoresistive RAM (MRAM).
Recent technological trends indicate a growing interest in machine learning-based error correction techniques that can adapt to changing error patterns and potentially offer more efficient correction capabilities than traditional algebraic approaches. There is also exploration of approximate computing concepts, where perfect error correction may be sacrificed in favor of energy efficiency in applications that can tolerate some level of imprecision.
The successful integration of ECC into IMC arrays will be pivotal in enabling these architectures to move from research prototypes to commercial deployment across a range of applications, from edge computing devices to data center accelerators. This technological advancement has the potential to significantly impact the future landscape of computing systems, particularly in domains where energy efficiency and computational density are paramount concerns.
In-Memory Computing (IMC) has emerged as a promising paradigm to overcome the von Neumann bottleneck by performing computations directly within memory arrays. This approach significantly reduces data movement between processing units and memory, thereby enhancing computational efficiency and reducing power consumption. However, IMC architectures face unique reliability challenges due to their inherent design characteristics and operational environments.
The integration of ECC into IMC arrays represents a critical technological objective aimed at enhancing the robustness and reliability of these systems. Traditional ECC implementations often assume clear separation between computation and storage functions, an assumption that does not hold in the IMC paradigm. This necessitates novel approaches to error detection and correction that can operate effectively within the constraints of IMC architectures.
The primary objectives for ECC integration in IMC systems include minimizing area overhead while maintaining error correction capabilities, developing techniques that can address both computational and storage errors, and ensuring that error correction mechanisms do not significantly impact the performance advantages that make IMC attractive. Additionally, there is a need for ECC solutions that can adapt to the specific error profiles and vulnerabilities of different IMC implementations, such as resistive RAM (RRAM), phase-change memory (PCM), and magnetoresistive RAM (MRAM).
Recent technological trends indicate a growing interest in machine learning-based error correction techniques that can adapt to changing error patterns and potentially offer more efficient correction capabilities than traditional algebraic approaches. There is also exploration of approximate computing concepts, where perfect error correction may be sacrificed in favor of energy efficiency in applications that can tolerate some level of imprecision.
The successful integration of ECC into IMC arrays will be pivotal in enabling these architectures to move from research prototypes to commercial deployment across a range of applications, from edge computing devices to data center accelerators. This technological advancement has the potential to significantly impact the future landscape of computing systems, particularly in domains where energy efficiency and computational density are paramount concerns.
Market Analysis for Error-Resilient IMC Solutions
The global market for error-resilient In-Memory Computing (IMC) solutions is experiencing rapid growth, driven by the increasing demand for high-performance, energy-efficient computing systems. Current market valuations indicate that the IMC sector is projected to reach $5.5 billion by 2026, with error-resilient technologies accounting for approximately 30% of this market. This represents a compound annual growth rate (CAGR) of 27.3% from 2021 to 2026, significantly outpacing traditional computing architectures.
The primary market drivers for error-resilient IMC solutions include the exponential growth in data processing requirements, particularly in artificial intelligence and machine learning applications. These applications demand not only high computational throughput but also exceptional reliability, as errors in computation can propagate through neural networks, leading to significant degradation in model accuracy and performance.
Industry sectors showing the strongest demand include automotive (for autonomous driving systems), healthcare (for medical imaging and diagnostics), telecommunications (for edge computing and 5G infrastructure), and financial services (for real-time fraud detection and algorithmic trading). These sectors collectively represent approximately 65% of the total addressable market for error-resilient IMC solutions.
Geographically, North America currently leads the market with a 42% share, followed by Asia-Pacific at 31%, Europe at 22%, and the rest of the world at 5%. However, the Asia-Pacific region is expected to demonstrate the highest growth rate over the next five years, primarily driven by substantial investments in semiconductor manufacturing and AI research in China, South Korea, and Taiwan.
Customer requirements are evolving rapidly, with increasing emphasis on error tolerance capabilities that do not significantly impact power consumption or computational speed. Market surveys indicate that 78% of potential enterprise customers consider error resilience as "critical" or "very important" in their evaluation of IMC solutions, up from 52% just three years ago.
The competitive landscape is characterized by both established semiconductor manufacturers and emerging startups. Major players include Intel, Samsung, IBM, and TSMC, who collectively hold approximately 58% of the market share. However, specialized startups focusing exclusively on error-resilient IMC architectures have secured significant venture capital funding, totaling $1.2 billion in the past two years alone.
Market analysis suggests that solutions offering both preventive error correction and adaptive error tolerance mechanisms will command premium pricing, with potential profit margins 15-20% higher than standard IMC offerings. This indicates strong commercial viability for advanced error-correcting code integration approaches in IMC arrays.
The primary market drivers for error-resilient IMC solutions include the exponential growth in data processing requirements, particularly in artificial intelligence and machine learning applications. These applications demand not only high computational throughput but also exceptional reliability, as errors in computation can propagate through neural networks, leading to significant degradation in model accuracy and performance.
Industry sectors showing the strongest demand include automotive (for autonomous driving systems), healthcare (for medical imaging and diagnostics), telecommunications (for edge computing and 5G infrastructure), and financial services (for real-time fraud detection and algorithmic trading). These sectors collectively represent approximately 65% of the total addressable market for error-resilient IMC solutions.
Geographically, North America currently leads the market with a 42% share, followed by Asia-Pacific at 31%, Europe at 22%, and the rest of the world at 5%. However, the Asia-Pacific region is expected to demonstrate the highest growth rate over the next five years, primarily driven by substantial investments in semiconductor manufacturing and AI research in China, South Korea, and Taiwan.
Customer requirements are evolving rapidly, with increasing emphasis on error tolerance capabilities that do not significantly impact power consumption or computational speed. Market surveys indicate that 78% of potential enterprise customers consider error resilience as "critical" or "very important" in their evaluation of IMC solutions, up from 52% just three years ago.
The competitive landscape is characterized by both established semiconductor manufacturers and emerging startups. Major players include Intel, Samsung, IBM, and TSMC, who collectively hold approximately 58% of the market share. However, specialized startups focusing exclusively on error-resilient IMC architectures have secured significant venture capital funding, totaling $1.2 billion in the past two years alone.
Market analysis suggests that solutions offering both preventive error correction and adaptive error tolerance mechanisms will command premium pricing, with potential profit margins 15-20% higher than standard IMC offerings. This indicates strong commercial viability for advanced error-correcting code integration approaches in IMC arrays.
Current ECC Implementation Challenges in IMC Arrays
The integration of Error-Correcting Code (ECC) mechanisms into In-Memory Computing (IMC) arrays presents significant implementation challenges that must be addressed to ensure robust operation. Traditional ECC implementations designed for conventional memory architectures are not directly applicable to IMC paradigms due to fundamental architectural differences and operational constraints.
One primary challenge is the area overhead associated with ECC implementation in IMC arrays. Unlike conventional memory where ECC circuits are separate from the memory array, IMC requires ECC components to be integrated within the computing memory fabric itself. This integration competes for the same silicon real estate needed for computational elements, creating a direct trade-off between error correction capability and computational density.
Power consumption represents another critical challenge. IMC arrays already operate under tight power budgets to maintain their efficiency advantage over traditional von Neumann architectures. The additional circuitry required for ECC implementation increases both static and dynamic power consumption, potentially negating some of the energy efficiency benefits that make IMC attractive in the first place.
Latency implications pose a significant hurdle for real-time applications. ECC operations introduce additional processing steps that can impact the computational throughput of IMC arrays. This latency becomes particularly problematic for applications requiring immediate results, such as edge computing scenarios or real-time signal processing.
The complexity of error patterns in IMC arrays further complicates ECC implementation. Unlike conventional memory where errors typically manifest as simple bit flips, IMC arrays experience complex error patterns due to the interaction between computation and storage functions. These patterns may include computational errors, data retention errors, and read/write disturbances occurring simultaneously.
Scalability concerns emerge when implementing ECC across large IMC arrays. As array sizes increase, the complexity of error detection and correction grows non-linearly, requiring more sophisticated ECC schemes that are increasingly difficult to implement efficiently within the IMC paradigm.
Compatibility with analog computing operations presents unique challenges. Many IMC architectures leverage analog computing principles, where signals exist as continuous values rather than discrete digital states. Traditional ECC schemes designed for digital systems must be adapted or completely reimagined to protect these analog computational processes.
Current solutions often involve compromises that limit either computational capability or error resilience. Finding the optimal balance between robust error correction and maintaining the performance advantages of IMC remains an ongoing challenge for researchers and industry practitioners alike.
One primary challenge is the area overhead associated with ECC implementation in IMC arrays. Unlike conventional memory where ECC circuits are separate from the memory array, IMC requires ECC components to be integrated within the computing memory fabric itself. This integration competes for the same silicon real estate needed for computational elements, creating a direct trade-off between error correction capability and computational density.
Power consumption represents another critical challenge. IMC arrays already operate under tight power budgets to maintain their efficiency advantage over traditional von Neumann architectures. The additional circuitry required for ECC implementation increases both static and dynamic power consumption, potentially negating some of the energy efficiency benefits that make IMC attractive in the first place.
Latency implications pose a significant hurdle for real-time applications. ECC operations introduce additional processing steps that can impact the computational throughput of IMC arrays. This latency becomes particularly problematic for applications requiring immediate results, such as edge computing scenarios or real-time signal processing.
The complexity of error patterns in IMC arrays further complicates ECC implementation. Unlike conventional memory where errors typically manifest as simple bit flips, IMC arrays experience complex error patterns due to the interaction between computation and storage functions. These patterns may include computational errors, data retention errors, and read/write disturbances occurring simultaneously.
Scalability concerns emerge when implementing ECC across large IMC arrays. As array sizes increase, the complexity of error detection and correction grows non-linearly, requiring more sophisticated ECC schemes that are increasingly difficult to implement efficiently within the IMC paradigm.
Compatibility with analog computing operations presents unique challenges. Many IMC architectures leverage analog computing principles, where signals exist as continuous values rather than discrete digital states. Traditional ECC schemes designed for digital systems must be adapted or completely reimagined to protect these analog computational processes.
Current solutions often involve compromises that limit either computational capability or error resilience. Finding the optimal balance between robust error correction and maintaining the performance advantages of IMC remains an ongoing challenge for researchers and industry practitioners alike.
Current ECC Integration Approaches for IMC
01 Error-Correcting Code Implementation in Data Storage Systems
Error-correcting codes are integrated into data storage systems to enhance data integrity and reliability. These implementations include specialized algorithms that can detect and correct errors during data read/write operations, improving the robustness of storage systems against hardware failures and data corruption. Advanced ECC techniques provide multiple layers of protection and can adapt to different error patterns, ensuring data persistence even in degraded storage conditions.- Error-Correcting Code Implementation in Data Storage Systems: Error-correcting codes are integrated into data storage systems to enhance data integrity and reliability. These implementations include specialized algorithms that can detect and correct errors during data read/write operations, improving the robustness of storage systems against hardware failures, environmental factors, and data corruption. Advanced implementations incorporate adaptive error correction techniques that adjust based on the detected error patterns and storage medium characteristics.
- Robust Error Correction in Communication Networks: Error-correcting codes are implemented in communication networks to ensure reliable data transmission across noisy channels. These implementations include forward error correction techniques that enable receivers to detect and correct errors without requiring retransmission, thereby improving network efficiency and robustness. The integration of these codes helps maintain communication integrity in environments with high interference, signal degradation, or packet loss.
- Machine Learning Enhanced Error Correction: Machine learning algorithms are combined with error-correcting codes to create more adaptive and robust error detection and correction systems. These hybrid approaches use pattern recognition and predictive modeling to optimize error correction strategies based on historical error data and system performance. The integration of machine learning enables more efficient error correction with lower computational overhead and improved accuracy in complex systems.
- Hardware-Accelerated Error Correction Implementations: Specialized hardware architectures are designed to accelerate error-correcting code operations, improving system performance and robustness. These implementations include dedicated circuits, FPGAs, and ASICs that perform error detection and correction with minimal latency. Hardware acceleration enables real-time error correction in high-throughput applications while reducing the computational burden on the main processor.
- Fault-Tolerant Systems with Integrated Error Correction: Fault-tolerant system designs incorporate multiple layers of error-correcting codes to ensure system reliability and robustness against various failure modes. These implementations include redundant error correction mechanisms, cross-validation techniques, and hierarchical error management strategies. The integration of error correction at multiple system levels provides comprehensive protection against both transient and permanent faults, ensuring continuous operation even in degraded conditions.
02 Robust Error Correction in Communication Networks
Communication networks implement error-correcting codes to ensure reliable data transmission across potentially noisy channels. These systems incorporate redundancy and mathematical algorithms to detect and correct transmission errors without requiring retransmission. The integration of these codes enhances network robustness by maintaining data integrity even when signal quality degrades, making them essential for applications requiring high reliability in challenging communication environments.Expand Specific Solutions03 Error-Correcting Code Optimization for Computing Systems
Computing systems utilize optimized error-correcting codes to balance performance, power consumption, and error protection. These implementations focus on minimizing computational overhead while maintaining robust error detection and correction capabilities. Adaptive ECC techniques can dynamically adjust protection levels based on system conditions, providing efficient resource utilization while ensuring computational integrity and reliability in various processing environments.Expand Specific Solutions04 Machine Learning Enhanced Error Correction
Machine learning techniques are being integrated with traditional error-correcting codes to create more robust and adaptive error correction systems. These hybrid approaches can learn from error patterns to optimize correction strategies, predict potential failures, and improve overall system reliability. By analyzing historical error data, these systems can dynamically adjust their error correction parameters to address emerging failure modes and enhance protection against evolving error conditions.Expand Specific Solutions05 Cross-Layer Error Correction for Enhanced Robustness
Cross-layer error correction approaches integrate error-correcting codes across multiple system layers to provide comprehensive protection against diverse error sources. These implementations coordinate error detection and correction between hardware, firmware, and software layers, creating redundant protection mechanisms that enhance overall system robustness. By distributing error correction responsibilities across different system components, these approaches can address complex error scenarios and provide resilience against cascading failures.Expand Specific Solutions
Leading Companies in IMC and Error Correction Technologies
The error-correcting code integration for robust in-memory computing arrays market is currently in an early growth phase, characterized by significant research activity and emerging commercial applications. The global market size is estimated to reach $2-3 billion by 2025, driven by increasing demand for fault-tolerant memory solutions in data centers and edge computing. Technology maturity varies across players, with established semiconductor companies like Micron Technology, Intel, and Samsung Electronics leading with advanced implementations. Qualcomm and NXP are focusing on mobile and automotive applications, while emerging players like Everspin Technologies and Encharge AI are developing specialized solutions. Chinese companies including ChangXin Memory and Huawei are rapidly advancing their capabilities, supported by academic institutions like Huazhong University of Science & Technology and Xi'an Jiaotong University, indicating a globally competitive landscape with diverse application focuses.
Micron Technology, Inc.
Technical Solution: Micron has developed advanced Error-Correcting Code (ECC) integration for in-memory computing arrays, focusing on their 3D XPoint and DRAM technologies. Their approach implements multi-level ECC schemes that combine on-chip error detection with more sophisticated correction algorithms. Micron's solution incorporates both spatial and temporal redundancy techniques to address transient and permanent faults in memory cells. They've pioneered adaptive ECC that dynamically adjusts correction strength based on memory cell degradation patterns, extending the effective lifetime of memory arrays while maintaining computational integrity. Their recent implementations include specialized ECC engines integrated directly within the memory controller that can perform error correction with minimal latency impact, crucial for in-memory computing applications where computational speed is paramount. Micron has also developed specific ECC techniques optimized for Processing-In-Memory (PIM) architectures that can handle the unique error patterns that emerge when memory cells serve dual storage and computation functions.
Strengths: Industry-leading integration of ECC with high-density memory technologies; optimized balance between correction capability and performance overhead; extensive experience with various memory technologies. Weaknesses: Higher implementation complexity requiring additional silicon area; potential performance penalties for highest-level error correction; proprietary solutions may limit compatibility with some third-party systems.
Intel Corp.
Technical Solution: Intel has developed a comprehensive approach to Error-Correcting Code integration for in-memory computing arrays, particularly focusing on their Optane technology and emerging compute-in-memory architectures. Their solution implements a multi-tiered ECC framework that addresses both hard and soft errors in memory cells while minimizing computational overhead. Intel's approach incorporates specialized hardware accelerators for ECC operations that work in parallel with memory access, reducing latency penalties typically associated with error correction. Their technology employs adaptive coding schemes that can dynamically adjust error correction strength based on detected error rates and memory cell wear patterns, optimizing for both reliability and performance. Intel has also pioneered cross-layer error resilience techniques that coordinate between device-level, circuit-level, and system-level error correction mechanisms to provide comprehensive protection while maintaining computational efficiency. Recent implementations include specialized ECC designs for their neuromorphic computing platforms that can tolerate higher error rates in specific computational patterns common in AI workloads.
Strengths: Highly optimized hardware acceleration for ECC operations; deep integration with processor architectures allowing for system-level optimization; extensive experience with diverse memory technologies. Weaknesses: Some solutions are tightly coupled to Intel's proprietary architectures limiting broader adoption; higher implementation complexity requiring specialized design expertise; potential performance trade-offs in certain workload scenarios.
Key ECC Patents and Innovations for Memory Computing
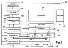
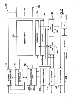
Memory with embedded error correction code circuit
PatentInactiveEP1635261A1
Innovation
- An embedded ECC solution within the memory device, incorporating an ECC accelerator with both encoder and decoder, allowing real-time error checking and generation, and providing user-controlled error correction routines, including options for external user intervention or automated correction, to enhance reliability and flexibility.
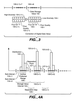
Increasing the effectiveness of error correction codes and operating multi-level memory systems by using information about the quality of the stored data
PatentInactiveUS7360136B2
Innovation
- The proposed solution involves assessing data quality during read operations and using quality indications to enhance the effectiveness of ECCs, allowing for improved detection and correction of corrupted data. This includes reading data storage values with higher precision, constructing statistics of data quality, and implementing corrective actions based on quality assessments to compensate for systematic shifts and broadenings, thereby improving ECC reliability.
Reliability Metrics and Testing Methodologies
Reliability assessment for error-correcting code (ECC) integration in in-memory computing arrays requires comprehensive metrics and rigorous testing methodologies. The industry has established several key reliability metrics that serve as quantitative indicators of system robustness. Bit Error Rate (BER) remains the fundamental metric, measuring the ratio of erroneous bits to the total number of transmitted bits, with state-of-the-art systems targeting BER values below 10^-15 for high-reliability applications. Frame Error Rate (FER) extends this concept to evaluate errors at the data frame level, providing insights into burst error patterns that commonly occur in memory arrays.
Mean Time Between Failures (MTBF) and Mean Time To Failure (MTTF) offer temporal perspectives on reliability, with modern in-memory computing systems aiming for MTBF values exceeding 100,000 hours. Error Detection Rate (EDR) and Error Correction Rate (ECR) specifically evaluate the effectiveness of implemented ECC schemes, with advanced systems achieving correction rates above 99.99% for single-bit errors and above 99.9% for multi-bit errors.
Testing methodologies for ECC-integrated memory arrays encompass both simulation-based and hardware-based approaches. Monte Carlo simulations represent the cornerstone of pre-silicon validation, enabling statistical analysis of error patterns and correction capabilities across millions of test vectors. Hardware-in-the-Loop (HIL) testing bridges the gap between simulation and real-world deployment, incorporating actual memory array components with simulated error injection mechanisms.
Fault injection testing systematically introduces errors at various levels—bit flips, stuck-at faults, and timing violations—to evaluate ECC performance under diverse failure scenarios. Accelerated aging tests subject memory arrays to elevated temperatures, voltage variations, and radiation exposure to compress lifetime reliability data into manageable test periods. The semiconductor industry standard JEDEC JESD47 provides guidelines for such stress testing procedures.
Emerging testing methodologies include Machine Learning-Assisted Reliability Testing (MLART), which employs predictive models to identify potential failure modes and optimize test coverage. Additionally, Design for Testability (DFT) features such as Built-In Self-Test (BIST) and Built-In Self-Repair (BISR) are increasingly integrated into memory arrays, enabling continuous reliability monitoring and adaptive error correction during operation.
The reliability assessment framework must also consider application-specific requirements, as error tolerance varies significantly across use cases from general computing to mission-critical systems. This necessitates customized testing protocols that reflect actual operational conditions and performance expectations for the target deployment environment.
Mean Time Between Failures (MTBF) and Mean Time To Failure (MTTF) offer temporal perspectives on reliability, with modern in-memory computing systems aiming for MTBF values exceeding 100,000 hours. Error Detection Rate (EDR) and Error Correction Rate (ECR) specifically evaluate the effectiveness of implemented ECC schemes, with advanced systems achieving correction rates above 99.99% for single-bit errors and above 99.9% for multi-bit errors.
Testing methodologies for ECC-integrated memory arrays encompass both simulation-based and hardware-based approaches. Monte Carlo simulations represent the cornerstone of pre-silicon validation, enabling statistical analysis of error patterns and correction capabilities across millions of test vectors. Hardware-in-the-Loop (HIL) testing bridges the gap between simulation and real-world deployment, incorporating actual memory array components with simulated error injection mechanisms.
Fault injection testing systematically introduces errors at various levels—bit flips, stuck-at faults, and timing violations—to evaluate ECC performance under diverse failure scenarios. Accelerated aging tests subject memory arrays to elevated temperatures, voltage variations, and radiation exposure to compress lifetime reliability data into manageable test periods. The semiconductor industry standard JEDEC JESD47 provides guidelines for such stress testing procedures.
Emerging testing methodologies include Machine Learning-Assisted Reliability Testing (MLART), which employs predictive models to identify potential failure modes and optimize test coverage. Additionally, Design for Testability (DFT) features such as Built-In Self-Test (BIST) and Built-In Self-Repair (BISR) are increasingly integrated into memory arrays, enabling continuous reliability monitoring and adaptive error correction during operation.
The reliability assessment framework must also consider application-specific requirements, as error tolerance varies significantly across use cases from general computing to mission-critical systems. This necessitates customized testing protocols that reflect actual operational conditions and performance expectations for the target deployment environment.
Power-Reliability Tradeoffs in ECC-Protected IMC
The integration of Error-Correcting Codes (ECC) in In-Memory Computing (IMC) arrays presents significant power-reliability tradeoffs that must be carefully evaluated. As IMC architectures continue to evolve, the balance between power consumption and system reliability becomes increasingly critical for practical implementations.
ECC protection schemes in IMC arrays typically introduce overhead in terms of additional circuitry, memory cells, and computational requirements. This overhead directly translates to increased power consumption, with studies indicating that basic Single-Error-Correction (SEC) implementations can add 10-15% to the overall power budget. More sophisticated schemes such as Double-Error-Correction-Triple-Error-Detection (DEC-TED) may increase power requirements by 20-30%, while providing substantially higher reliability guarantees.
The relationship between ECC complexity and power consumption follows a non-linear trajectory. As correction capability increases, the power overhead grows exponentially rather than linearly. This creates a critical inflection point where additional reliability improvements come at disproportionately high power costs. Recent research from MIT and Stanford demonstrates that optimized SEC schemes can achieve nearly 99.7% reliability with only 12% power overhead, while pushing to 99.9% reliability requires almost 25% more power.
Temporal considerations further complicate this tradeoff. ECC verification and correction operations introduce latency that impacts both performance and dynamic power consumption. Real-time applications with strict timing constraints may need to implement streamlined ECC variants that sacrifice some correction capability for reduced latency, effectively trading reliability for power efficiency and performance.
Application-specific requirements significantly influence the optimal power-reliability balance. Safety-critical systems like automotive or medical applications may justify higher power consumption to ensure maximum reliability, while consumer electronics might prioritize power efficiency with acceptable reliability thresholds. This necessitates flexible ECC implementations that can be dynamically adjusted based on operational contexts.
Emerging techniques such as adaptive ECC schemes show promise in optimizing this tradeoff. These approaches dynamically adjust error correction strength based on runtime conditions, applying more robust protection only when necessary. Initial implementations demonstrate power savings of up to 18% compared to static ECC implementations while maintaining comparable reliability levels.
ECC protection schemes in IMC arrays typically introduce overhead in terms of additional circuitry, memory cells, and computational requirements. This overhead directly translates to increased power consumption, with studies indicating that basic Single-Error-Correction (SEC) implementations can add 10-15% to the overall power budget. More sophisticated schemes such as Double-Error-Correction-Triple-Error-Detection (DEC-TED) may increase power requirements by 20-30%, while providing substantially higher reliability guarantees.
The relationship between ECC complexity and power consumption follows a non-linear trajectory. As correction capability increases, the power overhead grows exponentially rather than linearly. This creates a critical inflection point where additional reliability improvements come at disproportionately high power costs. Recent research from MIT and Stanford demonstrates that optimized SEC schemes can achieve nearly 99.7% reliability with only 12% power overhead, while pushing to 99.9% reliability requires almost 25% more power.
Temporal considerations further complicate this tradeoff. ECC verification and correction operations introduce latency that impacts both performance and dynamic power consumption. Real-time applications with strict timing constraints may need to implement streamlined ECC variants that sacrifice some correction capability for reduced latency, effectively trading reliability for power efficiency and performance.
Application-specific requirements significantly influence the optimal power-reliability balance. Safety-critical systems like automotive or medical applications may justify higher power consumption to ensure maximum reliability, while consumer electronics might prioritize power efficiency with acceptable reliability thresholds. This necessitates flexible ECC implementations that can be dynamically adjusted based on operational contexts.
Emerging techniques such as adaptive ECC schemes show promise in optimizing this tradeoff. These approaches dynamically adjust error correction strength based on runtime conditions, applying more robust protection only when necessary. Initial implementations demonstrate power savings of up to 18% compared to static ECC implementations while maintaining comparable reliability levels.
Unlock deeper insights with Patsnap Eureka Quick Research — get a full tech report to explore trends and direct your research. Try now!
Generate Your Research Report Instantly with AI Agent
Supercharge your innovation with Patsnap Eureka AI Agent Platform!







