Gel permeation chromatography for polymer molecular weight determination
OCT 11, 20259 MIN READ
Generate Your Research Report Instantly with AI Agent
Patsnap Eureka helps you evaluate technical feasibility & market potential.
GPC Technology Evolution and Objectives
Gel permeation chromatography (GPC) emerged in the 1960s as a revolutionary technique for polymer molecular weight determination, evolving from the foundational work of scientists like J. C. Moore at Dow Chemical. This separation technique, based on the hydrodynamic volume of polymer molecules in solution, represented a significant advancement over previous methods such as osmometry and light scattering, which were limited in their ability to provide complete molecular weight distribution information.
The evolution of GPC technology has been marked by several key developments. Initially, the technique utilized simple packed columns with limited resolution and required extensive calibration. The 1970s and 1980s witnessed significant improvements in column technology, with the introduction of more uniform stationary phases and controlled pore sizes, enhancing separation efficiency and reproducibility. The 1990s brought advancements in detection systems, moving beyond simple refractive index detectors to include multi-angle light scattering (MALS), viscometry, and infrared detection, enabling more accurate molecular weight determination independent of calibration standards.
Computational advancements have paralleled hardware improvements, with sophisticated software now capable of processing complex data from multiple detectors simultaneously, providing comprehensive characterization of polymer samples. Modern GPC systems offer unprecedented resolution, accuracy, and throughput, with capabilities for analyzing increasingly complex polymer architectures including branched, star-shaped, and block copolymers.
The primary objective of GPC technology development has been to enhance accuracy, resolution, and versatility in polymer molecular weight determination. Current research focuses on miniaturization for reduced solvent consumption, development of environmentally friendly mobile phases, and integration with other analytical techniques for comprehensive polymer characterization. High-temperature GPC systems have expanded the technique's applicability to previously challenging polymers like polyolefins.
Looking forward, the field aims to develop more universal calibration methods, improve detection limits for trace analysis, and create more robust systems for high-throughput industrial applications. The integration of artificial intelligence and machine learning algorithms represents a promising frontier, potentially enabling more sophisticated data interpretation and predictive capabilities. Additionally, there is growing interest in adapting GPC for characterization of novel materials including sustainable polymers, biomaterials, and nanomaterials, aligning with broader trends in materials science and environmental sustainability.
The evolution of GPC technology has been marked by several key developments. Initially, the technique utilized simple packed columns with limited resolution and required extensive calibration. The 1970s and 1980s witnessed significant improvements in column technology, with the introduction of more uniform stationary phases and controlled pore sizes, enhancing separation efficiency and reproducibility. The 1990s brought advancements in detection systems, moving beyond simple refractive index detectors to include multi-angle light scattering (MALS), viscometry, and infrared detection, enabling more accurate molecular weight determination independent of calibration standards.
Computational advancements have paralleled hardware improvements, with sophisticated software now capable of processing complex data from multiple detectors simultaneously, providing comprehensive characterization of polymer samples. Modern GPC systems offer unprecedented resolution, accuracy, and throughput, with capabilities for analyzing increasingly complex polymer architectures including branched, star-shaped, and block copolymers.
The primary objective of GPC technology development has been to enhance accuracy, resolution, and versatility in polymer molecular weight determination. Current research focuses on miniaturization for reduced solvent consumption, development of environmentally friendly mobile phases, and integration with other analytical techniques for comprehensive polymer characterization. High-temperature GPC systems have expanded the technique's applicability to previously challenging polymers like polyolefins.
Looking forward, the field aims to develop more universal calibration methods, improve detection limits for trace analysis, and create more robust systems for high-throughput industrial applications. The integration of artificial intelligence and machine learning algorithms represents a promising frontier, potentially enabling more sophisticated data interpretation and predictive capabilities. Additionally, there is growing interest in adapting GPC for characterization of novel materials including sustainable polymers, biomaterials, and nanomaterials, aligning with broader trends in materials science and environmental sustainability.
Polymer Analysis Market Needs
The polymer analysis market has witnessed substantial growth in recent years, driven primarily by increasing demand for advanced materials across various industries. Gel permeation chromatography (GPC) for molecular weight determination represents a critical segment within this market, as molecular weight distribution directly influences polymer performance characteristics including mechanical strength, processability, and thermal stability.
Market research indicates that the global polymer analysis market is expanding at a compound annual growth rate of approximately 6-7%, with the GPC segment showing particularly strong momentum. This growth is fueled by rising quality control requirements in manufacturing processes and the development of increasingly specialized polymeric materials for high-performance applications.
Industries driving demand for precise polymer molecular weight determination include automotive, packaging, electronics, medical devices, and construction. The automotive sector, in particular, requires detailed polymer characterization for lightweight materials development to meet fuel efficiency standards. Similarly, the medical device industry demands rigorous polymer analysis for biocompatible materials used in implants and drug delivery systems.
Regional analysis reveals that North America and Europe currently dominate the polymer analysis market due to their established chemical and materials industries. However, Asia-Pacific represents the fastest-growing region, with China, Japan, and South Korea making significant investments in polymer science and manufacturing capabilities.
Customer needs in the polymer analysis market are evolving toward faster analysis times, higher resolution, improved accuracy, and the ability to characterize increasingly complex polymer architectures. End-users specifically require GPC systems that can determine not only average molecular weights but also provide detailed information about molecular weight distribution, branching, and other structural characteristics.
The shift toward sustainable materials has created additional market demand for polymer analysis tools. Manufacturers developing biodegradable polymers, recycled materials, and bio-based alternatives require sophisticated analytical techniques to ensure these sustainable options meet performance specifications comparable to traditional petroleum-based polymers.
Contract research organizations and analytical service providers represent another growing segment of the market, as smaller manufacturers outsource complex polymer characterization rather than investing in expensive in-house capabilities. This trend has created demand for versatile, high-throughput GPC systems that can analyze diverse polymer types with minimal reconfiguration.
Market research indicates that the global polymer analysis market is expanding at a compound annual growth rate of approximately 6-7%, with the GPC segment showing particularly strong momentum. This growth is fueled by rising quality control requirements in manufacturing processes and the development of increasingly specialized polymeric materials for high-performance applications.
Industries driving demand for precise polymer molecular weight determination include automotive, packaging, electronics, medical devices, and construction. The automotive sector, in particular, requires detailed polymer characterization for lightweight materials development to meet fuel efficiency standards. Similarly, the medical device industry demands rigorous polymer analysis for biocompatible materials used in implants and drug delivery systems.
Regional analysis reveals that North America and Europe currently dominate the polymer analysis market due to their established chemical and materials industries. However, Asia-Pacific represents the fastest-growing region, with China, Japan, and South Korea making significant investments in polymer science and manufacturing capabilities.
Customer needs in the polymer analysis market are evolving toward faster analysis times, higher resolution, improved accuracy, and the ability to characterize increasingly complex polymer architectures. End-users specifically require GPC systems that can determine not only average molecular weights but also provide detailed information about molecular weight distribution, branching, and other structural characteristics.
The shift toward sustainable materials has created additional market demand for polymer analysis tools. Manufacturers developing biodegradable polymers, recycled materials, and bio-based alternatives require sophisticated analytical techniques to ensure these sustainable options meet performance specifications comparable to traditional petroleum-based polymers.
Contract research organizations and analytical service providers represent another growing segment of the market, as smaller manufacturers outsource complex polymer characterization rather than investing in expensive in-house capabilities. This trend has created demand for versatile, high-throughput GPC systems that can analyze diverse polymer types with minimal reconfiguration.
GPC Technical Challenges and Global Development Status
Gel permeation chromatography (GPC) has evolved significantly since its introduction in the 1960s, becoming a cornerstone analytical technique for polymer molecular weight determination. Currently, the global GPC market is experiencing robust growth, driven by increasing demand in pharmaceutical, academic, and industrial polymer research sectors. The technique's ability to provide accurate molecular weight distributions makes it indispensable for quality control and R&D applications across multiple industries.
Despite its widespread adoption, GPC faces several technical challenges that limit its broader application. Resolution limitations remain a significant hurdle, particularly when analyzing complex polymer mixtures with overlapping molecular weight distributions. Traditional GPC columns often struggle to effectively separate polymers with similar molecular weights, leading to peak broadening and reduced accuracy in molecular weight determination.
Calibration issues represent another major challenge. The reliance on narrow molecular weight standards for calibration introduces systematic errors when analyzing polymers with different chemical compositions or architectures from the calibration standards. This "chemical heterogeneity problem" continues to challenge researchers seeking absolute molecular weight measurements rather than relative values.
Detection sensitivity presents ongoing difficulties, especially for low concentration samples or polymers with weak detector responses. While multi-detector systems combining light scattering, viscometry, and refractive index detection have improved characterization capabilities, they introduce additional complexity and cost barriers for many laboratories.
Globally, GPC technology development shows distinct regional patterns. North America and Europe host most established manufacturers focusing on high-end, multi-detector systems and specialized applications. Japan maintains significant market presence with innovations in column technology and detector sensitivity. Meanwhile, China has emerged as a rapidly growing market with increasing domestic production capabilities focused on cost-effective systems.
Recent technological advancements include the development of ultra-high performance liquid chromatography (UHPLC) adaptations for GPC, enabling faster analysis times and reduced solvent consumption. Advanced column technologies incorporating sub-2μm particles and monolithic materials have improved separation efficiency, while computational methods for data analysis have enhanced the extraction of meaningful information from complex chromatograms.
The integration of artificial intelligence and machine learning algorithms for chromatogram interpretation represents an emerging frontier, potentially addressing long-standing calibration challenges through pattern recognition and predictive modeling approaches. Additionally, miniaturization efforts are underway to develop portable GPC systems for field applications and high-throughput screening.
Despite its widespread adoption, GPC faces several technical challenges that limit its broader application. Resolution limitations remain a significant hurdle, particularly when analyzing complex polymer mixtures with overlapping molecular weight distributions. Traditional GPC columns often struggle to effectively separate polymers with similar molecular weights, leading to peak broadening and reduced accuracy in molecular weight determination.
Calibration issues represent another major challenge. The reliance on narrow molecular weight standards for calibration introduces systematic errors when analyzing polymers with different chemical compositions or architectures from the calibration standards. This "chemical heterogeneity problem" continues to challenge researchers seeking absolute molecular weight measurements rather than relative values.
Detection sensitivity presents ongoing difficulties, especially for low concentration samples or polymers with weak detector responses. While multi-detector systems combining light scattering, viscometry, and refractive index detection have improved characterization capabilities, they introduce additional complexity and cost barriers for many laboratories.
Globally, GPC technology development shows distinct regional patterns. North America and Europe host most established manufacturers focusing on high-end, multi-detector systems and specialized applications. Japan maintains significant market presence with innovations in column technology and detector sensitivity. Meanwhile, China has emerged as a rapidly growing market with increasing domestic production capabilities focused on cost-effective systems.
Recent technological advancements include the development of ultra-high performance liquid chromatography (UHPLC) adaptations for GPC, enabling faster analysis times and reduced solvent consumption. Advanced column technologies incorporating sub-2μm particles and monolithic materials have improved separation efficiency, while computational methods for data analysis have enhanced the extraction of meaningful information from complex chromatograms.
The integration of artificial intelligence and machine learning algorithms for chromatogram interpretation represents an emerging frontier, potentially addressing long-standing calibration challenges through pattern recognition and predictive modeling approaches. Additionally, miniaturization efforts are underway to develop portable GPC systems for field applications and high-throughput screening.
Current GPC Methodologies for Polymer Analysis
01 Calibration methods for GPC molecular weight determination
Calibration is essential for accurate molecular weight determination using gel permeation chromatography. Various calibration methods are employed, including the use of standard reference materials with known molecular weights to establish calibration curves. These calibration techniques help to correlate elution time or volume with molecular weight, enabling precise determination of unknown samples. Advanced calibration approaches may include multi-detector calibration systems that improve accuracy across different polymer types.- Calibration methods for GPC molecular weight determination: Calibration is essential for accurate molecular weight determination using gel permeation chromatography. Various calibration methods are employed, including the use of standard reference materials with known molecular weights to establish calibration curves. These calibration techniques help correlate elution time or volume with molecular weight, enabling precise determination of unknown samples. Advanced calibration approaches may include multi-detector calibration systems that improve accuracy across different polymer types.
- Multi-detector GPC systems for enhanced molecular weight analysis: Multi-detector gel permeation chromatography systems combine various detection methods to provide comprehensive molecular weight determination. These systems typically integrate light scattering, viscometry, and refractive index detectors to obtain absolute molecular weight measurements without relying solely on calibration standards. This approach allows for more accurate characterization of complex polymers and overcomes limitations of conventional single-detector systems, particularly for branched polymers or those with unusual structures.
- Sample preparation techniques for GPC analysis: Proper sample preparation is crucial for reliable molecular weight determination by gel permeation chromatography. This includes dissolution in appropriate solvents, filtration to remove particulates, and concentration adjustment to ensure optimal detector response. For challenging polymers, specialized dissolution techniques may be employed, such as heating or sonication. The preparation methods must preserve the native molecular weight distribution while ensuring complete dissolution to avoid artifacts in the chromatographic analysis.
- Column selection and optimization for molecular weight separation: The selection and optimization of chromatographic columns significantly impact the accuracy of molecular weight determination in gel permeation chromatography. Columns with appropriate pore size distributions are chosen based on the expected molecular weight range of the analytes. Multiple columns may be connected in series to enhance resolution across a broader molecular weight range. Column temperature control and flow rate optimization are also critical parameters that affect separation efficiency and molecular weight determination accuracy.
- Data processing algorithms for molecular weight calculations: Advanced data processing algorithms are essential for converting gel permeation chromatography raw data into meaningful molecular weight information. These algorithms apply mathematical models to transform detector signals into molecular weight distributions, calculating parameters such as number-average molecular weight, weight-average molecular weight, and polydispersity index. Modern software may incorporate machine learning approaches to improve data interpretation, particularly for complex polymer mixtures or when dealing with detector non-linearity and band broadening effects.
02 Multi-detector GPC systems for enhanced molecular weight analysis
Multi-detector gel permeation chromatography systems combine various detection methods to provide comprehensive molecular weight determination. These systems typically integrate light scattering detectors, viscometers, and refractive index detectors to obtain absolute molecular weight measurements without relying solely on calibration standards. This approach allows for more accurate characterization of complex polymers and overcomes limitations associated with conventional single-detector systems, particularly for branched polymers or those with unusual architectures.Expand Specific Solutions03 Sample preparation techniques for GPC molecular weight determination
Proper sample preparation is crucial for accurate molecular weight determination by gel permeation chromatography. This includes techniques for dissolving polymers in appropriate solvents, filtration methods to remove particulates, and concentration adjustments to ensure optimal detector response. Special preparation protocols may be required for specific polymer types or for samples with complex matrices. The quality of sample preparation directly impacts the accuracy and reproducibility of molecular weight measurements.Expand Specific Solutions04 Column selection and optimization for molecular weight separation
The selection and optimization of chromatography columns significantly affects molecular weight determination accuracy in GPC. Columns with different pore size distributions are chosen based on the expected molecular weight range of the samples. Column parameters such as length, particle size, and packing material influence separation efficiency and resolution. Multiple columns may be connected in series to achieve broader molecular weight separation ranges, while temperature control and flow rate optimization further enhance separation performance.Expand Specific Solutions05 Data analysis algorithms for molecular weight distribution calculation
Advanced data analysis algorithms are employed to convert GPC chromatograms into meaningful molecular weight distribution information. These algorithms process detector signals to calculate number-average molecular weight, weight-average molecular weight, and polydispersity index. Statistical methods may be applied to improve data quality by reducing noise and baseline drift. Modern software packages incorporate sophisticated mathematical models to handle complex distributions and to correlate data from multiple detectors for comprehensive polymer characterization.Expand Specific Solutions
Leading GPC Instrument Manufacturers and Research Groups
Gel permeation chromatography (GPC) for polymer molecular weight determination is currently in a mature growth phase, with a global market estimated at $350-400 million annually. The competitive landscape features established analytical instrument manufacturers like Waters Technology Corp. alongside diversified chemical companies including Dow Global Technologies, BASF, and ExxonMobil Chemical Patents. Technical maturity is high, with recent innovations focusing on improved accuracy and throughput. Leading polymer producers such as Solvay, LG Chem, and Covestro are driving advancements in GPC methodologies to support their R&D efforts, while specialized companies like JenKem Technology are developing application-specific solutions. Research institutions like CNRS continue to refine fundamental aspects of the technology, ensuring its continued relevance in polymer science.
Dow Global Technologies LLC
Technical Solution: Dow has engineered a sophisticated GPC platform specifically tailored for high-throughput molecular weight determination across their extensive polymer product lines. Their approach features automated multi-sample preparation systems integrated with parallel GPC columns to increase analytical throughput by over 300% compared to conventional methods[1]. Dow's technology incorporates proprietary column chemistries designed to minimize non-size exclusion effects (adsorption, ionic interactions) that can distort molecular weight measurements for specialty polymers. The company has developed advanced multi-detector arrays combining differential refractive index, UV-vis, light scattering, and viscometric detection to provide comprehensive characterization of molecular weight, branching, and chemical composition heterogeneity[2]. Dow's GPC systems are particularly notable for their ability to analyze ultra-high molecular weight polymers (>10^6 g/mol) through specialized column configurations and flow rate optimization that minimize shear degradation during analysis. Their methodology also includes proprietary calibration approaches using narrow-distribution standards synthesized in-house for polymer families where commercial standards are unavailable[3].
Strengths: High-throughput capabilities; specialized column chemistries for diverse polymer types; comprehensive multi-detector approach; expertise with ultra-high molecular weight polymers. Weaknesses: Proprietary nature limits broader adoption; significant capital investment required; complex calibration procedures for specialized polymers.
BASF Corp.
Technical Solution: BASF has developed a comprehensive GPC approach for polymer characterization that integrates multiple detection technologies to provide detailed molecular weight information across their diverse polymer portfolio. Their system employs triple detection GPC combining refractive index, viscometry, and light scattering to determine absolute molecular weights without relying on calibration standards[1]. BASF's methodology incorporates specialized sample preparation protocols that minimize aggregation and ensure accurate representation of true molecular weight distributions, particularly important for their high-performance polymers used in automotive and construction applications[2]. The company has pioneered high-temperature GPC techniques operating at up to 160°C for analyzing crystalline polymers like polyolefins that require complete dissolution at elevated temperatures. BASF's approach also features proprietary data analysis algorithms that can deconvolute complex molecular weight distributions into their constituent components, providing insights into polymerization mechanisms and enabling targeted product development[3].
Strengths: Comprehensive triple-detection approach; specialized high-temperature capabilities; advanced data analysis for complex polymer systems. Weaknesses: Equipment complexity requires significant expertise; higher operational costs; longer analysis times for some specialized applications.
Key Patents and Breakthroughs in GPC Column Technology
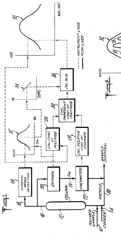
Measurement of polymer molecular weight distribution
PatentInactiveUS3837217A
Innovation
- A novel detector package for gel permeation chromatography that directly measures polymer mass using a piezoelectric crystal and calculates molecular weight based on intrinsic viscosity, allowing for direct molecular weight distribution measurement without prior calibration for each polymer type.
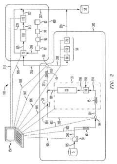
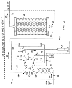
An integrated on-line two-dimensional method and device for synchronized analytical temperature rising elution fractionation and gel permeation chromatography
PatentInactiveEP1883811B1
Innovation
- An integrated analytical method and device combining Analytical Temperature Rising Elution Fractionation (aTREF) with Rapid Gel Permeation Chromatography (rGPC) for simultaneous fractionation and characterization of polymer samples, enabling online and real-time determination of composition and molecular weight distribution using a synchronized valve scheme and computer control.
Calibration Standards and Reference Materials
Calibration standards and reference materials are critical components in ensuring the accuracy and reliability of gel permeation chromatography (GPC) for polymer molecular weight determination. These standards serve as benchmarks against which unknown polymer samples are compared, enabling the conversion of elution volumes to molecular weight distributions. The selection of appropriate calibration standards significantly impacts the quality and validity of GPC results.
Narrow molecular weight distribution polymers are predominantly used as primary calibration standards due to their well-defined characteristics. Polystyrene standards remain the most widely utilized calibration materials, available in molecular weights ranging from 500 to several million Daltons with polydispersity indices typically below 1.1. Other commonly employed standards include poly(methyl methacrylate), polyethylene oxide, and pullulan (for aqueous systems), each selected based on their compatibility with the specific mobile phase and column system.
The calibration process necessitates the establishment of a calibration curve that correlates elution volume with molecular weight. This relationship is typically represented by the Mark-Houwink equation, which accounts for differences in hydrodynamic volume between the calibration standard and the analyte polymer. The equation parameters (K and α) are specific to polymer-solvent combinations and must be accurately determined or sourced from literature to enable universal calibration approaches.
Reference materials with certified molecular weight distributions have been developed by organizations such as the National Institute of Standards and Technology (NIST) and the International Organization for Standardization (ISO). These materials provide traceability and facilitate inter-laboratory comparisons, enhancing the reproducibility of GPC analyses across different instruments and laboratories. SRM 706a (polystyrene) and SRM 2887 (polyethylene) are examples of widely recognized reference materials that enable method validation and system performance verification.
The storage and handling of calibration standards require careful attention to prevent degradation. Most standards are supplied as dry powders and should be stored in cool, dark conditions to minimize oxidative degradation. Solution preparation protocols must be strictly followed, with attention to dissolution time, concentration, and filtration procedures to ensure the integrity of the standard's molecular weight distribution is maintained.
Recent advancements include the development of multi-detector calibration approaches that combine concentration detectors with viscometers or light scattering detectors. These systems reduce dependence on conventional calibration standards by providing absolute molecular weight measurements. However, calibration standards remain essential for system qualification and verification of these advanced detection methods.
The selection of appropriate calibration standards must consider the chemical similarity to the analyte polymer, as structural differences can lead to significant errors in molecular weight determination. When analyzing novel polymers for which no suitable standards exist, the universal calibration approach using the Mark-Houwink parameters offers a viable alternative, though with potentially increased uncertainty in the results.
Narrow molecular weight distribution polymers are predominantly used as primary calibration standards due to their well-defined characteristics. Polystyrene standards remain the most widely utilized calibration materials, available in molecular weights ranging from 500 to several million Daltons with polydispersity indices typically below 1.1. Other commonly employed standards include poly(methyl methacrylate), polyethylene oxide, and pullulan (for aqueous systems), each selected based on their compatibility with the specific mobile phase and column system.
The calibration process necessitates the establishment of a calibration curve that correlates elution volume with molecular weight. This relationship is typically represented by the Mark-Houwink equation, which accounts for differences in hydrodynamic volume between the calibration standard and the analyte polymer. The equation parameters (K and α) are specific to polymer-solvent combinations and must be accurately determined or sourced from literature to enable universal calibration approaches.
Reference materials with certified molecular weight distributions have been developed by organizations such as the National Institute of Standards and Technology (NIST) and the International Organization for Standardization (ISO). These materials provide traceability and facilitate inter-laboratory comparisons, enhancing the reproducibility of GPC analyses across different instruments and laboratories. SRM 706a (polystyrene) and SRM 2887 (polyethylene) are examples of widely recognized reference materials that enable method validation and system performance verification.
The storage and handling of calibration standards require careful attention to prevent degradation. Most standards are supplied as dry powders and should be stored in cool, dark conditions to minimize oxidative degradation. Solution preparation protocols must be strictly followed, with attention to dissolution time, concentration, and filtration procedures to ensure the integrity of the standard's molecular weight distribution is maintained.
Recent advancements include the development of multi-detector calibration approaches that combine concentration detectors with viscometers or light scattering detectors. These systems reduce dependence on conventional calibration standards by providing absolute molecular weight measurements. However, calibration standards remain essential for system qualification and verification of these advanced detection methods.
The selection of appropriate calibration standards must consider the chemical similarity to the analyte polymer, as structural differences can lead to significant errors in molecular weight determination. When analyzing novel polymers for which no suitable standards exist, the universal calibration approach using the Mark-Houwink parameters offers a viable alternative, though with potentially increased uncertainty in the results.
Data Processing and Software Solutions for GPC Analysis
Modern GPC analysis relies heavily on sophisticated data processing and software solutions to transform raw detector signals into meaningful molecular weight distributions. The evolution of GPC software has progressed from basic peak integration tools to comprehensive analytical suites capable of handling multi-detector data and complex polymer characterizations.
Current GPC software platforms typically incorporate several essential processing functions. Baseline correction algorithms remove signal drift and noise, while peak detection and integration tools identify and quantify elution peaks. Calibration curve generation enables the conversion of retention times to molecular weights, with options for conventional calibration using standards or universal calibration based on Mark-Houwink parameters.
Advanced software packages now offer multi-detector data fusion capabilities, simultaneously processing signals from concentration, light scattering, and viscometric detectors to provide absolute molecular weight determinations without relying on calibration standards. This approach significantly enhances accuracy for complex polymer systems with non-linear structures or unusual composition.
Statistical analysis features have become increasingly sophisticated, offering detailed distribution metrics including number-average (Mn), weight-average (Mw), and z-average (Mz) molecular weights, as well as polydispersity indices and higher statistical moments. Modern software also provides visualization tools for overlaying multiple chromatograms and creating customizable reports.
Machine learning algorithms are emerging as powerful tools for GPC data analysis, enabling pattern recognition in complex polymer mixtures and automated identification of contaminants or unexpected components. These AI-driven approaches can detect subtle variations in molecular weight distributions that might indicate process inconsistencies or material degradation.
Cloud-based GPC software solutions are gaining popularity, offering advantages in data storage, collaborative analysis, and remote access capabilities. These platforms facilitate seamless data sharing between research teams and enable integration with laboratory information management systems (LIMS) for comprehensive polymer characterization workflows.
Standardization efforts are underway to improve data interchange between different GPC systems and software platforms. The JCAMP-DX and AnIML formats are being adapted specifically for polymer analysis data, potentially enabling more efficient collaboration between laboratories using different instrumentation.
Current GPC software platforms typically incorporate several essential processing functions. Baseline correction algorithms remove signal drift and noise, while peak detection and integration tools identify and quantify elution peaks. Calibration curve generation enables the conversion of retention times to molecular weights, with options for conventional calibration using standards or universal calibration based on Mark-Houwink parameters.
Advanced software packages now offer multi-detector data fusion capabilities, simultaneously processing signals from concentration, light scattering, and viscometric detectors to provide absolute molecular weight determinations without relying on calibration standards. This approach significantly enhances accuracy for complex polymer systems with non-linear structures or unusual composition.
Statistical analysis features have become increasingly sophisticated, offering detailed distribution metrics including number-average (Mn), weight-average (Mw), and z-average (Mz) molecular weights, as well as polydispersity indices and higher statistical moments. Modern software also provides visualization tools for overlaying multiple chromatograms and creating customizable reports.
Machine learning algorithms are emerging as powerful tools for GPC data analysis, enabling pattern recognition in complex polymer mixtures and automated identification of contaminants or unexpected components. These AI-driven approaches can detect subtle variations in molecular weight distributions that might indicate process inconsistencies or material degradation.
Cloud-based GPC software solutions are gaining popularity, offering advantages in data storage, collaborative analysis, and remote access capabilities. These platforms facilitate seamless data sharing between research teams and enable integration with laboratory information management systems (LIMS) for comprehensive polymer characterization workflows.
Standardization efforts are underway to improve data interchange between different GPC systems and software platforms. The JCAMP-DX and AnIML formats are being adapted specifically for polymer analysis data, potentially enabling more efficient collaboration between laboratories using different instrumentation.
Unlock deeper insights with Patsnap Eureka Quick Research — get a full tech report to explore trends and direct your research. Try now!
Generate Your Research Report Instantly with AI Agent
Supercharge your innovation with Patsnap Eureka AI Agent Platform!





