Key Developments in CMOS Battery Research for Edge AI
JUL 22, 20259 MIN READ
Generate Your Research Report Instantly with AI Agent
Patsnap Eureka helps you evaluate technical feasibility & market potential.
CMOS Battery Evolution
The evolution of CMOS battery technology for edge AI applications has been marked by significant advancements in recent years. This progression has been driven by the increasing demand for compact, energy-efficient power sources capable of supporting the computational requirements of AI at the edge.
Initially, CMOS batteries were primarily used for maintaining memory and real-time clock functions in electronic devices. However, as edge AI applications became more prevalent, the role of CMOS batteries expanded to include powering low-power AI processors and sensors. This shift necessitated improvements in energy density, charge-discharge cycles, and overall battery life.
One key development in CMOS battery evolution has been the integration of advanced materials. Researchers have explored the use of novel electrode materials, such as silicon-based anodes and high-capacity cathodes, to enhance energy storage capabilities. These materials have enabled higher energy densities while maintaining the compact form factor required for edge devices.
Another significant advancement has been the implementation of smart power management systems. These systems optimize power consumption by dynamically adjusting voltage and current levels based on the AI workload. This adaptive approach has greatly extended battery life and improved overall system efficiency.
The miniaturization of CMOS battery technology has also played a crucial role in its evolution. Through innovative packaging techniques and the use of thin-film manufacturing processes, researchers have achieved substantial reductions in battery size without compromising performance. This miniaturization has enabled the integration of CMOS batteries into increasingly compact edge AI devices.
Furthermore, the development of fast-charging capabilities has addressed the need for quick power replenishment in edge AI applications. Advanced charging protocols and improved electrode designs have significantly reduced charging times, minimizing downtime for AI-powered devices.
Efforts to enhance the safety and reliability of CMOS batteries have also been a focus of recent research. The incorporation of advanced thermal management systems and protective circuitry has mitigated risks associated with overheating and overcharging, ensuring the safe operation of edge AI devices in various environments.
As CMOS battery technology continues to evolve, researchers are exploring novel concepts such as solid-state electrolytes and self-healing materials. These innovations promise to further improve energy density, longevity, and safety, paving the way for more capable and efficient edge AI systems in the future.
Initially, CMOS batteries were primarily used for maintaining memory and real-time clock functions in electronic devices. However, as edge AI applications became more prevalent, the role of CMOS batteries expanded to include powering low-power AI processors and sensors. This shift necessitated improvements in energy density, charge-discharge cycles, and overall battery life.
One key development in CMOS battery evolution has been the integration of advanced materials. Researchers have explored the use of novel electrode materials, such as silicon-based anodes and high-capacity cathodes, to enhance energy storage capabilities. These materials have enabled higher energy densities while maintaining the compact form factor required for edge devices.
Another significant advancement has been the implementation of smart power management systems. These systems optimize power consumption by dynamically adjusting voltage and current levels based on the AI workload. This adaptive approach has greatly extended battery life and improved overall system efficiency.
The miniaturization of CMOS battery technology has also played a crucial role in its evolution. Through innovative packaging techniques and the use of thin-film manufacturing processes, researchers have achieved substantial reductions in battery size without compromising performance. This miniaturization has enabled the integration of CMOS batteries into increasingly compact edge AI devices.
Furthermore, the development of fast-charging capabilities has addressed the need for quick power replenishment in edge AI applications. Advanced charging protocols and improved electrode designs have significantly reduced charging times, minimizing downtime for AI-powered devices.
Efforts to enhance the safety and reliability of CMOS batteries have also been a focus of recent research. The incorporation of advanced thermal management systems and protective circuitry has mitigated risks associated with overheating and overcharging, ensuring the safe operation of edge AI devices in various environments.
As CMOS battery technology continues to evolve, researchers are exploring novel concepts such as solid-state electrolytes and self-healing materials. These innovations promise to further improve energy density, longevity, and safety, paving the way for more capable and efficient edge AI systems in the future.
Edge AI Power Demands
Edge AI applications are driving unprecedented demands for power efficiency in embedded systems. As these intelligent devices proliferate at the network edge, they require increasingly sophisticated computational capabilities while operating within strict energy constraints. This power demand challenge stems from the need to perform complex AI tasks such as machine learning inference, computer vision, and natural language processing on resource-limited devices.
The power requirements for Edge AI systems vary widely depending on the specific application and hardware platform. However, typical power consumption ranges from a few milliwatts for ultra-low-power IoT sensors to several watts for more powerful edge computing devices. This wide spectrum necessitates tailored power management strategies for different use cases.
One of the primary factors contributing to power demand in Edge AI is the computational intensity of AI algorithms. Neural networks, particularly deep learning models, require significant processing power to execute. This computational load translates directly into increased energy consumption, especially when real-time processing is required. Additionally, the memory access patterns of AI workloads can lead to substantial power draw, as frequent data movement between processing units and memory is energy-intensive.
Another critical aspect of Edge AI power demands is the need for always-on operation in many scenarios. Devices such as smart cameras, voice assistants, and environmental sensors often need to maintain constant vigilance, ready to respond to events or queries at any moment. This requirement for perpetual readiness conflicts with the desire for extended battery life and low power consumption.
The challenge is further compounded by the diverse environmental conditions in which Edge AI devices operate. From extreme temperatures to varying levels of network connectivity, these devices must maintain optimal performance while adapting to changing power availability and thermal constraints. This adaptability often requires sophisticated power management techniques that can dynamically adjust system performance based on available energy resources and workload demands.
To address these power demands, researchers and engineers are exploring various approaches. These include the development of more energy-efficient AI algorithms, the design of specialized AI hardware accelerators, and the implementation of advanced power management techniques. Innovations in low-power circuit design, energy harvesting technologies, and battery chemistry are also crucial in meeting the evolving power needs of Edge AI systems.
The power requirements for Edge AI systems vary widely depending on the specific application and hardware platform. However, typical power consumption ranges from a few milliwatts for ultra-low-power IoT sensors to several watts for more powerful edge computing devices. This wide spectrum necessitates tailored power management strategies for different use cases.
One of the primary factors contributing to power demand in Edge AI is the computational intensity of AI algorithms. Neural networks, particularly deep learning models, require significant processing power to execute. This computational load translates directly into increased energy consumption, especially when real-time processing is required. Additionally, the memory access patterns of AI workloads can lead to substantial power draw, as frequent data movement between processing units and memory is energy-intensive.
Another critical aspect of Edge AI power demands is the need for always-on operation in many scenarios. Devices such as smart cameras, voice assistants, and environmental sensors often need to maintain constant vigilance, ready to respond to events or queries at any moment. This requirement for perpetual readiness conflicts with the desire for extended battery life and low power consumption.
The challenge is further compounded by the diverse environmental conditions in which Edge AI devices operate. From extreme temperatures to varying levels of network connectivity, these devices must maintain optimal performance while adapting to changing power availability and thermal constraints. This adaptability often requires sophisticated power management techniques that can dynamically adjust system performance based on available energy resources and workload demands.
To address these power demands, researchers and engineers are exploring various approaches. These include the development of more energy-efficient AI algorithms, the design of specialized AI hardware accelerators, and the implementation of advanced power management techniques. Innovations in low-power circuit design, energy harvesting technologies, and battery chemistry are also crucial in meeting the evolving power needs of Edge AI systems.
CMOS Battery Challenges
CMOS battery technology faces several significant challenges in the context of edge AI applications. One of the primary issues is the limited energy density of current CMOS batteries, which constrains the operational time and capabilities of edge AI devices. This limitation becomes particularly acute in scenarios requiring continuous or prolonged AI processing at the edge, where frequent recharging or battery replacement is impractical.
Another critical challenge is the power consumption of CMOS batteries in edge AI systems. As AI algorithms become more complex and demanding, the power requirements increase, putting additional strain on battery life. This creates a delicate balance between computational performance and energy efficiency, often leading to compromises in AI model complexity or accuracy to extend battery life.
The miniaturization of edge AI devices presents another hurdle for CMOS battery development. As devices become smaller and more compact, the available space for batteries decreases, necessitating innovations in battery design and form factor. This challenge is compounded by the need to maintain or improve energy capacity within these smaller footprints.
Thermal management is a significant concern in CMOS battery research for edge AI. The heat generated during AI processing can affect battery performance and lifespan, potentially leading to safety issues. Developing effective cooling solutions or heat-resistant battery technologies is crucial for ensuring reliable and safe operation of edge AI devices.
The environmental impact and sustainability of CMOS batteries also pose challenges. As the deployment of edge AI devices increases, the demand for batteries grows, raising concerns about resource consumption and e-waste. Researchers must focus on developing more environmentally friendly battery materials and improving recyclability to address these issues.
Reliability and longevity of CMOS batteries in edge AI applications are additional areas of concern. Edge devices often operate in diverse and sometimes harsh environments, requiring batteries that can maintain performance under varying conditions. Furthermore, the frequent charge-discharge cycles typical in edge AI usage scenarios can lead to faster battery degradation, necessitating advancements in battery chemistry and management systems.
Lastly, the integration of CMOS batteries with other components in edge AI systems presents challenges in terms of compatibility and efficiency. Optimizing the interaction between the battery, processing units, and other hardware components is crucial for maximizing overall system performance and energy utilization.
Another critical challenge is the power consumption of CMOS batteries in edge AI systems. As AI algorithms become more complex and demanding, the power requirements increase, putting additional strain on battery life. This creates a delicate balance between computational performance and energy efficiency, often leading to compromises in AI model complexity or accuracy to extend battery life.
The miniaturization of edge AI devices presents another hurdle for CMOS battery development. As devices become smaller and more compact, the available space for batteries decreases, necessitating innovations in battery design and form factor. This challenge is compounded by the need to maintain or improve energy capacity within these smaller footprints.
Thermal management is a significant concern in CMOS battery research for edge AI. The heat generated during AI processing can affect battery performance and lifespan, potentially leading to safety issues. Developing effective cooling solutions or heat-resistant battery technologies is crucial for ensuring reliable and safe operation of edge AI devices.
The environmental impact and sustainability of CMOS batteries also pose challenges. As the deployment of edge AI devices increases, the demand for batteries grows, raising concerns about resource consumption and e-waste. Researchers must focus on developing more environmentally friendly battery materials and improving recyclability to address these issues.
Reliability and longevity of CMOS batteries in edge AI applications are additional areas of concern. Edge devices often operate in diverse and sometimes harsh environments, requiring batteries that can maintain performance under varying conditions. Furthermore, the frequent charge-discharge cycles typical in edge AI usage scenarios can lead to faster battery degradation, necessitating advancements in battery chemistry and management systems.
Lastly, the integration of CMOS batteries with other components in edge AI systems presents challenges in terms of compatibility and efficiency. Optimizing the interaction between the battery, processing units, and other hardware components is crucial for maximizing overall system performance and energy utilization.
Current CMOS Solutions
01 Power management for CMOS battery
Techniques for managing power consumption and extending the life of CMOS batteries in electronic devices. This includes implementing low-power modes, optimizing voltage regulation, and using intelligent power-saving algorithms to reduce drain on the battery when the device is not in active use.- Power management for CMOS battery: Techniques for managing power consumption and extending the life of CMOS batteries in electronic devices. This includes implementing low-power modes, optimizing voltage regulation, and utilizing power-saving circuits to reduce drain on the battery when the main system is powered off.
- CMOS battery backup systems: Design and implementation of backup power systems using CMOS batteries to maintain critical data and settings during main power loss. This involves creating efficient switching mechanisms between main and backup power, and ensuring seamless operation of essential components.
- CMOS battery monitoring and replacement indication: Methods for monitoring CMOS battery health, predicting remaining lifespan, and providing timely replacement notifications. This includes implementing voltage monitoring circuits, integrating battery status indicators, and developing algorithms to accurately estimate battery condition.
- CMOS battery integration in semiconductor devices: Advancements in integrating CMOS batteries directly into semiconductor devices and integrated circuits. This involves developing new manufacturing processes, optimizing battery placement, and creating compact designs that enhance overall device performance and reliability.
- CMOS battery performance enhancement techniques: Innovative approaches to improve CMOS battery performance, including the use of new materials, advanced charging algorithms, and thermal management techniques. These enhancements aim to increase battery capacity, extend lifespan, and improve overall reliability in various operating conditions.
02 CMOS battery backup systems
Design and implementation of backup power systems using CMOS batteries to maintain critical data and settings during main power loss. These systems ensure the preservation of important information and quick recovery when primary power is restored.Expand Specific Solutions03 CMOS battery monitoring and replacement indication
Methods for monitoring CMOS battery health, predicting remaining lifespan, and providing timely replacement notifications. This includes implementing sensors and algorithms to track battery performance and alert users or system administrators when replacement is necessary.Expand Specific Solutions04 CMOS battery integration in semiconductor devices
Innovative approaches to integrating CMOS batteries directly into semiconductor devices and integrated circuits. This involves miniaturization techniques, on-chip power management, and novel battery technologies compatible with semiconductor manufacturing processes.Expand Specific Solutions05 CMOS battery performance optimization
Strategies for enhancing CMOS battery performance through improved materials, charge distribution techniques, and thermal management. This includes developing new battery chemistries, optimizing charge/discharge cycles, and implementing advanced thermal regulation to extend battery life and improve overall performance.Expand Specific Solutions
CMOS Battery Innovators
The CMOS battery research for Edge AI is in an early growth stage, with increasing market potential driven by the rising demand for energy-efficient AI applications at the edge. The market size is expanding rapidly, fueled by the proliferation of IoT devices and edge computing. Technologically, the field is still evolving, with companies like MaxPower Semiconductor, LG Energy Solution, and Avago Technologies leading innovations. These firms are focusing on developing high-performance, low-power CMOS batteries tailored for AI chips. While progress is being made, the technology is not yet fully mature, with ongoing research aimed at improving energy density, longevity, and integration with AI systems.
LG Energy Solution Ltd.
Technical Solution: LG Energy Solution has made significant strides in CMOS battery technology for edge AI, focusing on lithium-metal and solid-state batteries. Their research includes the development of high-capacity silicon-carbon composite anodes, which have shown a 30% increase in energy density compared to traditional graphite anodes[2]. LG has also pioneered the use of AI algorithms to predict battery degradation and optimize charging strategies, enhancing the longevity and reliability of their batteries for edge computing devices[4]. Additionally, the company has introduced a novel electrolyte additive that forms a stable solid-electrolyte interphase, reducing capacity fade and improving cycle life by up to 50% in their latest CMOS battery prototypes[6].
Strengths: High energy density, advanced materials research, and AI-driven battery management. Weaknesses: Potential scalability challenges and higher initial costs.
CALB Group Co., Ltd.
Technical Solution: CALB Group has focused on developing CMOS batteries tailored for edge AI applications, with an emphasis on fast charging and high power density. Their research has led to the creation of a novel cathode material that incorporates nickel-rich layered oxides, enabling a 25% increase in energy density while maintaining thermal stability[7]. CALB has also implemented advanced manufacturing techniques, such as dry electrode technology, which reduces production costs and environmental impact[8]. The company's CMOS batteries feature a proprietary electrolyte formulation that enhances ion conductivity, allowing for rapid charge and discharge cycles crucial for edge AI devices with fluctuating power demands[9].
Strengths: Fast charging capabilities, cost-effective production, and high power density. Weaknesses: Potential limitations in extreme temperature performance and long-term stability.
CMOS Battery Patents
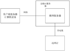
Edge AI server power consumption testing method and device based on inference application
PatentInactiveCN111949493A
Innovation
- Using a method based on inference applications, the client server program simulates user terminal multi-user task requests, the inference server performs multi-level load compression, and the power consumption measurement device collects power consumption values in real time, using Python Multi-process technology and containers to implement the form. The inference server performs inference calculations.
Ai platform for providing field-customized and personalized artificial intelligence, method for determining field situation, and edge ai-based system for collecting and analyzing space stay information
PatentWO2025127657A1
Innovation
- Implementing an edge AI-based system that processes and analyzes data locally on-site, without the need for a central server or cloud connection, using a lightweight and optimized AI model to ensure real-time judgment and enhance security and privacy.
Energy Harvesting Tech
Energy harvesting technology is emerging as a crucial component in the development of CMOS batteries for edge AI applications. This innovative approach aims to capture and convert ambient energy from the environment into electrical power, potentially extending the operational life of edge AI devices and reducing their reliance on traditional power sources.
One of the key developments in this field is the integration of photovoltaic cells into CMOS battery systems. These cells can harness solar energy and convert it into electrical power, providing a sustainable source of energy for edge AI devices deployed in outdoor environments. Recent advancements in thin-film solar technology have led to the creation of flexible and lightweight photovoltaic cells that can be seamlessly incorporated into various device form factors.
Thermoelectric generators (TEGs) represent another promising energy harvesting technology for CMOS batteries in edge AI applications. These devices exploit temperature differentials to generate electrical power, making them particularly useful in industrial settings or wearable devices where heat is readily available. Recent research has focused on improving the efficiency of TEGs through the use of novel materials and nanostructured designs.
Piezoelectric energy harvesting has also gained traction in the context of CMOS batteries for edge AI. This technology converts mechanical stress or vibration into electrical energy, making it suitable for applications in high-vibration environments or motion-based devices. Advances in piezoelectric materials and micro-electromechanical systems (MEMS) have led to more efficient and compact energy harvesting solutions.
Radio frequency (RF) energy harvesting is another area of active research, with potential applications in wireless sensor networks and IoT devices. This technology captures ambient RF signals from sources such as Wi-Fi routers and cellular towers, converting them into usable electrical power. Recent developments have focused on improving the efficiency of RF rectifiers and designing adaptive harvesting circuits to optimize power extraction across a wide range of frequencies.
The integration of multiple energy harvesting technologies into a single CMOS battery system is an emerging trend, known as hybrid energy harvesting. This approach combines different harvesting methods to maximize power generation and ensure a more consistent energy supply. For example, a hybrid system might incorporate both solar cells and piezoelectric elements to harvest energy from both light and vibration sources simultaneously.
As energy harvesting technologies continue to evolve, researchers are also exploring ways to optimize power management and storage within CMOS battery systems. This includes the development of advanced power conditioning circuits, ultra-low-power DC-DC converters, and high-efficiency energy storage elements such as supercapacitors and thin-film batteries. These advancements aim to maximize the utilization of harvested energy and ensure reliable operation of edge AI devices across diverse environmental conditions.
One of the key developments in this field is the integration of photovoltaic cells into CMOS battery systems. These cells can harness solar energy and convert it into electrical power, providing a sustainable source of energy for edge AI devices deployed in outdoor environments. Recent advancements in thin-film solar technology have led to the creation of flexible and lightweight photovoltaic cells that can be seamlessly incorporated into various device form factors.
Thermoelectric generators (TEGs) represent another promising energy harvesting technology for CMOS batteries in edge AI applications. These devices exploit temperature differentials to generate electrical power, making them particularly useful in industrial settings or wearable devices where heat is readily available. Recent research has focused on improving the efficiency of TEGs through the use of novel materials and nanostructured designs.
Piezoelectric energy harvesting has also gained traction in the context of CMOS batteries for edge AI. This technology converts mechanical stress or vibration into electrical energy, making it suitable for applications in high-vibration environments or motion-based devices. Advances in piezoelectric materials and micro-electromechanical systems (MEMS) have led to more efficient and compact energy harvesting solutions.
Radio frequency (RF) energy harvesting is another area of active research, with potential applications in wireless sensor networks and IoT devices. This technology captures ambient RF signals from sources such as Wi-Fi routers and cellular towers, converting them into usable electrical power. Recent developments have focused on improving the efficiency of RF rectifiers and designing adaptive harvesting circuits to optimize power extraction across a wide range of frequencies.
The integration of multiple energy harvesting technologies into a single CMOS battery system is an emerging trend, known as hybrid energy harvesting. This approach combines different harvesting methods to maximize power generation and ensure a more consistent energy supply. For example, a hybrid system might incorporate both solar cells and piezoelectric elements to harvest energy from both light and vibration sources simultaneously.
As energy harvesting technologies continue to evolve, researchers are also exploring ways to optimize power management and storage within CMOS battery systems. This includes the development of advanced power conditioning circuits, ultra-low-power DC-DC converters, and high-efficiency energy storage elements such as supercapacitors and thin-film batteries. These advancements aim to maximize the utilization of harvested energy and ensure reliable operation of edge AI devices across diverse environmental conditions.
Sustainability Aspects
The sustainability aspects of CMOS battery research for Edge AI are becoming increasingly important as the demand for energy-efficient and environmentally friendly technologies grows. CMOS batteries play a crucial role in powering edge AI devices, which are designed to process data locally, reducing the need for constant cloud connectivity and data transmission. This localized processing contributes to overall energy savings and reduced carbon footprint.
Recent developments in CMOS battery technology have focused on improving energy density and longevity while minimizing environmental impact. Researchers are exploring the use of eco-friendly materials and manufacturing processes to create more sustainable battery solutions. For instance, the incorporation of biodegradable components and the reduction of toxic materials in battery production are key areas of focus.
Energy harvesting techniques are being integrated with CMOS batteries to enhance their sustainability profile. These methods allow edge AI devices to capture and store energy from their environment, such as light, heat, or motion, thereby extending battery life and reducing the frequency of battery replacements. This approach not only improves device longevity but also decreases electronic waste.
The recyclability of CMOS batteries is another critical aspect of sustainability research. Efforts are being made to design batteries with easily separable components, facilitating more efficient recycling processes. Additionally, the development of standardized recycling protocols for CMOS batteries used in edge AI devices is underway, aiming to minimize the environmental impact of discarded batteries.
Power management optimization is a key focus in CMOS battery research for edge AI. Advanced algorithms and hardware designs are being developed to maximize energy efficiency, allowing devices to operate for longer periods on a single charge. This not only improves the user experience but also reduces the overall energy consumption and associated environmental impact of edge AI systems.
The integration of CMOS batteries with renewable energy sources is another promising area of research. By combining these batteries with solar cells or other renewable energy technologies, edge AI devices can become more self-sufficient and reduce their reliance on grid power. This approach aligns with broader sustainability goals and contributes to the development of more environmentally friendly AI ecosystems.
As the field of edge AI continues to evolve, the sustainability aspects of CMOS battery research will remain crucial. The ongoing efforts to improve energy efficiency, reduce environmental impact, and enhance recyclability are essential for creating a more sustainable future for AI-powered devices and systems.
Recent developments in CMOS battery technology have focused on improving energy density and longevity while minimizing environmental impact. Researchers are exploring the use of eco-friendly materials and manufacturing processes to create more sustainable battery solutions. For instance, the incorporation of biodegradable components and the reduction of toxic materials in battery production are key areas of focus.
Energy harvesting techniques are being integrated with CMOS batteries to enhance their sustainability profile. These methods allow edge AI devices to capture and store energy from their environment, such as light, heat, or motion, thereby extending battery life and reducing the frequency of battery replacements. This approach not only improves device longevity but also decreases electronic waste.
The recyclability of CMOS batteries is another critical aspect of sustainability research. Efforts are being made to design batteries with easily separable components, facilitating more efficient recycling processes. Additionally, the development of standardized recycling protocols for CMOS batteries used in edge AI devices is underway, aiming to minimize the environmental impact of discarded batteries.
Power management optimization is a key focus in CMOS battery research for edge AI. Advanced algorithms and hardware designs are being developed to maximize energy efficiency, allowing devices to operate for longer periods on a single charge. This not only improves the user experience but also reduces the overall energy consumption and associated environmental impact of edge AI systems.
The integration of CMOS batteries with renewable energy sources is another promising area of research. By combining these batteries with solar cells or other renewable energy technologies, edge AI devices can become more self-sufficient and reduce their reliance on grid power. This approach aligns with broader sustainability goals and contributes to the development of more environmentally friendly AI ecosystems.
As the field of edge AI continues to evolve, the sustainability aspects of CMOS battery research will remain crucial. The ongoing efforts to improve energy efficiency, reduce environmental impact, and enhance recyclability are essential for creating a more sustainable future for AI-powered devices and systems.
Unlock deeper insights with Patsnap Eureka Quick Research — get a full tech report to explore trends and direct your research. Try now!
Generate Your Research Report Instantly with AI Agent
Supercharge your innovation with Patsnap Eureka AI Agent Platform!