Luminol: Technical Applications in Biochemical Analyses
AUG 19, 20259 MIN READ
Generate Your Research Report Instantly with AI Agent
Patsnap Eureka helps you evaluate technical feasibility & market potential.
Luminol Background and Objectives
Luminol, a versatile chemiluminescent compound, has been a cornerstone in biochemical analyses for decades. Its discovery in the early 20th century marked the beginning of a new era in forensic science and biomedical research. The compound's unique ability to emit light when oxidized has made it an invaluable tool in various analytical applications.
The evolution of luminol's applications has been closely tied to advancements in detection technologies and analytical methodologies. Initially used primarily in crime scene investigations for blood detection, luminol's potential in biochemical analyses became increasingly apparent as researchers explored its properties further. The compound's high sensitivity and specificity have led to its adoption in a wide range of fields, including environmental monitoring, food safety testing, and medical diagnostics.
In recent years, the focus of luminol-based research has shifted towards enhancing its performance and expanding its applicability. Scientists have been working on developing more stable and sensitive luminol derivatives, as well as improving detection methods to lower the limits of detection and increase the accuracy of measurements. These efforts aim to address the growing demand for more precise and reliable analytical tools in various industries.
The objectives of current luminol-related research and development are multifaceted. One primary goal is to improve the sensitivity and selectivity of luminol-based assays, enabling the detection of trace amounts of target analytes in complex biological matrices. Another objective is to develop novel luminol-based probes that can be used for real-time monitoring of biological processes in living systems, opening up new possibilities in biomedical research and clinical diagnostics.
Furthermore, researchers are exploring ways to integrate luminol-based detection systems with emerging technologies such as microfluidics and nanotechnology. These combinations have the potential to create highly efficient and miniaturized analytical platforms, suitable for point-of-care diagnostics and on-site environmental monitoring. The development of such integrated systems aligns with the broader trend towards portable and user-friendly analytical devices.
As we look to the future, the technical goals for luminol applications in biochemical analyses are becoming increasingly ambitious. There is a growing interest in developing multiplexed assays that can simultaneously detect multiple analytes using luminol and its derivatives. Additionally, efforts are being made to create "smart" luminol-based sensors that can adapt to different environmental conditions and provide more reliable results across a broader range of applications.
The evolution of luminol's applications has been closely tied to advancements in detection technologies and analytical methodologies. Initially used primarily in crime scene investigations for blood detection, luminol's potential in biochemical analyses became increasingly apparent as researchers explored its properties further. The compound's high sensitivity and specificity have led to its adoption in a wide range of fields, including environmental monitoring, food safety testing, and medical diagnostics.
In recent years, the focus of luminol-based research has shifted towards enhancing its performance and expanding its applicability. Scientists have been working on developing more stable and sensitive luminol derivatives, as well as improving detection methods to lower the limits of detection and increase the accuracy of measurements. These efforts aim to address the growing demand for more precise and reliable analytical tools in various industries.
The objectives of current luminol-related research and development are multifaceted. One primary goal is to improve the sensitivity and selectivity of luminol-based assays, enabling the detection of trace amounts of target analytes in complex biological matrices. Another objective is to develop novel luminol-based probes that can be used for real-time monitoring of biological processes in living systems, opening up new possibilities in biomedical research and clinical diagnostics.
Furthermore, researchers are exploring ways to integrate luminol-based detection systems with emerging technologies such as microfluidics and nanotechnology. These combinations have the potential to create highly efficient and miniaturized analytical platforms, suitable for point-of-care diagnostics and on-site environmental monitoring. The development of such integrated systems aligns with the broader trend towards portable and user-friendly analytical devices.
As we look to the future, the technical goals for luminol applications in biochemical analyses are becoming increasingly ambitious. There is a growing interest in developing multiplexed assays that can simultaneously detect multiple analytes using luminol and its derivatives. Additionally, efforts are being made to create "smart" luminol-based sensors that can adapt to different environmental conditions and provide more reliable results across a broader range of applications.
Market Demand Analysis
The market demand for luminol in biochemical analyses has been steadily growing, driven by its versatile applications in forensic science, medical diagnostics, and environmental monitoring. In forensic science, luminol remains a crucial tool for detecting trace amounts of blood at crime scenes, with law enforcement agencies worldwide relying on its chemiluminescent properties. This application alone contributes significantly to the market demand, as criminal investigations continue to advance in sophistication and accuracy.
In the medical diagnostics sector, luminol-based assays have gained traction for their high sensitivity in detecting various biomarkers. The increasing prevalence of chronic diseases and the growing emphasis on early diagnosis have fueled the demand for more sensitive and reliable diagnostic tools. Luminol's ability to enhance the detection limits of many biochemical assays positions it as a valuable component in developing next-generation diagnostic platforms.
Environmental monitoring represents another expanding market for luminol applications. As global concerns about water quality and pollution intensify, there is a rising need for efficient methods to detect and quantify contaminants. Luminol-based systems offer rapid and sensitive detection of pollutants, making them increasingly popular in environmental testing laboratories and water treatment facilities.
The pharmaceutical industry has also contributed to the growing demand for luminol. Its use in drug discovery processes, particularly in high-throughput screening assays, has become more prevalent. The ability of luminol to facilitate the detection of minute quantities of target molecules makes it an invaluable tool in the early stages of drug development, potentially accelerating the discovery of new therapeutic compounds.
Market trends indicate a shift towards more integrated and automated analytical systems. This trend is likely to boost the demand for luminol as a key component in these advanced platforms. The development of portable, field-deployable devices for on-site analysis in forensics and environmental monitoring is expected to further expand the market for luminol-based technologies.
Despite its widespread use, there is an ongoing push for even more sensitive and specific detection methods. This drive for innovation is stimulating research into novel luminol derivatives and improved formulations, potentially opening new market segments and applications. The convergence of luminol-based detection with other emerging technologies, such as microfluidics and nanotechnology, is expected to create additional market opportunities in the coming years.
In the medical diagnostics sector, luminol-based assays have gained traction for their high sensitivity in detecting various biomarkers. The increasing prevalence of chronic diseases and the growing emphasis on early diagnosis have fueled the demand for more sensitive and reliable diagnostic tools. Luminol's ability to enhance the detection limits of many biochemical assays positions it as a valuable component in developing next-generation diagnostic platforms.
Environmental monitoring represents another expanding market for luminol applications. As global concerns about water quality and pollution intensify, there is a rising need for efficient methods to detect and quantify contaminants. Luminol-based systems offer rapid and sensitive detection of pollutants, making them increasingly popular in environmental testing laboratories and water treatment facilities.
The pharmaceutical industry has also contributed to the growing demand for luminol. Its use in drug discovery processes, particularly in high-throughput screening assays, has become more prevalent. The ability of luminol to facilitate the detection of minute quantities of target molecules makes it an invaluable tool in the early stages of drug development, potentially accelerating the discovery of new therapeutic compounds.
Market trends indicate a shift towards more integrated and automated analytical systems. This trend is likely to boost the demand for luminol as a key component in these advanced platforms. The development of portable, field-deployable devices for on-site analysis in forensics and environmental monitoring is expected to further expand the market for luminol-based technologies.
Despite its widespread use, there is an ongoing push for even more sensitive and specific detection methods. This drive for innovation is stimulating research into novel luminol derivatives and improved formulations, potentially opening new market segments and applications. The convergence of luminol-based detection with other emerging technologies, such as microfluidics and nanotechnology, is expected to create additional market opportunities in the coming years.
Current State and Challenges
Luminol, a chemiluminescent compound, has gained significant attention in biochemical analyses due to its unique properties and versatile applications. The current state of luminol-based techniques in biochemical research is characterized by both promising advancements and persistent challenges.
In recent years, luminol has been widely adopted in forensic science, particularly for blood detection at crime scenes. Its high sensitivity and specificity in reacting with hemoglobin have made it an invaluable tool for investigators. However, the application of luminol in forensic contexts still faces challenges related to potential DNA degradation and false-positive results in certain environments.
The medical field has also embraced luminol-based assays for various diagnostic purposes. These include the detection of specific proteins, enzymes, and other biomolecules in clinical samples. While these applications show great potential, issues such as signal stability, interference from other substances, and the need for specialized equipment have limited their widespread adoption in point-of-care settings.
In the realm of environmental monitoring, luminol-based systems have been developed for detecting pollutants and assessing water quality. These methods offer rapid and sensitive detection of contaminants, but they often struggle with selectivity in complex environmental matrices. Researchers are actively working on improving the specificity of these assays to reduce false positives and enhance their reliability in field conditions.
One of the major challenges in luminol-based biochemical analyses is the optimization of reaction conditions. Factors such as pH, temperature, and the presence of catalysts significantly influence the chemiluminescence intensity and duration. Standardizing these conditions across different applications and sample types remains a hurdle for consistent and comparable results.
Another significant challenge lies in the development of more sensitive and stable luminol derivatives. While luminol itself is highly sensitive, there is an ongoing effort to create analogues with enhanced quantum yield and longer-lasting emission. These improvements are crucial for expanding the range of detectable analytes and lowering detection limits in various biochemical assays.
The integration of luminol-based detection systems with other analytical techniques presents both opportunities and challenges. Combining luminol chemiluminescence with chromatography, spectroscopy, or microfluidic devices has shown promise in enhancing sensitivity and specificity. However, these hybrid systems often require complex instrumentation and expertise, limiting their accessibility in resource-constrained settings.
As research in this field progresses, addressing these challenges will be crucial for realizing the full potential of luminol in biochemical analyses. Efforts are underway to develop more robust, user-friendly, and versatile luminol-based assays that can meet the diverse needs of researchers, clinicians, and environmental scientists alike.
In recent years, luminol has been widely adopted in forensic science, particularly for blood detection at crime scenes. Its high sensitivity and specificity in reacting with hemoglobin have made it an invaluable tool for investigators. However, the application of luminol in forensic contexts still faces challenges related to potential DNA degradation and false-positive results in certain environments.
The medical field has also embraced luminol-based assays for various diagnostic purposes. These include the detection of specific proteins, enzymes, and other biomolecules in clinical samples. While these applications show great potential, issues such as signal stability, interference from other substances, and the need for specialized equipment have limited their widespread adoption in point-of-care settings.
In the realm of environmental monitoring, luminol-based systems have been developed for detecting pollutants and assessing water quality. These methods offer rapid and sensitive detection of contaminants, but they often struggle with selectivity in complex environmental matrices. Researchers are actively working on improving the specificity of these assays to reduce false positives and enhance their reliability in field conditions.
One of the major challenges in luminol-based biochemical analyses is the optimization of reaction conditions. Factors such as pH, temperature, and the presence of catalysts significantly influence the chemiluminescence intensity and duration. Standardizing these conditions across different applications and sample types remains a hurdle for consistent and comparable results.
Another significant challenge lies in the development of more sensitive and stable luminol derivatives. While luminol itself is highly sensitive, there is an ongoing effort to create analogues with enhanced quantum yield and longer-lasting emission. These improvements are crucial for expanding the range of detectable analytes and lowering detection limits in various biochemical assays.
The integration of luminol-based detection systems with other analytical techniques presents both opportunities and challenges. Combining luminol chemiluminescence with chromatography, spectroscopy, or microfluidic devices has shown promise in enhancing sensitivity and specificity. However, these hybrid systems often require complex instrumentation and expertise, limiting their accessibility in resource-constrained settings.
As research in this field progresses, addressing these challenges will be crucial for realizing the full potential of luminol in biochemical analyses. Efforts are underway to develop more robust, user-friendly, and versatile luminol-based assays that can meet the diverse needs of researchers, clinicians, and environmental scientists alike.
Current Luminol Applications
01 Luminol in forensic applications
Luminol is widely used in forensic science for detecting trace amounts of blood at crime scenes. When luminol comes into contact with the iron in hemoglobin, it produces a blue chemiluminescence. This reaction is highly sensitive and can detect blood even after cleaning attempts. Forensic investigators use luminol-based solutions to spray suspected areas and photograph the resulting luminescence in darkened conditions.- Luminol in chemiluminescence detection: Luminol is widely used in chemiluminescence detection methods for various applications. It produces a bright blue light when oxidized, making it useful for detecting blood traces in forensic investigations, as well as in analytical chemistry for detecting certain substances or reactions.
- Luminol-based biosensors and immunoassays: Luminol is incorporated into biosensors and immunoassay systems for detecting specific biological molecules or pathogens. These systems often combine luminol with enzymes or other reagents to create highly sensitive and selective detection methods for medical diagnostics and environmental monitoring.
- Enhanced luminol formulations: Researchers have developed improved luminol formulations by combining it with other compounds or modifying its structure. These enhancements aim to increase sensitivity, stability, or specificity of luminol-based detection systems, leading to more efficient and reliable analytical methods.
- Luminol in environmental monitoring: Luminol-based systems are used for environmental monitoring applications, such as detecting pollutants in water or air. These methods often involve combining luminol with specific catalysts or reagents to create highly sensitive detection systems for various environmental contaminants.
- Luminol in imaging and visualization techniques: Luminol is utilized in various imaging and visualization techniques, particularly in biological and medical research. These applications may include cellular imaging, protein detection, or visualization of specific biological processes, taking advantage of luminol's chemiluminescent properties.
02 Luminol in medical diagnostics
Luminol has applications in medical diagnostics, particularly in detecting and quantifying various biological molecules. It can be used in immunoassays, where the luminol chemiluminescence reaction is coupled with specific antibody-antigen interactions. This allows for highly sensitive detection of biomarkers, hormones, and other substances in biological samples, aiding in disease diagnosis and monitoring.Expand Specific Solutions03 Enhanced luminol formulations
Researchers have developed enhanced luminol formulations to improve its performance in various applications. These formulations may include additives that increase the intensity or duration of the chemiluminescence, stabilize the reaction, or improve the specificity of detection. Some formulations also address issues such as pH sensitivity or interference from other substances present in the sample.Expand Specific Solutions04 Luminol in environmental monitoring
Luminol-based systems are used in environmental monitoring applications. These include detecting pollutants in water, such as heavy metals or organic compounds, by coupling the luminol reaction with specific catalysts or enzymes. The chemiluminescence produced can be measured to quantify the presence of contaminants, providing a rapid and sensitive method for environmental analysis.Expand Specific Solutions05 Luminol in analytical chemistry
In analytical chemistry, luminol is used in various techniques for detecting and quantifying chemical species. It can be incorporated into flow injection analysis systems, high-performance liquid chromatography (HPLC) detectors, and other analytical instruments. The chemiluminescence produced by luminol reactions provides a sensitive and selective means of detection for a wide range of analytes in complex mixtures.Expand Specific Solutions
Key Industry Players
The luminol technology market is in a growth phase, driven by increasing applications in biochemical analyses. The global market size for luminol and related chemiluminescence reagents is expanding, fueled by rising demand in forensic science, medical diagnostics, and research laboratories. While the core technology is mature, ongoing innovations are enhancing sensitivity and expanding applications. Key players like Promega, Bio-Rad, and Agilent Technologies are leading in developing advanced luminol-based detection systems. Academic institutions such as Washington University in St. Louis and the University of Maryland Baltimore County are contributing to fundamental research, potentially opening new avenues for luminol applications. The competitive landscape is characterized by a mix of established companies and innovative startups, with opportunities for differentiation through improved formulations and novel detection methods.
FUJIFILM Corp.
Technical Solution: FUJIFILM has developed luminol-based chemiluminescence systems for medical imaging and diagnostic applications. Their technology utilizes proprietary luminol derivatives and optimized reaction conditions to achieve high sensitivity and spatial resolution in biochemical analyses. FUJIFILM's LAS-4000 imaging system incorporates luminol-based detection for quantitative analysis of proteins and nucleic acids in various formats, including Western blots and microarrays[9]. The company has also integrated luminol chemiluminescence into their digital radiography systems, enhancing the detection of X-ray signals in medical imaging applications[10]. FUJIFILM's approach combines advanced material science with sophisticated image processing algorithms to provide high-performance solutions for both research and clinical diagnostic settings.
Strengths: High spatial resolution, integration with digital imaging systems, applicability in clinical diagnostics. Weaknesses: Specialized equipment requirements, potential for signal decay over time.
Promega Corp.
Technical Solution: Promega has developed advanced luminol-based chemiluminescence systems for biochemical analyses. Their technology utilizes enhanced luminol derivatives and optimized reaction conditions to achieve higher sensitivity and longer signal duration. The company's LuminataTM Crescendo system incorporates a stabilized luminol formulation that produces a steady light output for up to 24 hours, enabling extended kinetic measurements[1]. Additionally, Promega has engineered luciferase reporter vectors that can be coupled with luminol-based detection for highly sensitive gene expression and cellular pathway analyses in live cells[2]. Their integrated approach combines optimized reagents, instrumentation, and software for streamlined luminescence-based assays in drug discovery and life science research.
Strengths: High sensitivity, long-lasting signal, versatility for various assay formats. Weaknesses: Requires specialized instrumentation, potential for interference from sample components.
Core Luminol Innovations
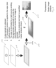
Method and apparatus for fluorogenic determination of lead concentrations
PatentInactiveUS20090208051A1
Innovation
- The use of fluorogenic and luminescent probes for rapid, cost-effective detection of lead in dust on hard surfaces, allowing for real-time visualization of lead concentrations and focusing cleanup efforts on high-impact areas, thereby improving compliance and reducing the time and materials needed for surface cleaning.
Method for producing a crystalline form of 5-amino-2,3-dihydrophthalazine-1,4-dione
PatentWO2017140422A1
Innovation
- A method involving dissolving 5-amino-2,3-dihydrophthalazine-1,4-dione in a refluxing ethanol-water solution, cooling, separating the precipitated crystals, and drying to produce a phase-pure crystalline form of luminol, which can be resuspended and washed for enhanced purity.
Regulatory Considerations
The regulatory landscape surrounding luminol's applications in biochemical analyses is complex and multifaceted, requiring careful consideration by researchers and industry professionals. In the United States, the Food and Drug Administration (FDA) plays a crucial role in overseeing the use of luminol in various analytical techniques, particularly those employed in medical diagnostics and forensic investigations. The FDA's regulatory framework ensures that luminol-based methods meet stringent safety and efficacy standards before they can be approved for clinical or forensic use.
European regulatory bodies, such as the European Medicines Agency (EMA), have established their own guidelines for the application of luminol in biochemical analyses. These regulations often focus on the validation of analytical methods, quality control procedures, and the standardization of luminol-based assays across different laboratories and institutions. Compliance with Good Laboratory Practice (GLP) and Good Manufacturing Practice (GMP) standards is typically mandatory for luminol applications in regulated environments.
In the context of forensic science, the use of luminol is subject to additional scrutiny. Many jurisdictions require that luminol-based evidence collection and analysis techniques be validated and accredited by recognized forensic science organizations. This ensures that the results obtained from luminol-enhanced investigations can withstand legal challenges and maintain their admissibility in court proceedings.
Environmental regulations also impact the use of luminol in biochemical analyses. The disposal of luminol and its reaction products must adhere to local and national environmental protection laws. This often necessitates the implementation of proper waste management protocols in laboratories and industrial settings where luminol is routinely used.
As luminol finds increasing applications in point-of-care diagnostics and portable analytical devices, regulatory bodies are adapting their frameworks to address the unique challenges posed by these emerging technologies. This includes developing guidelines for the validation of miniaturized luminol-based assays and ensuring the reliability of results obtained from portable devices in various environmental conditions.
Researchers and manufacturers working with luminol must stay abreast of evolving regulatory requirements, which may vary significantly across different regions and application domains. Continuous engagement with regulatory agencies and participation in industry standards development can help ensure compliance and facilitate the adoption of luminol-based analytical techniques in regulated environments.
European regulatory bodies, such as the European Medicines Agency (EMA), have established their own guidelines for the application of luminol in biochemical analyses. These regulations often focus on the validation of analytical methods, quality control procedures, and the standardization of luminol-based assays across different laboratories and institutions. Compliance with Good Laboratory Practice (GLP) and Good Manufacturing Practice (GMP) standards is typically mandatory for luminol applications in regulated environments.
In the context of forensic science, the use of luminol is subject to additional scrutiny. Many jurisdictions require that luminol-based evidence collection and analysis techniques be validated and accredited by recognized forensic science organizations. This ensures that the results obtained from luminol-enhanced investigations can withstand legal challenges and maintain their admissibility in court proceedings.
Environmental regulations also impact the use of luminol in biochemical analyses. The disposal of luminol and its reaction products must adhere to local and national environmental protection laws. This often necessitates the implementation of proper waste management protocols in laboratories and industrial settings where luminol is routinely used.
As luminol finds increasing applications in point-of-care diagnostics and portable analytical devices, regulatory bodies are adapting their frameworks to address the unique challenges posed by these emerging technologies. This includes developing guidelines for the validation of miniaturized luminol-based assays and ensuring the reliability of results obtained from portable devices in various environmental conditions.
Researchers and manufacturers working with luminol must stay abreast of evolving regulatory requirements, which may vary significantly across different regions and application domains. Continuous engagement with regulatory agencies and participation in industry standards development can help ensure compliance and facilitate the adoption of luminol-based analytical techniques in regulated environments.
Environmental Impact Assessment
The environmental impact of luminol in biochemical analyses is a critical consideration for its widespread application. Luminol, a chemiluminescent compound, has gained significant attention in various analytical techniques due to its high sensitivity and specificity. However, its potential effects on the environment must be carefully assessed to ensure sustainable use.
One of the primary environmental concerns associated with luminol is its persistence in aquatic ecosystems. When released into water bodies, luminol can remain stable for extended periods, potentially affecting aquatic organisms. Studies have shown that luminol may accumulate in sediments and bioaccumulate in certain aquatic species, raising concerns about long-term ecological impacts.
The biodegradability of luminol is another crucial factor in its environmental assessment. While luminol does undergo natural degradation processes, the rate of decomposition can vary depending on environmental conditions. In some cases, the breakdown products of luminol may pose additional environmental risks, necessitating further investigation into their potential effects on ecosystems.
The use of luminol in forensic applications, particularly at crime scenes, raises concerns about soil contamination. Repeated application of luminol-based solutions can lead to the accumulation of the compound and its byproducts in soil, potentially affecting soil microorganisms and plant growth. This aspect requires careful consideration in the development of protocols for luminol use in outdoor environments.
Water treatment facilities face challenges in effectively removing luminol and its derivatives from wastewater. Conventional treatment methods may not be fully effective in eliminating these compounds, leading to their potential release into natural water bodies. This highlights the need for advanced water treatment technologies specifically designed to address luminol contamination.
The production process of luminol and its precursors also warrants environmental scrutiny. Industrial synthesis of luminol may involve the use of hazardous chemicals and generate waste products that require proper disposal. Implementing green chemistry principles in luminol production could significantly reduce its environmental footprint.
Efforts to mitigate the environmental impact of luminol in biochemical analyses are ongoing. Research into biodegradable alternatives and the development of more environmentally friendly formulations are promising avenues for reducing the ecological risks associated with luminol use. Additionally, improving detection and quantification methods for luminol in environmental samples will enable more accurate monitoring and risk assessment.
One of the primary environmental concerns associated with luminol is its persistence in aquatic ecosystems. When released into water bodies, luminol can remain stable for extended periods, potentially affecting aquatic organisms. Studies have shown that luminol may accumulate in sediments and bioaccumulate in certain aquatic species, raising concerns about long-term ecological impacts.
The biodegradability of luminol is another crucial factor in its environmental assessment. While luminol does undergo natural degradation processes, the rate of decomposition can vary depending on environmental conditions. In some cases, the breakdown products of luminol may pose additional environmental risks, necessitating further investigation into their potential effects on ecosystems.
The use of luminol in forensic applications, particularly at crime scenes, raises concerns about soil contamination. Repeated application of luminol-based solutions can lead to the accumulation of the compound and its byproducts in soil, potentially affecting soil microorganisms and plant growth. This aspect requires careful consideration in the development of protocols for luminol use in outdoor environments.
Water treatment facilities face challenges in effectively removing luminol and its derivatives from wastewater. Conventional treatment methods may not be fully effective in eliminating these compounds, leading to their potential release into natural water bodies. This highlights the need for advanced water treatment technologies specifically designed to address luminol contamination.
The production process of luminol and its precursors also warrants environmental scrutiny. Industrial synthesis of luminol may involve the use of hazardous chemicals and generate waste products that require proper disposal. Implementing green chemistry principles in luminol production could significantly reduce its environmental footprint.
Efforts to mitigate the environmental impact of luminol in biochemical analyses are ongoing. Research into biodegradable alternatives and the development of more environmentally friendly formulations are promising avenues for reducing the ecological risks associated with luminol use. Additionally, improving detection and quantification methods for luminol in environmental samples will enable more accurate monitoring and risk assessment.
Unlock deeper insights with Patsnap Eureka Quick Research — get a full tech report to explore trends and direct your research. Try now!
Generate Your Research Report Instantly with AI Agent
Supercharge your innovation with Patsnap Eureka AI Agent Platform!







