Cori Cycle Variability In Different Age Groups: Study Protocols
AUG 21, 20259 MIN READ
Generate Your Research Report Instantly with AI Agent
Patsnap Eureka helps you evaluate technical feasibility & market potential.
Cori Cycle Research Background and Objectives
The Cori cycle, also known as the glucose-alanine cycle, plays a crucial role in glucose homeostasis and amino acid metabolism. This metabolic pathway has been a subject of extensive research since its discovery in the 1960s. The cycle involves the transfer of amino groups from muscle tissue to the liver, where they are converted into urea, while glucose is synthesized and returned to the muscles.
Recent studies have highlighted the importance of understanding the variability of the Cori cycle across different age groups. As the global population continues to age, there is an increasing need to comprehend how metabolic processes change throughout the lifespan. This research aims to investigate the variations in Cori cycle function among different age cohorts, ranging from young adults to the elderly.
The primary objective of this study is to establish a comprehensive protocol for assessing Cori cycle variability across age groups. By developing standardized methods for measuring key metabolites and enzymes involved in the cycle, researchers hope to create a reliable framework for future investigations in this field. This protocol will enable more accurate comparisons between age groups and potentially reveal age-related changes in glucose and amino acid metabolism.
Additionally, this research seeks to identify potential biomarkers that may indicate alterations in Cori cycle function associated with aging. Such biomarkers could prove valuable in early detection of metabolic disorders and age-related diseases. By understanding how the Cori cycle changes with age, healthcare professionals may be better equipped to develop targeted interventions and personalized treatment strategies for patients of different age groups.
The study also aims to explore the relationship between Cori cycle variability and other age-related physiological changes, such as muscle mass loss, insulin sensitivity, and liver function. This holistic approach will provide a more comprehensive understanding of how aging affects overall metabolic health and may lead to new insights into the prevention and management of age-related metabolic disorders.
Furthermore, this research will investigate the potential impact of lifestyle factors, such as diet and physical activity, on Cori cycle function across different age groups. By examining these variables, the study may uncover modifiable factors that could be targeted to maintain optimal metabolic function throughout the aging process.
In conclusion, this study on Cori cycle variability in different age groups represents a significant step forward in our understanding of age-related metabolic changes. The development of standardized protocols and the identification of potential biomarkers will pave the way for future research in this field, ultimately contributing to improved healthcare strategies for an aging population.
Recent studies have highlighted the importance of understanding the variability of the Cori cycle across different age groups. As the global population continues to age, there is an increasing need to comprehend how metabolic processes change throughout the lifespan. This research aims to investigate the variations in Cori cycle function among different age cohorts, ranging from young adults to the elderly.
The primary objective of this study is to establish a comprehensive protocol for assessing Cori cycle variability across age groups. By developing standardized methods for measuring key metabolites and enzymes involved in the cycle, researchers hope to create a reliable framework for future investigations in this field. This protocol will enable more accurate comparisons between age groups and potentially reveal age-related changes in glucose and amino acid metabolism.
Additionally, this research seeks to identify potential biomarkers that may indicate alterations in Cori cycle function associated with aging. Such biomarkers could prove valuable in early detection of metabolic disorders and age-related diseases. By understanding how the Cori cycle changes with age, healthcare professionals may be better equipped to develop targeted interventions and personalized treatment strategies for patients of different age groups.
The study also aims to explore the relationship between Cori cycle variability and other age-related physiological changes, such as muscle mass loss, insulin sensitivity, and liver function. This holistic approach will provide a more comprehensive understanding of how aging affects overall metabolic health and may lead to new insights into the prevention and management of age-related metabolic disorders.
Furthermore, this research will investigate the potential impact of lifestyle factors, such as diet and physical activity, on Cori cycle function across different age groups. By examining these variables, the study may uncover modifiable factors that could be targeted to maintain optimal metabolic function throughout the aging process.
In conclusion, this study on Cori cycle variability in different age groups represents a significant step forward in our understanding of age-related metabolic changes. The development of standardized protocols and the identification of potential biomarkers will pave the way for future research in this field, ultimately contributing to improved healthcare strategies for an aging population.
Age-Related Metabolic Demand Analysis
The Cori cycle, also known as the glucose-lactate cycle, plays a crucial role in maintaining glucose homeostasis and energy balance in the human body. As individuals age, their metabolic demands and the efficiency of the Cori cycle undergo significant changes, which can have profound implications for overall health and disease risk.
In younger age groups, the Cori cycle operates at peak efficiency, facilitating rapid glucose-lactate conversion and energy production. This high metabolic rate supports the increased energy demands of growth, physical activity, and cognitive development. The liver's capacity to convert lactate back to glucose is robust, allowing for quick recovery from intense physical exertion and maintaining stable blood glucose levels.
As individuals enter middle age, subtle shifts in metabolic demand begin to emerge. The basal metabolic rate typically decreases, leading to a reduction in overall energy expenditure. This change can affect the Cori cycle's dynamics, potentially altering the balance between glucose production and utilization. Middle-aged adults may experience a gradual decline in muscle mass and insulin sensitivity, which can impact the cycle's efficiency in managing glucose levels during periods of fasting or exercise.
In older age groups, more pronounced changes in metabolic demand become evident. The decline in muscle mass accelerates, leading to a further reduction in basal metabolic rate and altered glucose uptake patterns. Aging is associated with decreased insulin sensitivity and impaired glucose tolerance, which can significantly affect the Cori cycle's ability to maintain glucose homeostasis. The liver's capacity to convert lactate back to glucose may diminish, potentially leading to prolonged recovery times after physical exertion and increased risk of hypoglycemia.
Furthermore, age-related changes in hormone levels, particularly growth hormone and cortisol, can influence the Cori cycle's function. These hormonal shifts can affect gluconeogenesis rates and overall glucose metabolism, contributing to the increased prevalence of metabolic disorders in older populations.
The analysis of age-related metabolic demands in the context of the Cori cycle variability is essential for understanding the physiological changes that occur throughout the lifespan. This knowledge can inform targeted interventions and treatment strategies for managing metabolic health across different age groups, potentially improving overall quality of life and reducing the risk of age-related metabolic disorders.
In younger age groups, the Cori cycle operates at peak efficiency, facilitating rapid glucose-lactate conversion and energy production. This high metabolic rate supports the increased energy demands of growth, physical activity, and cognitive development. The liver's capacity to convert lactate back to glucose is robust, allowing for quick recovery from intense physical exertion and maintaining stable blood glucose levels.
As individuals enter middle age, subtle shifts in metabolic demand begin to emerge. The basal metabolic rate typically decreases, leading to a reduction in overall energy expenditure. This change can affect the Cori cycle's dynamics, potentially altering the balance between glucose production and utilization. Middle-aged adults may experience a gradual decline in muscle mass and insulin sensitivity, which can impact the cycle's efficiency in managing glucose levels during periods of fasting or exercise.
In older age groups, more pronounced changes in metabolic demand become evident. The decline in muscle mass accelerates, leading to a further reduction in basal metabolic rate and altered glucose uptake patterns. Aging is associated with decreased insulin sensitivity and impaired glucose tolerance, which can significantly affect the Cori cycle's ability to maintain glucose homeostasis. The liver's capacity to convert lactate back to glucose may diminish, potentially leading to prolonged recovery times after physical exertion and increased risk of hypoglycemia.
Furthermore, age-related changes in hormone levels, particularly growth hormone and cortisol, can influence the Cori cycle's function. These hormonal shifts can affect gluconeogenesis rates and overall glucose metabolism, contributing to the increased prevalence of metabolic disorders in older populations.
The analysis of age-related metabolic demands in the context of the Cori cycle variability is essential for understanding the physiological changes that occur throughout the lifespan. This knowledge can inform targeted interventions and treatment strategies for managing metabolic health across different age groups, potentially improving overall quality of life and reducing the risk of age-related metabolic disorders.
Current Challenges in Cori Cycle Assessment
The assessment of the Cori cycle, a crucial metabolic pathway in glucose homeostasis, faces several significant challenges in contemporary research. One of the primary obstacles is the inherent variability of the cycle across different age groups, which complicates standardized measurement and interpretation of results.
The dynamic nature of glucose metabolism throughout the human lifespan presents a formidable challenge. As individuals age, their metabolic profiles undergo substantial changes, affecting the efficiency and regulation of the Cori cycle. This age-related variability makes it difficult to establish universal benchmarks for cycle activity, necessitating the development of age-specific reference ranges.
Another critical challenge lies in the non-invasive measurement of Cori cycle activity. Current methods often rely on invasive techniques, such as liver biopsies or complex isotope tracing studies, which are not suitable for routine clinical assessments or large-scale population studies. The development of reliable, non-invasive biomarkers for Cori cycle function remains an active area of research, with potential applications in diagnosing metabolic disorders and monitoring treatment efficacy.
The influence of various physiological and pathological states on Cori cycle function further complicates assessment efforts. Factors such as nutritional status, physical activity levels, and the presence of metabolic diseases can significantly alter cycle dynamics. Researchers must account for these confounding variables to accurately interpret Cori cycle data, particularly when comparing across different age groups or clinical populations.
Technological limitations also pose challenges in Cori cycle assessment. Current imaging techniques lack the spatial and temporal resolution required to visualize and quantify cycle activity in real-time. Advanced imaging modalities, such as high-resolution magnetic resonance spectroscopy, show promise but are not yet widely available or standardized for clinical use.
The integration of Cori cycle assessment with other metabolic parameters presents another hurdle. The cycle does not operate in isolation but is intricately connected with various metabolic pathways. Developing comprehensive models that account for these interactions while maintaining clinical applicability is a complex task that researchers continue to grapple with.
Lastly, the translation of Cori cycle research findings into clinical practice remains challenging. Despite its fundamental role in glucose metabolism, the direct clinical relevance of Cori cycle assessment is not always clear. Establishing robust correlations between cycle alterations and specific disease states or treatment outcomes is an ongoing process that requires extensive validation across diverse patient populations.
The dynamic nature of glucose metabolism throughout the human lifespan presents a formidable challenge. As individuals age, their metabolic profiles undergo substantial changes, affecting the efficiency and regulation of the Cori cycle. This age-related variability makes it difficult to establish universal benchmarks for cycle activity, necessitating the development of age-specific reference ranges.
Another critical challenge lies in the non-invasive measurement of Cori cycle activity. Current methods often rely on invasive techniques, such as liver biopsies or complex isotope tracing studies, which are not suitable for routine clinical assessments or large-scale population studies. The development of reliable, non-invasive biomarkers for Cori cycle function remains an active area of research, with potential applications in diagnosing metabolic disorders and monitoring treatment efficacy.
The influence of various physiological and pathological states on Cori cycle function further complicates assessment efforts. Factors such as nutritional status, physical activity levels, and the presence of metabolic diseases can significantly alter cycle dynamics. Researchers must account for these confounding variables to accurately interpret Cori cycle data, particularly when comparing across different age groups or clinical populations.
Technological limitations also pose challenges in Cori cycle assessment. Current imaging techniques lack the spatial and temporal resolution required to visualize and quantify cycle activity in real-time. Advanced imaging modalities, such as high-resolution magnetic resonance spectroscopy, show promise but are not yet widely available or standardized for clinical use.
The integration of Cori cycle assessment with other metabolic parameters presents another hurdle. The cycle does not operate in isolation but is intricately connected with various metabolic pathways. Developing comprehensive models that account for these interactions while maintaining clinical applicability is a complex task that researchers continue to grapple with.
Lastly, the translation of Cori cycle research findings into clinical practice remains challenging. Despite its fundamental role in glucose metabolism, the direct clinical relevance of Cori cycle assessment is not always clear. Establishing robust correlations between cycle alterations and specific disease states or treatment outcomes is an ongoing process that requires extensive validation across diverse patient populations.
Existing Protocols for Cori Cycle Measurement
01 Monitoring and analysis of Cori cycle variability
Systems and methods for monitoring and analyzing the variability in the Cori cycle, which is crucial for understanding glucose metabolism. This involves measuring various parameters related to glucose production and utilization, and using advanced algorithms to interpret the data and identify patterns or anomalies in the cycle's function.- Monitoring and analyzing Cori cycle variability: Systems and methods for monitoring and analyzing variations in the Cori cycle, which is crucial for glucose homeostasis. These approaches involve measuring metabolic parameters, such as glucose and lactate levels, to assess the cycle's efficiency and identify potential abnormalities in glucose metabolism.
- Glucose monitoring devices incorporating Cori cycle analysis: Development of glucose monitoring devices that take into account Cori cycle variability. These devices use advanced algorithms to interpret glucose fluctuations in the context of the Cori cycle, providing more accurate and personalized glucose management for patients with diabetes or other metabolic disorders.
- Cori cycle variability in exercise physiology: Exploration of Cori cycle variability in the context of exercise physiology. This includes studying how exercise intensity and duration affect the cycle's dynamics, and developing methods to optimize athletic performance and recovery based on individual Cori cycle patterns.
- Computational models for Cori cycle variability: Creation of computational models and simulations to predict and analyze Cori cycle variability. These models integrate various physiological parameters and can be used to study the cycle's behavior under different conditions, aiding in research and personalized medicine approaches.
- Therapeutic interventions targeting Cori cycle variability: Development of therapeutic interventions that target Cori cycle variability to improve metabolic health. This includes designing drugs or lifestyle interventions that can modulate the cycle's activity, potentially benefiting patients with metabolic disorders or improving overall health outcomes.
02 Devices for assessing Cori cycle function
Development of specialized devices and sensors for assessing Cori cycle function in real-time. These devices may include wearable technologies, implantable sensors, or non-invasive monitoring systems that can continuously track relevant biomarkers and provide insights into the cycle's variability.Expand Specific Solutions03 Machine learning applications in Cori cycle analysis
Integration of machine learning and artificial intelligence techniques to analyze complex data sets related to Cori cycle variability. These advanced computational methods can help identify subtle patterns, predict potential disruptions in the cycle, and personalize treatment strategies based on individual metabolic profiles.Expand Specific Solutions04 Therapeutic interventions targeting Cori cycle variability
Development of therapeutic interventions specifically designed to address abnormalities or excessive variability in the Cori cycle. This may include pharmaceutical compounds, dietary interventions, or lifestyle modifications aimed at stabilizing glucose metabolism and improving overall metabolic health.Expand Specific Solutions05 Integration of Cori cycle data with other physiological parameters
Methods and systems for integrating Cori cycle variability data with other physiological parameters to provide a more comprehensive understanding of metabolic health. This holistic approach combines information from multiple bodily systems to create a more accurate picture of overall health status and guide personalized treatment strategies.Expand Specific Solutions
Key Institutions in Metabolic Research
The study on Cori Cycle variability across age groups is in an early developmental stage, as evidenced by the focus on study protocols. This emerging field combines metabolic research with age-related factors, indicating a growing interest in personalized medicine. The market size is potentially significant, given the global aging population and increasing focus on metabolic health. However, the technology's maturity is still evolving. Key players like Metabolon, Inc. and Elixir Pharmaceuticals are leveraging their expertise in metabolomics and age-related diseases, respectively, to advance this research. Academic institutions such as MIT and Yale University are also contributing to the knowledge base, suggesting a collaborative approach between industry and academia in this developing area.
Baylor College of Medicine
Technical Solution: Baylor College of Medicine has developed a comprehensive approach to study Cori cycle variability across different age groups. Their protocol involves a multi-phase study design, incorporating both cross-sectional and longitudinal components. The research team utilizes advanced metabolomics techniques to measure glycogen synthesis and breakdown rates in vivo. They employ stable isotope tracers to track glucose metabolism and quantify hepatic glucose production rates[1]. Additionally, they have implemented a novel non-invasive imaging technique to assess liver glycogen content in real-time, allowing for more accurate measurements of Cori cycle activity[2]. The study also includes detailed genetic profiling to identify potential age-related genetic factors influencing Cori cycle efficiency.
Strengths: Comprehensive approach combining multiple techniques; Non-invasive real-time glycogen measurement. Weaknesses: Potential complexity in data interpretation; Resource-intensive protocol.
United States Department of Veterans Affairs
Technical Solution: The VA has developed a large-scale, longitudinal study protocol to investigate Cori cycle variability in different age groups, with a particular focus on veterans. Their approach leverages the extensive VA healthcare system to recruit a diverse cohort of participants across multiple age brackets. The study incorporates regular health assessments, including fasting blood glucose tests, oral glucose tolerance tests, and hyperinsulinemic-euglycemic clamp studies to assess insulin sensitivity[3]. They also utilize continuous glucose monitoring (CGM) technology to capture real-time glucose fluctuations over extended periods. The VA's protocol includes a standardized exercise regimen to evaluate the impact of physical activity on Cori cycle efficiency across age groups[4]. Additionally, they have implemented a nutritional intervention component to assess how dietary factors influence Cori cycle variability with age.
Strengths: Large-scale, longitudinal design; Access to diverse veteran population. Weaknesses: Potential bias towards specific demographic groups; Complexity of long-term participant retention.
Innovative Techniques in Metabolic Flux Analysis
Physical fitness training methods
PatentWO2020096788A1
Innovation
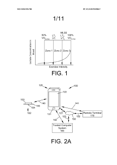
- The use of lactate-responsive sensors that provide continuous, accurate measurements of lactate concentrations over extended periods, allowing for real-time adjustments to training protocols based on lactate clearance rates and individual fitness levels.
Ethical Considerations in Age Group Studies
Ethical considerations play a crucial role in age group studies, particularly when investigating the Cori cycle variability across different age ranges. These studies must adhere to strict ethical guidelines to ensure the protection and well-being of participants while maintaining scientific integrity.
One of the primary ethical concerns in age group studies is informed consent. Researchers must obtain voluntary and informed consent from all participants, taking into account the varying cognitive abilities and decision-making capacities across different age groups. For younger participants, parental or guardian consent is essential, while older adults may require additional safeguards to ensure their full understanding and willingness to participate.
Confidentiality and privacy protection are paramount in age group studies. Researchers must implement robust data protection measures to safeguard participants' personal information and medical records. This includes anonymizing data, using secure storage systems, and limiting access to sensitive information only to authorized personnel.
The principle of beneficence requires researchers to maximize potential benefits while minimizing risks to participants. In Cori cycle variability studies, this involves carefully weighing the potential scientific gains against any physical or psychological discomfort that participants may experience during the research process.
Non-maleficence, or the obligation to do no harm, is another critical ethical consideration. Researchers must ensure that study protocols, including any invasive procedures or dietary interventions, do not pose undue risks to participants of any age group. This may involve tailoring study procedures to accommodate the specific needs and vulnerabilities of different age cohorts.
Justice and fairness in participant selection and treatment are essential ethical principles. Researchers must ensure that the selection of age groups for the study is scientifically justified and not based on convenience or bias. Additionally, the distribution of potential benefits and risks should be equitable across all age groups involved in the study.
Respect for autonomy is particularly important when dealing with diverse age groups. Researchers must recognize and respect the right of participants to make their own decisions about participation, including the right to withdraw from the study at any time without negative consequences.
Ethical review boards play a crucial role in overseeing age group studies. These boards must carefully evaluate study protocols to ensure they meet all ethical standards and provide adequate protections for participants of all ages. This includes assessing the appropriateness of study designs, recruitment methods, and data collection procedures for each age group involved.
In conclusion, conducting ethical age group studies on Cori cycle variability requires a comprehensive approach that addresses informed consent, privacy protection, risk-benefit analysis, fairness, and respect for participant autonomy. By adhering to these ethical principles, researchers can ensure the integrity of their scientific findings while protecting the rights and well-being of study participants across all age groups.
One of the primary ethical concerns in age group studies is informed consent. Researchers must obtain voluntary and informed consent from all participants, taking into account the varying cognitive abilities and decision-making capacities across different age groups. For younger participants, parental or guardian consent is essential, while older adults may require additional safeguards to ensure their full understanding and willingness to participate.
Confidentiality and privacy protection are paramount in age group studies. Researchers must implement robust data protection measures to safeguard participants' personal information and medical records. This includes anonymizing data, using secure storage systems, and limiting access to sensitive information only to authorized personnel.
The principle of beneficence requires researchers to maximize potential benefits while minimizing risks to participants. In Cori cycle variability studies, this involves carefully weighing the potential scientific gains against any physical or psychological discomfort that participants may experience during the research process.
Non-maleficence, or the obligation to do no harm, is another critical ethical consideration. Researchers must ensure that study protocols, including any invasive procedures or dietary interventions, do not pose undue risks to participants of any age group. This may involve tailoring study procedures to accommodate the specific needs and vulnerabilities of different age cohorts.
Justice and fairness in participant selection and treatment are essential ethical principles. Researchers must ensure that the selection of age groups for the study is scientifically justified and not based on convenience or bias. Additionally, the distribution of potential benefits and risks should be equitable across all age groups involved in the study.
Respect for autonomy is particularly important when dealing with diverse age groups. Researchers must recognize and respect the right of participants to make their own decisions about participation, including the right to withdraw from the study at any time without negative consequences.
Ethical review boards play a crucial role in overseeing age group studies. These boards must carefully evaluate study protocols to ensure they meet all ethical standards and provide adequate protections for participants of all ages. This includes assessing the appropriateness of study designs, recruitment methods, and data collection procedures for each age group involved.
In conclusion, conducting ethical age group studies on Cori cycle variability requires a comprehensive approach that addresses informed consent, privacy protection, risk-benefit analysis, fairness, and respect for participant autonomy. By adhering to these ethical principles, researchers can ensure the integrity of their scientific findings while protecting the rights and well-being of study participants across all age groups.
Regulatory Framework for Metabolic Research
The regulatory framework for metabolic research is a critical aspect of conducting studies on the Cori cycle variability across different age groups. This framework encompasses a range of guidelines, policies, and ethical considerations that researchers must adhere to when designing and implementing study protocols.
At the international level, organizations such as the World Health Organization (WHO) and the International Conference on Harmonisation of Technical Requirements for Registration of Pharmaceuticals for Human Use (ICH) provide overarching guidelines for metabolic research. These guidelines emphasize the importance of ethical conduct, patient safety, and data integrity in clinical trials and observational studies.
In the United States, the Food and Drug Administration (FDA) plays a pivotal role in regulating metabolic research. The FDA's guidance documents outline specific requirements for study design, participant selection, and data collection methods. For studies involving the Cori cycle, researchers must comply with FDA regulations on human subject protection, informed consent, and the use of investigational drugs or devices.
The European Medicines Agency (EMA) provides a comprehensive regulatory framework for metabolic research within the European Union. The EMA's guidelines address various aspects of clinical trial design, including age-specific considerations for pediatric and geriatric populations, which are particularly relevant for studies examining Cori cycle variability across different age groups.
Institutional Review Boards (IRBs) or Ethics Committees play a crucial role in ensuring that research protocols meet ethical standards and regulatory requirements. These bodies review study designs, informed consent procedures, and risk-benefit assessments to protect the rights and welfare of research participants.
Data protection regulations, such as the General Data Protection Regulation (GDPR) in the EU and the Health Insurance Portability and Accountability Act (HIPAA) in the US, impose strict requirements on the collection, storage, and handling of personal health information. Researchers must implement robust data management systems to ensure compliance with these regulations throughout the study lifecycle.
Age-specific regulations are particularly relevant for studies on Cori cycle variability across different age groups. Pediatric research is subject to additional safeguards, including specialized consent procedures and age-appropriate risk assessments. Similarly, research involving older adults may require specific considerations for capacity assessment and the involvement of legally authorized representatives.
Researchers must also adhere to good clinical practice (GCP) guidelines, which provide an international ethical and scientific quality standard for designing, conducting, recording, and reporting trials involving human subjects. These guidelines ensure that the rights, safety, and well-being of trial subjects are protected and that clinical trial data are credible.
At the international level, organizations such as the World Health Organization (WHO) and the International Conference on Harmonisation of Technical Requirements for Registration of Pharmaceuticals for Human Use (ICH) provide overarching guidelines for metabolic research. These guidelines emphasize the importance of ethical conduct, patient safety, and data integrity in clinical trials and observational studies.
In the United States, the Food and Drug Administration (FDA) plays a pivotal role in regulating metabolic research. The FDA's guidance documents outline specific requirements for study design, participant selection, and data collection methods. For studies involving the Cori cycle, researchers must comply with FDA regulations on human subject protection, informed consent, and the use of investigational drugs or devices.
The European Medicines Agency (EMA) provides a comprehensive regulatory framework for metabolic research within the European Union. The EMA's guidelines address various aspects of clinical trial design, including age-specific considerations for pediatric and geriatric populations, which are particularly relevant for studies examining Cori cycle variability across different age groups.
Institutional Review Boards (IRBs) or Ethics Committees play a crucial role in ensuring that research protocols meet ethical standards and regulatory requirements. These bodies review study designs, informed consent procedures, and risk-benefit assessments to protect the rights and welfare of research participants.
Data protection regulations, such as the General Data Protection Regulation (GDPR) in the EU and the Health Insurance Portability and Accountability Act (HIPAA) in the US, impose strict requirements on the collection, storage, and handling of personal health information. Researchers must implement robust data management systems to ensure compliance with these regulations throughout the study lifecycle.
Age-specific regulations are particularly relevant for studies on Cori cycle variability across different age groups. Pediatric research is subject to additional safeguards, including specialized consent procedures and age-appropriate risk assessments. Similarly, research involving older adults may require specific considerations for capacity assessment and the involvement of legally authorized representatives.
Researchers must also adhere to good clinical practice (GCP) guidelines, which provide an international ethical and scientific quality standard for designing, conducting, recording, and reporting trials involving human subjects. These guidelines ensure that the rights, safety, and well-being of trial subjects are protected and that clinical trial data are credible.
Unlock deeper insights with Patsnap Eureka Quick Research — get a full tech report to explore trends and direct your research. Try now!
Generate Your Research Report Instantly with AI Agent
Supercharge your innovation with Patsnap Eureka AI Agent Platform!



