Advanced user interfaces in mild hybrid vehicles for improved usability
AUG 18, 20259 MIN READ
Generate Your Research Report Instantly with AI Agent
Patsnap Eureka helps you evaluate technical feasibility & market potential.
HMI Evolution in Mild Hybrids
The evolution of Human-Machine Interfaces (HMI) in mild hybrid vehicles represents a significant advancement in automotive technology, aimed at enhancing user experience and vehicle efficiency. This progression has been driven by the increasing complexity of hybrid powertrains and the need for more intuitive driver interactions.
In the early stages of mild hybrid development, HMIs were relatively basic, often limited to simple displays showing battery charge status and basic power flow information. As mild hybrid systems became more sophisticated, the interfaces evolved to provide more detailed information about energy management and vehicle performance.
A key milestone in HMI evolution was the introduction of real-time feedback systems. These interfaces began to offer drivers instant information on energy recuperation during braking, optimal acceleration patterns for efficiency, and detailed breakdowns of power distribution between the electric motor and internal combustion engine.
The integration of larger, high-resolution touchscreens marked another significant step. These screens allowed for more comprehensive data visualization, including detailed energy flow diagrams, performance metrics, and customizable display options. This shift enabled drivers to better understand and interact with their vehicle's hybrid system.
Advanced driver assistance systems (ADAS) integration has been a recent focus in HMI development for mild hybrids. These interfaces now often include features such as predictive energy management, which uses GPS and traffic data to optimize the use of electric power based on upcoming road conditions and traffic patterns.
Personalization has become a key trend, with HMIs now offering customizable layouts and information displays tailored to individual driver preferences. This includes the ability to prioritize certain types of information, such as fuel efficiency data or performance metrics, based on the driver's interests and driving style.
Voice command integration and natural language processing have further enhanced the usability of these interfaces. Drivers can now control various aspects of the mild hybrid system through voice commands, reducing the need for manual inputs and enhancing safety.
The latest developments in HMI for mild hybrids include augmented reality (AR) displays. These systems project relevant information onto the windshield, providing real-time data on energy usage, optimal driving routes for efficiency, and potential energy-saving opportunities without requiring the driver to look away from the road.
As mild hybrid technology continues to advance, HMIs are expected to become even more sophisticated, potentially incorporating AI-driven predictive interfaces that can anticipate driver needs and optimize vehicle performance in real-time, further enhancing the synergy between driver and vehicle.
In the early stages of mild hybrid development, HMIs were relatively basic, often limited to simple displays showing battery charge status and basic power flow information. As mild hybrid systems became more sophisticated, the interfaces evolved to provide more detailed information about energy management and vehicle performance.
A key milestone in HMI evolution was the introduction of real-time feedback systems. These interfaces began to offer drivers instant information on energy recuperation during braking, optimal acceleration patterns for efficiency, and detailed breakdowns of power distribution between the electric motor and internal combustion engine.
The integration of larger, high-resolution touchscreens marked another significant step. These screens allowed for more comprehensive data visualization, including detailed energy flow diagrams, performance metrics, and customizable display options. This shift enabled drivers to better understand and interact with their vehicle's hybrid system.
Advanced driver assistance systems (ADAS) integration has been a recent focus in HMI development for mild hybrids. These interfaces now often include features such as predictive energy management, which uses GPS and traffic data to optimize the use of electric power based on upcoming road conditions and traffic patterns.
Personalization has become a key trend, with HMIs now offering customizable layouts and information displays tailored to individual driver preferences. This includes the ability to prioritize certain types of information, such as fuel efficiency data or performance metrics, based on the driver's interests and driving style.
Voice command integration and natural language processing have further enhanced the usability of these interfaces. Drivers can now control various aspects of the mild hybrid system through voice commands, reducing the need for manual inputs and enhancing safety.
The latest developments in HMI for mild hybrids include augmented reality (AR) displays. These systems project relevant information onto the windshield, providing real-time data on energy usage, optimal driving routes for efficiency, and potential energy-saving opportunities without requiring the driver to look away from the road.
As mild hybrid technology continues to advance, HMIs are expected to become even more sophisticated, potentially incorporating AI-driven predictive interfaces that can anticipate driver needs and optimize vehicle performance in real-time, further enhancing the synergy between driver and vehicle.
Market Demand Analysis
The market demand for advanced user interfaces in mild hybrid vehicles is experiencing significant growth, driven by the increasing consumer expectations for seamless integration of technology and improved usability in automotive systems. As mild hybrid vehicles gain popularity due to their fuel efficiency and reduced emissions, there is a growing need for intuitive and user-friendly interfaces that can effectively manage the complex hybrid powertrain systems while enhancing the overall driving experience.
Consumer surveys indicate that drivers are seeking more sophisticated and responsive interfaces that provide real-time information about the vehicle's hybrid system performance, energy consumption, and regenerative braking efficiency. This demand is particularly strong among tech-savvy consumers who expect their vehicles to offer the same level of interactivity and connectivity as their smartphones and other personal devices.
The automotive industry has recognized this trend, with major manufacturers investing heavily in the development of advanced user interfaces for their mild hybrid models. These interfaces are designed to simplify the operation of hybrid systems, providing drivers with clear and actionable information about energy flow, battery status, and optimal driving modes to maximize fuel efficiency.
Market research suggests that vehicles equipped with advanced user interfaces command a premium price and enjoy higher customer satisfaction ratings. This has led to increased competition among automakers to develop and implement cutting-edge interface technologies, driving innovation in areas such as augmented reality displays, haptic feedback controls, and voice-activated commands tailored for hybrid vehicle operations.
The demand for improved usability extends beyond the driver's seat, with passengers also expecting enhanced interaction with the vehicle's systems. This has led to the development of multi-zone interfaces that allow for personalized control of climate, entertainment, and information systems throughout the vehicle.
Furthermore, the integration of smartphone connectivity and cloud-based services into these advanced interfaces is becoming a key differentiator in the market. Consumers are showing a strong preference for vehicles that offer seamless integration with their digital lives, including features such as remote vehicle monitoring, predictive maintenance alerts, and personalized driving tips to optimize hybrid system performance.
As environmental concerns continue to shape consumer preferences, the demand for mild hybrid vehicles with advanced user interfaces is expected to grow significantly in the coming years. Market analysts project that this segment will experience double-digit growth rates, outpacing the overall automotive market. This trend is likely to be further accelerated by regulatory pressures and incentives promoting the adoption of more fuel-efficient vehicles.
Consumer surveys indicate that drivers are seeking more sophisticated and responsive interfaces that provide real-time information about the vehicle's hybrid system performance, energy consumption, and regenerative braking efficiency. This demand is particularly strong among tech-savvy consumers who expect their vehicles to offer the same level of interactivity and connectivity as their smartphones and other personal devices.
The automotive industry has recognized this trend, with major manufacturers investing heavily in the development of advanced user interfaces for their mild hybrid models. These interfaces are designed to simplify the operation of hybrid systems, providing drivers with clear and actionable information about energy flow, battery status, and optimal driving modes to maximize fuel efficiency.
Market research suggests that vehicles equipped with advanced user interfaces command a premium price and enjoy higher customer satisfaction ratings. This has led to increased competition among automakers to develop and implement cutting-edge interface technologies, driving innovation in areas such as augmented reality displays, haptic feedback controls, and voice-activated commands tailored for hybrid vehicle operations.
The demand for improved usability extends beyond the driver's seat, with passengers also expecting enhanced interaction with the vehicle's systems. This has led to the development of multi-zone interfaces that allow for personalized control of climate, entertainment, and information systems throughout the vehicle.
Furthermore, the integration of smartphone connectivity and cloud-based services into these advanced interfaces is becoming a key differentiator in the market. Consumers are showing a strong preference for vehicles that offer seamless integration with their digital lives, including features such as remote vehicle monitoring, predictive maintenance alerts, and personalized driving tips to optimize hybrid system performance.
As environmental concerns continue to shape consumer preferences, the demand for mild hybrid vehicles with advanced user interfaces is expected to grow significantly in the coming years. Market analysts project that this segment will experience double-digit growth rates, outpacing the overall automotive market. This trend is likely to be further accelerated by regulatory pressures and incentives promoting the adoption of more fuel-efficient vehicles.
Current HMI Challenges
The current Human-Machine Interface (HMI) challenges in mild hybrid vehicles primarily revolve around the complexity of integrating traditional combustion engine controls with electric powertrain components. As these vehicles combine conventional and electric propulsion systems, the user interface must effectively communicate the interplay between these two power sources, which can be confusing for drivers accustomed to traditional vehicles.
One significant challenge is presenting real-time energy flow information in an intuitive manner. Drivers need to understand when the electric motor is assisting the combustion engine, when regenerative braking is active, and how their driving behavior affects overall efficiency. However, conveying this information without overwhelming the driver or distracting from the primary task of operating the vehicle safely remains a considerable hurdle.
Another key issue is the seamless integration of hybrid-specific functions into existing vehicle controls. For instance, incorporating drive mode selection (e.g., eco, sport, or electric-only modes) and displaying battery charge status alongside traditional gauges can lead to cluttered interfaces if not carefully designed. This challenge is exacerbated by the limited dashboard space available in many vehicles.
The complexity of mild hybrid systems also presents challenges in providing clear feedback on vehicle performance and efficiency. Drivers often struggle to understand the impact of their actions on fuel consumption and battery charge levels, leading to suboptimal usage of the hybrid powertrain. Developing intuitive visualizations that encourage efficient driving behaviors without causing cognitive overload is a persistent challenge for HMI designers.
Furthermore, the integration of advanced driver assistance systems (ADAS) in mild hybrid vehicles adds another layer of complexity to the user interface. Balancing the presentation of hybrid system information with critical safety alerts and semi-autonomous driving features requires careful consideration of information hierarchy and user attention management.
Customization and personalization of the HMI also present challenges. Different drivers may have varying levels of interest in detailed hybrid system data, necessitating adaptable interfaces that can cater to both tech-savvy users and those who prefer simpler, more traditional displays. Achieving this flexibility without compromising usability or increasing manufacturing costs is a significant hurdle for automotive manufacturers.
Lastly, ensuring consistency across different vehicle models and trim levels within a manufacturer's lineup poses additional challenges. As mild hybrid technology is increasingly adopted across various vehicle segments, maintaining a cohesive and familiar user experience while accommodating different hybrid system configurations and vehicle capabilities requires careful planning and standardization efforts.
One significant challenge is presenting real-time energy flow information in an intuitive manner. Drivers need to understand when the electric motor is assisting the combustion engine, when regenerative braking is active, and how their driving behavior affects overall efficiency. However, conveying this information without overwhelming the driver or distracting from the primary task of operating the vehicle safely remains a considerable hurdle.
Another key issue is the seamless integration of hybrid-specific functions into existing vehicle controls. For instance, incorporating drive mode selection (e.g., eco, sport, or electric-only modes) and displaying battery charge status alongside traditional gauges can lead to cluttered interfaces if not carefully designed. This challenge is exacerbated by the limited dashboard space available in many vehicles.
The complexity of mild hybrid systems also presents challenges in providing clear feedback on vehicle performance and efficiency. Drivers often struggle to understand the impact of their actions on fuel consumption and battery charge levels, leading to suboptimal usage of the hybrid powertrain. Developing intuitive visualizations that encourage efficient driving behaviors without causing cognitive overload is a persistent challenge for HMI designers.
Furthermore, the integration of advanced driver assistance systems (ADAS) in mild hybrid vehicles adds another layer of complexity to the user interface. Balancing the presentation of hybrid system information with critical safety alerts and semi-autonomous driving features requires careful consideration of information hierarchy and user attention management.
Customization and personalization of the HMI also present challenges. Different drivers may have varying levels of interest in detailed hybrid system data, necessitating adaptable interfaces that can cater to both tech-savvy users and those who prefer simpler, more traditional displays. Achieving this flexibility without compromising usability or increasing manufacturing costs is a significant hurdle for automotive manufacturers.
Lastly, ensuring consistency across different vehicle models and trim levels within a manufacturer's lineup poses additional challenges. As mild hybrid technology is increasingly adopted across various vehicle segments, maintaining a cohesive and familiar user experience while accommodating different hybrid system configurations and vehicle capabilities requires careful planning and standardization efforts.
Existing HMI Approaches
01 Adaptive user interface design
Implementing adaptive user interfaces that can adjust based on user behavior, preferences, and context. This approach enhances usability by providing personalized experiences and reducing cognitive load for users. The interface can dynamically change layout, content, and functionality to better suit individual needs and improve overall user satisfaction.- Adaptive user interfaces: Adaptive user interfaces dynamically adjust their layout, content, and functionality based on user behavior, preferences, and context. This approach enhances usability by providing personalized experiences and reducing cognitive load for users. Adaptive interfaces can learn from user interactions and optimize the interface elements for improved efficiency and user satisfaction.
- Usability testing and evaluation: Usability testing and evaluation methods are crucial for assessing and improving user interfaces. These techniques involve gathering user feedback, analyzing user behavior, and measuring performance metrics to identify usability issues and areas for improvement. Various tools and methodologies can be employed to conduct usability tests and evaluate the effectiveness of user interfaces.
- Gesture-based interfaces: Gesture-based interfaces utilize natural hand movements and gestures to interact with digital devices, enhancing usability by providing intuitive and efficient input methods. These interfaces can improve user experience by reducing the reliance on traditional input devices and allowing for more natural and fluid interactions with the system.
- Accessibility features: Incorporating accessibility features in user interfaces ensures that they are usable by people with various disabilities. This includes implementing screen readers, voice commands, high-contrast modes, and other assistive technologies. By designing interfaces with accessibility in mind, usability is improved for all users, regardless of their abilities or limitations.
- Multi-device synchronization: Multi-device synchronization allows users to seamlessly transition between different devices while maintaining a consistent user interface and experience. This approach enhances usability by providing continuity across platforms and enabling users to access their data and preferences on any device. Synchronization techniques can include cloud-based storage, real-time updates, and cross-device compatibility.
02 Gesture-based interaction
Incorporating gesture-based interactions in user interfaces to improve usability and provide a more intuitive user experience. This includes recognizing and interpreting various hand movements, touch gestures, and body motions to control and navigate the interface. Gesture-based interactions can simplify complex tasks and make the interface more accessible to a wider range of users.Expand Specific Solutions03 Voice-controlled interfaces
Developing voice-controlled interfaces to enhance usability by allowing users to interact with the system through natural language commands. This technology improves accessibility for users with physical limitations and provides a hands-free interaction option. Voice-controlled interfaces can be particularly useful in scenarios where traditional input methods are impractical or inconvenient.Expand Specific Solutions04 User interface testing and optimization
Implementing comprehensive testing and optimization processes for user interfaces to identify and resolve usability issues. This includes conducting user studies, analyzing user behavior, and employing automated testing tools to evaluate interface performance. Continuous optimization based on user feedback and data analysis helps improve the overall usability and user satisfaction of the interface.Expand Specific Solutions05 Accessibility features for diverse user groups
Incorporating accessibility features in user interfaces to accommodate diverse user groups, including those with visual, auditory, or motor impairments. This involves implementing features such as screen readers, high-contrast modes, keyboard navigation, and customizable font sizes. By considering the needs of all users, the interface becomes more inclusive and usable for a broader audience.Expand Specific Solutions
Key HMI Solution Providers
The advanced user interface market for mild hybrid vehicles is in a growth phase, driven by increasing demand for improved usability and enhanced driving experiences. The market size is expanding as more automakers integrate these technologies into their vehicles. While the technology is maturing, there's still room for innovation. Key players like Volkswagen AG, BYD Co., Ltd., and Toyota Motor Corp. are investing heavily in this area, with companies such as Apple, Inc. and Tesla, Inc. bringing fresh perspectives from the tech sector. Established automotive suppliers like Robert Bosch GmbH and Continental Automotive GmbH are also contributing significantly to the development of these advanced interfaces, leveraging their expertise in automotive electronics and user experience design.
Volkswagen AG
Technical Solution: Volkswagen AG has developed an advanced user interface system for mild hybrid vehicles called the Modular Infotainment Matrix (MIB). This system integrates a high-resolution touchscreen display with voice control and gesture recognition capabilities. The MIB system provides real-time information on the hybrid powertrain's operation, including energy flow visualization and regenerative braking efficiency[1]. Volkswagen has also implemented a haptic feedback system in the touchscreen, improving usability while driving. The interface incorporates a customizable digital cockpit that allows drivers to prioritize information display based on their preferences[2]. Additionally, Volkswagen has integrated smartphone connectivity through Apple CarPlay and Android Auto, enhancing the overall user experience and providing seamless access to navigation and entertainment features[3].
Strengths: Comprehensive integration of multiple input methods, customizable displays, and smartphone connectivity. Weaknesses: Potential for information overload and driver distraction if not properly managed.
Toyota Motor Corp.
Technical Solution: Toyota has developed the Toyota New Global Architecture (TNGA) platform, which includes an advanced Human Machine Interface (HMI) for their mild hybrid vehicles. The system features a large, centrally mounted touchscreen display with intuitive menu structures and customizable widgets. Toyota's interface incorporates their Hybrid System Indicator, which provides real-time feedback on energy usage and regeneration[4]. The company has also implemented advanced voice recognition technology, allowing drivers to control various vehicle functions hands-free. Toyota's interface includes a head-up display (HUD) that projects key information onto the windshield, reducing the need for drivers to look away from the road[5]. The system also integrates with Toyota's smartphone app, enabling remote monitoring and control of hybrid-specific functions such as battery charge status and climate pre-conditioning[6].
Strengths: User-friendly interface with a focus on hybrid-specific features and safety through HUD implementation. Weaknesses: May require a learning curve for users transitioning from traditional vehicles.
Innovative HMI Patents
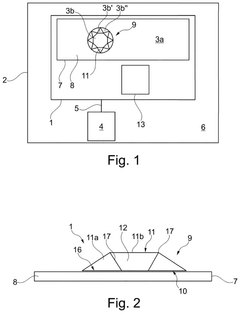
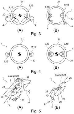
A User Interface for a Vehicle, a Steering Wheel for a Vehicle and a Vehicle
PatentPendingUS20250187646A1
Innovation
- A user interface for vehicles that incorporates a two-dimensional display and an optical faceplate with a three-dimensional display surface, which is touch-sensitive and provides tactile feedback, allowing for contextual and intuitive interaction with vehicle functions.
Method for switching a hybrid drive from one operating mode to another operating mode and hybrid vehicle
PatentWO2013131713A1
Innovation
- A hybrid vehicle design where the driver can intuitively switch between operating modes using a selector device, such as a gear selector lever, allowing for easy mode changes without taking eyes off the road, with automatic mode transitions possible under certain conditions and visual feedback.
Usability Testing Methods
Usability testing methods for advanced user interfaces in mild hybrid vehicles are crucial for ensuring improved user experience and safety. These methods typically involve a combination of quantitative and qualitative approaches to evaluate the effectiveness, efficiency, and user satisfaction of the interface design.
One common method is the think-aloud protocol, where users verbalize their thoughts and actions while interacting with the interface. This provides valuable insights into the user's mental model and decision-making process. For mild hybrid vehicles, this method can be particularly useful in understanding how drivers interpret and respond to energy management information and hybrid system status displays.
Task-based usability testing is another essential approach. Users are given specific tasks to complete using the interface, such as adjusting hybrid drive modes or monitoring energy consumption. Metrics such as task completion time, error rates, and success rates are recorded and analyzed to identify areas for improvement. This method helps evaluate the intuitiveness and learnability of the interface design.
Eye-tracking studies can provide valuable data on visual attention patterns and information processing. By tracking where users look and for how long, designers can optimize the placement of critical information and ensure that important hybrid system indicators are easily noticeable. This is particularly important for mild hybrid vehicles, where drivers need to quickly understand and respond to changes in the vehicle's operating mode.
Heuristic evaluation, conducted by usability experts, involves assessing the interface against established usability principles. This method can identify potential issues early in the development process and is particularly useful for evaluating the consistency and clarity of hybrid system controls and displays.
Contextual inquiry, where researchers observe and interview users in their natural environment (i.e., while driving), can provide rich, qualitative data on how the interface is used in real-world conditions. This method is valuable for understanding how drivers interact with the hybrid system interface in various traffic and environmental conditions.
A/B testing can be employed to compare different interface designs or features. This method involves presenting users with alternative versions of the interface and measuring their performance and preferences. For mild hybrid vehicles, this could involve testing different layouts for energy flow displays or various methods of presenting fuel efficiency information.
Finally, longitudinal studies that track user behavior and satisfaction over an extended period are crucial for understanding how drivers adapt to and learn the advanced interface features of mild hybrid vehicles. These studies can reveal long-term usability issues and help in refining the interface design for optimal user experience.
One common method is the think-aloud protocol, where users verbalize their thoughts and actions while interacting with the interface. This provides valuable insights into the user's mental model and decision-making process. For mild hybrid vehicles, this method can be particularly useful in understanding how drivers interpret and respond to energy management information and hybrid system status displays.
Task-based usability testing is another essential approach. Users are given specific tasks to complete using the interface, such as adjusting hybrid drive modes or monitoring energy consumption. Metrics such as task completion time, error rates, and success rates are recorded and analyzed to identify areas for improvement. This method helps evaluate the intuitiveness and learnability of the interface design.
Eye-tracking studies can provide valuable data on visual attention patterns and information processing. By tracking where users look and for how long, designers can optimize the placement of critical information and ensure that important hybrid system indicators are easily noticeable. This is particularly important for mild hybrid vehicles, where drivers need to quickly understand and respond to changes in the vehicle's operating mode.
Heuristic evaluation, conducted by usability experts, involves assessing the interface against established usability principles. This method can identify potential issues early in the development process and is particularly useful for evaluating the consistency and clarity of hybrid system controls and displays.
Contextual inquiry, where researchers observe and interview users in their natural environment (i.e., while driving), can provide rich, qualitative data on how the interface is used in real-world conditions. This method is valuable for understanding how drivers interact with the hybrid system interface in various traffic and environmental conditions.
A/B testing can be employed to compare different interface designs or features. This method involves presenting users with alternative versions of the interface and measuring their performance and preferences. For mild hybrid vehicles, this could involve testing different layouts for energy flow displays or various methods of presenting fuel efficiency information.
Finally, longitudinal studies that track user behavior and satisfaction over an extended period are crucial for understanding how drivers adapt to and learn the advanced interface features of mild hybrid vehicles. These studies can reveal long-term usability issues and help in refining the interface design for optimal user experience.
HMI Safety Regulations
The development of advanced user interfaces in mild hybrid vehicles necessitates strict adherence to Human-Machine Interface (HMI) safety regulations. These regulations are designed to ensure that the interaction between drivers and vehicle systems is safe, intuitive, and minimally distracting. In the context of mild hybrid vehicles, which combine traditional internal combustion engines with electric propulsion systems, the complexity of information presented to the driver increases, making safety considerations even more critical.
Key HMI safety regulations for mild hybrid vehicles focus on several crucial aspects. Firstly, they mandate clear and unambiguous display of the vehicle's operational mode, ensuring drivers can easily distinguish between electric, hybrid, and conventional driving modes. This information must be presented in a way that does not require prolonged visual attention from the driver.
Regulations also stipulate requirements for the presentation of energy flow and battery status information. These displays must be designed to provide relevant information at a glance, without overwhelming the driver with unnecessary details. The use of standardized icons and color codes is often recommended to enhance quick comprehension.
Another important aspect of HMI safety regulations concerns the integration of regenerative braking systems. Guidelines typically require that the activation and intensity of regenerative braking be clearly communicated to the driver, either through visual cues or haptic feedback in the brake pedal. This ensures that drivers can anticipate and adapt to changes in vehicle deceleration characteristics.
Touch screen interfaces, increasingly common in modern vehicles, are subject to specific regulations aimed at minimizing driver distraction. These include limitations on the complexity of menu structures, requirements for minimum touch target sizes, and guidelines for the use of haptic or auditory feedback to confirm user inputs without requiring visual confirmation.
Voice control systems, which can significantly enhance usability and safety by allowing hands-free operation, must meet stringent performance criteria. Regulations typically specify acceptable error rates and response times to ensure that voice commands do not become a source of frustration or distraction for the driver.
Lastly, HMI safety regulations for mild hybrid vehicles often address the need for clear communication of system limitations and failures. This includes requirements for prominent warning displays when transitioning between propulsion modes or in the event of system malfunctions, ensuring that drivers are always aware of the vehicle's operational status and can respond appropriately to any changes or issues.
Key HMI safety regulations for mild hybrid vehicles focus on several crucial aspects. Firstly, they mandate clear and unambiguous display of the vehicle's operational mode, ensuring drivers can easily distinguish between electric, hybrid, and conventional driving modes. This information must be presented in a way that does not require prolonged visual attention from the driver.
Regulations also stipulate requirements for the presentation of energy flow and battery status information. These displays must be designed to provide relevant information at a glance, without overwhelming the driver with unnecessary details. The use of standardized icons and color codes is often recommended to enhance quick comprehension.
Another important aspect of HMI safety regulations concerns the integration of regenerative braking systems. Guidelines typically require that the activation and intensity of regenerative braking be clearly communicated to the driver, either through visual cues or haptic feedback in the brake pedal. This ensures that drivers can anticipate and adapt to changes in vehicle deceleration characteristics.
Touch screen interfaces, increasingly common in modern vehicles, are subject to specific regulations aimed at minimizing driver distraction. These include limitations on the complexity of menu structures, requirements for minimum touch target sizes, and guidelines for the use of haptic or auditory feedback to confirm user inputs without requiring visual confirmation.
Voice control systems, which can significantly enhance usability and safety by allowing hands-free operation, must meet stringent performance criteria. Regulations typically specify acceptable error rates and response times to ensure that voice commands do not become a source of frustration or distraction for the driver.
Lastly, HMI safety regulations for mild hybrid vehicles often address the need for clear communication of system limitations and failures. This includes requirements for prominent warning displays when transitioning between propulsion modes or in the event of system malfunctions, ensuring that drivers are always aware of the vehicle's operational status and can respond appropriately to any changes or issues.
Unlock deeper insights with Patsnap Eureka Quick Research — get a full tech report to explore trends and direct your research. Try now!
Generate Your Research Report Instantly with AI Agent
Supercharge your innovation with Patsnap Eureka AI Agent Platform!




