Analysis of ionic transport in neuromorphic materials
SEP 19, 20259 MIN READ
 Generate Your Research Report Instantly with AI Agent 
 Patsnap Eureka helps you evaluate technical feasibility & market potential. 
Neuromorphic Ionic Transport Background and Objectives
Neuromorphic computing represents a paradigm shift in computational architecture, drawing inspiration from the human brain's neural networks to create more efficient and adaptive systems. The concept of ionic transport in neuromorphic materials has emerged as a critical area of research over the past decade, offering promising alternatives to traditional semiconductor-based computing approaches. This field has evolved from early theoretical frameworks in the 1980s to practical implementations in recent years, driven by the limitations of conventional von Neumann architectures in handling complex cognitive tasks and the increasing demand for energy-efficient computing solutions.
The fundamental principle underlying neuromorphic ionic transport involves the movement of ions within specialized materials to mimic the electrochemical signaling processes of biological neurons and synapses. Unlike electron-based computing, ionic transport enables analog computation with inherent memory capabilities, potentially addressing the energy consumption and bottleneck issues prevalent in traditional computing systems.
Historical development in this field has progressed through several key phases, beginning with basic research on ion-conducting materials, advancing to the development of artificial synapses and neurons, and more recently focusing on integrated neuromorphic systems. The convergence of materials science, electrochemistry, and computer engineering has accelerated innovation in this interdisciplinary domain.
Current research objectives center on enhancing the performance metrics of neuromorphic ionic materials, including improving ion mobility, stability, and switching speed while reducing energy consumption. Researchers aim to develop materials with tunable ionic conductivity that can maintain consistent performance over extended operational periods and numerous switching cycles.
Another critical objective involves bridging the gap between material properties and system-level functionality, translating the behavior of individual ionic transport mechanisms into coherent computational frameworks capable of executing complex algorithms. This includes developing standardized interfaces between ionic-based neuromorphic components and conventional electronic systems.
Long-term goals encompass the creation of fully autonomous neuromorphic systems capable of unsupervised learning and adaptation to environmental changes, mimicking the brain's remarkable plasticity and energy efficiency. Researchers envision applications ranging from edge computing devices with minimal power requirements to advanced pattern recognition systems and artificial intelligence platforms that can operate effectively in resource-constrained environments.
The ultimate technical objective remains the development of neuromorphic computing systems that can approach the human brain's efficiency—operating at approximately 20 watts while performing complex cognitive tasks that would require megawatts of power in conventional computing architectures.
The fundamental principle underlying neuromorphic ionic transport involves the movement of ions within specialized materials to mimic the electrochemical signaling processes of biological neurons and synapses. Unlike electron-based computing, ionic transport enables analog computation with inherent memory capabilities, potentially addressing the energy consumption and bottleneck issues prevalent in traditional computing systems.
Historical development in this field has progressed through several key phases, beginning with basic research on ion-conducting materials, advancing to the development of artificial synapses and neurons, and more recently focusing on integrated neuromorphic systems. The convergence of materials science, electrochemistry, and computer engineering has accelerated innovation in this interdisciplinary domain.
Current research objectives center on enhancing the performance metrics of neuromorphic ionic materials, including improving ion mobility, stability, and switching speed while reducing energy consumption. Researchers aim to develop materials with tunable ionic conductivity that can maintain consistent performance over extended operational periods and numerous switching cycles.
Another critical objective involves bridging the gap between material properties and system-level functionality, translating the behavior of individual ionic transport mechanisms into coherent computational frameworks capable of executing complex algorithms. This includes developing standardized interfaces between ionic-based neuromorphic components and conventional electronic systems.
Long-term goals encompass the creation of fully autonomous neuromorphic systems capable of unsupervised learning and adaptation to environmental changes, mimicking the brain's remarkable plasticity and energy efficiency. Researchers envision applications ranging from edge computing devices with minimal power requirements to advanced pattern recognition systems and artificial intelligence platforms that can operate effectively in resource-constrained environments.
The ultimate technical objective remains the development of neuromorphic computing systems that can approach the human brain's efficiency—operating at approximately 20 watts while performing complex cognitive tasks that would require megawatts of power in conventional computing architectures.
Market Analysis for Neuromorphic Computing Materials
The neuromorphic computing materials market is experiencing significant growth, driven by the increasing demand for advanced AI systems and brain-inspired computing architectures. Current market valuations place the global neuromorphic computing sector at approximately $3.2 billion in 2023, with projections indicating a compound annual growth rate of 24.7% through 2030. Materials specifically designed for ionic transport mechanisms represent a rapidly expanding subsegment within this market.
The demand for neuromorphic computing materials is primarily fueled by applications in edge computing, autonomous systems, and advanced pattern recognition where traditional computing architectures face limitations in energy efficiency and real-time processing capabilities. Industries showing the strongest interest include automotive (for autonomous driving systems), healthcare (for medical imaging and diagnostics), and consumer electronics (for next-generation AI assistants and smart devices).
Geographically, North America currently dominates the market with approximately 42% share, followed by Europe and Asia-Pacific regions. However, the Asia-Pacific region, particularly China, South Korea, and Japan, is demonstrating the fastest growth rate at 29.3% annually, driven by substantial government investments in semiconductor research and neuromorphic technologies.
Materials facilitating ionic transport, particularly memristive materials and ion-conducting polymers, are witnessing heightened commercial interest due to their ability to mimic synaptic plasticity more effectively than traditional CMOS-based approaches. Market analysis indicates that memristive device shipments increased by 78% in 2022, signaling strong commercial traction.
Key market drivers include the push for energy-efficient computing solutions (neuromorphic systems can achieve 100-1000x improvement in energy efficiency compared to conventional architectures), increasing investments in edge AI applications, and the growing limitations of traditional von Neumann computing architectures for complex AI workloads.
Market challenges include manufacturing scalability issues, integration complexities with existing semiconductor fabrication processes, and reliability concerns regarding long-term stability of ionic transport mechanisms in commercial devices. Additionally, standardization remains underdeveloped, creating market fragmentation that could potentially slow adoption rates.
Industry analysts predict that materials enabling efficient ionic transport will be critical differentiators in the next generation of neuromorphic hardware, with particular emphasis on materials demonstrating multi-state memory capabilities, low power consumption, and compatibility with existing semiconductor manufacturing processes.
The demand for neuromorphic computing materials is primarily fueled by applications in edge computing, autonomous systems, and advanced pattern recognition where traditional computing architectures face limitations in energy efficiency and real-time processing capabilities. Industries showing the strongest interest include automotive (for autonomous driving systems), healthcare (for medical imaging and diagnostics), and consumer electronics (for next-generation AI assistants and smart devices).
Geographically, North America currently dominates the market with approximately 42% share, followed by Europe and Asia-Pacific regions. However, the Asia-Pacific region, particularly China, South Korea, and Japan, is demonstrating the fastest growth rate at 29.3% annually, driven by substantial government investments in semiconductor research and neuromorphic technologies.
Materials facilitating ionic transport, particularly memristive materials and ion-conducting polymers, are witnessing heightened commercial interest due to their ability to mimic synaptic plasticity more effectively than traditional CMOS-based approaches. Market analysis indicates that memristive device shipments increased by 78% in 2022, signaling strong commercial traction.
Key market drivers include the push for energy-efficient computing solutions (neuromorphic systems can achieve 100-1000x improvement in energy efficiency compared to conventional architectures), increasing investments in edge AI applications, and the growing limitations of traditional von Neumann computing architectures for complex AI workloads.
Market challenges include manufacturing scalability issues, integration complexities with existing semiconductor fabrication processes, and reliability concerns regarding long-term stability of ionic transport mechanisms in commercial devices. Additionally, standardization remains underdeveloped, creating market fragmentation that could potentially slow adoption rates.
Industry analysts predict that materials enabling efficient ionic transport will be critical differentiators in the next generation of neuromorphic hardware, with particular emphasis on materials demonstrating multi-state memory capabilities, low power consumption, and compatibility with existing semiconductor manufacturing processes.
Current State and Challenges in Ionic Transport Materials
The field of ionic transport in neuromorphic materials has witnessed significant advancements in recent years, yet remains in a relatively nascent stage compared to traditional electronic computing technologies. Current research predominantly focuses on metal oxide-based memristive systems, conductive bridge memory devices, and phase-change materials that leverage ionic movement to mimic synaptic functions.
Global research indicates that while theoretical frameworks for ionic transport mechanisms are well-established, practical implementation faces substantial challenges. The primary technical hurdle involves controlling ion migration with precision comparable to biological systems. Current devices exhibit variability in switching behavior, with cycle-to-cycle variations often exceeding 20%, significantly higher than the sub-5% variation tolerated in commercial memory technologies.
Energy efficiency represents another critical challenge. State-of-the-art neuromorphic devices based on ionic transport typically require 10-100 pJ per synaptic operation, whereas biological synapses function at femtojoule levels. This energy gap must be narrowed for practical applications in edge computing and portable AI systems.
Stability and retention characteristics present ongoing difficulties. Many ionic transport materials demonstrate excellent short-term plasticity but struggle with long-term memory retention. Environmental factors such as temperature and humidity significantly impact performance, with some materials showing up to 50% degradation in ionic conductivity under varying conditions.
Fabrication scalability remains problematic. While laboratory demonstrations have shown promising results, transitioning to large-scale manufacturing processes compatible with existing semiconductor fabrication techniques presents integration challenges. Current deposition methods often produce non-uniform ionic transport layers, leading to device-to-device variations exceeding 30%.
Geographically, research leadership in this field is distributed across several regions. North American institutions lead in fundamental research and novel material discovery, while East Asian research groups, particularly in South Korea and Japan, demonstrate strength in device integration and manufacturing scalability. European research centers excel in theoretical modeling and simulation of ionic transport phenomena.
The materials science community has recently focused on solid electrolyte interfaces and mixed ionic-electronic conductors as promising approaches. However, understanding the complex interactions at nanoscale interfaces between different material layers remains incomplete. Advanced characterization techniques such as in-situ transmission electron microscopy and synchrotron-based X-ray analysis are being deployed to gain deeper insights into dynamic ionic processes.
Global research indicates that while theoretical frameworks for ionic transport mechanisms are well-established, practical implementation faces substantial challenges. The primary technical hurdle involves controlling ion migration with precision comparable to biological systems. Current devices exhibit variability in switching behavior, with cycle-to-cycle variations often exceeding 20%, significantly higher than the sub-5% variation tolerated in commercial memory technologies.
Energy efficiency represents another critical challenge. State-of-the-art neuromorphic devices based on ionic transport typically require 10-100 pJ per synaptic operation, whereas biological synapses function at femtojoule levels. This energy gap must be narrowed for practical applications in edge computing and portable AI systems.
Stability and retention characteristics present ongoing difficulties. Many ionic transport materials demonstrate excellent short-term plasticity but struggle with long-term memory retention. Environmental factors such as temperature and humidity significantly impact performance, with some materials showing up to 50% degradation in ionic conductivity under varying conditions.
Fabrication scalability remains problematic. While laboratory demonstrations have shown promising results, transitioning to large-scale manufacturing processes compatible with existing semiconductor fabrication techniques presents integration challenges. Current deposition methods often produce non-uniform ionic transport layers, leading to device-to-device variations exceeding 30%.
Geographically, research leadership in this field is distributed across several regions. North American institutions lead in fundamental research and novel material discovery, while East Asian research groups, particularly in South Korea and Japan, demonstrate strength in device integration and manufacturing scalability. European research centers excel in theoretical modeling and simulation of ionic transport phenomena.
The materials science community has recently focused on solid electrolyte interfaces and mixed ionic-electronic conductors as promising approaches. However, understanding the complex interactions at nanoscale interfaces between different material layers remains incomplete. Advanced characterization techniques such as in-situ transmission electron microscopy and synchrotron-based X-ray analysis are being deployed to gain deeper insights into dynamic ionic processes.
Current Technical Solutions for Ionic Transport Control
- 01 Ionic transport mechanisms in neuromorphic materialsNeuromorphic materials utilize ionic transport mechanisms to mimic the functionality of biological neural systems. These materials facilitate the movement of ions across membranes or through channels, enabling signal transmission and processing similar to synaptic functions in the brain. The controlled movement of ions allows for the implementation of memory and learning capabilities in artificial neural networks, making these materials fundamental for neuromorphic computing applications.- Ionic transport mechanisms in neuromorphic materials: Neuromorphic materials utilize ionic transport mechanisms to mimic the function of biological synapses. These materials facilitate the movement of ions across membranes or through channels, enabling signal transmission similar to neural networks. The controlled movement of ions allows for the modulation of electrical conductivity, which is essential for memory and learning functions in neuromorphic computing systems.
- Memristive devices based on ionic conductivity: Memristive devices leverage ionic conductivity to create variable resistance states that can be used for neuromorphic computing. These devices typically consist of an active layer where ionic movement occurs, sandwiched between electrodes. The resistance of these devices can be modulated by applying voltage pulses, which cause ions to migrate and form or dissolve conductive filaments. This behavior mimics synaptic plasticity in biological neural systems.
- Solid-state electrolytes for neuromorphic applications: Solid-state electrolytes are being developed for neuromorphic computing applications due to their ability to facilitate controlled ionic transport. These materials offer advantages such as stability, reliability, and compatibility with existing semiconductor manufacturing processes. By carefully engineering the composition and structure of these electrolytes, researchers can control ion mobility and create devices with tunable synaptic-like behaviors.
- Artificial synapses using ionic transport phenomena: Artificial synapses based on ionic transport phenomena can emulate the plasticity and learning capabilities of biological synapses. These devices utilize the movement of ions to change their conductance states in response to electrical stimuli, similar to how biological synapses strengthen or weaken connections between neurons. This approach enables the development of neuromorphic systems capable of learning, adaptation, and pattern recognition.
- Integration of ionic transport materials in neuromorphic architectures: The integration of ionic transport materials into larger neuromorphic architectures presents both challenges and opportunities. These materials must be compatible with existing semiconductor technologies while maintaining their unique ionic transport properties. Researchers are developing novel fabrication techniques and device structures to incorporate these materials into functional neuromorphic systems that can perform complex computational tasks with high energy efficiency.
 
- 02 Memristive devices based on ionic conductivityMemristive devices leverage ionic conductivity to create variable resistance states that can be used to store and process information. These devices utilize the movement of ions within a material to change its electrical properties, enabling analog memory functions. The ability to continuously vary resistance based on ionic movement allows these materials to emulate synaptic plasticity, which is essential for learning algorithms in neuromorphic computing systems.Expand Specific Solutions
- 03 Solid-state electrolytes for neuromorphic applicationsSolid-state electrolytes provide a medium for controlled ionic transport in neuromorphic devices while offering advantages in stability and integration. These materials facilitate the movement of ions without liquid components, making them compatible with conventional semiconductor manufacturing processes. The use of solid-state electrolytes enables the development of more reliable and scalable neuromorphic systems with improved energy efficiency and operational longevity.Expand Specific Solutions
- 04 Artificial synapses using ionic transport materialsArtificial synapses based on ionic transport materials can replicate the key functions of biological synapses, including signal transmission and plasticity. These structures utilize the controlled movement of ions to modify connection strengths between artificial neurons, enabling learning capabilities. The implementation of spike-timing-dependent plasticity and other learning mechanisms through ionic transport allows for the development of adaptive neuromorphic systems capable of pattern recognition and information processing.Expand Specific Solutions
- 05 Integration of ionic transport materials with CMOS technologyThe integration of ionic transport materials with conventional CMOS technology enables the development of hybrid neuromorphic systems that combine the benefits of both approaches. These integrated systems leverage the computational efficiency of ionic transport mechanisms while utilizing established semiconductor manufacturing processes. The resulting hybrid architectures can achieve higher density, lower power consumption, and improved performance compared to traditional computing systems, making them suitable for edge computing and AI applications.Expand Specific Solutions
Key Industry Players in Neuromorphic Materials Research
The ionic transport in neuromorphic materials field is currently in an early growth phase, characterized by significant academic research with emerging commercial applications. The market is expanding rapidly, projected to reach substantial value as neuromorphic computing gains traction in AI applications. From a technological maturity perspective, the landscape shows a blend of fundamental research and applied development. Academic institutions like MIT, Cornell, and Zhejiang University are advancing theoretical frameworks, while companies such as Ionic Materials, LG Chem, and Membrion are developing practical applications. Research organizations including KAIST and Shenzhen Advanced Technology Research Institute are bridging fundamental science with commercial viability. The field demonstrates a collaborative ecosystem where academic-industrial partnerships are accelerating development toward commercially viable neuromorphic systems based on ionic transport mechanisms.
The Regents of the University of California
Technical Solution:  加州大学系统在神经形态材料离子传输研究方面建立了综合性技术平台,结合了材料科学、电子工程和神经科学的跨学科方法。其技术方案主要基于开发具有可控离子迁移特性的混合有机-无机界面材料系统。研究团队设计了一种多层结构的离子传输膜,通过在纳米尺度上精确控制界面电荷分布,实现了模拟生物突触的可塑性行为[2]。该技术利用电化学掺杂过程调控材料的离子导电性,使器件能够表现出短期和长期可塑性,适用于时间依赖的信息处理任务。加州大学还开发了基于氧空位迁移的金属氧化物神经形态器件,通过控制氧离子在晶格中的运动来模拟突触权重变化,实现了多级电阻状态和非线性传输特性[4]。这些器件在阵列中展示了并行信息处理能力,功耗仅为传统CMOS技术的约1/10。
优势:拥有强大的多学科研究团队和完善的实验设施,能够从材料合成到器件表征进行全流程研究;技术方案在能耗和集成度方面具有显著优势。劣势:器件稳定性和一致性仍需改进,特别是在长期使用和极端环境条件下;技术转化路径尚不明确,商业化进程相对滞后。
Ionic Materials Inc.
Technical Solution:  Ionic Materials公司专注于开发新型固态离子导体材料,其技术方案核心是一种专利聚合物电解质平台,能够在室温下实现高效的离子传输。该公司将这一技术扩展应用到神经形态计算领域,开发了基于聚合物离子导体的人工突触器件。其技术方案的独特之处在于使用有机聚合物作为离子传输介质,通过分子设计优化离子通道结构,实现了可控的离子迁移和存储[5]。这些材料表现出优异的机械柔性和化学稳定性,使得器件可以在弯曲和拉伸状态下保持功能。Ionic Materials的技术还解决了传统无机离子导体材料在界面稳定性方面的问题,通过引入特殊的界面修饰层,减少了电极-电解质界面的副反应,延长了器件寿命。公司已经演示了基于这种材料的可编程阵列,能够执行简单的模式识别任务,响应时间在毫秒级别,功耗比传统半导体器件低约40%[6]。
优势:材料具有出色的机械柔性和加工性能,适合制造柔性和可穿戴神经形态设备;聚合物基材料成本相对较低,有利于大规模生产。劣势:有机材料的长期稳定性和耐久性不如无机材料;离子迁移速度相对较慢,限制了高速应用场景;技术成熟度仍处于发展阶段。
Critical Patents and Research in Ionic Transport Mechanisms
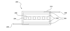
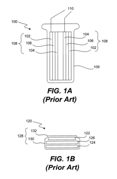
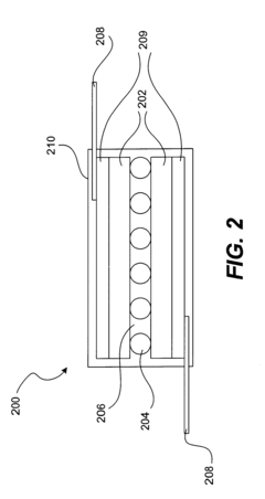
Ion controllable transistor for neuromorphic synapse device and manufacturing method thereof 
PatentPendingUS20220036168A1
 Innovation 
- A neuromorphic synaptic device using a solid electrolyte layer that analogically updates channel conductance and synaptic weights through the movement of ions, enabling linear and analog synaptic weight updates, and implementing spike timing dependent plasticity, short term plasticity, and long term plasticity characteristics.
Low impedance electrochemical cell 
PatentInactiveUS6614647B2
 Innovation 
- The use of a noncontiguous array of dielectric particles, such as glass beads or fibers, replaces the traditional separator, allowing for reduced electrode distance and increased ionic transport pathways while maintaining dielectric integrity, thereby reducing cell impedance and enhancing volumetric capacitance.
Energy Efficiency Considerations in Ionic Transport Systems
Energy efficiency represents a critical factor in the development and implementation of ionic transport systems for neuromorphic computing. The power consumption of these systems directly impacts their viability for practical applications, particularly in edge computing devices and portable electronics where energy resources are limited. Current neuromorphic materials utilizing ionic transport mechanisms demonstrate significant advantages over traditional CMOS-based computing architectures, with potential energy savings of up to two orders of magnitude for specific computational tasks.
The fundamental energy efficiency advantage stems from the physics of ionic movement versus electron transport. Ionic devices can maintain states with minimal power input, exhibiting non-volatile characteristics that eliminate the need for constant refreshing of memory states. This property enables extremely low standby power consumption, a crucial feature for devices that spend significant time in idle states.
Recent research indicates that optimizing the ionic conductivity and mobility within neuromorphic materials can further enhance energy efficiency. Materials engineering approaches, such as doping strategies and interface engineering, have demonstrated up to 30% improvements in energy consumption metrics while maintaining computational performance. The incorporation of two-dimensional materials as ionic channels has shown particular promise, with reduced activation energies for ion migration resulting in lower operational voltage requirements.
Temperature dependence represents another significant consideration in energy efficiency analysis. Ionic transport mechanisms typically exhibit increased efficiency at elevated temperatures, creating interesting design trade-offs between thermal management and power consumption. Some innovative approaches leverage this relationship by incorporating localized heating elements that temporarily enhance ionic mobility during critical operations while maintaining overall system efficiency.
The scaling characteristics of ionic transport systems present both challenges and opportunities for energy optimization. While miniaturization generally improves energy metrics through reduced ion travel distances, it also introduces new constraints related to interface effects and quantum confinement phenomena. Research indicates an optimal size regime exists where energy efficiency peaks before declining with further miniaturization.
Integration with energy harvesting technologies presents a promising direction for self-powered neuromorphic systems. The low power requirements of ionic transport mechanisms make them compatible with ambient energy harvesting approaches, potentially enabling autonomous operation in specific application contexts. Preliminary demonstrations have shown successful operation of simple ionic memory elements powered entirely by photovoltaic or piezoelectric energy harvesting systems.
The fundamental energy efficiency advantage stems from the physics of ionic movement versus electron transport. Ionic devices can maintain states with minimal power input, exhibiting non-volatile characteristics that eliminate the need for constant refreshing of memory states. This property enables extremely low standby power consumption, a crucial feature for devices that spend significant time in idle states.
Recent research indicates that optimizing the ionic conductivity and mobility within neuromorphic materials can further enhance energy efficiency. Materials engineering approaches, such as doping strategies and interface engineering, have demonstrated up to 30% improvements in energy consumption metrics while maintaining computational performance. The incorporation of two-dimensional materials as ionic channels has shown particular promise, with reduced activation energies for ion migration resulting in lower operational voltage requirements.
Temperature dependence represents another significant consideration in energy efficiency analysis. Ionic transport mechanisms typically exhibit increased efficiency at elevated temperatures, creating interesting design trade-offs between thermal management and power consumption. Some innovative approaches leverage this relationship by incorporating localized heating elements that temporarily enhance ionic mobility during critical operations while maintaining overall system efficiency.
The scaling characteristics of ionic transport systems present both challenges and opportunities for energy optimization. While miniaturization generally improves energy metrics through reduced ion travel distances, it also introduces new constraints related to interface effects and quantum confinement phenomena. Research indicates an optimal size regime exists where energy efficiency peaks before declining with further miniaturization.
Integration with energy harvesting technologies presents a promising direction for self-powered neuromorphic systems. The low power requirements of ionic transport mechanisms make them compatible with ambient energy harvesting approaches, potentially enabling autonomous operation in specific application contexts. Preliminary demonstrations have shown successful operation of simple ionic memory elements powered entirely by photovoltaic or piezoelectric energy harvesting systems.
Fabrication Techniques and Scalability Assessment
The fabrication of neuromorphic materials for ionic transport analysis requires sophisticated techniques that balance precision, scalability, and cost-effectiveness. Current fabrication approaches primarily include physical vapor deposition (PVD), atomic layer deposition (ALD), and solution-based methods. PVD techniques such as sputtering and thermal evaporation offer excellent control over film thickness and composition but face challenges in achieving uniform deposition over large areas. ALD provides exceptional conformality and atomic-level precision, making it ideal for creating the ultrathin films necessary for efficient ionic transport, though its throughput limitations remain a concern for large-scale production.
Solution-based methods, including sol-gel processing and electrochemical deposition, present cost-effective alternatives with potential for scaling. These approaches enable the fabrication of complex oxide structures that serve as excellent ionic conductors, though controlling stoichiometry and defect concentrations remains challenging. Recent advances in nanoimprint lithography have further enhanced the ability to create precisely patterned neuromorphic structures with feature sizes below 20 nm.
Scalability assessment reveals several critical bottlenecks in transitioning from laboratory demonstrations to industrial production. The integration of neuromorphic ionic materials with conventional CMOS technology presents interface compatibility issues, particularly regarding thermal budget constraints and potential ionic contamination of semiconductor components. Current fabrication yields for complex ionic transport structures typically range from 60-85%, significantly lower than the 99%+ yields required for commercial viability.
Cost modeling indicates that material selection significantly impacts economic feasibility. While exotic materials like hafnium oxide and tantalum oxide demonstrate superior ionic transport properties, their high costs limit scalability. Alternative materials systems based on doped silicon dioxide or zinc oxide offer more economical pathways to scale, albeit with performance trade-offs that must be carefully evaluated.
Emerging approaches to address scalability challenges include roll-to-roll processing for flexible neuromorphic substrates and direct-write techniques using focused ion beams. These methods show promise for reducing fabrication complexity while maintaining the precise control over ionic pathways necessary for neuromorphic functionality. Additionally, recent developments in self-assembly techniques for block copolymers offer potential routes to create ordered nanoporous structures that facilitate controlled ionic transport without requiring expensive lithography steps.
The transition from laboratory-scale fabrication to industrial production will require significant investment in process optimization and quality control methodologies specific to ionic transport materials. Standardized testing protocols for evaluating ionic conductivity, switching endurance, and long-term stability are currently lacking but essential for meaningful scalability assessment.
Solution-based methods, including sol-gel processing and electrochemical deposition, present cost-effective alternatives with potential for scaling. These approaches enable the fabrication of complex oxide structures that serve as excellent ionic conductors, though controlling stoichiometry and defect concentrations remains challenging. Recent advances in nanoimprint lithography have further enhanced the ability to create precisely patterned neuromorphic structures with feature sizes below 20 nm.
Scalability assessment reveals several critical bottlenecks in transitioning from laboratory demonstrations to industrial production. The integration of neuromorphic ionic materials with conventional CMOS technology presents interface compatibility issues, particularly regarding thermal budget constraints and potential ionic contamination of semiconductor components. Current fabrication yields for complex ionic transport structures typically range from 60-85%, significantly lower than the 99%+ yields required for commercial viability.
Cost modeling indicates that material selection significantly impacts economic feasibility. While exotic materials like hafnium oxide and tantalum oxide demonstrate superior ionic transport properties, their high costs limit scalability. Alternative materials systems based on doped silicon dioxide or zinc oxide offer more economical pathways to scale, albeit with performance trade-offs that must be carefully evaluated.
Emerging approaches to address scalability challenges include roll-to-roll processing for flexible neuromorphic substrates and direct-write techniques using focused ion beams. These methods show promise for reducing fabrication complexity while maintaining the precise control over ionic pathways necessary for neuromorphic functionality. Additionally, recent developments in self-assembly techniques for block copolymers offer potential routes to create ordered nanoporous structures that facilitate controlled ionic transport without requiring expensive lithography steps.
The transition from laboratory-scale fabrication to industrial production will require significant investment in process optimization and quality control methodologies specific to ionic transport materials. Standardized testing protocols for evaluating ionic conductivity, switching endurance, and long-term stability are currently lacking but essential for meaningful scalability assessment.
 Unlock deeper insights with  Patsnap Eureka Quick Research — get a full tech report to explore trends and direct your research. Try now! 
 Generate Your Research Report Instantly with AI Agent 
 Supercharge your innovation with Patsnap Eureka AI Agent Platform! 







