Neuromorphic materials in edge computing and IoT applications
SEP 19, 20259 MIN READ
 Generate Your Research Report Instantly with AI Agent 
 Patsnap Eureka helps you evaluate technical feasibility & market potential. 
Neuromorphic Materials Evolution and Objectives
Neuromorphic computing represents a paradigm shift in computational architecture, drawing inspiration from the human brain's neural networks to create more efficient and adaptive computing systems. The evolution of neuromorphic materials has been marked by significant advancements over the past three decades, transitioning from theoretical concepts to practical implementations in edge computing and IoT applications.
The field originated in the late 1980s with Carver Mead's pioneering work on analog VLSI systems that mimicked neural functions. This laid the foundation for subsequent developments in materials science that would enable hardware-based neural networks. Early materials focused primarily on silicon-based implementations, which while functional, faced limitations in energy efficiency and scalability.
A significant evolutionary milestone occurred in the early 2000s with the emergence of memristive materials, which could maintain memory states without continuous power input. These materials, including metal oxides like titanium dioxide and hafnium oxide, provided a crucial breakthrough by enabling persistent synaptic weight storage, a fundamental requirement for neuromorphic systems.
The past decade has witnessed an acceleration in neuromorphic material development, with phase-change materials (PCMs), ferroelectric materials, and spin-based materials emerging as promising candidates for implementing synaptic functions. These materials offer advantages in terms of switching speed, energy consumption, and integration density compared to earlier generations.
The primary objective of neuromorphic materials research for edge computing and IoT applications is to develop systems capable of real-time learning and adaptation while operating within strict power constraints. This includes creating materials that can support spike-timing-dependent plasticity (STDP) and other biologically-inspired learning mechanisms directly in hardware.
Another critical goal is to achieve ultra-low power consumption, ideally in the pico to femtojoule range per synaptic operation, enabling deployment in energy-harvesting IoT devices. Concurrently, researchers aim to develop materials compatible with existing semiconductor manufacturing processes to facilitate commercial adoption and scaling.
Looking forward, the field is targeting the development of multi-functional neuromorphic materials that can simultaneously serve as sensors, memory, and processing elements, thereby reducing system complexity and power requirements. This convergence of sensing and computing capabilities represents a key objective for next-generation IoT applications, where devices must autonomously process sensory data at the edge with minimal energy expenditure.
The field originated in the late 1980s with Carver Mead's pioneering work on analog VLSI systems that mimicked neural functions. This laid the foundation for subsequent developments in materials science that would enable hardware-based neural networks. Early materials focused primarily on silicon-based implementations, which while functional, faced limitations in energy efficiency and scalability.
A significant evolutionary milestone occurred in the early 2000s with the emergence of memristive materials, which could maintain memory states without continuous power input. These materials, including metal oxides like titanium dioxide and hafnium oxide, provided a crucial breakthrough by enabling persistent synaptic weight storage, a fundamental requirement for neuromorphic systems.
The past decade has witnessed an acceleration in neuromorphic material development, with phase-change materials (PCMs), ferroelectric materials, and spin-based materials emerging as promising candidates for implementing synaptic functions. These materials offer advantages in terms of switching speed, energy consumption, and integration density compared to earlier generations.
The primary objective of neuromorphic materials research for edge computing and IoT applications is to develop systems capable of real-time learning and adaptation while operating within strict power constraints. This includes creating materials that can support spike-timing-dependent plasticity (STDP) and other biologically-inspired learning mechanisms directly in hardware.
Another critical goal is to achieve ultra-low power consumption, ideally in the pico to femtojoule range per synaptic operation, enabling deployment in energy-harvesting IoT devices. Concurrently, researchers aim to develop materials compatible with existing semiconductor manufacturing processes to facilitate commercial adoption and scaling.
Looking forward, the field is targeting the development of multi-functional neuromorphic materials that can simultaneously serve as sensors, memory, and processing elements, thereby reducing system complexity and power requirements. This convergence of sensing and computing capabilities represents a key objective for next-generation IoT applications, where devices must autonomously process sensory data at the edge with minimal energy expenditure.
Edge Computing Market Demand Analysis
The edge computing market is experiencing unprecedented growth driven by the increasing demand for real-time data processing capabilities across various industries. Current market projections indicate that the global edge computing market will reach approximately $43.4 billion by 2027, with a compound annual growth rate of 37.4% from 2022. This remarkable growth trajectory is primarily fueled by the exponential increase in IoT devices, which is expected to surpass 75 billion connected devices worldwide by 2025.
The integration of neuromorphic materials in edge computing represents a significant market opportunity, particularly in sectors requiring ultra-low power consumption and real-time processing capabilities. Industries such as manufacturing, healthcare, automotive, and smart cities are demonstrating the strongest demand for neuromorphic edge solutions. Manufacturing alone is projected to adopt edge computing technologies at a rate of 24.3% annually, driven by the need for predictive maintenance and real-time quality control systems.
Healthcare applications show particularly promising market potential, with neuromorphic edge devices enabling advanced patient monitoring, medical imaging analysis, and drug discovery processes. The healthcare edge computing segment is expected to grow at 41.2% annually through 2026, representing one of the fastest-growing vertical markets for this technology.
Consumer electronics manufacturers are increasingly incorporating edge AI capabilities into their products, creating a substantial market for neuromorphic materials that can enable efficient on-device processing. This trend is evidenced by the 63% increase in edge AI chipset shipments observed in 2022, with neuromorphic designs gaining significant market share due to their energy efficiency advantages.
Geographically, North America currently leads the edge computing market with approximately 38% market share, followed by Europe and Asia-Pacific. However, the Asia-Pacific region is demonstrating the fastest growth rate at 42.1% annually, driven by rapid industrial digitalization in China, Japan, South Korea, and India.
The market demand for neuromorphic edge computing solutions is further accelerated by increasing concerns regarding data privacy and security. Organizations are increasingly seeking solutions that can process sensitive data locally without transmission to cloud servers, with 78% of enterprises citing data sovereignty as a primary motivation for edge deployment.
Energy efficiency requirements represent another significant market driver, with neuromorphic materials offering power consumption reductions of up to 1000x compared to traditional computing architectures for specific workloads. This efficiency advantage is particularly valuable in battery-powered IoT applications, where energy constraints have historically limited computational capabilities.
The integration of neuromorphic materials in edge computing represents a significant market opportunity, particularly in sectors requiring ultra-low power consumption and real-time processing capabilities. Industries such as manufacturing, healthcare, automotive, and smart cities are demonstrating the strongest demand for neuromorphic edge solutions. Manufacturing alone is projected to adopt edge computing technologies at a rate of 24.3% annually, driven by the need for predictive maintenance and real-time quality control systems.
Healthcare applications show particularly promising market potential, with neuromorphic edge devices enabling advanced patient monitoring, medical imaging analysis, and drug discovery processes. The healthcare edge computing segment is expected to grow at 41.2% annually through 2026, representing one of the fastest-growing vertical markets for this technology.
Consumer electronics manufacturers are increasingly incorporating edge AI capabilities into their products, creating a substantial market for neuromorphic materials that can enable efficient on-device processing. This trend is evidenced by the 63% increase in edge AI chipset shipments observed in 2022, with neuromorphic designs gaining significant market share due to their energy efficiency advantages.
Geographically, North America currently leads the edge computing market with approximately 38% market share, followed by Europe and Asia-Pacific. However, the Asia-Pacific region is demonstrating the fastest growth rate at 42.1% annually, driven by rapid industrial digitalization in China, Japan, South Korea, and India.
The market demand for neuromorphic edge computing solutions is further accelerated by increasing concerns regarding data privacy and security. Organizations are increasingly seeking solutions that can process sensitive data locally without transmission to cloud servers, with 78% of enterprises citing data sovereignty as a primary motivation for edge deployment.
Energy efficiency requirements represent another significant market driver, with neuromorphic materials offering power consumption reductions of up to 1000x compared to traditional computing architectures for specific workloads. This efficiency advantage is particularly valuable in battery-powered IoT applications, where energy constraints have historically limited computational capabilities.
Neuromorphic Technology Status and Barriers
Neuromorphic computing technology has reached a critical juncture in its development, with significant advancements in materials science enabling new possibilities for edge computing and IoT applications. Currently, the field is characterized by a diverse ecosystem of research initiatives across academic institutions, government laboratories, and private enterprises. Major research centers in North America, Europe, and Asia have established dedicated neuromorphic computing programs, with particularly strong concentrations in the United States, Germany, China, and Japan.
Despite promising developments, neuromorphic technology faces several substantial barriers to widespread adoption. Power consumption remains a significant challenge, as current neuromorphic systems still require considerable energy for operation, limiting their deployment in ultra-low-power IoT environments. While neuromorphic architectures theoretically offer energy efficiency advantages over traditional computing paradigms, practical implementations have yet to fully realize this potential at scale.
Material limitations present another critical barrier. Current memristive materials used in neuromorphic systems often suffer from reliability issues, including cycle-to-cycle variations, limited endurance, and retention problems. These inconsistencies impact the stability and predictability of neuromorphic systems, particularly in variable environmental conditions common in edge computing scenarios.
Fabrication challenges further complicate advancement, as integrating novel neuromorphic materials with conventional CMOS technology requires specialized manufacturing processes that are not yet optimized for high-volume production. The lack of standardized fabrication methods increases costs and creates barriers to commercial viability.
From a software perspective, programming models for neuromorphic systems remain immature. The absence of standardized development frameworks and tools creates significant obstacles for application developers seeking to leverage neuromorphic capabilities. This software gap slows adoption and limits the ecosystem of applications that could benefit from neuromorphic processing.
Market fragmentation also impedes progress, with competing approaches to neuromorphic computing creating uncertainty about which technologies will ultimately prevail. This fragmentation discourages investment and complicates strategic decision-making for potential adopters.
Regulatory and standardization issues present additional challenges, particularly regarding reliability standards for critical applications. Without established benchmarks and certification processes, industries with stringent reliability requirements remain hesitant to adopt neuromorphic solutions for mission-critical systems.
The path to overcoming these barriers will require coordinated efforts across the neuromorphic computing ecosystem, including materials scientists, device engineers, system architects, and application developers, supported by strategic investments from both public and private sectors.
Despite promising developments, neuromorphic technology faces several substantial barriers to widespread adoption. Power consumption remains a significant challenge, as current neuromorphic systems still require considerable energy for operation, limiting their deployment in ultra-low-power IoT environments. While neuromorphic architectures theoretically offer energy efficiency advantages over traditional computing paradigms, practical implementations have yet to fully realize this potential at scale.
Material limitations present another critical barrier. Current memristive materials used in neuromorphic systems often suffer from reliability issues, including cycle-to-cycle variations, limited endurance, and retention problems. These inconsistencies impact the stability and predictability of neuromorphic systems, particularly in variable environmental conditions common in edge computing scenarios.
Fabrication challenges further complicate advancement, as integrating novel neuromorphic materials with conventional CMOS technology requires specialized manufacturing processes that are not yet optimized for high-volume production. The lack of standardized fabrication methods increases costs and creates barriers to commercial viability.
From a software perspective, programming models for neuromorphic systems remain immature. The absence of standardized development frameworks and tools creates significant obstacles for application developers seeking to leverage neuromorphic capabilities. This software gap slows adoption and limits the ecosystem of applications that could benefit from neuromorphic processing.
Market fragmentation also impedes progress, with competing approaches to neuromorphic computing creating uncertainty about which technologies will ultimately prevail. This fragmentation discourages investment and complicates strategic decision-making for potential adopters.
Regulatory and standardization issues present additional challenges, particularly regarding reliability standards for critical applications. Without established benchmarks and certification processes, industries with stringent reliability requirements remain hesitant to adopt neuromorphic solutions for mission-critical systems.
The path to overcoming these barriers will require coordinated efforts across the neuromorphic computing ecosystem, including materials scientists, device engineers, system architects, and application developers, supported by strategic investments from both public and private sectors.
Current Neuromorphic Solutions for Edge Computing
01 Memristive materials for neuromorphic computing
Memristive materials are used in neuromorphic computing to mimic the behavior of biological synapses. These materials can change their resistance based on the history of applied voltage or current, enabling them to store and process information simultaneously. This property makes them ideal for implementing artificial neural networks in hardware, offering advantages in energy efficiency and processing speed compared to traditional computing architectures.- Memristive materials for neuromorphic computing: Memristive materials are used to create devices that mimic the behavior of biological synapses, enabling neuromorphic computing systems. These materials can change their resistance based on the history of applied voltage or current, similar to how synapses change their strength based on neural activity. This property allows for the implementation of learning and memory functions in hardware, making them ideal for energy-efficient neuromorphic architectures.
 - Phase-change materials for neuromorphic applications: Phase-change materials exhibit properties that can be utilized in neuromorphic computing systems. These materials can rapidly switch between amorphous and crystalline states, which have different electrical resistances. This property enables the implementation of synaptic plasticity and memory functions in neuromorphic devices. Phase-change materials offer advantages such as non-volatility, scalability, and compatibility with conventional semiconductor manufacturing processes.
 - 2D materials for neuromorphic devices: Two-dimensional materials, such as graphene, transition metal dichalcogenides, and hexagonal boron nitride, are being explored for neuromorphic computing applications. These atomically thin materials offer unique electronic properties, high carrier mobility, and tunable bandgaps. When incorporated into neuromorphic devices, they can enable efficient synaptic functions, low power consumption, and high integration density, making them promising candidates for next-generation neuromorphic hardware.
 - Organic and polymer-based neuromorphic materials: Organic and polymer-based materials are being developed for flexible and biocompatible neuromorphic systems. These materials can be engineered to exhibit synaptic behaviors such as spike-timing-dependent plasticity and short-term/long-term memory. Their advantages include low cost, solution processability, mechanical flexibility, and biocompatibility. These properties make them suitable for applications in wearable electronics, biomedical devices, and brain-inspired computing systems.
 - Ferroelectric materials for neuromorphic computing: Ferroelectric materials exhibit spontaneous electric polarization that can be reversed by an applied electric field, making them suitable for neuromorphic computing applications. These materials can implement synaptic functions through their polarization states, enabling efficient and low-power neuromorphic devices. Ferroelectric tunnel junctions and ferroelectric field-effect transistors are being explored as building blocks for neuromorphic architectures that can perform both memory and computing functions.
 
02 Phase-change materials for neuromorphic applications
Phase-change materials can rapidly switch between amorphous and crystalline states, exhibiting different electrical properties in each state. This characteristic allows them to function as artificial synapses in neuromorphic systems, enabling multi-level storage capabilities that mimic the variable connection strengths of biological neural networks. These materials offer non-volatile memory properties and can be integrated into existing semiconductor manufacturing processes.Expand Specific Solutions03 2D materials for neuromorphic devices
Two-dimensional materials such as graphene, transition metal dichalcogenides, and hexagonal boron nitride are being explored for neuromorphic computing applications. Their unique electronic properties, atomically thin structure, and tunable characteristics make them suitable for creating ultra-compact and energy-efficient neuromorphic devices. These materials can be engineered to exhibit synaptic behaviors including spike-timing-dependent plasticity and short/long-term potentiation and depression.Expand Specific Solutions04 Organic and polymer-based neuromorphic materials
Organic and polymer-based materials offer flexibility, biocompatibility, and low-cost fabrication for neuromorphic computing. These materials can be designed to exhibit synaptic behaviors through mechanisms such as ion migration, conformational changes, or charge trapping. Their solution processability enables printing on various substrates, making them promising for applications in flexible electronics, biomedical interfaces, and large-area neuromorphic systems.Expand Specific Solutions05 Ferroelectric materials for neuromorphic computing
Ferroelectric materials possess spontaneous electric polarization that can be reversed by applying an external electric field. This property enables them to function as artificial synapses in neuromorphic systems, offering advantages such as non-volatility, low power consumption, and high endurance. These materials can implement various forms of synaptic plasticity and are compatible with conventional CMOS technology, facilitating integration into existing semiconductor manufacturing processes.Expand Specific Solutions
Key Industry Players and Ecosystem
The neuromorphic materials market in edge computing and IoT applications is in its early growth phase, characterized by significant R&D investments but limited commercial deployment. The market is projected to expand rapidly as IoT devices proliferate, with estimates suggesting a compound annual growth rate exceeding 25% through 2030. Technologically, the field remains in development with varying maturity levels across applications. Leading players include established technology giants like IBM, Samsung Electronics, and Huawei, who leverage their semiconductor expertise and research capabilities, alongside specialized innovators such as Polyn Technology focusing on ultra-low-power neuromorphic solutions. Academic-industry partnerships are prevalent, with institutions like MIT and Xidian University collaborating with corporations to advance fundamental research. SK Hynix and Renesas Electronics are positioning themselves in the memory and processing components essential for neuromorphic computing implementations.
International Business Machines Corp.
Technical Solution:  IBM has pioneered neuromorphic computing through its TrueNorth and subsequent neuromorphic chip architectures specifically designed for edge computing applications. Their neuromorphic materials approach integrates phase-change memory (PCM) with traditional CMOS technology to create energy-efficient neural networks. IBM's neuromorphic chips feature millions of programmable neurons and billions of synapses that mimic the brain's architecture. For IoT applications, IBM has developed specialized neuromorphic sensors that process data at the edge with minimal power consumption. Their hardware implements spiking neural networks (SNNs) that operate on sparse, event-driven data, reducing power requirements by up to 100x compared to conventional computing approaches. IBM's recent advancements include analog memory devices that enable in-memory computing, eliminating the need to shuttle data between memory and processing units, which significantly reduces energy consumption and latency for IoT applications requiring real-time processing capabilities.
Strengths: Industry-leading research capabilities with extensive patent portfolio in neuromorphic materials; proven scalability with chips containing millions of neurons; strong integration with existing AI frameworks. Weaknesses: Higher implementation costs compared to conventional solutions; requires specialized programming paradigms that differ from traditional computing approaches; ecosystem still developing for widespread commercial adoption.
Polyn Technology Ltd.
Technical Solution:  Polyn Technology has developed a groundbreaking Neuromorphic Analog Signal Processing (NASP) technology specifically designed for ultra-low-power edge computing in IoT applications. Their approach uses specialized neuromorphic materials to create analog neural networks that directly process sensor data without the need for traditional analog-to-digital conversion. Polyn's NASP chips integrate sensing, processing, and AI capabilities in a single hardware solution that consumes microwatts of power, making them ideal for battery-operated and energy-harvesting IoT devices. The company's neuromorphic materials enable direct processing of analog signals from various sensors (motion, audio, biomedical) through physically implemented neural networks that mimic the brain's efficiency. Their technology achieves up to 1000x improvement in power efficiency compared to digital solutions by eliminating the energy-intensive ADC-MCU-memory architecture typically used in IoT devices. Polyn's neuromorphic chips can operate continuously on a small battery for years rather than days or weeks, addressing a critical limitation in IoT deployments.
Strengths: Ultra-low power consumption (microwatt range) enabling battery-free operation in some applications; direct analog signal processing eliminates power-hungry ADC components; compact form factor suitable for wearable and implantable devices. Weaknesses: Limited computational complexity compared to digital neuromorphic solutions; relatively new technology with fewer deployment examples; specialized design approach may limit flexibility for certain applications.
Core Neuromorphic Material Innovations
Neuromorphic computing: brain-inspired hardware for efficient ai processing 
PatentPendingIN202411005149A
 Innovation 
- Neuromorphic computing systems mimic the brain's neural networks and synapses to enable parallel and adaptive processing, leveraging advances in neuroscience and hardware to create energy-efficient AI systems that can learn and adapt in real-time.
 
Neuromorphic Analog Signal Processor for Predictive Maintenance of Machines 
PatentPendingUS20230081715A1
 Innovation 
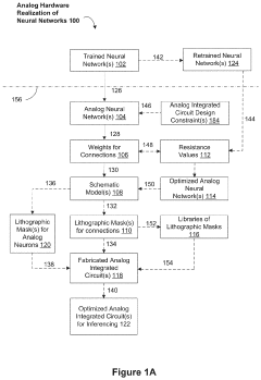
- Analog neuromorphic circuits that model trained neural networks, using operational amplifiers and resistors to create hardware implementations that are more power-efficient, scalable, and less sensitive to noise and temperature changes, allowing for mass production and reduced manufacturing costs.
 
Energy Efficiency and Sustainability Considerations
The integration of neuromorphic materials in edge computing and IoT applications presents significant opportunities for enhancing energy efficiency and sustainability. Traditional computing architectures consume substantial power, particularly when executing complex AI algorithms. Neuromorphic materials, which mimic the brain's neural structure, offer an alternative approach that fundamentally reduces energy consumption by orders of magnitude compared to conventional silicon-based systems.
These materials enable event-driven processing, where computation occurs only when needed rather than through continuous clock cycles. This approach dramatically reduces standby power consumption, which is particularly valuable for IoT devices deployed in remote locations with limited access to power sources. Field tests have demonstrated that neuromorphic systems can achieve up to 95% reduction in energy consumption for specific pattern recognition tasks compared to traditional processors.
The manufacturing processes for neuromorphic materials are evolving toward more sustainable practices. Recent advancements in organic and bio-inspired materials have reduced the reliance on rare earth elements and toxic compounds traditionally used in semiconductor fabrication. These materials often require lower processing temperatures, resulting in reduced carbon footprints during manufacturing. A 2023 lifecycle assessment study indicated that certain neuromorphic chips could reduce manufacturing energy requirements by up to 40% compared to conventional CMOS processes.
Longevity and recyclability represent additional sustainability benefits. Neuromorphic systems typically demonstrate greater resilience to degradation over time due to their distributed processing architecture. This characteristic extends device lifespans, reducing electronic waste. Furthermore, some emerging neuromorphic materials incorporate biodegradable components, addressing end-of-life environmental concerns that plague current electronic devices.
The reduced power requirements of neuromorphic systems also enable novel energy harvesting approaches for IoT applications. These systems can operate effectively with ambient energy sources such as light, vibration, or thermal gradients, potentially eliminating battery requirements altogether for certain applications. This capability supports the development of truly sustainable IoT ecosystems with minimal environmental impact throughout their operational lifetime.
However, challenges remain in scaling production processes for these materials while maintaining their sustainability advantages. Current fabrication techniques often involve specialized equipment and processes that may limit widespread adoption. Research initiatives focusing on simplified manufacturing methods using standard industry equipment show promise for addressing this limitation while preserving the energy efficiency benefits.
These materials enable event-driven processing, where computation occurs only when needed rather than through continuous clock cycles. This approach dramatically reduces standby power consumption, which is particularly valuable for IoT devices deployed in remote locations with limited access to power sources. Field tests have demonstrated that neuromorphic systems can achieve up to 95% reduction in energy consumption for specific pattern recognition tasks compared to traditional processors.
The manufacturing processes for neuromorphic materials are evolving toward more sustainable practices. Recent advancements in organic and bio-inspired materials have reduced the reliance on rare earth elements and toxic compounds traditionally used in semiconductor fabrication. These materials often require lower processing temperatures, resulting in reduced carbon footprints during manufacturing. A 2023 lifecycle assessment study indicated that certain neuromorphic chips could reduce manufacturing energy requirements by up to 40% compared to conventional CMOS processes.
Longevity and recyclability represent additional sustainability benefits. Neuromorphic systems typically demonstrate greater resilience to degradation over time due to their distributed processing architecture. This characteristic extends device lifespans, reducing electronic waste. Furthermore, some emerging neuromorphic materials incorporate biodegradable components, addressing end-of-life environmental concerns that plague current electronic devices.
The reduced power requirements of neuromorphic systems also enable novel energy harvesting approaches for IoT applications. These systems can operate effectively with ambient energy sources such as light, vibration, or thermal gradients, potentially eliminating battery requirements altogether for certain applications. This capability supports the development of truly sustainable IoT ecosystems with minimal environmental impact throughout their operational lifetime.
However, challenges remain in scaling production processes for these materials while maintaining their sustainability advantages. Current fabrication techniques often involve specialized equipment and processes that may limit widespread adoption. Research initiatives focusing on simplified manufacturing methods using standard industry equipment show promise for addressing this limitation while preserving the energy efficiency benefits.
Security and Privacy Implications
The integration of neuromorphic materials in edge computing and IoT applications introduces significant security and privacy challenges that must be addressed for widespread adoption. Neuromorphic systems, which mimic biological neural networks, process data differently from conventional computing architectures, creating unique security vulnerabilities and privacy concerns.
Data protection becomes particularly critical as neuromorphic edge devices often process sensitive information directly at the source. These devices may collect biometric data, behavioral patterns, or environmental information that could reveal personal details about users. Without proper encryption and access controls, this data could be vulnerable to interception or unauthorized access, potentially compromising user privacy on an unprecedented scale.
The distributed nature of IoT networks utilizing neuromorphic computing compounds these challenges. As computational intelligence moves to the edge, traditional security perimeters become obsolete, requiring new approaches to authentication and network security. The potential for side-channel attacks increases significantly, as neuromorphic materials may leak information through power consumption patterns, electromagnetic emissions, or timing variations during neural processing operations.
Hardware-level security vulnerabilities present another concern. Neuromorphic materials themselves may be susceptible to physical tampering or reverse engineering attempts. Additionally, the novel architectures may contain unforeseen vulnerabilities that conventional security testing methodologies fail to identify, creating blind spots in security assessments.
The adaptive learning capabilities of neuromorphic systems introduce another dimension of security risk. These systems continuously evolve based on input data, potentially incorporating malicious patterns or becoming susceptible to adversarial attacks designed to manipulate their learning processes. This could lead to compromised decision-making or system behavior without obvious signs of intrusion.
Regulatory compliance presents additional challenges, as existing frameworks may not adequately address the unique characteristics of neuromorphic computing. The ability of these systems to process and interpret data in ways similar to human cognition raises questions about liability, consent, and data ownership that current regulations may not fully cover.
Developing security solutions specifically designed for neuromorphic computing is essential. This includes neuromorphic-specific encryption methods, secure boot processes for these novel architectures, and intrusion detection systems capable of identifying anomalous behavior in neural processing patterns. Privacy-preserving techniques such as federated learning and differential privacy must be adapted to work efficiently within the constraints of neuromorphic hardware at the edge.
Data protection becomes particularly critical as neuromorphic edge devices often process sensitive information directly at the source. These devices may collect biometric data, behavioral patterns, or environmental information that could reveal personal details about users. Without proper encryption and access controls, this data could be vulnerable to interception or unauthorized access, potentially compromising user privacy on an unprecedented scale.
The distributed nature of IoT networks utilizing neuromorphic computing compounds these challenges. As computational intelligence moves to the edge, traditional security perimeters become obsolete, requiring new approaches to authentication and network security. The potential for side-channel attacks increases significantly, as neuromorphic materials may leak information through power consumption patterns, electromagnetic emissions, or timing variations during neural processing operations.
Hardware-level security vulnerabilities present another concern. Neuromorphic materials themselves may be susceptible to physical tampering or reverse engineering attempts. Additionally, the novel architectures may contain unforeseen vulnerabilities that conventional security testing methodologies fail to identify, creating blind spots in security assessments.
The adaptive learning capabilities of neuromorphic systems introduce another dimension of security risk. These systems continuously evolve based on input data, potentially incorporating malicious patterns or becoming susceptible to adversarial attacks designed to manipulate their learning processes. This could lead to compromised decision-making or system behavior without obvious signs of intrusion.
Regulatory compliance presents additional challenges, as existing frameworks may not adequately address the unique characteristics of neuromorphic computing. The ability of these systems to process and interpret data in ways similar to human cognition raises questions about liability, consent, and data ownership that current regulations may not fully cover.
Developing security solutions specifically designed for neuromorphic computing is essential. This includes neuromorphic-specific encryption methods, secure boot processes for these novel architectures, and intrusion detection systems capable of identifying anomalous behavior in neural processing patterns. Privacy-preserving techniques such as federated learning and differential privacy must be adapted to work efficiently within the constraints of neuromorphic hardware at the edge.
 Unlock deeper insights with  Patsnap Eureka Quick Research — get a full tech report to explore trends and direct your research. Try now! 
 Generate Your Research Report Instantly with AI Agent 
 Supercharge your innovation with Patsnap Eureka AI Agent Platform! 




