Energy efficiency improvements with neuromorphic materials
SEP 19, 20259 MIN READ
Generate Your Research Report Instantly with AI Agent
Patsnap Eureka helps you evaluate technical feasibility & market potential.
Neuromorphic Materials Background and Efficiency Goals
Neuromorphic computing represents a paradigm shift in computational architecture, drawing inspiration from the human brain's neural networks to create more efficient and adaptive computing systems. This field emerged in the late 1980s when Carver Mead introduced the concept of using electronic circuits to mimic neuro-biological architectures. Over the past three decades, neuromorphic computing has evolved from theoretical frameworks to practical implementations, with significant advancements in both hardware and software components.
The development of neuromorphic materials stands at the intersection of materials science, electrical engineering, and neuroscience. Traditional computing architectures based on the von Neumann model face fundamental limitations in energy efficiency due to the separation between processing and memory units, creating what is known as the "von Neumann bottleneck." Neuromorphic materials aim to overcome this limitation by enabling computing paradigms where memory and processing are co-located, similar to biological neural systems.
Energy efficiency has become a critical concern in computing technologies, particularly as data centers now consume approximately 1-2% of global electricity production. The exponential growth in computational demands, driven by artificial intelligence and big data applications, necessitates radical improvements in energy efficiency. Conventional silicon-based technologies are approaching their physical limits in terms of energy efficiency improvements, creating an urgent need for alternative approaches.
Neuromorphic materials offer promising pathways to achieve orders-of-magnitude improvements in computational energy efficiency. These materials can implement synaptic functions directly at the physical level, eliminating the need for complex circuitry to simulate neural behavior. Key materials under investigation include phase-change materials, resistive switching materials, spintronic devices, and organic electronic materials, each offering unique advantages for neuromorphic applications.
The primary efficiency goals for neuromorphic materials include achieving femtojoule-level energy consumption per synaptic operation, nanosecond response times, high endurance (>10^12 cycles), and scalability to nanometer dimensions. Additionally, these materials must demonstrate stability under various environmental conditions and compatibility with existing semiconductor manufacturing processes to facilitate industrial adoption.
The technology evolution trend points toward heterogeneous integration of multiple neuromorphic materials to leverage their complementary properties. Research indicates that hybrid systems combining the strengths of different materials could potentially achieve energy efficiencies approaching those of the human brain, which operates at approximately 20 watts while performing cognitive tasks that would require megawatts in conventional computing systems.
Recent breakthroughs in two-dimensional materials and quantum materials have further expanded the potential for neuromorphic computing, with theoretical models suggesting possible energy efficiency improvements of 10^3 to 10^6 compared to conventional CMOS technologies when implemented in large-scale neuromorphic systems.
The development of neuromorphic materials stands at the intersection of materials science, electrical engineering, and neuroscience. Traditional computing architectures based on the von Neumann model face fundamental limitations in energy efficiency due to the separation between processing and memory units, creating what is known as the "von Neumann bottleneck." Neuromorphic materials aim to overcome this limitation by enabling computing paradigms where memory and processing are co-located, similar to biological neural systems.
Energy efficiency has become a critical concern in computing technologies, particularly as data centers now consume approximately 1-2% of global electricity production. The exponential growth in computational demands, driven by artificial intelligence and big data applications, necessitates radical improvements in energy efficiency. Conventional silicon-based technologies are approaching their physical limits in terms of energy efficiency improvements, creating an urgent need for alternative approaches.
Neuromorphic materials offer promising pathways to achieve orders-of-magnitude improvements in computational energy efficiency. These materials can implement synaptic functions directly at the physical level, eliminating the need for complex circuitry to simulate neural behavior. Key materials under investigation include phase-change materials, resistive switching materials, spintronic devices, and organic electronic materials, each offering unique advantages for neuromorphic applications.
The primary efficiency goals for neuromorphic materials include achieving femtojoule-level energy consumption per synaptic operation, nanosecond response times, high endurance (>10^12 cycles), and scalability to nanometer dimensions. Additionally, these materials must demonstrate stability under various environmental conditions and compatibility with existing semiconductor manufacturing processes to facilitate industrial adoption.
The technology evolution trend points toward heterogeneous integration of multiple neuromorphic materials to leverage their complementary properties. Research indicates that hybrid systems combining the strengths of different materials could potentially achieve energy efficiencies approaching those of the human brain, which operates at approximately 20 watts while performing cognitive tasks that would require megawatts in conventional computing systems.
Recent breakthroughs in two-dimensional materials and quantum materials have further expanded the potential for neuromorphic computing, with theoretical models suggesting possible energy efficiency improvements of 10^3 to 10^6 compared to conventional CMOS technologies when implemented in large-scale neuromorphic systems.
Market Demand Analysis for Energy-Efficient Computing
The global market for energy-efficient computing solutions is experiencing unprecedented growth, driven by the escalating energy consumption of traditional computing systems and increasing environmental concerns. Data centers alone consume approximately 1% of global electricity, with projections indicating this figure could reach 3-5% by 2030 if current technologies remain unchanged. This growing energy demand creates a compelling market opportunity for neuromorphic materials that can deliver significant efficiency improvements.
Enterprise customers, particularly in cloud computing, artificial intelligence, and high-performance computing sectors, are actively seeking solutions that reduce operational costs while maintaining or improving computational capabilities. The total addressable market for energy-efficient computing hardware is estimated to reach $25 billion by 2025, with neuromorphic computing potentially capturing a significant portion of this market as the technology matures.
Consumer electronics manufacturers are also showing increased interest in neuromorphic materials as battery life remains a critical differentiator in mobile devices. The ability to perform complex AI tasks with minimal power consumption represents a substantial competitive advantage in this segment, where the global market exceeds $400 billion annually.
Regulatory pressures are further accelerating market demand, with numerous countries implementing stricter energy efficiency standards for electronic devices and data centers. The European Union's Ecodesign Directive and similar regulations in North America and Asia are creating regulatory tailwinds for energy-efficient computing technologies, including those based on neuromorphic materials.
Venture capital investment in energy-efficient computing startups has grown at a compound annual rate of 27% over the past five years, with neuromorphic computing companies attracting over $500 million in funding during 2022 alone. This investment trend indicates strong confidence in the market potential for these technologies.
Industry surveys reveal that 78% of enterprise IT decision-makers consider energy efficiency a "high" or "critical" priority when planning infrastructure investments, up from 52% just three years ago. This shift in procurement priorities is creating immediate market opportunities for neuromorphic computing solutions that can demonstrate clear efficiency advantages.
The edge computing market presents another significant opportunity, projected to grow to $43.4 billion by 2027. As computational workloads increasingly move to edge devices with limited power availability, neuromorphic materials that enable efficient local processing become particularly valuable.
Enterprise customers, particularly in cloud computing, artificial intelligence, and high-performance computing sectors, are actively seeking solutions that reduce operational costs while maintaining or improving computational capabilities. The total addressable market for energy-efficient computing hardware is estimated to reach $25 billion by 2025, with neuromorphic computing potentially capturing a significant portion of this market as the technology matures.
Consumer electronics manufacturers are also showing increased interest in neuromorphic materials as battery life remains a critical differentiator in mobile devices. The ability to perform complex AI tasks with minimal power consumption represents a substantial competitive advantage in this segment, where the global market exceeds $400 billion annually.
Regulatory pressures are further accelerating market demand, with numerous countries implementing stricter energy efficiency standards for electronic devices and data centers. The European Union's Ecodesign Directive and similar regulations in North America and Asia are creating regulatory tailwinds for energy-efficient computing technologies, including those based on neuromorphic materials.
Venture capital investment in energy-efficient computing startups has grown at a compound annual rate of 27% over the past five years, with neuromorphic computing companies attracting over $500 million in funding during 2022 alone. This investment trend indicates strong confidence in the market potential for these technologies.
Industry surveys reveal that 78% of enterprise IT decision-makers consider energy efficiency a "high" or "critical" priority when planning infrastructure investments, up from 52% just three years ago. This shift in procurement priorities is creating immediate market opportunities for neuromorphic computing solutions that can demonstrate clear efficiency advantages.
The edge computing market presents another significant opportunity, projected to grow to $43.4 billion by 2027. As computational workloads increasingly move to edge devices with limited power availability, neuromorphic materials that enable efficient local processing become particularly valuable.
Current State and Challenges in Neuromorphic Materials
Neuromorphic materials represent a revolutionary approach to computing that mimics the brain's neural architecture, offering significant potential for energy efficiency improvements. Currently, the field is experiencing rapid development but faces several critical challenges that must be addressed to realize its full potential.
The state-of-the-art in neuromorphic materials encompasses several categories, including memristive devices, phase-change materials, spintronic devices, and organic electronic materials. Memristive devices, particularly those based on metal oxides like HfO2 and TiO2, have demonstrated promising synaptic behavior with low energy consumption (10-100 fJ per synaptic event). Phase-change materials such as Ge2Sb2Te5 offer excellent scalability and multi-level states but struggle with energy efficiency during the crystallization process.
Internationally, research efforts are concentrated in the United States, China, Europe, and Japan, with significant investments from both governmental bodies and private corporations. The U.S. BRAIN Initiative and the EU's Human Brain Project have allocated substantial resources to neuromorphic computing research, while companies like IBM, Intel, and Samsung are developing proprietary neuromorphic chips and materials.
Despite progress, several technical challenges persist. Energy consumption remains a primary concern, with current neuromorphic systems still consuming orders of magnitude more energy than the human brain (approximately 20W for the entire brain versus 50-100W for modest neuromorphic systems). Material stability and reliability present another significant hurdle, as many promising materials exhibit degradation after repeated switching cycles, limiting device longevity.
Fabrication scalability poses additional challenges, particularly in integrating novel materials with conventional CMOS processes. The non-uniformity of device characteristics across large arrays complicates system-level implementation, while the lack of standardized benchmarking methodologies makes comparative analysis difficult.
Another critical limitation is the gap between material properties and algorithmic requirements. Many neuromorphic algorithms assume ideal device characteristics that current materials cannot fully deliver, such as linear weight updates and perfect symmetry between potentiation and depression processes.
Temperature sensitivity remains problematic for practical applications, with many neuromorphic materials showing significant performance variations across operating temperature ranges. This limits deployment in real-world environments where temperature control may be impractical.
The interdisciplinary nature of the field creates additional barriers, requiring expertise in materials science, electrical engineering, computer architecture, and neuroscience. This complexity slows progress and necessitates collaborative approaches across traditionally separate domains.
The state-of-the-art in neuromorphic materials encompasses several categories, including memristive devices, phase-change materials, spintronic devices, and organic electronic materials. Memristive devices, particularly those based on metal oxides like HfO2 and TiO2, have demonstrated promising synaptic behavior with low energy consumption (10-100 fJ per synaptic event). Phase-change materials such as Ge2Sb2Te5 offer excellent scalability and multi-level states but struggle with energy efficiency during the crystallization process.
Internationally, research efforts are concentrated in the United States, China, Europe, and Japan, with significant investments from both governmental bodies and private corporations. The U.S. BRAIN Initiative and the EU's Human Brain Project have allocated substantial resources to neuromorphic computing research, while companies like IBM, Intel, and Samsung are developing proprietary neuromorphic chips and materials.
Despite progress, several technical challenges persist. Energy consumption remains a primary concern, with current neuromorphic systems still consuming orders of magnitude more energy than the human brain (approximately 20W for the entire brain versus 50-100W for modest neuromorphic systems). Material stability and reliability present another significant hurdle, as many promising materials exhibit degradation after repeated switching cycles, limiting device longevity.
Fabrication scalability poses additional challenges, particularly in integrating novel materials with conventional CMOS processes. The non-uniformity of device characteristics across large arrays complicates system-level implementation, while the lack of standardized benchmarking methodologies makes comparative analysis difficult.
Another critical limitation is the gap between material properties and algorithmic requirements. Many neuromorphic algorithms assume ideal device characteristics that current materials cannot fully deliver, such as linear weight updates and perfect symmetry between potentiation and depression processes.
Temperature sensitivity remains problematic for practical applications, with many neuromorphic materials showing significant performance variations across operating temperature ranges. This limits deployment in real-world environments where temperature control may be impractical.
The interdisciplinary nature of the field creates additional barriers, requiring expertise in materials science, electrical engineering, computer architecture, and neuroscience. This complexity slows progress and necessitates collaborative approaches across traditionally separate domains.
Current Energy Efficiency Solutions Using Neuromorphic Materials
01 Memristive materials for energy-efficient neuromorphic computing
Memristive materials are being developed for neuromorphic computing systems to mimic the brain's energy efficiency. These materials can maintain their state without continuous power, significantly reducing energy consumption compared to traditional computing architectures. By implementing synaptic functions through resistance changes, memristive devices enable low-power neural network operations while maintaining high computational density.- Memristive materials for energy-efficient neuromorphic computing: Memristive materials are being developed for neuromorphic computing systems to mimic the energy efficiency of biological neural networks. These materials can maintain their state without constant power, significantly reducing energy consumption compared to traditional computing architectures. By implementing synaptic functions through physical material properties rather than complex circuits, these systems achieve higher energy efficiency while performing neural network operations.
- Phase-change materials for low-power neural processing: Phase-change materials offer unique properties for implementing neuromorphic computing with enhanced energy efficiency. These materials can switch between amorphous and crystalline states with different electrical resistances, enabling multi-level memory storage and synaptic weight implementation. The non-volatile nature of these state changes allows for persistent data storage without continuous power consumption, making them ideal for energy-efficient neural network implementations.
- 2D materials and heterostructures for ultra-low power consumption: Two-dimensional materials and their heterostructures are being engineered for neuromorphic applications with ultra-low power consumption. These atomically thin materials exhibit unique electronic properties that enable efficient implementation of neural network functions. Their reduced dimensionality minimizes electron scattering and leakage currents, resulting in significantly lower energy requirements for computation compared to conventional semiconductor technologies.
- Spintronic materials for energy-efficient neural computation: Spintronic materials utilize electron spin states rather than charge movement for information processing, offering substantial energy savings for neuromorphic computing. These materials enable magnetic domain-based memory and computation that requires minimal energy for state transitions. By eliminating the need for constant refreshing and reducing heat generation, spintronic neuromorphic systems can achieve orders of magnitude improvement in energy efficiency compared to conventional electronic systems.
- Organic and biomimetic materials for sustainable neural networks: Organic and biomimetic materials are being developed to create neuromorphic systems with exceptional energy efficiency inspired by biological neural systems. These materials can self-organize into structures that naturally implement neural network functions with minimal energy requirements. Their biocompatibility and potential for biodegradability also contribute to overall sustainability. These systems often operate at lower voltages than silicon-based alternatives, further reducing power consumption while maintaining computational capabilities.
02 Phase-change materials for low-power neural networks
Phase-change materials offer unique properties for energy-efficient neuromorphic computing by utilizing state transitions that require minimal energy input. These materials can switch between amorphous and crystalline states to represent different synaptic weights, enabling multi-level memory capabilities while consuming significantly less power than conventional transistor-based systems. The non-volatile nature of these materials allows for persistent data storage without standby power requirements.Expand Specific Solutions03 2D materials and heterostructures for ultra-low power consumption
Two-dimensional materials and their heterostructures are emerging as promising candidates for energy-efficient neuromorphic computing due to their atomic thinness and unique electronic properties. These materials exhibit excellent carrier mobility and can be engineered to create ultra-low power synaptic devices. By leveraging quantum effects and reduced dimensionality, 2D material-based neuromorphic systems can achieve significant energy savings while maintaining high computational performance.Expand Specific Solutions04 Spintronic materials for energy-efficient neural processing
Spintronic materials utilize electron spin rather than charge for information processing, offering inherently lower energy consumption for neuromorphic applications. These materials enable magnetic domain-based memory and computing elements that can perform neural network operations with minimal energy input. Spintronic neuromorphic systems can achieve ultra-low power consumption through non-volatile magnetic states and magnetoresistive effects, making them ideal for energy-constrained applications.Expand Specific Solutions05 Organic and bio-inspired materials for sustainable neuromorphic systems
Organic and bio-inspired materials are being developed for neuromorphic computing to achieve both energy efficiency and environmental sustainability. These materials can operate at extremely low voltages, mimicking the energy efficiency of biological neural systems. By incorporating biomolecular components or organic semiconductors, these neuromorphic materials enable ultra-low power consumption while offering additional benefits such as flexibility, biocompatibility, and reduced environmental impact.Expand Specific Solutions
Key Industry Players in Neuromorphic Technology
The neuromorphic materials energy efficiency landscape is currently in an early growth phase, characterized by significant academic-industrial collaboration. The market is expanding rapidly, projected to reach several billion dollars by 2030, driven by increasing demand for energy-efficient computing solutions. Technology maturity varies across players, with established semiconductor companies like Samsung Electronics, Intel, and IBM leading commercial development, while research institutions such as Tsinghua University, KAIST, and CEA are advancing fundamental innovations. Emerging companies like Polyn Technology are introducing specialized neuromorphic solutions. The competitive landscape features a geographic distribution across Asia (particularly South Korea and China), North America, and Europe, with cross-sector partnerships accelerating development toward practical, energy-efficient neuromorphic computing systems.
Samsung Electronics Co., Ltd.
Technical Solution: Samsung has developed neuromorphic computing solutions based on resistive random-access memory (RRAM) and magnetoresistive random-access memory (MRAM) technologies. Their approach integrates these memory technologies directly with processing elements to create energy-efficient neuromorphic systems. Samsung's neuromorphic materials research focuses on creating artificial synapses using metal-oxide-based memristors that can simultaneously store and process information. Their technology demonstrates power consumption reductions of up to 70% compared to traditional computing architectures for AI workloads. Samsung has also pioneered 3D stacking of neuromorphic materials to increase density while maintaining energy efficiency. Their neuromorphic chips utilize specialized materials that can maintain state without constant power refresh, significantly reducing standby power consumption in edge devices and IoT applications.
Strengths: Strong manufacturing capabilities for scaling production; integration with existing semiconductor technologies; practical applications in consumer electronics. Weaknesses: Still working on improving long-term reliability of neuromorphic materials; higher initial costs compared to conventional solutions.
SK hynix, Inc.
Technical Solution: SK hynix has developed advanced neuromorphic computing solutions based on their expertise in memory technologies. Their approach focuses on integrating processing capabilities directly into memory using specialized materials that can perform computations with minimal energy consumption. SK hynix's neuromorphic materials research centers on creating highly efficient resistive RAM (ReRAM) and phase-change memory (PCM) that mimic synaptic functions. Their technology demonstrates energy efficiency improvements of up to 60% for neural network operations compared to conventional computing architectures. SK hynix has pioneered the development of multi-level cell neuromorphic materials that can store multiple states in a single cell, increasing computational density while maintaining energy efficiency. Their neuromorphic chips utilize specialized materials that can perform parallel computations with significantly reduced data movement, addressing one of the primary sources of energy consumption in traditional computing architectures.
Strengths: Strong expertise in memory technologies; established manufacturing capabilities; practical integration with existing memory hierarchies. Weaknesses: Less mature neuromorphic ecosystem compared to some competitors; still working on improving switching reliability of neuromorphic materials.
Core Innovations in Low-Power Neuromorphic Materials
3D photonic-electronic neuromorphic computing
PatentWO2025165752A1
Innovation
- The integration of electronic and photonic neural networks in a 3D Electronic Photonic Integrated Circuit (3D EPIC) architecture, incorporating photonic-memristive synapses, photonic dendrites, and electronic somas, enables high-density, high-connectivity, and hierarchical learning capabilities.
Neuromorphic computing device
PatentPendingEP4610885A2
Innovation
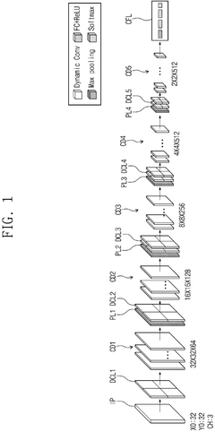
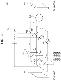
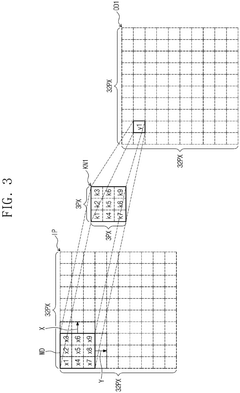
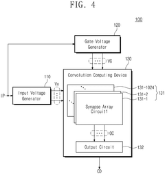
- A neuromorphic computing device utilizing memristor elements as synapse elements, which includes an input voltage generator, gate voltage generator, and a convolution computing device to perform dynamic convolution computations, integrating input and gate voltages to execute kernel convolution and attention weight multiplication efficiently.
Environmental Impact and Sustainability Considerations
Neuromorphic materials represent a significant advancement in computing technology with profound implications for environmental sustainability. The energy efficiency gains offered by these materials directly address one of the most pressing challenges in modern computing: excessive power consumption. Traditional computing architectures based on von Neumann principles require substantial energy for data movement between memory and processing units, contributing significantly to the ICT sector's growing carbon footprint, which currently accounts for approximately 2-3% of global carbon emissions.
Neuromorphic materials, by mimicking the brain's energy-efficient information processing mechanisms, can potentially reduce computing energy requirements by several orders of magnitude. Recent studies demonstrate that neuromorphic systems utilizing phase-change materials and memristive devices can achieve computational tasks with energy consumption in the femtojoule range, compared to picojoules in conventional CMOS technologies. This 1000-fold improvement in energy efficiency could substantially reduce the environmental impact of data centers, which currently consume approximately 1-2% of global electricity.
The manufacturing processes for neuromorphic materials also present environmental considerations. While some materials like hafnium oxide show promise for integration with existing semiconductor fabrication techniques, others rely on rare earth elements or potentially toxic compounds. Life cycle assessments indicate that the environmental benefits of operational efficiency must be balanced against extraction and manufacturing impacts. Research into bio-compatible and biodegradable neuromorphic materials represents a promising direction for minimizing end-of-life environmental concerns.
Water usage represents another critical environmental factor. Conventional semiconductor manufacturing requires substantial quantities of ultra-pure water, with a typical fabrication facility consuming millions of gallons daily. Some neuromorphic materials, particularly those based on solution-processable organic compounds, offer potential reductions in water consumption during manufacturing, though comprehensive comparative studies remain limited.
The extended operational lifespan of neuromorphic systems provides additional sustainability benefits. The self-healing properties inherent in certain neuromorphic materials can potentially extend device lifetimes, reducing electronic waste generation. Furthermore, their ability to adapt to changing computational requirements through in-situ learning may reduce the frequency of hardware replacements and upgrades.
From a circular economy perspective, neuromorphic materials present both challenges and opportunities. While some specialized compounds may complicate recycling efforts, the reduced material complexity of certain neuromorphic architectures could facilitate more effective resource recovery at end-of-life. Research into design-for-disassembly approaches specifically tailored to neuromorphic systems is emerging as an important sustainability consideration.
Neuromorphic materials, by mimicking the brain's energy-efficient information processing mechanisms, can potentially reduce computing energy requirements by several orders of magnitude. Recent studies demonstrate that neuromorphic systems utilizing phase-change materials and memristive devices can achieve computational tasks with energy consumption in the femtojoule range, compared to picojoules in conventional CMOS technologies. This 1000-fold improvement in energy efficiency could substantially reduce the environmental impact of data centers, which currently consume approximately 1-2% of global electricity.
The manufacturing processes for neuromorphic materials also present environmental considerations. While some materials like hafnium oxide show promise for integration with existing semiconductor fabrication techniques, others rely on rare earth elements or potentially toxic compounds. Life cycle assessments indicate that the environmental benefits of operational efficiency must be balanced against extraction and manufacturing impacts. Research into bio-compatible and biodegradable neuromorphic materials represents a promising direction for minimizing end-of-life environmental concerns.
Water usage represents another critical environmental factor. Conventional semiconductor manufacturing requires substantial quantities of ultra-pure water, with a typical fabrication facility consuming millions of gallons daily. Some neuromorphic materials, particularly those based on solution-processable organic compounds, offer potential reductions in water consumption during manufacturing, though comprehensive comparative studies remain limited.
The extended operational lifespan of neuromorphic systems provides additional sustainability benefits. The self-healing properties inherent in certain neuromorphic materials can potentially extend device lifetimes, reducing electronic waste generation. Furthermore, their ability to adapt to changing computational requirements through in-situ learning may reduce the frequency of hardware replacements and upgrades.
From a circular economy perspective, neuromorphic materials present both challenges and opportunities. While some specialized compounds may complicate recycling efforts, the reduced material complexity of certain neuromorphic architectures could facilitate more effective resource recovery at end-of-life. Research into design-for-disassembly approaches specifically tailored to neuromorphic systems is emerging as an important sustainability consideration.
Standardization and Benchmarking Frameworks
The standardization and benchmarking of neuromorphic materials for energy efficiency improvements represents a critical challenge in the field. Currently, the neuromorphic computing ecosystem lacks unified frameworks for evaluating and comparing different material solutions, creating significant barriers to technological advancement and commercial adoption. Established benchmarks would enable meaningful comparisons between traditional computing architectures and emerging neuromorphic systems based on novel materials.
Several organizations have begun developing preliminary standards, including the IEEE Neuromorphic Computing Standards Working Group and the International Neuromorphic Engineering Standardization Association (INESA). These efforts focus on creating consistent metrics for energy consumption, computational efficiency, and performance characteristics specific to neuromorphic materials and devices.
Key performance indicators being standardized include energy per synaptic operation (measured in femtojoules), power density, switching speed, endurance cycles, and retention time. These metrics must account for the unique operational characteristics of neuromorphic materials, which often exhibit non-linear behaviors and stochastic properties unlike conventional semiconductor technologies.
Benchmarking frameworks are emerging at multiple levels of abstraction. At the material level, standards address the physical and electrical properties of memristive, phase-change, and spintronic materials. At the device level, frameworks evaluate individual neuromorphic components such as artificial synapses and neurons. System-level benchmarks assess complete neuromorphic architectures implementing specific algorithms or applications.
Industry-academia collaborations have produced several reference datasets and workloads specifically designed for neuromorphic systems. These include neuromorphic versions of image recognition datasets (N-MNIST), time-series processing benchmarks, and event-based sensing applications that leverage the temporal processing capabilities of neuromorphic hardware.
The development of simulation tools that accurately model energy consumption across different neuromorphic material implementations represents another crucial standardization effort. Tools such as NeuroSim, NVSim-VT, and MNSIM provide platforms for fair comparison between different material technologies before physical implementation.
Regulatory bodies and funding agencies increasingly require adherence to these emerging standards when evaluating research proposals and commercial products. This trend is accelerating the adoption of standardized benchmarking methodologies throughout the neuromorphic computing ecosystem, from material scientists to system architects and application developers.
Several organizations have begun developing preliminary standards, including the IEEE Neuromorphic Computing Standards Working Group and the International Neuromorphic Engineering Standardization Association (INESA). These efforts focus on creating consistent metrics for energy consumption, computational efficiency, and performance characteristics specific to neuromorphic materials and devices.
Key performance indicators being standardized include energy per synaptic operation (measured in femtojoules), power density, switching speed, endurance cycles, and retention time. These metrics must account for the unique operational characteristics of neuromorphic materials, which often exhibit non-linear behaviors and stochastic properties unlike conventional semiconductor technologies.
Benchmarking frameworks are emerging at multiple levels of abstraction. At the material level, standards address the physical and electrical properties of memristive, phase-change, and spintronic materials. At the device level, frameworks evaluate individual neuromorphic components such as artificial synapses and neurons. System-level benchmarks assess complete neuromorphic architectures implementing specific algorithms or applications.
Industry-academia collaborations have produced several reference datasets and workloads specifically designed for neuromorphic systems. These include neuromorphic versions of image recognition datasets (N-MNIST), time-series processing benchmarks, and event-based sensing applications that leverage the temporal processing capabilities of neuromorphic hardware.
The development of simulation tools that accurately model energy consumption across different neuromorphic material implementations represents another crucial standardization effort. Tools such as NeuroSim, NVSim-VT, and MNSIM provide platforms for fair comparison between different material technologies before physical implementation.
Regulatory bodies and funding agencies increasingly require adherence to these emerging standards when evaluating research proposals and commercial products. This trend is accelerating the adoption of standardized benchmarking methodologies throughout the neuromorphic computing ecosystem, from material scientists to system architects and application developers.
Unlock deeper insights with Patsnap Eureka Quick Research — get a full tech report to explore trends and direct your research. Try now!
Generate Your Research Report Instantly with AI Agent
Supercharge your innovation with Patsnap Eureka AI Agent Platform!







