Patent challenges for neuromorphic materials in IoT contexts
SEP 19, 20259 MIN READ
Generate Your Research Report Instantly with AI Agent
Patsnap Eureka helps you evaluate technical feasibility & market potential.
Neuromorphic Materials Patent Landscape and Objectives
Neuromorphic computing represents a paradigm shift in computational architecture, drawing inspiration from the human brain's neural networks to create more efficient and adaptive systems. The evolution of this technology has progressed from basic artificial neural networks in the 1950s to today's sophisticated neuromorphic hardware implementations. Current trends indicate a convergence of material science, electrical engineering, and computer science to develop novel materials capable of mimicking synaptic functions at the nanoscale level.
The patent landscape for neuromorphic materials in IoT contexts presents unique challenges and opportunities. Since 2010, patent filings in this domain have increased exponentially, with major technology companies and research institutions securing intellectual property rights for various neuromorphic implementations. The primary objective of current research is to develop energy-efficient, scalable, and reliable neuromorphic materials suitable for edge computing in IoT environments.
Key technical objectives include reducing power consumption to nano-watt levels per synaptic operation, achieving integration densities comparable to biological systems (approximately 10^9 synapses/cm²), and ensuring operational stability across varying environmental conditions typical in IoT deployments. Additionally, researchers aim to develop materials with inherent learning capabilities that can adapt to changing data patterns without extensive reprogramming.
Patent challenges in this domain are multifaceted. First, the interdisciplinary nature of neuromorphic materials creates classification difficulties within traditional patent frameworks, often requiring applications across multiple patent classes. Second, the rapid pace of innovation has led to overlapping claims and potential patent thickets, particularly in memristor technologies and phase-change materials.
Furthermore, demonstrating novelty becomes increasingly difficult as the field matures. Many fundamental neuromorphic concepts were patented in the early 2000s, creating barriers for new entrants. The specificity required for patenting material compositions must be balanced with sufficient breadth to prevent easy workarounds by competitors.
For IoT applications specifically, patent challenges include defining clear boundaries between hardware implementations and algorithmic innovations, addressing cross-licensing requirements when integrating neuromorphic components with existing IoT infrastructure, and navigating different international patent regimes as IoT deployments typically span multiple jurisdictions.
The strategic objective for companies in this space should be developing a comprehensive patent portfolio that covers not only novel materials but also their specific applications in IoT contexts, manufacturing methods, and integration techniques with conventional electronics.
The patent landscape for neuromorphic materials in IoT contexts presents unique challenges and opportunities. Since 2010, patent filings in this domain have increased exponentially, with major technology companies and research institutions securing intellectual property rights for various neuromorphic implementations. The primary objective of current research is to develop energy-efficient, scalable, and reliable neuromorphic materials suitable for edge computing in IoT environments.
Key technical objectives include reducing power consumption to nano-watt levels per synaptic operation, achieving integration densities comparable to biological systems (approximately 10^9 synapses/cm²), and ensuring operational stability across varying environmental conditions typical in IoT deployments. Additionally, researchers aim to develop materials with inherent learning capabilities that can adapt to changing data patterns without extensive reprogramming.
Patent challenges in this domain are multifaceted. First, the interdisciplinary nature of neuromorphic materials creates classification difficulties within traditional patent frameworks, often requiring applications across multiple patent classes. Second, the rapid pace of innovation has led to overlapping claims and potential patent thickets, particularly in memristor technologies and phase-change materials.
Furthermore, demonstrating novelty becomes increasingly difficult as the field matures. Many fundamental neuromorphic concepts were patented in the early 2000s, creating barriers for new entrants. The specificity required for patenting material compositions must be balanced with sufficient breadth to prevent easy workarounds by competitors.
For IoT applications specifically, patent challenges include defining clear boundaries between hardware implementations and algorithmic innovations, addressing cross-licensing requirements when integrating neuromorphic components with existing IoT infrastructure, and navigating different international patent regimes as IoT deployments typically span multiple jurisdictions.
The strategic objective for companies in this space should be developing a comprehensive patent portfolio that covers not only novel materials but also their specific applications in IoT contexts, manufacturing methods, and integration techniques with conventional electronics.
IoT Market Demand for Neuromorphic Computing Solutions
The Internet of Things (IoT) market is experiencing unprecedented growth, with connected devices projected to reach 75 billion worldwide by 2025. This explosive expansion has created significant demand for more efficient computing solutions that can process data at the edge with minimal power consumption. Neuromorphic computing, which mimics the human brain's neural structure and function, represents a revolutionary approach to meeting these demands, particularly in IoT applications where energy efficiency and real-time processing are critical.
Market research indicates that the global neuromorphic computing market specifically targeting IoT applications is expected to grow at a CAGR of 29% through 2028. This growth is driven primarily by the increasing need for AI capabilities in edge devices, where traditional computing architectures face fundamental limitations in power efficiency and processing speed for complex pattern recognition tasks.
The primary market segments showing strong demand for neuromorphic solutions include smart home devices, industrial IoT sensors, autonomous vehicles, and wearable health monitoring systems. In the industrial IoT sector, manufacturers are seeking neuromorphic solutions that can enable predictive maintenance and anomaly detection directly on sensor nodes without constant cloud connectivity, reducing latency and bandwidth requirements.
Healthcare represents another significant market opportunity, with neuromorphic computing enabling real-time analysis of biometric data from wearable devices. The ability to process complex physiological patterns locally rather than transmitting raw data to the cloud addresses both privacy concerns and battery life limitations in medical IoT devices.
Consumer electronics manufacturers are increasingly exploring neuromorphic computing to enhance user experiences through more sophisticated voice and image recognition capabilities that operate locally on devices. Market surveys indicate that 67% of consumers prefer smart devices that can function without internet connectivity, highlighting the value proposition of edge-based neuromorphic processing.
The automotive sector presents perhaps the most demanding requirements, with autonomous vehicles requiring ultra-low latency processing of sensor data. Traditional GPU and CPU architectures struggle to meet these requirements within strict power and thermal constraints, creating a substantial market opportunity for neuromorphic solutions that can process visual and sensor data more efficiently.
Despite this clear market demand, significant challenges remain in commercializing neuromorphic materials for IoT applications. The market currently shows a preference for solutions that can integrate with existing semiconductor manufacturing processes, presenting challenges for novel neuromorphic materials that may require specialized fabrication techniques. Additionally, IoT device manufacturers are seeking standardized interfaces and programming models to minimize development costs, creating market entry barriers for highly specialized neuromorphic approaches.
Market research indicates that the global neuromorphic computing market specifically targeting IoT applications is expected to grow at a CAGR of 29% through 2028. This growth is driven primarily by the increasing need for AI capabilities in edge devices, where traditional computing architectures face fundamental limitations in power efficiency and processing speed for complex pattern recognition tasks.
The primary market segments showing strong demand for neuromorphic solutions include smart home devices, industrial IoT sensors, autonomous vehicles, and wearable health monitoring systems. In the industrial IoT sector, manufacturers are seeking neuromorphic solutions that can enable predictive maintenance and anomaly detection directly on sensor nodes without constant cloud connectivity, reducing latency and bandwidth requirements.
Healthcare represents another significant market opportunity, with neuromorphic computing enabling real-time analysis of biometric data from wearable devices. The ability to process complex physiological patterns locally rather than transmitting raw data to the cloud addresses both privacy concerns and battery life limitations in medical IoT devices.
Consumer electronics manufacturers are increasingly exploring neuromorphic computing to enhance user experiences through more sophisticated voice and image recognition capabilities that operate locally on devices. Market surveys indicate that 67% of consumers prefer smart devices that can function without internet connectivity, highlighting the value proposition of edge-based neuromorphic processing.
The automotive sector presents perhaps the most demanding requirements, with autonomous vehicles requiring ultra-low latency processing of sensor data. Traditional GPU and CPU architectures struggle to meet these requirements within strict power and thermal constraints, creating a substantial market opportunity for neuromorphic solutions that can process visual and sensor data more efficiently.
Despite this clear market demand, significant challenges remain in commercializing neuromorphic materials for IoT applications. The market currently shows a preference for solutions that can integrate with existing semiconductor manufacturing processes, presenting challenges for novel neuromorphic materials that may require specialized fabrication techniques. Additionally, IoT device manufacturers are seeking standardized interfaces and programming models to minimize development costs, creating market entry barriers for highly specialized neuromorphic approaches.
Current Challenges in Neuromorphic Materials Development
The development of neuromorphic materials faces significant technical challenges that currently impede widespread implementation in IoT contexts. Material stability represents a primary concern, as neuromorphic components must maintain consistent performance across varying environmental conditions typical in IoT deployments. Temperature fluctuations, humidity variations, and mechanical stress can substantially degrade the electrical properties of these materials, resulting in unpredictable behavior and shortened operational lifespans.
Scalability presents another major obstacle. While laboratory demonstrations have shown promising results, transitioning these materials to mass production remains problematic. Current fabrication techniques struggle to maintain uniform properties across large-scale production, creating inconsistencies that undermine reliability in commercial applications. The semiconductor industry's established processes are not optimally configured for the unique requirements of neuromorphic materials.
Power efficiency, though theoretically superior in neuromorphic systems, faces practical implementation challenges. Many current neuromorphic materials require initialization voltages or operating conditions that diminish their energy advantages in real-world IoT deployments. This limitation is particularly problematic for edge devices with strict power constraints.
Integration compatibility with existing CMOS technology represents a significant hurdle. Neuromorphic materials often require specialized processing techniques or operating conditions incompatible with standard semiconductor manufacturing. This incompatibility increases production costs and complicates system integration, creating barriers to commercial adoption.
The reproducibility of neuromorphic behavior across different material batches remains inconsistent. Minor variations in composition or structure can dramatically alter performance characteristics, making quality control exceptionally challenging. This variability complicates standardization efforts necessary for widespread industrial adoption.
Long-term reliability data remains insufficient for many promising neuromorphic materials. IoT applications typically demand operational lifespans of 5-10 years or more, yet accelerated aging studies and comprehensive reliability testing are still emerging for these novel materials. This knowledge gap creates uncertainty for potential adopters and investors.
Intellectual property landscapes surrounding neuromorphic materials are increasingly complex. Patent thickets have formed around fundamental material compositions and processing techniques, creating navigation challenges for new entrants. Cross-licensing requirements can significantly increase development costs and time-to-market for innovative solutions.
Scalability presents another major obstacle. While laboratory demonstrations have shown promising results, transitioning these materials to mass production remains problematic. Current fabrication techniques struggle to maintain uniform properties across large-scale production, creating inconsistencies that undermine reliability in commercial applications. The semiconductor industry's established processes are not optimally configured for the unique requirements of neuromorphic materials.
Power efficiency, though theoretically superior in neuromorphic systems, faces practical implementation challenges. Many current neuromorphic materials require initialization voltages or operating conditions that diminish their energy advantages in real-world IoT deployments. This limitation is particularly problematic for edge devices with strict power constraints.
Integration compatibility with existing CMOS technology represents a significant hurdle. Neuromorphic materials often require specialized processing techniques or operating conditions incompatible with standard semiconductor manufacturing. This incompatibility increases production costs and complicates system integration, creating barriers to commercial adoption.
The reproducibility of neuromorphic behavior across different material batches remains inconsistent. Minor variations in composition or structure can dramatically alter performance characteristics, making quality control exceptionally challenging. This variability complicates standardization efforts necessary for widespread industrial adoption.
Long-term reliability data remains insufficient for many promising neuromorphic materials. IoT applications typically demand operational lifespans of 5-10 years or more, yet accelerated aging studies and comprehensive reliability testing are still emerging for these novel materials. This knowledge gap creates uncertainty for potential adopters and investors.
Intellectual property landscapes surrounding neuromorphic materials are increasingly complex. Patent thickets have formed around fundamental material compositions and processing techniques, creating navigation challenges for new entrants. Cross-licensing requirements can significantly increase development costs and time-to-market for innovative solutions.
Existing Patent Strategies for Neuromorphic IoT Applications
01 Phase-change materials for neuromorphic computing
Phase-change materials exhibit properties that make them suitable for neuromorphic computing applications. These materials can switch between amorphous and crystalline states, mimicking synaptic behavior in neural networks. The reversible phase transitions allow for analog-like memory storage and processing capabilities, enabling the implementation of artificial neural networks in hardware. These materials provide efficient and scalable solutions for brain-inspired computing architectures.- Memristive materials for neuromorphic computing: Memristive materials are used in neuromorphic computing to mimic the behavior of biological synapses. These materials can change their resistance based on the history of applied voltage or current, allowing them to store and process information simultaneously. This property makes them ideal for implementing artificial neural networks in hardware, enabling more efficient and brain-like computing systems that can learn and adapt to new information.
- Phase-change materials for neuromorphic devices: Phase-change materials can rapidly switch between amorphous and crystalline states, exhibiting different electrical properties in each state. This characteristic makes them suitable for neuromorphic applications, as they can represent different synaptic weights or neuronal states. These materials enable the development of non-volatile memory elements that can maintain their state without power, contributing to energy-efficient neuromorphic systems that can perform complex computational tasks.
- 2D materials for neuromorphic architectures: Two-dimensional materials such as graphene, transition metal dichalcogenides, and hexagonal boron nitride offer unique electrical and mechanical properties beneficial for neuromorphic computing. Their atomically thin nature allows for high integration density and novel device structures. These materials can be engineered to exhibit synaptic behaviors, including spike-timing-dependent plasticity and short/long-term potentiation, making them promising candidates for building energy-efficient and highly scalable neuromorphic systems.
- Organic and polymer-based neuromorphic materials: Organic and polymer-based materials offer flexibility, biocompatibility, and low-cost fabrication for neuromorphic applications. These materials can be designed to exhibit synaptic behaviors through various mechanisms, including ion migration, charge trapping, and conformational changes. Their solution processability enables printing on flexible substrates, opening possibilities for wearable neuromorphic devices and brain-machine interfaces that can interact with biological systems.
- Ferroelectric materials for neuromorphic computing: Ferroelectric materials possess spontaneous electric polarization that can be reversed by an applied electric field, making them suitable for neuromorphic computing applications. These materials can implement synaptic functions through their polarization states, enabling analog weight storage and computation. Their non-volatile nature and low power consumption make them attractive for implementing neural networks in hardware, particularly for edge computing applications where energy efficiency is crucial.
02 Memristive materials and devices
Memristive materials are fundamental to neuromorphic computing as they can maintain a memory of past electrical signals, similar to biological synapses. These materials change their resistance based on the history of applied voltage or current, enabling them to store and process information simultaneously. Memristive devices can be fabricated using various materials including metal oxides and chalcogenides, offering low power consumption and high density integration for neuromorphic systems.Expand Specific Solutions03 Organic and polymer-based neuromorphic materials
Organic and polymer-based materials offer unique advantages for neuromorphic applications, including flexibility, biocompatibility, and low-cost fabrication. These materials can be engineered to exhibit synaptic-like behaviors through changes in their electrical conductivity or electrochemical properties. Polymer-based neuromorphic devices can operate at low voltages and potentially interface with biological systems, making them promising for bio-inspired computing and neural interfaces.Expand Specific Solutions04 2D materials for neuromorphic applications
Two-dimensional materials such as graphene, transition metal dichalcogenides, and hexagonal boron nitride show promising properties for neuromorphic computing. Their atomic-scale thickness provides excellent electrostatic control and unique electronic properties that can be leveraged for synaptic functions. These materials exhibit tunable conductivity, high carrier mobility, and can be integrated into flexible substrates, enabling efficient and versatile neuromorphic architectures with potential for scaling to large networks.Expand Specific Solutions05 Neuromorphic hardware implementation and architectures
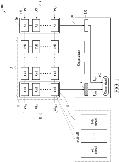
Neuromorphic materials are being integrated into specialized hardware architectures that mimic the brain's structure and function. These implementations include crossbar arrays, spiking neural networks, and in-memory computing designs that leverage the unique properties of neuromorphic materials. Advanced fabrication techniques enable the creation of dense, energy-efficient neural networks capable of learning and adaptation. These hardware systems aim to overcome the von Neumann bottleneck by collocating memory and processing functions.Expand Specific Solutions
Key Industry Players in Neuromorphic Materials and IoT
The neuromorphic materials patent landscape in IoT contexts is evolving rapidly, currently in an early growth phase characterized by increasing research activity but limited commercial deployment. The market is projected to expand significantly as IoT applications proliferate, with estimates suggesting substantial growth over the next decade. Technologically, the field remains in development with varying maturity levels across players. Leading semiconductor companies like Samsung Electronics, Intel, and IBM are establishing strong patent positions, while research institutions including Purdue Research Foundation and Arizona State University contribute fundamental innovations. Technology companies such as Hewlett Packard Enterprise and Alibaba are focusing on application-specific implementations. The competitive landscape is further shaped by specialized players like Semiconductor Energy Laboratory and SK hynix advancing material science aspects, creating a diverse ecosystem of innovation across hardware, software, and materials domains.
Samsung Electronics Co., Ltd.
Technical Solution: Samsung has developed innovative approaches to neuromorphic materials for IoT applications, focusing on overcoming patent challenges related to energy efficiency and form factor limitations. Their research centers on resistive random-access memory (RRAM) technology that functions as artificial synapses in neuromorphic computing systems[1]. Samsung has patented specialized oxide-based materials that can maintain multiple resistance states, enabling efficient implementation of neural network weights directly in hardware for IoT edge devices[2]. Their approach addresses key patent challenges by developing materials compatible with existing semiconductor manufacturing processes, allowing for cost-effective integration with conventional IoT hardware. Samsung has also pioneered three-dimensional stacking of neuromorphic materials to increase computing density while maintaining the small form factors required for IoT devices[3]. Their patent portfolio includes solutions for implementing neuromorphic vision sensors that can process visual data at extremely low power levels, critical for battery-operated IoT devices. Samsung has additionally addressed challenges related to the reliability and longevity of neuromorphic materials in varying environmental conditions typical of IoT deployments, developing encapsulation techniques and adaptive compensation mechanisms[4].
Strengths: Samsung's vertical integration from materials research to device manufacturing provides them with end-to-end control over the implementation chain. Their extensive experience in mobile and IoT devices gives them practical insights into real-world constraints. Weaknesses: Some of Samsung's neuromorphic materials still face challenges with long-term stability and manufacturing consistency at scale, potentially limiting their application in critical IoT infrastructure requiring high reliability.
Hewlett Packard Enterprise Development LP
Technical Solution: HPE has developed a distinctive approach to neuromorphic computing for IoT through their memristor technology. Their patented memristor-based neuromorphic systems address fundamental challenges in implementing brain-inspired computing in IoT contexts. HPE's memristors function as both memory and processing elements, eliminating the traditional von Neumann bottleneck that limits energy efficiency in conventional computing architectures[1]. For IoT applications specifically, HPE has patented specialized materials that can operate at extremely low power levels while maintaining computational capabilities. Their neuromorphic materials innovations include oxide-based memristive systems that can be manufactured using processes compatible with existing semiconductor fabrication techniques, addressing a key patent challenge related to manufacturability[2]. HPE has also developed solutions for the integration of their neuromorphic materials with sensor interfaces common in IoT devices, enabling direct processing of analog signals without energy-intensive conversion steps. Their patent portfolio includes approaches to maintaining computational integrity in neuromorphic materials exposed to the variable environmental conditions typical of IoT deployments, including temperature fluctuations and electromagnetic interference[3]. HPE has additionally addressed challenges related to the scalability of neuromorphic materials, developing architectures that can be implemented across the spectrum from tiny IoT edge devices to larger gateway systems.
Strengths: HPE's memristor technology represents one of the most mature implementations of true analog neuromorphic computing, potentially offering superior energy efficiency. Their research depth in this specific technology gives them unique expertise. Weaknesses: The specialized nature of memristor technology may create challenges for integration with existing IoT ecosystems, and manufacturing consistency at scale remains a challenge for some of their more advanced materials.
Critical IP Analysis for Neuromorphic Materials
Semiconductor device and method of driving the same
PatentActiveUS20220198251A1
Innovation
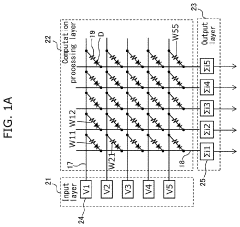
- A semiconductor device with variable resistance elements on a substrate, where the shape of a filament in the variable resistance layer is controlled by applying an electric pulse to store resistance values as neural network weights, reducing variance and enhancing reliability.
Device with neural network
PatentPendingEP4209969A1
Innovation
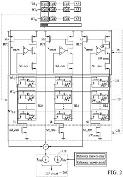
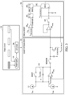
- A neural network device with synaptic memory cells using resistive memory elements and a reference memory cell system, where resistive memory elements with different resistance values generate column and reference signals to produce output signals, and a leaky integrate-and-fire circuit performs operations based on these signals, allowing for efficient synaptic weight representation and neural network operations.
Cross-Border Patent Protection Considerations
The protection of neuromorphic materials innovations in IoT applications faces significant jurisdictional complexities when operating across multiple countries. Patent laws vary substantially between major technology markets such as the United States, European Union, China, and Japan, creating a fragmented landscape for innovators. Each jurisdiction maintains distinct requirements for patentability, particularly regarding the treatment of materials science innovations and their implementation in IoT systems.
Filing strategies must account for these variations, with particular attention to the Patent Cooperation Treaty (PCT) system that facilitates patent applications across 153 contracting states. However, even with PCT filings, neuromorphic material patents must eventually enter national phases where substantive examination differs significantly. The European Patent Office, for instance, applies stricter standards for computer-implemented inventions than the United States Patent and Trademark Office.
Enforcement challenges present another critical dimension, as cross-border infringement cases involving neuromorphic IoT implementations often span multiple jurisdictions. This creates complex questions regarding where infringement occurs when distributed IoT systems utilize patented neuromorphic materials across international boundaries. Recent case law suggests courts increasingly consider the location of central control systems rather than merely where physical components are deployed.
Standard-essential patents (SEPs) represent a particular concern for neuromorphic materials in IoT contexts. As international standards bodies develop protocols for neuromorphic computing in IoT applications, patent holders must navigate FRAND (Fair, Reasonable, And Non-Discriminatory) licensing obligations across different jurisdictions with varying interpretations of these requirements.
Data protection regulations intersect with patent protection when neuromorphic materials process personal data in IoT environments. The EU's GDPR, California's CCPA, and China's PIPL create additional compliance requirements that may limit the implementation of patented neuromorphic technologies across borders, necessitating jurisdiction-specific technical adaptations.
Strategic considerations for neuromorphic material developers should include targeted filing in key markets with strong IoT adoption and robust IP protection regimes. Comprehensive prior art searches across global databases are essential, as neuromorphic computing represents a rapidly evolving field with significant research activity in Asia, North America, and Europe. Companies should also establish clear ownership structures for innovations developed through international collaborations to prevent future disputes over patent rights.
Filing strategies must account for these variations, with particular attention to the Patent Cooperation Treaty (PCT) system that facilitates patent applications across 153 contracting states. However, even with PCT filings, neuromorphic material patents must eventually enter national phases where substantive examination differs significantly. The European Patent Office, for instance, applies stricter standards for computer-implemented inventions than the United States Patent and Trademark Office.
Enforcement challenges present another critical dimension, as cross-border infringement cases involving neuromorphic IoT implementations often span multiple jurisdictions. This creates complex questions regarding where infringement occurs when distributed IoT systems utilize patented neuromorphic materials across international boundaries. Recent case law suggests courts increasingly consider the location of central control systems rather than merely where physical components are deployed.
Standard-essential patents (SEPs) represent a particular concern for neuromorphic materials in IoT contexts. As international standards bodies develop protocols for neuromorphic computing in IoT applications, patent holders must navigate FRAND (Fair, Reasonable, And Non-Discriminatory) licensing obligations across different jurisdictions with varying interpretations of these requirements.
Data protection regulations intersect with patent protection when neuromorphic materials process personal data in IoT environments. The EU's GDPR, California's CCPA, and China's PIPL create additional compliance requirements that may limit the implementation of patented neuromorphic technologies across borders, necessitating jurisdiction-specific technical adaptations.
Strategic considerations for neuromorphic material developers should include targeted filing in key markets with strong IoT adoption and robust IP protection regimes. Comprehensive prior art searches across global databases are essential, as neuromorphic computing represents a rapidly evolving field with significant research activity in Asia, North America, and Europe. Companies should also establish clear ownership structures for innovations developed through international collaborations to prevent future disputes over patent rights.
Standardization Efforts in Neuromorphic Computing
The standardization landscape for neuromorphic computing remains fragmented, presenting significant challenges for patent protection of neuromorphic materials in IoT environments. Currently, several international bodies are working to establish coherent frameworks, with the IEEE Neuromorphic Computing Standards Working Group leading efforts to define common terminology, benchmarking methodologies, and interoperability protocols. This group has published preliminary standards for neuromorphic device characterization that directly impact how materials innovations can be properly described and protected in patent applications.
The International Electrotechnical Commission (IEC) has established Technical Committee 113, focusing on nanotechnology standardization relevant to neuromorphic materials. Their recent publications provide guidelines for characterizing memristive components and phase-change materials commonly used in neuromorphic systems, creating a standardized language that patent applicants must increasingly adhere to for successful filings.
JEDEC, traditionally focused on semiconductor memory standardization, has expanded its scope to include neuromorphic memory architectures. Their JC42.6 Subcommittee is developing specifications for non-volatile memory systems that incorporate neuromorphic principles, directly affecting how material innovations must be documented in patent applications for IoT implementations.
The Industrial Internet Consortium (IIC) has published reference architectures for IoT systems incorporating neuromorphic elements, establishing frameworks that patent applications must consider when claiming IoT-specific implementations of neuromorphic materials. Their Technical Working Group on Edge Computing has specifically addressed energy constraints that neuromorphic solutions aim to overcome.
Regional standardization efforts present additional complexity. The European Telecommunications Standards Institute (ETSI) has established Industry Specification Group on Experiential Networked Intelligence, which includes neuromorphic computing considerations for telecommunications applications. Meanwhile, China's National Standardization Administration has launched initiatives specifically targeting brain-inspired computing standards that diverge in key aspects from Western approaches.
This fragmented standardization landscape creates significant patent challenges, as applicants must navigate multiple, sometimes conflicting frameworks when drafting claims. Patent applications for neuromorphic materials must increasingly reference specific standards to establish clear scope and utility, particularly for IoT applications where interoperability is critical. The evolving nature of these standards also creates temporal challenges, as patents filed under earlier frameworks may face validity questions as standards mature and consolidate.
The International Electrotechnical Commission (IEC) has established Technical Committee 113, focusing on nanotechnology standardization relevant to neuromorphic materials. Their recent publications provide guidelines for characterizing memristive components and phase-change materials commonly used in neuromorphic systems, creating a standardized language that patent applicants must increasingly adhere to for successful filings.
JEDEC, traditionally focused on semiconductor memory standardization, has expanded its scope to include neuromorphic memory architectures. Their JC42.6 Subcommittee is developing specifications for non-volatile memory systems that incorporate neuromorphic principles, directly affecting how material innovations must be documented in patent applications for IoT implementations.
The Industrial Internet Consortium (IIC) has published reference architectures for IoT systems incorporating neuromorphic elements, establishing frameworks that patent applications must consider when claiming IoT-specific implementations of neuromorphic materials. Their Technical Working Group on Edge Computing has specifically addressed energy constraints that neuromorphic solutions aim to overcome.
Regional standardization efforts present additional complexity. The European Telecommunications Standards Institute (ETSI) has established Industry Specification Group on Experiential Networked Intelligence, which includes neuromorphic computing considerations for telecommunications applications. Meanwhile, China's National Standardization Administration has launched initiatives specifically targeting brain-inspired computing standards that diverge in key aspects from Western approaches.
This fragmented standardization landscape creates significant patent challenges, as applicants must navigate multiple, sometimes conflicting frameworks when drafting claims. Patent applications for neuromorphic materials must increasingly reference specific standards to establish clear scope and utility, particularly for IoT applications where interoperability is critical. The evolving nature of these standards also creates temporal challenges, as patents filed under earlier frameworks may face validity questions as standards mature and consolidate.
Unlock deeper insights with Patsnap Eureka Quick Research — get a full tech report to explore trends and direct your research. Try now!
Generate Your Research Report Instantly with AI Agent
Supercharge your innovation with Patsnap Eureka AI Agent Platform!







