Digital Twin for Grid Energy Storage Optimization and Risk Mitigation
SEP 22, 202510 MIN READ
Generate Your Research Report Instantly with AI Agent
Patsnap Eureka helps you evaluate technical feasibility & market potential.
Energy Storage Digital Twin Background and Objectives
The concept of digital twins has evolved significantly over the past decade, transforming from simple virtual replicas to sophisticated real-time simulation models with predictive capabilities. In the energy sector, digital twins represent a paradigm shift in how grid-connected energy storage systems are designed, operated, and maintained. The evolution of this technology has been accelerated by advancements in IoT sensors, big data analytics, and artificial intelligence, creating unprecedented opportunities for optimization and risk management in energy storage deployments.
Energy storage systems have become critical components in modern electrical grids, facilitating the integration of renewable energy sources, providing grid stability services, and enabling peak demand management. However, these systems face numerous operational challenges including thermal runaway risks, degradation issues, and complex integration requirements with existing grid infrastructure. The development of digital twin technology specifically tailored for energy storage applications aims to address these challenges through comprehensive virtual modeling.
The primary objective of energy storage digital twins is to create high-fidelity virtual representations that mirror the physical characteristics, operational parameters, and environmental conditions of actual storage systems. These digital replicas enable real-time monitoring, predictive maintenance, performance optimization, and risk mitigation without disrupting the operation of physical assets. By continuously synchronizing with their physical counterparts through sensor data, these digital twins provide invaluable insights into system behavior under various conditions.
Historical development of this technology reveals a progression from basic simulation models to sophisticated AI-driven predictive platforms. Early digital twins focused primarily on equipment visualization and basic parameter monitoring, while contemporary solutions incorporate machine learning algorithms that can predict failure modes, optimize charging/discharging cycles, and simulate complex grid interactions. This evolution reflects the growing complexity of energy storage deployments and the increasing demands placed on these systems in modern grid environments.
The technological trajectory points toward increasingly integrated solutions that combine multiple data streams, physics-based models, and machine learning techniques to create comprehensive digital representations. Future developments are expected to enhance the predictive capabilities of these systems, enabling more accurate forecasting of degradation patterns, failure modes, and performance optimization opportunities across diverse operating conditions and storage technologies.
The ultimate goal of energy storage digital twins is to maximize system efficiency, extend operational lifespans, reduce maintenance costs, and minimize risks associated with energy storage deployments. This technology represents a critical enabler for the broader transition to renewable energy systems by addressing key challenges in energy storage reliability, safety, and performance optimization.
Energy storage systems have become critical components in modern electrical grids, facilitating the integration of renewable energy sources, providing grid stability services, and enabling peak demand management. However, these systems face numerous operational challenges including thermal runaway risks, degradation issues, and complex integration requirements with existing grid infrastructure. The development of digital twin technology specifically tailored for energy storage applications aims to address these challenges through comprehensive virtual modeling.
The primary objective of energy storage digital twins is to create high-fidelity virtual representations that mirror the physical characteristics, operational parameters, and environmental conditions of actual storage systems. These digital replicas enable real-time monitoring, predictive maintenance, performance optimization, and risk mitigation without disrupting the operation of physical assets. By continuously synchronizing with their physical counterparts through sensor data, these digital twins provide invaluable insights into system behavior under various conditions.
Historical development of this technology reveals a progression from basic simulation models to sophisticated AI-driven predictive platforms. Early digital twins focused primarily on equipment visualization and basic parameter monitoring, while contemporary solutions incorporate machine learning algorithms that can predict failure modes, optimize charging/discharging cycles, and simulate complex grid interactions. This evolution reflects the growing complexity of energy storage deployments and the increasing demands placed on these systems in modern grid environments.
The technological trajectory points toward increasingly integrated solutions that combine multiple data streams, physics-based models, and machine learning techniques to create comprehensive digital representations. Future developments are expected to enhance the predictive capabilities of these systems, enabling more accurate forecasting of degradation patterns, failure modes, and performance optimization opportunities across diverse operating conditions and storage technologies.
The ultimate goal of energy storage digital twins is to maximize system efficiency, extend operational lifespans, reduce maintenance costs, and minimize risks associated with energy storage deployments. This technology represents a critical enabler for the broader transition to renewable energy systems by addressing key challenges in energy storage reliability, safety, and performance optimization.
Grid Energy Storage Market Analysis and Demand Forecast
The global grid energy storage market is experiencing unprecedented growth, driven by the increasing integration of renewable energy sources and the need for grid stability. As of 2023, the market is valued at approximately 4.7 billion USD, with projections indicating a compound annual growth rate (CAGR) of 20-25% over the next decade. This remarkable expansion is primarily fueled by the accelerating transition to clean energy systems worldwide, with over 150 countries having established renewable energy targets.
Lithium-ion batteries currently dominate the market, accounting for roughly 70% of new grid storage deployments. However, alternative technologies such as flow batteries, compressed air energy storage, and gravity-based systems are gaining traction due to their unique advantages in specific applications. The demand for longer-duration storage solutions (8+ hours) is particularly noteworthy, as grid operators seek to address intermittency challenges associated with renewable generation.
Geographically, North America and Asia-Pacific regions lead in deployment volume, with Europe showing the fastest growth rate. China has emerged as both the largest manufacturer and consumer of grid storage technologies, driven by its ambitious renewable energy targets and manufacturing capabilities. The United States follows closely, with significant investments flowing into storage projects following the implementation of the Inflation Reduction Act and Infrastructure Investment and Jobs Act.
Utility-scale applications represent the largest market segment, accounting for approximately 65% of total deployments. However, the commercial and industrial (C&I) segment is expected to grow at a faster rate in the coming years, as businesses increasingly seek to reduce energy costs and enhance resilience through behind-the-meter storage solutions.
The integration of digital twin technology with energy storage systems represents a high-growth niche within this market. Early adopters have reported 15-20% improvements in operational efficiency and up to 30% reduction in maintenance costs. This application of digital twins is projected to grow at a CAGR of 35%, outpacing the broader energy storage market.
Key demand drivers include grid modernization initiatives, increasing renewable penetration, regulatory support through incentives and mandates, and declining battery costs. The latter has been particularly significant, with lithium-ion battery prices decreasing by approximately 89% since 2010, though recent supply chain constraints have temporarily slowed this trend.
Looking forward, the market is expected to reach 15-18 billion USD by 2028, with digital twin applications for optimization and risk mitigation becoming standard features rather than premium add-ons. This forecast accounts for both technology cost reductions and increasing deployment volumes, particularly in emerging markets where grid reliability challenges are most acute.
Lithium-ion batteries currently dominate the market, accounting for roughly 70% of new grid storage deployments. However, alternative technologies such as flow batteries, compressed air energy storage, and gravity-based systems are gaining traction due to their unique advantages in specific applications. The demand for longer-duration storage solutions (8+ hours) is particularly noteworthy, as grid operators seek to address intermittency challenges associated with renewable generation.
Geographically, North America and Asia-Pacific regions lead in deployment volume, with Europe showing the fastest growth rate. China has emerged as both the largest manufacturer and consumer of grid storage technologies, driven by its ambitious renewable energy targets and manufacturing capabilities. The United States follows closely, with significant investments flowing into storage projects following the implementation of the Inflation Reduction Act and Infrastructure Investment and Jobs Act.
Utility-scale applications represent the largest market segment, accounting for approximately 65% of total deployments. However, the commercial and industrial (C&I) segment is expected to grow at a faster rate in the coming years, as businesses increasingly seek to reduce energy costs and enhance resilience through behind-the-meter storage solutions.
The integration of digital twin technology with energy storage systems represents a high-growth niche within this market. Early adopters have reported 15-20% improvements in operational efficiency and up to 30% reduction in maintenance costs. This application of digital twins is projected to grow at a CAGR of 35%, outpacing the broader energy storage market.
Key demand drivers include grid modernization initiatives, increasing renewable penetration, regulatory support through incentives and mandates, and declining battery costs. The latter has been particularly significant, with lithium-ion battery prices decreasing by approximately 89% since 2010, though recent supply chain constraints have temporarily slowed this trend.
Looking forward, the market is expected to reach 15-18 billion USD by 2028, with digital twin applications for optimization and risk mitigation becoming standard features rather than premium add-ons. This forecast accounts for both technology cost reductions and increasing deployment volumes, particularly in emerging markets where grid reliability challenges are most acute.
Digital Twin Technology Status and Implementation Barriers
Digital twin technology for grid energy storage systems has reached a significant level of maturity in theoretical frameworks, but practical implementation faces considerable challenges. Current digital twin platforms can simulate basic energy storage operations and grid interactions, with advanced systems incorporating real-time data integration and predictive analytics capabilities. However, the fidelity of these models varies widely across the industry, with only leading organizations achieving high-accuracy representations that can reliably predict system behavior under diverse conditions.
The implementation of digital twins for grid energy storage faces several substantial barriers. Data quality and availability represent primary challenges, as comprehensive digital twin models require extensive historical operational data, environmental parameters, and grid interaction metrics. Many existing energy storage installations lack adequate sensing infrastructure to capture the granular data needed for high-fidelity modeling.
Interoperability issues present another significant obstacle. The energy storage ecosystem involves multiple vendors, technologies, and communication protocols, creating integration difficulties when attempting to develop cohesive digital twin environments. The absence of standardized data formats and APIs specifically designed for energy storage digital twins further complicates seamless information exchange between physical assets and their virtual counterparts.
Computational requirements pose additional constraints, particularly for real-time applications. Digital twins that incorporate physics-based models alongside machine learning algorithms demand substantial computing resources, especially when simulating complex phenomena like battery degradation or responding to grid contingencies. This creates scalability challenges for widespread deployment across distributed energy storage networks.
Expertise limitations represent a human capital barrier to implementation. The development and maintenance of sophisticated digital twins require interdisciplinary knowledge spanning power systems engineering, data science, software development, and domain-specific energy storage expertise. This talent combination remains scarce in the industry, slowing adoption rates.
Regulatory uncertainty further complicates implementation. Grid operators and energy storage owners face evolving compliance requirements and market structures that may not fully recognize or incentivize digital twin investments. The quantification of risk mitigation benefits from digital twins remains challenging within current regulatory frameworks, making cost-benefit justifications difficult for potential adopters.
Cost considerations remain a significant barrier, with organizations struggling to quantify the return on investment for comprehensive digital twin implementations. While the technology promises substantial operational improvements and risk reduction, the upfront development costs and ongoing maintenance requirements create hesitation among potential adopters, particularly smaller energy storage operators with limited capital resources.
The implementation of digital twins for grid energy storage faces several substantial barriers. Data quality and availability represent primary challenges, as comprehensive digital twin models require extensive historical operational data, environmental parameters, and grid interaction metrics. Many existing energy storage installations lack adequate sensing infrastructure to capture the granular data needed for high-fidelity modeling.
Interoperability issues present another significant obstacle. The energy storage ecosystem involves multiple vendors, technologies, and communication protocols, creating integration difficulties when attempting to develop cohesive digital twin environments. The absence of standardized data formats and APIs specifically designed for energy storage digital twins further complicates seamless information exchange between physical assets and their virtual counterparts.
Computational requirements pose additional constraints, particularly for real-time applications. Digital twins that incorporate physics-based models alongside machine learning algorithms demand substantial computing resources, especially when simulating complex phenomena like battery degradation or responding to grid contingencies. This creates scalability challenges for widespread deployment across distributed energy storage networks.
Expertise limitations represent a human capital barrier to implementation. The development and maintenance of sophisticated digital twins require interdisciplinary knowledge spanning power systems engineering, data science, software development, and domain-specific energy storage expertise. This talent combination remains scarce in the industry, slowing adoption rates.
Regulatory uncertainty further complicates implementation. Grid operators and energy storage owners face evolving compliance requirements and market structures that may not fully recognize or incentivize digital twin investments. The quantification of risk mitigation benefits from digital twins remains challenging within current regulatory frameworks, making cost-benefit justifications difficult for potential adopters.
Cost considerations remain a significant barrier, with organizations struggling to quantify the return on investment for comprehensive digital twin implementations. While the technology promises substantial operational improvements and risk reduction, the upfront development costs and ongoing maintenance requirements create hesitation among potential adopters, particularly smaller energy storage operators with limited capital resources.
Current Digital Twin Approaches for Energy Storage Systems
01 Digital Twin for Predictive Maintenance and Risk Assessment
Digital twin technology enables predictive maintenance by creating virtual replicas of physical assets that continuously monitor performance metrics and identify potential failures before they occur. These systems analyze real-time data from sensors and historical performance patterns to optimize maintenance schedules, reduce downtime, and mitigate operational risks. The technology incorporates machine learning algorithms to improve prediction accuracy over time and can simulate various failure scenarios to develop effective risk mitigation strategies.- Digital Twin Implementation for Risk Assessment and Mitigation: Digital twin technology can be implemented to create virtual replicas of physical systems for risk assessment and mitigation. These digital models simulate real-world conditions and potential failure scenarios, allowing organizations to identify vulnerabilities before they manifest in physical systems. By continuously monitoring and analyzing performance data, digital twins enable proactive risk management strategies and facilitate the development of contingency plans for various risk scenarios.
- Optimization Algorithms for Digital Twin Performance: Advanced optimization algorithms can be integrated with digital twin systems to enhance operational efficiency and performance. These algorithms analyze real-time data from physical assets and their digital counterparts to identify optimal operating parameters, resource allocation, and maintenance schedules. Machine learning techniques enable continuous improvement of the digital twin models, allowing for more accurate predictions and better decision-making in complex operational environments.
- Predictive Maintenance and Failure Prevention: Digital twins can be utilized for predictive maintenance by analyzing historical and real-time data to forecast potential equipment failures. By simulating various operational scenarios and stress conditions, these systems can identify early warning signs of degradation or malfunction. This approach enables organizations to schedule maintenance activities before critical failures occur, reducing downtime and extending asset lifecycles while minimizing operational risks.
- Financial Risk Management through Digital Twin Modeling: Digital twin technology can be applied to financial systems and markets to model complex economic scenarios and assess potential risks. These models incorporate multiple variables and interdependencies to simulate market conditions, regulatory changes, and economic disruptions. By running stress tests and scenario analyses, financial institutions can develop more robust risk management strategies, optimize investment portfolios, and ensure compliance with regulatory requirements.
- Supply Chain Resilience and Disruption Management: Digital twins can model entire supply chain networks to identify vulnerabilities and optimize resilience against disruptions. By simulating various scenarios such as natural disasters, geopolitical events, or supplier failures, organizations can develop contingency plans and alternative sourcing strategies. Real-time monitoring of supply chain operations through digital twin technology enables rapid response to emerging risks and facilitates dynamic reconfiguration of logistics networks to maintain operational continuity.
02 Supply Chain Optimization Using Digital Twins
Digital twin technology optimizes supply chain operations by creating virtual models that simulate and analyze the entire supply network. These systems enable real-time visibility into inventory levels, production capacities, and logistics operations, allowing for dynamic adjustments to mitigate disruptions. By running scenario analyses, organizations can identify potential bottlenecks, optimize resource allocation, and develop contingency plans for various risk factors including natural disasters, geopolitical events, and market fluctuations.Expand Specific Solutions03 Financial Risk Modeling and Mitigation Through Digital Twins
Digital twin technology is applied to financial systems to model complex market dynamics and assess potential risks. These virtual replicas simulate various economic scenarios, stress test financial portfolios, and identify vulnerabilities in investment strategies. By incorporating real-time market data and historical patterns, these systems help financial institutions optimize asset allocation, develop hedging strategies, and ensure regulatory compliance while minimizing exposure to market volatility and systemic risks.Expand Specific Solutions04 Manufacturing Process Optimization Using Digital Twins
Digital twin technology enhances manufacturing processes by creating virtual replicas of production lines and equipment. These systems enable real-time monitoring, analysis, and optimization of manufacturing operations to improve efficiency, quality, and throughput. By simulating different production scenarios, manufacturers can identify optimal process parameters, predict equipment failures, and implement preventive measures to mitigate production risks. The technology also facilitates virtual commissioning of new production lines, reducing implementation time and associated risks.Expand Specific Solutions05 Infrastructure and Urban Planning Risk Mitigation
Digital twin technology is employed in infrastructure and urban planning to create virtual models of buildings, transportation networks, and utility systems. These digital replicas enable comprehensive risk assessment by simulating various scenarios including natural disasters, system failures, and usage patterns. By analyzing these simulations, planners can optimize infrastructure design, develop effective emergency response protocols, and implement preventive measures to enhance resilience and safety while reducing potential economic and human costs associated with infrastructure failures.Expand Specific Solutions
Leading Companies in Grid Energy Storage Digital Twin Solutions
The digital twin technology for grid energy storage optimization is in its early growth phase, with a rapidly expanding market driven by increasing renewable energy integration and grid resilience needs. The global market is projected to grow significantly as utilities seek advanced solutions for energy management and risk mitigation. Technologically, the field shows varying maturity levels across players. State Grid Corporation of China and its subsidiaries demonstrate advanced capabilities through extensive implementation across their vast network. Companies like Electricfish Energy, IBM, and Plexigrid are developing specialized solutions with innovative approaches to digital twin modeling. Academic institutions including Southeast University and Hanyang University are contributing fundamental research to advance the technology. The ecosystem also includes technology providers like Dell and Accenture who offer supporting infrastructure and consulting services, creating a diverse competitive landscape where collaboration between utilities, technology firms, and research institutions is driving innovation.
State Grid Corp. of China
Technical Solution: State Grid Corporation of China has developed a comprehensive Digital Twin platform for grid energy storage optimization that integrates real-time monitoring, simulation, and predictive analytics. Their solution creates virtual replicas of physical energy storage systems across their vast network, enabling operators to monitor performance metrics, predict failures, and optimize charging/discharging cycles. The platform incorporates weather forecasting data, electricity market pricing, and grid demand patterns to dynamically adjust storage operations. State Grid's digital twin technology employs advanced AI algorithms to continuously learn from operational data, improving prediction accuracy over time. Their system includes a multi-layered architecture that spans from individual battery cells to entire storage facilities, allowing for optimization at various scales while maintaining system stability and reliability.
Strengths: Unparalleled access to vast grid infrastructure data enabling highly accurate modeling; extensive implementation experience across diverse geographical regions; strong integration with existing grid management systems. Weaknesses: Potentially complex implementation requiring significant computational resources; high initial development and deployment costs; may face challenges in standardization across different storage technologies.
China Electric Power Research Institute Ltd.
Technical Solution: China Electric Power Research Institute has engineered a sophisticated Digital Twin framework specifically for energy storage risk mitigation and optimization. Their solution creates high-fidelity virtual models of energy storage systems that simulate electrochemical processes at the cell level while scaling to system-wide operations. The platform incorporates real-time sensor data from battery management systems to track thermal behavior, state of charge, and degradation patterns. CEPRI's digital twin technology enables scenario planning through "what-if" simulations that predict system responses to extreme weather events, demand fluctuations, and potential equipment failures. Their approach integrates historical operational data with physics-based models to provide accurate lifetime predictions and maintenance scheduling. The system also features advanced visualization tools that present complex data in intuitive dashboards for operators, enabling quick decision-making during critical situations.
Strengths: Strong research foundation with deep expertise in battery chemistry and grid integration; sophisticated modeling capabilities that balance accuracy with computational efficiency; proven track record of technology transfer to operational environments. Weaknesses: May require extensive customization for different storage technologies; high technical expertise needed for implementation and maintenance; potential challenges in scaling to very large distributed storage networks.
Key Technologies for Energy Storage Digital Twin Implementation
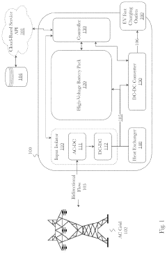
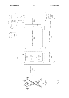
System and method for electrical grid management, risk mitigation, and resilience
PatentActiveUS11681967B2
Innovation
- A system and method enabling bi-directional electricity usage from a distributed network of energy storage stations, utilizing machine learning optimization to strategically balance energy across regions, incorporating data from grid telemetry, traffic, and socio-economic factors to optimize energy storage and release, and providing energy reserves during peak demand.
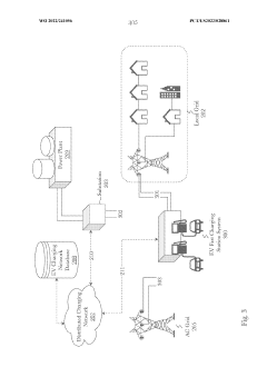
System and method for electrical grid management, risk mitigation, and resilience
PatentWO2022241056A1
Innovation
- A system and method enabling bi-directional electricity usage from a distributed network of energy storage stations, utilizing machine learning to strategically balance energy across regions, optimizing energy storage and release based on grid telemetry, traffic, and socio-economic data to enhance grid resilience and risk mitigation.
Regulatory Framework for Grid Energy Storage Digital Twins
The regulatory landscape for grid energy storage digital twins is evolving rapidly as governments and industry bodies recognize the critical role these technologies play in energy transition. Current regulations primarily focus on data security, operational standards, and grid integration protocols. In the United States, FERC Order 841 has been instrumental in removing barriers for energy storage participation in wholesale markets, while NERC CIP standards govern cybersecurity aspects of digital twin implementations connected to critical infrastructure.
The European Union has established more comprehensive frameworks through its Clean Energy Package and the Network Code on Requirements for Grid Connection of Generators, which include provisions for digital monitoring and control systems. These regulations specifically address interoperability requirements, ensuring digital twins can effectively communicate across different platforms and with various stakeholders in the energy ecosystem.
Data privacy regulations such as GDPR in Europe and CCPA in California significantly impact how digital twin technologies collect, process, and store operational data from energy storage systems. Compliance with these frameworks necessitates careful design of digital twin architectures to incorporate privacy-by-design principles and robust data governance mechanisms.
Regulatory gaps remain in several critical areas, particularly regarding liability frameworks for automated decision-making systems. As digital twins increasingly incorporate AI for predictive maintenance and operational optimization, questions arise about responsibility when algorithm-driven decisions lead to grid instability or equipment failure. Industry stakeholders are advocating for safe harbor provisions that would protect operators implementing approved digital twin solutions.
Standardization efforts are being led by organizations such as IEEE, IEC, and ISO, which are developing technical standards for digital twin implementations in energy systems. These include IEEE 2888 for digital twin interoperability and IEC 61850 for communication networks and systems for power utility automation, which are being extended to accommodate digital twin applications.
Regulatory sandboxes have emerged as valuable tools for testing digital twin technologies in controlled environments before full-scale deployment. Countries including the UK, Singapore, and Australia have established these frameworks specifically for energy innovations, allowing companies to test digital twin solutions with temporary exemptions from certain regulatory requirements while maintaining appropriate safeguards.
The European Union has established more comprehensive frameworks through its Clean Energy Package and the Network Code on Requirements for Grid Connection of Generators, which include provisions for digital monitoring and control systems. These regulations specifically address interoperability requirements, ensuring digital twins can effectively communicate across different platforms and with various stakeholders in the energy ecosystem.
Data privacy regulations such as GDPR in Europe and CCPA in California significantly impact how digital twin technologies collect, process, and store operational data from energy storage systems. Compliance with these frameworks necessitates careful design of digital twin architectures to incorporate privacy-by-design principles and robust data governance mechanisms.
Regulatory gaps remain in several critical areas, particularly regarding liability frameworks for automated decision-making systems. As digital twins increasingly incorporate AI for predictive maintenance and operational optimization, questions arise about responsibility when algorithm-driven decisions lead to grid instability or equipment failure. Industry stakeholders are advocating for safe harbor provisions that would protect operators implementing approved digital twin solutions.
Standardization efforts are being led by organizations such as IEEE, IEC, and ISO, which are developing technical standards for digital twin implementations in energy systems. These include IEEE 2888 for digital twin interoperability and IEC 61850 for communication networks and systems for power utility automation, which are being extended to accommodate digital twin applications.
Regulatory sandboxes have emerged as valuable tools for testing digital twin technologies in controlled environments before full-scale deployment. Countries including the UK, Singapore, and Australia have established these frameworks specifically for energy innovations, allowing companies to test digital twin solutions with temporary exemptions from certain regulatory requirements while maintaining appropriate safeguards.
Cybersecurity Considerations for Energy Storage Digital Twins
As digital twins become increasingly integrated with critical energy storage infrastructure, cybersecurity emerges as a paramount concern. The interconnected nature of digital twin systems creates multiple attack vectors that malicious actors could exploit, potentially compromising both the digital representation and the physical energy storage assets. These vulnerabilities are particularly concerning given that energy storage systems represent critical infrastructure components with direct implications for grid stability and resilience.
The implementation of digital twins for energy storage systems introduces several specific cybersecurity challenges. Data integrity protection becomes essential, as compromised sensor data could lead to incorrect operational decisions or optimization strategies. The bidirectional communication channels between physical assets and their digital counterparts must be secured to prevent unauthorized access or command injection that could damage equipment or disrupt grid operations.
Authentication and access control mechanisms require particular attention in digital twin environments. Role-based access systems must be implemented to ensure that only authorized personnel can modify critical parameters or control functions. Multi-factor authentication should be standard for any interaction with system controls that could affect physical operations or alter optimization algorithms.
Encryption standards for digital twin implementations must address both data-at-rest and data-in-transit scenarios. Advanced encryption protocols are necessary for protecting the valuable operational data and proprietary algorithms that form the core of energy storage optimization systems. Additionally, secure API management becomes critical as digital twins typically interface with multiple systems including SCADA, energy management systems, and market platforms.
Threat modeling specific to energy storage digital twins should consider both cyber and physical security dimensions. Potential attack scenarios include data poisoning attacks that gradually corrupt optimization algorithms, denial of service attacks targeting critical communication pathways, and sophisticated advanced persistent threats that might aim to cause physical damage to storage assets or trigger cascading grid failures.
Regulatory compliance adds another layer of complexity, as energy storage systems must adhere to various standards including NERC CIP requirements in North America and NIS Directive in Europe. Digital twin implementations must be designed with these compliance frameworks in mind, incorporating appropriate security controls and documentation processes.
Incident response planning specifically tailored to digital twin environments represents a developing field. Organizations must establish clear protocols for detecting, containing, and remediating security breaches that might affect both the digital representation and physical assets simultaneously. This includes procedures for operating in degraded modes when digital twin functionality is compromised.
The implementation of digital twins for energy storage systems introduces several specific cybersecurity challenges. Data integrity protection becomes essential, as compromised sensor data could lead to incorrect operational decisions or optimization strategies. The bidirectional communication channels between physical assets and their digital counterparts must be secured to prevent unauthorized access or command injection that could damage equipment or disrupt grid operations.
Authentication and access control mechanisms require particular attention in digital twin environments. Role-based access systems must be implemented to ensure that only authorized personnel can modify critical parameters or control functions. Multi-factor authentication should be standard for any interaction with system controls that could affect physical operations or alter optimization algorithms.
Encryption standards for digital twin implementations must address both data-at-rest and data-in-transit scenarios. Advanced encryption protocols are necessary for protecting the valuable operational data and proprietary algorithms that form the core of energy storage optimization systems. Additionally, secure API management becomes critical as digital twins typically interface with multiple systems including SCADA, energy management systems, and market platforms.
Threat modeling specific to energy storage digital twins should consider both cyber and physical security dimensions. Potential attack scenarios include data poisoning attacks that gradually corrupt optimization algorithms, denial of service attacks targeting critical communication pathways, and sophisticated advanced persistent threats that might aim to cause physical damage to storage assets or trigger cascading grid failures.
Regulatory compliance adds another layer of complexity, as energy storage systems must adhere to various standards including NERC CIP requirements in North America and NIS Directive in Europe. Digital twin implementations must be designed with these compliance frameworks in mind, incorporating appropriate security controls and documentation processes.
Incident response planning specifically tailored to digital twin environments represents a developing field. Organizations must establish clear protocols for detecting, containing, and remediating security breaches that might affect both the digital representation and physical assets simultaneously. This includes procedures for operating in degraded modes when digital twin functionality is compromised.
Unlock deeper insights with Patsnap Eureka Quick Research — get a full tech report to explore trends and direct your research. Try now!
Generate Your Research Report Instantly with AI Agent
Supercharge your innovation with Patsnap Eureka AI Agent Platform!