How do mild hybrid designs reduce automotive CO2 footprints
AUG 18, 20259 MIN READ
Generate Your Research Report Instantly with AI Agent
Patsnap Eureka helps you evaluate technical feasibility & market potential.
Mild Hybrid Technology Evolution and Objectives
Mild hybrid technology has evolved significantly over the past two decades, driven by the automotive industry's need to reduce CO2 emissions and improve fuel efficiency. The primary objective of mild hybrid designs is to provide a cost-effective solution for reducing vehicle carbon footprints without the complexity and expense of full hybrid or electric powertrains.
The evolution of mild hybrid technology began in the early 2000s with simple start-stop systems. These initial designs focused on shutting off the engine during idle periods, such as at traffic lights, to reduce unnecessary fuel consumption and emissions. As the technology progressed, more sophisticated systems emerged, incorporating regenerative braking and limited electric assist capabilities.
By the mid-2010s, 48-volt mild hybrid systems became increasingly prevalent. These systems offered a significant improvement over 12-volt architectures, allowing for more powerful electric motors and increased energy recovery. The higher voltage also enabled the integration of electric superchargers and more efficient power management systems, further enhancing fuel economy and reducing emissions.
The latest generation of mild hybrid designs aims to maximize the potential of electrification while minimizing costs and complexity. Current objectives include expanding the electric-only operating range, improving energy recuperation efficiency, and seamlessly integrating hybrid components into existing vehicle platforms. Manufacturers are also focusing on reducing the weight and size of hybrid components to minimize their impact on vehicle dynamics and packaging.
A key goal in the evolution of mild hybrid technology is to achieve a balance between performance enhancement and emissions reduction. Modern systems are designed to provide torque assist during acceleration, allowing for engine downsizing without compromising drivability. This approach enables automakers to meet increasingly stringent emissions regulations while maintaining or even improving vehicle performance characteristics.
Looking forward, the objectives for mild hybrid technology include further integration with advanced driver assistance systems (ADAS) and connectivity features. This integration aims to optimize energy management based on real-time traffic data, route information, and driving conditions. Additionally, there is a push towards standardization of mild hybrid components across different vehicle models and brands, which could lead to economies of scale and reduced production costs.
As the automotive industry continues to transition towards full electrification, mild hybrid technology serves as a crucial stepping stone. It provides a pragmatic approach to reducing CO2 emissions in the near term while the infrastructure and technology for widespread electric vehicle adoption continue to develop. The ongoing evolution of mild hybrid designs reflects the industry's commitment to incrementally improving efficiency and reducing environmental impact across a broad range of vehicle segments.
The evolution of mild hybrid technology began in the early 2000s with simple start-stop systems. These initial designs focused on shutting off the engine during idle periods, such as at traffic lights, to reduce unnecessary fuel consumption and emissions. As the technology progressed, more sophisticated systems emerged, incorporating regenerative braking and limited electric assist capabilities.
By the mid-2010s, 48-volt mild hybrid systems became increasingly prevalent. These systems offered a significant improvement over 12-volt architectures, allowing for more powerful electric motors and increased energy recovery. The higher voltage also enabled the integration of electric superchargers and more efficient power management systems, further enhancing fuel economy and reducing emissions.
The latest generation of mild hybrid designs aims to maximize the potential of electrification while minimizing costs and complexity. Current objectives include expanding the electric-only operating range, improving energy recuperation efficiency, and seamlessly integrating hybrid components into existing vehicle platforms. Manufacturers are also focusing on reducing the weight and size of hybrid components to minimize their impact on vehicle dynamics and packaging.
A key goal in the evolution of mild hybrid technology is to achieve a balance between performance enhancement and emissions reduction. Modern systems are designed to provide torque assist during acceleration, allowing for engine downsizing without compromising drivability. This approach enables automakers to meet increasingly stringent emissions regulations while maintaining or even improving vehicle performance characteristics.
Looking forward, the objectives for mild hybrid technology include further integration with advanced driver assistance systems (ADAS) and connectivity features. This integration aims to optimize energy management based on real-time traffic data, route information, and driving conditions. Additionally, there is a push towards standardization of mild hybrid components across different vehicle models and brands, which could lead to economies of scale and reduced production costs.
As the automotive industry continues to transition towards full electrification, mild hybrid technology serves as a crucial stepping stone. It provides a pragmatic approach to reducing CO2 emissions in the near term while the infrastructure and technology for widespread electric vehicle adoption continue to develop. The ongoing evolution of mild hybrid designs reflects the industry's commitment to incrementally improving efficiency and reducing environmental impact across a broad range of vehicle segments.
Market Demand for Low-Emission Vehicles
The global automotive industry is experiencing a significant shift towards low-emission vehicles, driven by increasing environmental concerns and stringent regulations aimed at reducing carbon dioxide (CO2) emissions. This market demand is particularly evident in the growing interest in mild hybrid vehicles, which offer a balance between improved fuel efficiency and reduced emissions without the complexity and cost associated with full hybrid or electric vehicles.
Consumer awareness of climate change and the environmental impact of traditional internal combustion engine vehicles has led to a surge in demand for more eco-friendly transportation options. Mild hybrid technology has emerged as an attractive solution for consumers who seek to reduce their carbon footprint while maintaining the familiarity and convenience of conventional vehicles. This technology appeals to a broad range of consumers, from environmentally conscious individuals to those looking for cost savings through improved fuel economy.
Government regulations and incentives have played a crucial role in shaping the market demand for low-emission vehicles, including mild hybrids. Many countries have implemented strict CO2 emission standards and fuel economy requirements, compelling automakers to adopt technologies that can meet these regulations. In the European Union, for example, the target for fleet-wide average emissions for new cars is set at 95 grams of CO2 per kilometer, which has accelerated the adoption of mild hybrid systems across various vehicle segments.
The market for mild hybrid vehicles has seen substantial growth in recent years. Major automotive manufacturers have introduced mild hybrid variants across their product lines, from compact cars to SUVs and luxury vehicles. This widespread adoption indicates a strong market acceptance and demand for this technology. The versatility of mild hybrid systems allows automakers to offer improved efficiency and reduced emissions across diverse vehicle types, catering to different consumer preferences and market segments.
Fleet operators and corporate buyers are also contributing to the increased demand for low-emission vehicles, including mild hybrids. Many companies are adopting sustainability goals and seeking to reduce their overall carbon footprint, leading to a preference for more fuel-efficient and environmentally friendly vehicle options in their fleets. This trend is particularly noticeable in urban areas where air quality concerns are more pronounced.
The cost-effectiveness of mild hybrid technology compared to full hybrid or electric vehicles is another factor driving market demand. Mild hybrid systems offer a significant reduction in CO2 emissions and fuel consumption at a lower price point, making them an attractive option for both manufacturers and consumers. This accessibility has helped to broaden the appeal of low-emission vehicles to a wider range of consumers, including those in price-sensitive markets.
As the automotive industry continues to evolve, the demand for low-emission vehicles is expected to grow further. Mild hybrid technology serves as an important stepping stone in the transition towards more sustainable transportation options, bridging the gap between conventional internal combustion engines and fully electric vehicles. This transitional role positions mild hybrids as a key technology in meeting both consumer demands and regulatory requirements for reduced automotive CO2 footprints in the coming years.
Consumer awareness of climate change and the environmental impact of traditional internal combustion engine vehicles has led to a surge in demand for more eco-friendly transportation options. Mild hybrid technology has emerged as an attractive solution for consumers who seek to reduce their carbon footprint while maintaining the familiarity and convenience of conventional vehicles. This technology appeals to a broad range of consumers, from environmentally conscious individuals to those looking for cost savings through improved fuel economy.
Government regulations and incentives have played a crucial role in shaping the market demand for low-emission vehicles, including mild hybrids. Many countries have implemented strict CO2 emission standards and fuel economy requirements, compelling automakers to adopt technologies that can meet these regulations. In the European Union, for example, the target for fleet-wide average emissions for new cars is set at 95 grams of CO2 per kilometer, which has accelerated the adoption of mild hybrid systems across various vehicle segments.
The market for mild hybrid vehicles has seen substantial growth in recent years. Major automotive manufacturers have introduced mild hybrid variants across their product lines, from compact cars to SUVs and luxury vehicles. This widespread adoption indicates a strong market acceptance and demand for this technology. The versatility of mild hybrid systems allows automakers to offer improved efficiency and reduced emissions across diverse vehicle types, catering to different consumer preferences and market segments.
Fleet operators and corporate buyers are also contributing to the increased demand for low-emission vehicles, including mild hybrids. Many companies are adopting sustainability goals and seeking to reduce their overall carbon footprint, leading to a preference for more fuel-efficient and environmentally friendly vehicle options in their fleets. This trend is particularly noticeable in urban areas where air quality concerns are more pronounced.
The cost-effectiveness of mild hybrid technology compared to full hybrid or electric vehicles is another factor driving market demand. Mild hybrid systems offer a significant reduction in CO2 emissions and fuel consumption at a lower price point, making them an attractive option for both manufacturers and consumers. This accessibility has helped to broaden the appeal of low-emission vehicles to a wider range of consumers, including those in price-sensitive markets.
As the automotive industry continues to evolve, the demand for low-emission vehicles is expected to grow further. Mild hybrid technology serves as an important stepping stone in the transition towards more sustainable transportation options, bridging the gap between conventional internal combustion engines and fully electric vehicles. This transitional role positions mild hybrids as a key technology in meeting both consumer demands and regulatory requirements for reduced automotive CO2 footprints in the coming years.
Current State and Challenges in Mild Hybrid Systems
Mild hybrid systems have gained significant traction in the automotive industry as a cost-effective solution to reduce CO2 emissions. These systems typically incorporate a small electric motor and battery alongside a conventional internal combustion engine, providing assistance during acceleration and enabling engine shut-off during coasting or idling. The current state of mild hybrid technology showcases a range of implementations, from 12V to 48V systems, with varying degrees of electrification and fuel efficiency improvements.
The most prevalent mild hybrid systems in the market today are 48V systems, which offer a balance between cost and performance. These systems can provide up to 20 kW of electric power, enabling features such as electric torque assist, regenerative braking, and extended start-stop functionality. Major automakers, including Audi, Mercedes-Benz, and Volkswagen, have widely adopted 48V mild hybrid technology across their model ranges.
Despite the progress made in mild hybrid technology, several challenges persist. One of the primary obstacles is the limited electric-only driving capability of these systems. Unlike full hybrids or plug-in hybrids, mild hybrids cannot operate solely on electric power for extended periods, which constrains their potential for CO2 reduction in urban environments.
Another significant challenge is the integration of mild hybrid components into existing vehicle architectures. Manufacturers must optimize the placement of electric motors, batteries, and power electronics to minimize impact on vehicle packaging and weight. This often requires redesigning engine compartments and modifying vehicle platforms, which can increase development costs and complexity.
The cost-benefit ratio of mild hybrid systems also presents a challenge. While less expensive than full hybrid or electric powertrains, the additional components still contribute to higher vehicle costs. Automakers must balance the incremental cost against the achievable CO2 reductions to meet regulatory requirements while maintaining competitive pricing.
Furthermore, the energy storage capacity of mild hybrid batteries is limited, typically ranging from 0.5 to 1 kWh. This constraint affects the system's ability to capture and utilize regenerative braking energy, particularly during extended downhill driving or in stop-and-go traffic conditions. Enhancing energy storage capacity without significantly increasing cost or weight remains a key area for improvement.
Lastly, the complexity of control strategies for mild hybrid systems poses a challenge. Optimizing the interplay between the electric motor and internal combustion engine to maximize efficiency across various driving conditions requires sophisticated software and calibration efforts. Achieving seamless operation and maximizing CO2 reduction potential demands continuous refinement of these control algorithms.
The most prevalent mild hybrid systems in the market today are 48V systems, which offer a balance between cost and performance. These systems can provide up to 20 kW of electric power, enabling features such as electric torque assist, regenerative braking, and extended start-stop functionality. Major automakers, including Audi, Mercedes-Benz, and Volkswagen, have widely adopted 48V mild hybrid technology across their model ranges.
Despite the progress made in mild hybrid technology, several challenges persist. One of the primary obstacles is the limited electric-only driving capability of these systems. Unlike full hybrids or plug-in hybrids, mild hybrids cannot operate solely on electric power for extended periods, which constrains their potential for CO2 reduction in urban environments.
Another significant challenge is the integration of mild hybrid components into existing vehicle architectures. Manufacturers must optimize the placement of electric motors, batteries, and power electronics to minimize impact on vehicle packaging and weight. This often requires redesigning engine compartments and modifying vehicle platforms, which can increase development costs and complexity.
The cost-benefit ratio of mild hybrid systems also presents a challenge. While less expensive than full hybrid or electric powertrains, the additional components still contribute to higher vehicle costs. Automakers must balance the incremental cost against the achievable CO2 reductions to meet regulatory requirements while maintaining competitive pricing.
Furthermore, the energy storage capacity of mild hybrid batteries is limited, typically ranging from 0.5 to 1 kWh. This constraint affects the system's ability to capture and utilize regenerative braking energy, particularly during extended downhill driving or in stop-and-go traffic conditions. Enhancing energy storage capacity without significantly increasing cost or weight remains a key area for improvement.
Lastly, the complexity of control strategies for mild hybrid systems poses a challenge. Optimizing the interplay between the electric motor and internal combustion engine to maximize efficiency across various driving conditions requires sophisticated software and calibration efforts. Achieving seamless operation and maximizing CO2 reduction potential demands continuous refinement of these control algorithms.
Existing Mild Hybrid CO2 Reduction Solutions
01 Regenerative braking systems in mild hybrids
Mild hybrid designs incorporate regenerative braking systems to capture and store energy during deceleration. This recovered energy is then used to assist the internal combustion engine, reducing fuel consumption and CO2 emissions. The system typically includes an electric motor-generator and a battery for energy storage.- Regenerative braking systems in mild hybrids: Mild hybrid designs incorporate regenerative braking systems to capture and store energy during deceleration. This energy is then used to assist the internal combustion engine, reducing fuel consumption and CO2 emissions. The system typically includes an electric motor-generator and a battery for energy storage.
- Start-stop technology for reduced idling emissions: Mild hybrid vehicles utilize start-stop technology to automatically shut off the engine when the vehicle is stationary and restart it when needed. This feature significantly reduces fuel consumption and CO2 emissions during urban driving conditions with frequent stops.
- Electric motor assist for improved efficiency: Mild hybrid designs incorporate an electric motor to assist the internal combustion engine during acceleration and high-load conditions. This electric assist reduces the load on the engine, leading to improved fuel efficiency and lower CO2 emissions. The system can be integrated into various powertrain configurations.
- Battery management and power distribution optimization: Advanced battery management systems and power distribution strategies are employed in mild hybrid designs to optimize energy usage. These systems ensure efficient charging and discharging of the battery, as well as intelligent distribution of power between the electric motor and internal combustion engine, further reducing CO2 emissions.
- Lightweight materials and aerodynamic design: Mild hybrid vehicles often incorporate lightweight materials and aerodynamic design elements to reduce overall vehicle weight and improve fuel efficiency. These features, combined with the hybrid powertrain, contribute to a lower CO2 footprint compared to conventional vehicles.
02 Start-stop technology for engine efficiency
Mild hybrid vehicles utilize start-stop technology to automatically shut off the engine when the vehicle is stationary and restart it when needed. This feature helps reduce idle time, fuel consumption, and CO2 emissions, particularly in urban driving conditions with frequent stops.Expand Specific Solutions03 Electric motor assist for improved fuel economy
Mild hybrid designs integrate an electric motor to assist the internal combustion engine during acceleration and high-load conditions. This electric boost reduces the load on the engine, leading to improved fuel efficiency and lower CO2 emissions. The system can be designed to provide varying levels of assistance based on driving conditions.Expand Specific Solutions04 Battery management and power distribution
Efficient battery management and power distribution systems are crucial in mild hybrid designs to optimize energy usage and minimize CO2 footprint. These systems control the flow of energy between the battery, electric motor, and internal combustion engine, ensuring optimal performance and emissions reduction across various driving scenarios.Expand Specific Solutions05 Lightweight materials and aerodynamic design
Mild hybrid vehicles often incorporate lightweight materials and aerodynamic design elements to reduce overall vehicle weight and air resistance. These features contribute to improved fuel efficiency and reduced CO2 emissions by decreasing the energy required for propulsion and overcoming drag forces during operation.Expand Specific Solutions
Key Players in Mild Hybrid Automotive Industry
The mild hybrid technology market is in a growth phase, with increasing adoption across the automotive industry to reduce CO2 emissions. Major players like Toyota, Honda, and Hyundai are leading the way, leveraging their extensive R&D capabilities and global market presence. The market size is expanding rapidly, driven by stringent emissions regulations and consumer demand for fuel-efficient vehicles. Technologically, mild hybrid systems are relatively mature, with companies like BYD, Johnson Controls, and Bosch offering advanced solutions. However, there's ongoing innovation in areas such as battery technology and power management systems, with newer entrants like Atieva bringing fresh perspectives to the field.
Ford Global Technologies LLC
Technical Solution: Ford's mild hybrid system, marketed as EcoBoost Hybrid, combines a small electric motor with a lithium-ion battery and a turbocharged EcoBoost engine. The system uses a belt-driven integrated starter/generator (BISG) that can provide electric torque assistance and regenerative braking. Ford's mild hybrid technology can reduce CO2 emissions by up to 8% in real-world driving conditions [5]. The system allows for extended stop-start functionality, enabling the engine to be switched off when coasting, braking, or stopping. Ford's BISG can also provide up to 50 Nm of electric torque assistance during acceleration, reducing the load on the gasoline engine and improving fuel efficiency [6].
Strengths: Cost-effective solution for reducing emissions across a wide range of vehicles, minimal changes to existing vehicle architectures. Weaknesses: Lower CO2 reduction potential compared to full hybrids or plug-in hybrids.
Toyota Motor Corp.
Technical Solution: Toyota's mild hybrid system, often referred to as the Toyota Hybrid System II (THS-II), integrates an electric motor with a conventional internal combustion engine. The system uses a 48V lithium-ion battery and a belt-driven integrated starter generator (ISG) to provide electric assist during acceleration and enable engine stop-start functionality. This design allows for regenerative braking, which recovers kinetic energy during deceleration and stores it in the battery for later use. Toyota's system can reduce fuel consumption by up to 15% in urban driving conditions [1][3]. The mild hybrid system also incorporates advanced thermal management and power electronics to optimize efficiency across various driving scenarios.
Strengths: Proven reliability, seamless integration with existing powertrains, and significant fuel economy improvements. Weaknesses: Limited electric-only operation compared to full hybrids, and additional complexity in the powertrain.
Core Innovations in Mild Hybrid Powertrains
Predictively controlling the state of charge of an energy storage device of an electrically operated motor vehicle
PatentActiveUS20170144648A1
Innovation
- A process that uses predictive route data and vehicle-to-vehicle communication to adjust the energy reserve allocation between onboard devices, ensuring that only necessary energy is reserved for chassis devices, with excess energy allocated to comfort systems based on predicted energy requirements and usage criteria.
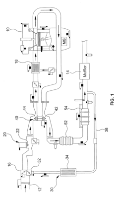
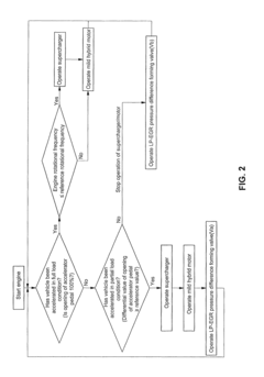
Method for reducing exhaust gas of mild hybrid system
PatentActiveUS10001069B2
Innovation
- A method utilizing an electronic control unit to manage the operation of an electric supercharger, determining engine load regions and adjusting its operation based on accelerator pedal position and rotational frequency, and controlling the low-pressure exhaust gas recirculation valve to prevent turbo lag and optimize air recirculation.
Environmental Regulations and Emission Standards
Environmental regulations and emission standards play a crucial role in shaping the automotive industry's approach to reducing CO2 footprints, particularly in the context of mild hybrid designs. These regulations have become increasingly stringent over the years, driven by global efforts to combat climate change and improve air quality in urban areas.
The European Union has been at the forefront of implementing strict CO2 emission standards for passenger vehicles. The EU's current target requires new cars to emit no more than 95 grams of CO2 per kilometer on average. This standard has been a significant driver for automotive manufacturers to invest in hybrid technologies, including mild hybrid systems, as a means to meet these challenging targets.
In the United States, the Corporate Average Fuel Economy (CAFE) standards have been instrumental in pushing automakers to improve fuel efficiency and reduce emissions. These standards set specific fuel economy targets for vehicle fleets, indirectly encouraging the adoption of hybrid technologies. The recent proposal to increase CAFE standards to 49 miles per gallon by 2026 further emphasizes the need for advanced powertrain solutions like mild hybrids.
China, the world's largest automotive market, has also implemented its own set of emission standards. The China 6 standard, which is comparable to Euro 6 in terms of stringency, has accelerated the development and adoption of hybrid technologies in the Chinese market. This has led to a significant increase in the production and sales of mild hybrid vehicles in the country.
The impact of these regulations on mild hybrid designs is substantial. Automakers are increasingly turning to mild hybrid systems as a cost-effective solution to meet emission targets without the complexity and expense of full hybrid or electric powertrains. These systems typically incorporate a small electric motor and battery to assist the internal combustion engine, resulting in improved fuel efficiency and reduced CO2 emissions.
Moreover, many countries have introduced incentive programs and tax benefits for low-emission vehicles, including those equipped with mild hybrid technology. These financial incentives have further accelerated the adoption of mild hybrid designs by making them more attractive to consumers and encouraging manufacturers to invest in their development.
As emission standards continue to evolve, it is likely that mild hybrid designs will play an increasingly important role in the automotive industry's efforts to reduce CO2 footprints. The technology serves as a bridge between conventional internal combustion engines and fully electric vehicles, offering a pragmatic approach to meeting regulatory requirements while balancing cost and performance considerations.
The European Union has been at the forefront of implementing strict CO2 emission standards for passenger vehicles. The EU's current target requires new cars to emit no more than 95 grams of CO2 per kilometer on average. This standard has been a significant driver for automotive manufacturers to invest in hybrid technologies, including mild hybrid systems, as a means to meet these challenging targets.
In the United States, the Corporate Average Fuel Economy (CAFE) standards have been instrumental in pushing automakers to improve fuel efficiency and reduce emissions. These standards set specific fuel economy targets for vehicle fleets, indirectly encouraging the adoption of hybrid technologies. The recent proposal to increase CAFE standards to 49 miles per gallon by 2026 further emphasizes the need for advanced powertrain solutions like mild hybrids.
China, the world's largest automotive market, has also implemented its own set of emission standards. The China 6 standard, which is comparable to Euro 6 in terms of stringency, has accelerated the development and adoption of hybrid technologies in the Chinese market. This has led to a significant increase in the production and sales of mild hybrid vehicles in the country.
The impact of these regulations on mild hybrid designs is substantial. Automakers are increasingly turning to mild hybrid systems as a cost-effective solution to meet emission targets without the complexity and expense of full hybrid or electric powertrains. These systems typically incorporate a small electric motor and battery to assist the internal combustion engine, resulting in improved fuel efficiency and reduced CO2 emissions.
Moreover, many countries have introduced incentive programs and tax benefits for low-emission vehicles, including those equipped with mild hybrid technology. These financial incentives have further accelerated the adoption of mild hybrid designs by making them more attractive to consumers and encouraging manufacturers to invest in their development.
As emission standards continue to evolve, it is likely that mild hybrid designs will play an increasingly important role in the automotive industry's efforts to reduce CO2 footprints. The technology serves as a bridge between conventional internal combustion engines and fully electric vehicles, offering a pragmatic approach to meeting regulatory requirements while balancing cost and performance considerations.
Cost-Benefit Analysis of Mild Hybrid Systems
The cost-benefit analysis of mild hybrid systems reveals a compelling case for their adoption in reducing automotive CO2 footprints. These systems offer a balance between environmental benefits and economic feasibility, making them an attractive option for automakers and consumers alike.
From a cost perspective, mild hybrid systems are significantly less expensive to implement compared to full hybrid or electric vehicle technologies. The integration of a small electric motor and battery pack into existing internal combustion engine (ICE) architectures requires minimal redesign, resulting in lower development and production costs. This cost-effectiveness allows manufacturers to offer mild hybrid vehicles at a more competitive price point, increasing their market appeal.
The benefits of mild hybrid systems are multifaceted. Primarily, they contribute to reduced CO2 emissions through improved fuel efficiency. The electric motor assists the ICE during acceleration and allows for engine shut-off during coasting and idling, reducing fuel consumption in urban driving conditions. Studies have shown that mild hybrid systems can improve fuel economy by 10-15% in city driving scenarios, translating to a proportional reduction in CO2 emissions.
Furthermore, mild hybrid systems enhance vehicle performance without compromising drivability. The electric motor's instant torque delivery improves acceleration response, particularly from a standstill, enhancing the overall driving experience. This performance boost comes without the range anxiety associated with fully electric vehicles, making mild hybrids an attractive compromise for consumers.
From a regulatory standpoint, mild hybrid systems help automakers meet increasingly stringent emissions standards. The incremental reduction in CO2 emissions across a manufacturer's fleet can significantly contribute to achieving compliance with environmental regulations, potentially avoiding hefty fines for exceeding emission limits.
However, the cost-benefit analysis must also consider the long-term savings for consumers. While the initial purchase price of a mild hybrid vehicle may be slightly higher than its conventional counterpart, the improved fuel efficiency leads to reduced operating costs over the vehicle's lifetime. The payback period for this additional investment varies depending on fuel prices and driving patterns but is generally favorable in most markets.
In conclusion, the cost-benefit analysis of mild hybrid systems demonstrates a positive value proposition. The relatively low implementation costs, combined with tangible benefits in emissions reduction, fuel efficiency, and regulatory compliance, make mild hybrid technology a pragmatic solution for reducing automotive CO2 footprints in the near to medium term.
From a cost perspective, mild hybrid systems are significantly less expensive to implement compared to full hybrid or electric vehicle technologies. The integration of a small electric motor and battery pack into existing internal combustion engine (ICE) architectures requires minimal redesign, resulting in lower development and production costs. This cost-effectiveness allows manufacturers to offer mild hybrid vehicles at a more competitive price point, increasing their market appeal.
The benefits of mild hybrid systems are multifaceted. Primarily, they contribute to reduced CO2 emissions through improved fuel efficiency. The electric motor assists the ICE during acceleration and allows for engine shut-off during coasting and idling, reducing fuel consumption in urban driving conditions. Studies have shown that mild hybrid systems can improve fuel economy by 10-15% in city driving scenarios, translating to a proportional reduction in CO2 emissions.
Furthermore, mild hybrid systems enhance vehicle performance without compromising drivability. The electric motor's instant torque delivery improves acceleration response, particularly from a standstill, enhancing the overall driving experience. This performance boost comes without the range anxiety associated with fully electric vehicles, making mild hybrids an attractive compromise for consumers.
From a regulatory standpoint, mild hybrid systems help automakers meet increasingly stringent emissions standards. The incremental reduction in CO2 emissions across a manufacturer's fleet can significantly contribute to achieving compliance with environmental regulations, potentially avoiding hefty fines for exceeding emission limits.
However, the cost-benefit analysis must also consider the long-term savings for consumers. While the initial purchase price of a mild hybrid vehicle may be slightly higher than its conventional counterpart, the improved fuel efficiency leads to reduced operating costs over the vehicle's lifetime. The payback period for this additional investment varies depending on fuel prices and driving patterns but is generally favorable in most markets.
In conclusion, the cost-benefit analysis of mild hybrid systems demonstrates a positive value proposition. The relatively low implementation costs, combined with tangible benefits in emissions reduction, fuel efficiency, and regulatory compliance, make mild hybrid technology a pragmatic solution for reducing automotive CO2 footprints in the near to medium term.
Unlock deeper insights with Patsnap Eureka Quick Research — get a full tech report to explore trends and direct your research. Try now!
Generate Your Research Report Instantly with AI Agent
Supercharge your innovation with Patsnap Eureka AI Agent Platform!






