How to Test PoE++ Infrastructure for Failures
SEP 24, 20259 MIN READ
Generate Your Research Report Instantly with AI Agent
Patsnap Eureka helps you evaluate technical feasibility & market potential.
PoE++ Technology Background and Testing Objectives
Power over Ethernet (PoE) technology has evolved significantly since its inception in the early 2000s, progressing from the original IEEE 802.3af standard (PoE) to IEEE 802.3at (PoE+) and now to IEEE 802.3bt (PoE++). This latest iteration represents a substantial advancement in power delivery capabilities, increasing from the initial 15.4W to up to 90W per port, enabling the support of more power-hungry devices across network infrastructure.
The evolution of PoE technology has been driven primarily by the growing demand for networked devices requiring higher power consumption. The original PoE standard was sufficient for basic IP phones and wireless access points, but as technology advanced, devices such as pan-tilt-zoom cameras, video conferencing systems, and advanced IoT devices necessitated greater power delivery capabilities, leading to the development of PoE++ (802.3bt).
PoE++ introduces two new power types: Type 3 (up to 60W) and Type 4 (up to 90W), utilizing all four pairs of wires in standard Ethernet cables for power transmission, compared to the two pairs used in earlier standards. This significant increase in power delivery has expanded the application scope to include digital signage, thin clients, laptops, and even building management systems.
The primary objective of testing PoE++ infrastructure for failures is to ensure reliable power delivery under various operational conditions while maintaining network performance integrity. This involves verifying that power sourcing equipment (PSE) can consistently deliver the required power levels to powered devices (PD) without degradation of data transmission quality or system stability.
Testing objectives must address several critical aspects of PoE++ implementation. First, power negotiation protocols must be thoroughly evaluated to confirm proper classification and allocation of power resources. Second, thermal management testing is essential as higher power levels generate more heat, potentially affecting both cable integrity and network equipment longevity. Third, compatibility testing between devices from different manufacturers is crucial due to the complex interoperability requirements of the standard.
Additionally, testing must verify system resilience under various stress conditions, including maximum load scenarios, power cycling, and environmental variations. Fault tolerance mechanisms need validation to ensure that power-related failures in one part of the network do not cascade throughout the infrastructure, maintaining overall system stability.
The ultimate goal of comprehensive PoE++ testing is to establish confidence in the infrastructure's ability to support mission-critical applications that depend on reliable power delivery through the Ethernet network, while simultaneously identifying potential failure points before they impact operational environments.
The evolution of PoE technology has been driven primarily by the growing demand for networked devices requiring higher power consumption. The original PoE standard was sufficient for basic IP phones and wireless access points, but as technology advanced, devices such as pan-tilt-zoom cameras, video conferencing systems, and advanced IoT devices necessitated greater power delivery capabilities, leading to the development of PoE++ (802.3bt).
PoE++ introduces two new power types: Type 3 (up to 60W) and Type 4 (up to 90W), utilizing all four pairs of wires in standard Ethernet cables for power transmission, compared to the two pairs used in earlier standards. This significant increase in power delivery has expanded the application scope to include digital signage, thin clients, laptops, and even building management systems.
The primary objective of testing PoE++ infrastructure for failures is to ensure reliable power delivery under various operational conditions while maintaining network performance integrity. This involves verifying that power sourcing equipment (PSE) can consistently deliver the required power levels to powered devices (PD) without degradation of data transmission quality or system stability.
Testing objectives must address several critical aspects of PoE++ implementation. First, power negotiation protocols must be thoroughly evaluated to confirm proper classification and allocation of power resources. Second, thermal management testing is essential as higher power levels generate more heat, potentially affecting both cable integrity and network equipment longevity. Third, compatibility testing between devices from different manufacturers is crucial due to the complex interoperability requirements of the standard.
Additionally, testing must verify system resilience under various stress conditions, including maximum load scenarios, power cycling, and environmental variations. Fault tolerance mechanisms need validation to ensure that power-related failures in one part of the network do not cascade throughout the infrastructure, maintaining overall system stability.
The ultimate goal of comprehensive PoE++ testing is to establish confidence in the infrastructure's ability to support mission-critical applications that depend on reliable power delivery through the Ethernet network, while simultaneously identifying potential failure points before they impact operational environments.
Market Demand Analysis for Reliable PoE++ Infrastructure
The Power over Ethernet (PoE++) market is experiencing significant growth driven by the increasing demand for reliable power delivery solutions across various industries. The global PoE market is projected to reach $2 billion by 2025, with the advanced PoE++ segment showing the fastest growth rate at approximately 15% annually. This surge is primarily attributed to the expanding Internet of Things (IoT) ecosystem and the proliferation of connected devices requiring both data and power through a single cable.
Enterprise networks represent the largest market segment for PoE++ infrastructure, as organizations seek to streamline their network deployments while supporting higher-powered devices. The ability to deliver up to 100W of power through standard Ethernet cables has opened new application possibilities beyond traditional IP phones and wireless access points, extending to high-performance surveillance cameras, digital signage, and even lighting systems.
Healthcare facilities are emerging as a critical growth sector for reliable PoE++ solutions, with hospitals implementing connected medical devices that require uninterrupted power. Market research indicates that 78% of healthcare IT managers consider power reliability a top priority when evaluating network infrastructure upgrades, highlighting the critical nature of these deployments.
Industrial automation represents another significant market opportunity, with manufacturing facilities increasingly adopting PoE-powered sensors and control systems. The industrial segment values the reduced installation costs and simplified maintenance that PoE++ offers, with studies showing implementation cost reductions of up to 30% compared to traditional power distribution methods.
Smart building initiatives are driving demand for integrated power and data solutions, with PoE++ enabling centralized management of building systems including HVAC controls, access systems, and occupancy sensors. Market analysts report that 65% of new commercial construction projects now specify PoE capabilities in their network infrastructure requirements.
The financial consequences of PoE++ infrastructure failures are substantial, with network downtime costs averaging $5,600 per minute across industries. This economic impact has created a robust market for testing solutions that can identify potential failure points before they affect operations. Survey data indicates that 82% of network administrators are willing to invest in preventative testing equipment if it can demonstrably reduce unplanned downtime.
Regional analysis shows North America leading the market for PoE++ infrastructure testing solutions, followed by Europe and Asia-Pacific. However, the Asia-Pacific region is expected to show the highest growth rate over the next five years as manufacturing centers and smart city initiatives drive adoption of advanced network technologies.
Enterprise networks represent the largest market segment for PoE++ infrastructure, as organizations seek to streamline their network deployments while supporting higher-powered devices. The ability to deliver up to 100W of power through standard Ethernet cables has opened new application possibilities beyond traditional IP phones and wireless access points, extending to high-performance surveillance cameras, digital signage, and even lighting systems.
Healthcare facilities are emerging as a critical growth sector for reliable PoE++ solutions, with hospitals implementing connected medical devices that require uninterrupted power. Market research indicates that 78% of healthcare IT managers consider power reliability a top priority when evaluating network infrastructure upgrades, highlighting the critical nature of these deployments.
Industrial automation represents another significant market opportunity, with manufacturing facilities increasingly adopting PoE-powered sensors and control systems. The industrial segment values the reduced installation costs and simplified maintenance that PoE++ offers, with studies showing implementation cost reductions of up to 30% compared to traditional power distribution methods.
Smart building initiatives are driving demand for integrated power and data solutions, with PoE++ enabling centralized management of building systems including HVAC controls, access systems, and occupancy sensors. Market analysts report that 65% of new commercial construction projects now specify PoE capabilities in their network infrastructure requirements.
The financial consequences of PoE++ infrastructure failures are substantial, with network downtime costs averaging $5,600 per minute across industries. This economic impact has created a robust market for testing solutions that can identify potential failure points before they affect operations. Survey data indicates that 82% of network administrators are willing to invest in preventative testing equipment if it can demonstrably reduce unplanned downtime.
Regional analysis shows North America leading the market for PoE++ infrastructure testing solutions, followed by Europe and Asia-Pacific. However, the Asia-Pacific region is expected to show the highest growth rate over the next five years as manufacturing centers and smart city initiatives drive adoption of advanced network technologies.
Current PoE++ Testing Challenges and Limitations
Testing Power over Ethernet Plus Plus (PoE++) infrastructure presents significant challenges due to the technology's complexity and high power delivery capabilities. Current testing methodologies often fail to adequately simulate real-world conditions, particularly when evaluating system behavior under various failure scenarios. The IEEE 802.3bt standard that governs PoE++ allows for power delivery up to 90W, substantially increasing the potential impact of failures compared to previous PoE standards.
One primary limitation in current testing approaches is the inability to comprehensively evaluate power negotiation failures. The complex handshaking process between Powered Devices (PDs) and Power Sourcing Equipment (PSE) involves multiple classification stages that are difficult to test under all possible error conditions. Testing tools frequently lack the sophistication to simulate partial negotiation failures or timing-related issues that occur in deployed networks.
Thermal testing represents another significant challenge. The higher power levels of PoE++ generate considerably more heat than previous standards, yet many testing methodologies do not adequately account for thermal accumulation in cable bundles or enclosed spaces. This gap in testing can lead to unexpected thermal shutdowns or premature component degradation in production environments that weren't identified during validation.
Cable infrastructure testing also presents unique difficulties. While laboratory tests typically use ideal cabling conditions, real-world installations often include varied cable qualities, lengths, and installation methods. Current testing approaches rarely account for the full spectrum of cable infrastructure variations, particularly aging infrastructure that may have degraded over time but still meets minimum specifications.
Interoperability testing between multi-vendor equipment remains problematic. Despite the IEEE standard, implementation variations between manufacturers can lead to unexpected compatibility issues. Current testing methodologies often focus on single-vendor environments or limited combinations, missing potential interoperability problems that emerge in heterogeneous networks.
Transient condition testing is another area with significant limitations. Power surges, brownouts, and rapid connect/disconnect cycles can stress PoE++ systems in ways that static testing fails to capture. Few testing frameworks adequately simulate these dynamic conditions at scale or over extended periods.
Security vulnerability testing for PoE++ infrastructure is notably underdeveloped. As these systems become more software-controlled and network-integrated, they present potential attack vectors that traditional power testing methodologies do not address. Current approaches rarely incorporate cybersecurity considerations into power infrastructure testing, creating a significant blind spot in overall system resilience evaluation.
One primary limitation in current testing approaches is the inability to comprehensively evaluate power negotiation failures. The complex handshaking process between Powered Devices (PDs) and Power Sourcing Equipment (PSE) involves multiple classification stages that are difficult to test under all possible error conditions. Testing tools frequently lack the sophistication to simulate partial negotiation failures or timing-related issues that occur in deployed networks.
Thermal testing represents another significant challenge. The higher power levels of PoE++ generate considerably more heat than previous standards, yet many testing methodologies do not adequately account for thermal accumulation in cable bundles or enclosed spaces. This gap in testing can lead to unexpected thermal shutdowns or premature component degradation in production environments that weren't identified during validation.
Cable infrastructure testing also presents unique difficulties. While laboratory tests typically use ideal cabling conditions, real-world installations often include varied cable qualities, lengths, and installation methods. Current testing approaches rarely account for the full spectrum of cable infrastructure variations, particularly aging infrastructure that may have degraded over time but still meets minimum specifications.
Interoperability testing between multi-vendor equipment remains problematic. Despite the IEEE standard, implementation variations between manufacturers can lead to unexpected compatibility issues. Current testing methodologies often focus on single-vendor environments or limited combinations, missing potential interoperability problems that emerge in heterogeneous networks.
Transient condition testing is another area with significant limitations. Power surges, brownouts, and rapid connect/disconnect cycles can stress PoE++ systems in ways that static testing fails to capture. Few testing frameworks adequately simulate these dynamic conditions at scale or over extended periods.
Security vulnerability testing for PoE++ infrastructure is notably underdeveloped. As these systems become more software-controlled and network-integrated, they present potential attack vectors that traditional power testing methodologies do not address. Current approaches rarely incorporate cybersecurity considerations into power infrastructure testing, creating a significant blind spot in overall system resilience evaluation.
Current PoE++ Infrastructure Testing Approaches
01 Power over Ethernet (PoE++) failure detection and management
Systems and methods for detecting and managing failures in Power over Ethernet Plus Plus (PoE++) infrastructure. These solutions include monitoring power supply status, identifying power delivery issues, and implementing automated recovery mechanisms when failures occur. Advanced detection algorithms can identify potential failures before they cause system-wide outages, allowing for proactive maintenance and minimizing downtime in critical network infrastructure.- Power over Ethernet (PoE++) failure detection and diagnosis: Systems and methods for detecting and diagnosing failures in Power over Ethernet Plus Plus (PoE++) infrastructure. These technologies involve monitoring power delivery systems, identifying anomalies in power supply, and implementing diagnostic protocols to pinpoint the source of failures. Advanced monitoring tools can detect issues such as power overloads, connection failures, or hardware malfunctions before they cause system-wide outages, allowing for proactive maintenance and reduced downtime in network infrastructure.
- Redundancy and failover mechanisms for PoE++ systems: Implementation of redundancy and failover mechanisms to ensure continuous operation of PoE++ infrastructure during component failures. These solutions include backup power sources, redundant power supply units, and automatic failover protocols that activate when primary systems fail. The technologies enable seamless transition between primary and backup systems, maintaining power delivery to critical network devices and preventing service interruptions in environments where network availability is crucial.
- Thermal management solutions for high-power PoE++ deployments: Thermal management technologies designed specifically for high-power PoE++ infrastructure to prevent heat-related failures. These solutions address the increased heat generation associated with higher power delivery in PoE++ systems through advanced cooling mechanisms, thermal monitoring, and adaptive power management. By effectively managing heat dissipation in power sourcing equipment and powered devices, these technologies help prevent thermal overload, extend equipment lifespan, and maintain stable operation in dense deployment environments.
- Network management systems for PoE++ infrastructure monitoring: Specialized network management systems designed to monitor and manage PoE++ infrastructure health and performance. These systems provide real-time visibility into power consumption, load balancing, and operational status across the network. They incorporate predictive analytics to forecast potential failures based on performance trends, automated alerting mechanisms for immediate notification of anomalies, and centralized management interfaces that allow administrators to efficiently oversee complex PoE++ deployments across distributed environments.
- Compatibility and interoperability solutions for PoE++ deployments: Technologies addressing compatibility and interoperability challenges in PoE++ infrastructure that can lead to failures. These solutions include adaptive power negotiation protocols, backward compatibility mechanisms for integrating with legacy PoE systems, and standardized interfaces that ensure proper operation across equipment from different manufacturers. By resolving compatibility issues, these technologies help prevent power mismatches, negotiation failures, and other interoperability problems that commonly cause PoE++ infrastructure failures in heterogeneous network environments.
02 Redundancy and failover systems for PoE++ networks
Implementation of redundancy and failover mechanisms specifically designed for PoE++ infrastructure to ensure continuous operation during power or network failures. These systems include backup power sources, redundant power supply units, and automatic switching capabilities that maintain power delivery to critical devices. The solutions enable high availability in enterprise networks where power interruptions to networked devices could cause significant operational disruptions.Expand Specific Solutions03 Thermal management and overheating prevention in PoE++ systems
Technologies addressing thermal issues in high-power PoE++ deployments that can lead to infrastructure failures. These solutions include advanced cooling systems, thermal monitoring sensors, and intelligent power management algorithms that adjust power delivery based on temperature conditions. By preventing overheating in power sourcing equipment and cabling infrastructure, these innovations extend the lifespan of PoE++ components and reduce failure rates in demanding environments.Expand Specific Solutions04 Diagnostic tools and monitoring systems for PoE++ infrastructure
Specialized diagnostic and monitoring tools designed to identify, analyze, and troubleshoot issues in PoE++ infrastructure. These systems provide real-time visibility into power consumption, cable quality, connection status, and potential points of failure. Advanced analytics capabilities can predict potential failures based on performance patterns, enabling preventive maintenance and reducing unplanned downtime in critical network environments.Expand Specific Solutions05 Load balancing and power management for PoE++ deployments
Intelligent load balancing and power management solutions that optimize power distribution across PoE++ infrastructure to prevent overloading and subsequent failures. These technologies include dynamic power allocation, prioritization of critical devices, and smart power budgeting systems that ensure stable operation even when approaching maximum capacity. By efficiently managing available power resources, these innovations help prevent common causes of PoE++ infrastructure failures related to power oversubscription.Expand Specific Solutions
Key Players in PoE++ Testing Equipment and Solutions
The Power over Ethernet Plus Plus (PoE++) infrastructure testing market is currently in a growth phase, driven by increasing deployment of high-power network devices requiring up to 90W per port. The global PoE market is projected to reach approximately $2 billion by 2025, with PoE++ representing the fastest-growing segment. Leading network equipment manufacturers like Huawei, ZTE, and H3C are advancing testing methodologies for PoE++ failures, focusing on power delivery reliability, thermal management, and compatibility issues. Companies including Palo Alto Networks and Hewlett Packard Enterprise are developing specialized testing tools that simulate various failure scenarios, while Accton Technology and Ruijie Networks are concentrating on standards compliance testing. The technology is maturing rapidly, with established protocols emerging for load testing, power negotiation verification, and fault tolerance assessment across multi-vendor environments.
Huawei Technologies Co., Ltd.
Technical Solution: Huawei has developed a comprehensive PoE++ (IEEE 802.3bt) testing infrastructure that combines hardware verification and software monitoring solutions. Their approach includes the PowerDiagnostics platform which performs real-time power monitoring across PoE++ deployments, detecting anomalies in power consumption patterns. The system implements multi-level testing including physical cable certification, power negotiation verification, and load testing under maximum power conditions (up to 90W per port). Huawei's solution incorporates thermal imaging analysis to identify potential hotspots in PoE++ infrastructure before failures occur. Their testing methodology also includes automated power cycling tests to verify system stability during power fluctuations and recovery scenarios, simulating real-world power disruptions that might affect connected devices.
Strengths: Comprehensive end-to-end testing approach that covers both hardware and software aspects. Advanced predictive analytics for early failure detection. Weaknesses: Potentially higher implementation costs compared to simpler solutions. May require specialized training for IT staff to fully utilize the diagnostic capabilities.
ZTE Corp.
Technical Solution: ZTE has developed a multi-dimensional PoE++ testing framework called PowerGuard that focuses on both preventive and reactive testing methodologies. Their solution incorporates specialized hardware probes that can be inserted at various points in the PoE++ infrastructure to measure actual power delivery versus expected values. ZTE's approach includes automated power quality analysis that examines voltage stability, current fluctuations, and power negotiation protocols across all connected devices. Their system implements continuous monitoring with machine learning algorithms that establish baseline performance metrics and can detect subtle deviations that might indicate developing problems before complete failure occurs. ZTE's testing infrastructure also includes environmental factor analysis, correlating temperature and humidity data with power performance to identify potential environmental contributors to PoE++ failures.
Strengths: Strong focus on environmental factors affecting PoE++ performance. Advanced machine learning capabilities for predictive maintenance. Weaknesses: More complex implementation requiring specialized hardware probes. May have higher initial deployment costs compared to software-only solutions.
Critical Testing Technologies for PoE++ Failure Detection
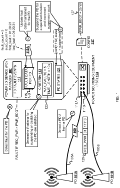
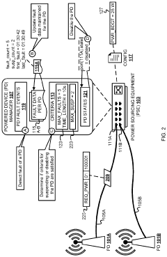
Suspension and disabling of faulting devices powered through power over ethernet
PatentActiveUS20240134729A1
Innovation
- Implementing a PD manager that temporarily suspends or disables powered devices experiencing faults by tracking fault events and exceeding predefined thresholds, thereby managing resource allocation and preventing hardware damage.
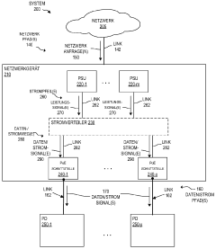
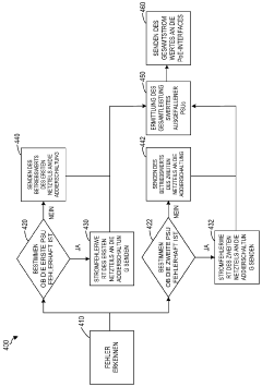
DISABLE POWER OVER ETHERNET INTERFACES
PatentActiveDE102021126987A1
Innovation
- A network device configured to detect power failures and calculate a total power error value for each PoE interface, allowing for efficient shutdown of unnecessary interfaces based on predefined thresholds without software-based communication, using hardware-based error detection and shutdown mechanisms.
Power Management and Energy Efficiency Considerations
Power over Ethernet Plus Plus (PoE++) infrastructure testing must prioritize power management and energy efficiency considerations to ensure optimal performance and reliability. The IEEE 802.3bt standard enables delivery of up to 90W per port, significantly increasing power demands on network infrastructure. This higher power capacity necessitates comprehensive testing of power management capabilities to prevent energy waste and potential system failures.
Energy efficiency testing should focus on measuring actual power consumption versus rated capacity across various load conditions. This includes evaluating Power Sourcing Equipment (PSE) efficiency curves under different loads and ambient temperatures. Modern PoE++ systems should demonstrate at least 85% efficiency at full load, with minimal degradation at lower utilization levels. Testing should verify that systems implement proper power negotiation protocols to allocate only necessary power to connected devices.
Dynamic power allocation capabilities represent a critical testing area for PoE++ infrastructure. Systems should demonstrate the ability to intelligently redistribute power when devices are added or removed from the network. This includes verifying that power management algorithms can handle sudden load changes without triggering false failure conditions or unnecessary power cycling. Testing should confirm that power prioritization mechanisms function correctly during peak demand scenarios.
Thermal management testing is essential for PoE++ infrastructure due to increased heat generation at higher power levels. Test procedures should verify that power management systems can detect overheating conditions and implement appropriate throttling or shutdown procedures. This includes monitoring temperature gradients across switch backplanes and ensuring cooling systems adequately dissipate heat from power delivery components.
Power quality measurements must be incorporated into testing protocols to ensure stable voltage and current delivery. This includes evaluating voltage ripple, transient response to load changes, and power factor correction capabilities. PoE++ systems should maintain voltage stability within ±5% of nominal values even during maximum power transitions. Testing should verify that systems can detect and respond to power quality issues before they impact connected devices.
Energy monitoring and reporting capabilities should be validated to ensure accurate power consumption tracking. This includes testing the precision of built-in power metering functions and verifying that management interfaces correctly report power allocation and consumption metrics. Systems should demonstrate the ability to log power-related events and provide administrators with actionable data for optimizing energy usage across the network infrastructure.
Energy efficiency testing should focus on measuring actual power consumption versus rated capacity across various load conditions. This includes evaluating Power Sourcing Equipment (PSE) efficiency curves under different loads and ambient temperatures. Modern PoE++ systems should demonstrate at least 85% efficiency at full load, with minimal degradation at lower utilization levels. Testing should verify that systems implement proper power negotiation protocols to allocate only necessary power to connected devices.
Dynamic power allocation capabilities represent a critical testing area for PoE++ infrastructure. Systems should demonstrate the ability to intelligently redistribute power when devices are added or removed from the network. This includes verifying that power management algorithms can handle sudden load changes without triggering false failure conditions or unnecessary power cycling. Testing should confirm that power prioritization mechanisms function correctly during peak demand scenarios.
Thermal management testing is essential for PoE++ infrastructure due to increased heat generation at higher power levels. Test procedures should verify that power management systems can detect overheating conditions and implement appropriate throttling or shutdown procedures. This includes monitoring temperature gradients across switch backplanes and ensuring cooling systems adequately dissipate heat from power delivery components.
Power quality measurements must be incorporated into testing protocols to ensure stable voltage and current delivery. This includes evaluating voltage ripple, transient response to load changes, and power factor correction capabilities. PoE++ systems should maintain voltage stability within ±5% of nominal values even during maximum power transitions. Testing should verify that systems can detect and respond to power quality issues before they impact connected devices.
Energy monitoring and reporting capabilities should be validated to ensure accurate power consumption tracking. This includes testing the precision of built-in power metering functions and verifying that management interfaces correctly report power allocation and consumption metrics. Systems should demonstrate the ability to log power-related events and provide administrators with actionable data for optimizing energy usage across the network infrastructure.
Compliance and Certification Requirements for PoE++ Systems
Compliance with industry standards and regulatory requirements is essential for the successful deployment and operation of Power over Ethernet Plus Plus (PoE++) infrastructure. Organizations implementing PoE++ systems must adhere to several key standards, primarily IEEE 802.3bt, which defines the specifications for Type 3 (up to 60W) and Type 4 (up to 100W) PoE systems. This standard encompasses electrical specifications, power management protocols, and safety requirements that ensure interoperability and reliability across different vendor equipment.
Testing for compliance requires verification against these standards using certified testing equipment and methodologies. Organizations must ensure their PoE++ infrastructure meets the electrical parameters specified in IEEE 802.3bt, including voltage ranges, current limitations, and power classification protocols. Additionally, compliance with safety standards such as IEC 60950-1 or its successor IEC 62368-1 is mandatory to address potential electrical hazards associated with higher power delivery.
Certification processes typically involve third-party testing laboratories that can issue formal documentation confirming compliance. These laboratories conduct comprehensive testing covering electrical safety, electromagnetic compatibility (EMC), and performance under various environmental conditions. Major certification bodies include Underwriters Laboratories (UL), Intertek (ETL), and TÜV, which provide globally recognized certifications.
Regional regulatory requirements add another layer of complexity to PoE++ compliance. In North America, FCC regulations govern electromagnetic interference aspects, while the European Union requires CE marking indicating conformity with health, safety, and environmental protection standards. Asian markets have their own certification requirements, such as CCC in China and PSE in Japan, which must be considered for global deployments.
Environmental compliance is increasingly important, with regulations such as RoHS (Restriction of Hazardous Substances) and WEEE (Waste Electrical and Electronic Equipment) affecting the manufacturing and disposal of PoE++ equipment. Testing must verify that components do not contain prohibited substances and that systems are designed with end-of-life considerations in mind.
Network infrastructure testing should include verification of proper LLDP (Link Layer Discovery Protocol) implementation, which is crucial for negotiating power requirements between powered devices (PDs) and power sourcing equipment (PSE). This ensures that devices receive appropriate power levels and prevents potential damage from power mismatches.
Documentation requirements for compliance certification are substantial and should include test reports, technical construction files, declarations of conformity, and user manuals with safety instructions. These documents serve as evidence of compliance during audits and are often required for market access in regulated industries such as healthcare, transportation, and industrial automation.
Testing for compliance requires verification against these standards using certified testing equipment and methodologies. Organizations must ensure their PoE++ infrastructure meets the electrical parameters specified in IEEE 802.3bt, including voltage ranges, current limitations, and power classification protocols. Additionally, compliance with safety standards such as IEC 60950-1 or its successor IEC 62368-1 is mandatory to address potential electrical hazards associated with higher power delivery.
Certification processes typically involve third-party testing laboratories that can issue formal documentation confirming compliance. These laboratories conduct comprehensive testing covering electrical safety, electromagnetic compatibility (EMC), and performance under various environmental conditions. Major certification bodies include Underwriters Laboratories (UL), Intertek (ETL), and TÜV, which provide globally recognized certifications.
Regional regulatory requirements add another layer of complexity to PoE++ compliance. In North America, FCC regulations govern electromagnetic interference aspects, while the European Union requires CE marking indicating conformity with health, safety, and environmental protection standards. Asian markets have their own certification requirements, such as CCC in China and PSE in Japan, which must be considered for global deployments.
Environmental compliance is increasingly important, with regulations such as RoHS (Restriction of Hazardous Substances) and WEEE (Waste Electrical and Electronic Equipment) affecting the manufacturing and disposal of PoE++ equipment. Testing must verify that components do not contain prohibited substances and that systems are designed with end-of-life considerations in mind.
Network infrastructure testing should include verification of proper LLDP (Link Layer Discovery Protocol) implementation, which is crucial for negotiating power requirements between powered devices (PDs) and power sourcing equipment (PSE). This ensures that devices receive appropriate power levels and prevents potential damage from power mismatches.
Documentation requirements for compliance certification are substantial and should include test reports, technical construction files, declarations of conformity, and user manuals with safety instructions. These documents serve as evidence of compliance during audits and are often required for market access in regulated industries such as healthcare, transportation, and industrial automation.
Unlock deeper insights with Patsnap Eureka Quick Research — get a full tech report to explore trends and direct your research. Try now!
Generate Your Research Report Instantly with AI Agent
Supercharge your innovation with Patsnap Eureka AI Agent Platform!







