PoE++ Vs ADSL: Connectivity for Office Networks
SEP 24, 20259 MIN READ
Generate Your Research Report Instantly with AI Agent
Patsnap Eureka helps you evaluate technical feasibility & market potential.
PoE++ and ADSL Evolution Background
Power over Ethernet (PoE) technology has evolved significantly since its inception in the early 2000s. The original IEEE 802.3af standard, introduced in 2003, provided up to 15.4W of power. This was followed by IEEE 802.3at (PoE+) in 2009, which increased power delivery to 30W. The latest iteration, IEEE 802.3bt (PoE++), ratified in 2018, represents a substantial leap forward, enabling power delivery up to 60W (Type 3) and 100W (Type 4) through standard Ethernet cables.
This evolution has transformed PoE from a technology primarily used for powering IP phones and basic wireless access points to one capable of supporting advanced network devices, high-performance access points, pan-tilt-zoom cameras, and even lighting systems or small displays in office environments.
Concurrently, Asymmetric Digital Subscriber Line (ADSL) technology has undergone its own evolutionary journey. First deployed commercially in the late 1990s, standard ADSL offered downstream speeds of up to 8 Mbps and upstream speeds of up to 1 Mbps over existing telephone lines. ADSL2 emerged in 2002, increasing theoretical maximum download speeds to 12 Mbps.
ADSL2+ followed in 2003, extending the frequency range to achieve download speeds up to 24 Mbps. More recently, VDSL (Very-high-bit-rate DSL) and VDSL2 have pushed capabilities further, with theoretical speeds reaching 100 Mbps over short distances. The latest advancement, G.fast, aims to deliver gigabit speeds over copper telephone wires for short distances.
The technological trajectories of these two solutions reflect different approaches to office network connectivity challenges. PoE++ focuses on unified power and data delivery through a single cable infrastructure, emphasizing simplicity, centralized power management, and reduced installation costs. This approach aligns with the growing trend toward converged networks and smart building technologies.
ADSL evolution, meanwhile, has concentrated on maximizing data transmission capabilities over existing telephone infrastructure, offering a cost-effective solution for businesses with established copper wire networks. Its development path has been driven by the need to extend the lifespan of legacy infrastructure while meeting increasing bandwidth demands.
Understanding these parallel but distinct evolutionary paths provides essential context for evaluating their respective roles in modern office network environments, where considerations of performance, cost, flexibility, and future-proofing must be carefully balanced.
This evolution has transformed PoE from a technology primarily used for powering IP phones and basic wireless access points to one capable of supporting advanced network devices, high-performance access points, pan-tilt-zoom cameras, and even lighting systems or small displays in office environments.
Concurrently, Asymmetric Digital Subscriber Line (ADSL) technology has undergone its own evolutionary journey. First deployed commercially in the late 1990s, standard ADSL offered downstream speeds of up to 8 Mbps and upstream speeds of up to 1 Mbps over existing telephone lines. ADSL2 emerged in 2002, increasing theoretical maximum download speeds to 12 Mbps.
ADSL2+ followed in 2003, extending the frequency range to achieve download speeds up to 24 Mbps. More recently, VDSL (Very-high-bit-rate DSL) and VDSL2 have pushed capabilities further, with theoretical speeds reaching 100 Mbps over short distances. The latest advancement, G.fast, aims to deliver gigabit speeds over copper telephone wires for short distances.
The technological trajectories of these two solutions reflect different approaches to office network connectivity challenges. PoE++ focuses on unified power and data delivery through a single cable infrastructure, emphasizing simplicity, centralized power management, and reduced installation costs. This approach aligns with the growing trend toward converged networks and smart building technologies.
ADSL evolution, meanwhile, has concentrated on maximizing data transmission capabilities over existing telephone infrastructure, offering a cost-effective solution for businesses with established copper wire networks. Its development path has been driven by the need to extend the lifespan of legacy infrastructure while meeting increasing bandwidth demands.
Understanding these parallel but distinct evolutionary paths provides essential context for evaluating their respective roles in modern office network environments, where considerations of performance, cost, flexibility, and future-proofing must be carefully balanced.
Office Network Connectivity Market Analysis
The office network connectivity market has experienced significant growth over the past decade, driven by increasing digitalization of business operations and the growing demand for reliable, high-speed internet connections. The global market for enterprise network equipment reached approximately $41 billion in 2022, with a compound annual growth rate of 6.8% projected through 2028. This growth is particularly evident in the office connectivity segment, where businesses are increasingly seeking solutions that balance performance, cost-effectiveness, and future scalability.
Within this market, Power over Ethernet (PoE++) and Asymmetric Digital Subscriber Line (ADSL) represent two distinct technological approaches to office connectivity, each serving different market segments. The PoE++ market segment has shown robust growth at around 12% annually, driven by the integration of network connectivity with power delivery capabilities, making it particularly attractive for modern office environments deploying IoT devices, IP cameras, and advanced VoIP systems.
In contrast, the ADSL market has reached maturity with minimal growth, primarily serving small offices and remote locations where fiber or advanced ethernet infrastructure is not yet available. Market penetration for ADSL in small business environments remains substantial at approximately 35% globally, though this figure varies significantly by region and is declining in developed markets.
Regional analysis reveals distinct patterns in technology adoption. North America and Western Europe lead in PoE++ implementation, with adoption rates exceeding 60% among medium to large enterprises upgrading their network infrastructure. Asia-Pacific represents the fastest-growing market for advanced connectivity solutions, with China and India showing annual growth rates of 15-18% in enterprise network equipment spending.
Customer segmentation within the office connectivity market reveals that enterprises with 100+ employees typically prioritize scalability and future-proofing, making them prime candidates for PoE++ solutions. Small businesses with fewer than 50 employees tend to be more price-sensitive, often opting for ADSL where available or entry-level PoE solutions.
Market forecasts indicate a continued shift toward integrated power and data solutions, with PoE++ expected to capture an increasing share of new installations. The total addressable market for office network connectivity solutions is projected to reach $52 billion by 2027, with power-enabled networking equipment representing approximately 40% of this value.
Industry analysts predict that as offices continue to evolve toward smart building concepts, the demand for unified connectivity solutions capable of supporting diverse endpoint devices will accelerate, further strengthening the position of advanced technologies like PoE++ while gradually diminishing the relevance of legacy systems like ADSL in all but the most cost-constrained environments.
Within this market, Power over Ethernet (PoE++) and Asymmetric Digital Subscriber Line (ADSL) represent two distinct technological approaches to office connectivity, each serving different market segments. The PoE++ market segment has shown robust growth at around 12% annually, driven by the integration of network connectivity with power delivery capabilities, making it particularly attractive for modern office environments deploying IoT devices, IP cameras, and advanced VoIP systems.
In contrast, the ADSL market has reached maturity with minimal growth, primarily serving small offices and remote locations where fiber or advanced ethernet infrastructure is not yet available. Market penetration for ADSL in small business environments remains substantial at approximately 35% globally, though this figure varies significantly by region and is declining in developed markets.
Regional analysis reveals distinct patterns in technology adoption. North America and Western Europe lead in PoE++ implementation, with adoption rates exceeding 60% among medium to large enterprises upgrading their network infrastructure. Asia-Pacific represents the fastest-growing market for advanced connectivity solutions, with China and India showing annual growth rates of 15-18% in enterprise network equipment spending.
Customer segmentation within the office connectivity market reveals that enterprises with 100+ employees typically prioritize scalability and future-proofing, making them prime candidates for PoE++ solutions. Small businesses with fewer than 50 employees tend to be more price-sensitive, often opting for ADSL where available or entry-level PoE solutions.
Market forecasts indicate a continued shift toward integrated power and data solutions, with PoE++ expected to capture an increasing share of new installations. The total addressable market for office network connectivity solutions is projected to reach $52 billion by 2027, with power-enabled networking equipment representing approximately 40% of this value.
Industry analysts predict that as offices continue to evolve toward smart building concepts, the demand for unified connectivity solutions capable of supporting diverse endpoint devices will accelerate, further strengthening the position of advanced technologies like PoE++ while gradually diminishing the relevance of legacy systems like ADSL in all but the most cost-constrained environments.
Technical Challenges in Enterprise Networking
Enterprise networking faces numerous technical challenges that significantly impact the efficiency, reliability, and security of business operations. The increasing complexity of network infrastructures, coupled with the growing demand for higher bandwidth and more reliable connections, has created a complex landscape for IT professionals to navigate.
One of the primary challenges is bandwidth limitation, particularly evident when comparing technologies like PoE++ and ADSL for office connectivity. As businesses increasingly rely on cloud services, video conferencing, and data-intensive applications, traditional ADSL connections often struggle to provide sufficient throughput, creating bottlenecks during peak usage periods.
Network reliability presents another critical challenge. Office environments require consistent connectivity for mission-critical applications, yet many networks suffer from intermittent failures, latency issues, and unpredictable performance. The trade-off between the stability of wired solutions like PoE++ and the flexibility of wireless alternatives creates difficult decision points for network architects.
Security vulnerabilities represent perhaps the most concerning challenge in enterprise networking. As networks become more complex and interconnected, the attack surface expands dramatically. Power-based technologies like PoE++ introduce additional security considerations regarding physical access and power management that must be addressed in comprehensive security frameworks.
Scalability constraints often emerge as businesses grow. Networks designed for current needs frequently struggle to accommodate expansion, requiring costly overhauls rather than modular growth. This is particularly relevant when comparing technologies like PoE++ (which offers scalable power delivery alongside data) versus ADSL (which may require separate infrastructure upgrades).
Integration challenges between legacy systems and modern networking technologies create significant technical hurdles. Many enterprises operate with a mix of older ADSL infrastructure alongside newer PoE++ deployments, requiring complex integration strategies to ensure seamless operation across disparate systems.
Management complexity increases exponentially with network size and diversity. IT teams must monitor, troubleshoot, and optimize increasingly heterogeneous networks, often without adequate visibility tools or unified management interfaces. This complexity is compounded when managing hybrid connectivity solutions that combine multiple technologies.
Cost-effectiveness remains a persistent challenge, with organizations struggling to balance performance requirements against budget constraints. The total cost of ownership for networking solutions extends beyond initial implementation to include ongoing maintenance, power consumption, and eventual replacement costs.
One of the primary challenges is bandwidth limitation, particularly evident when comparing technologies like PoE++ and ADSL for office connectivity. As businesses increasingly rely on cloud services, video conferencing, and data-intensive applications, traditional ADSL connections often struggle to provide sufficient throughput, creating bottlenecks during peak usage periods.
Network reliability presents another critical challenge. Office environments require consistent connectivity for mission-critical applications, yet many networks suffer from intermittent failures, latency issues, and unpredictable performance. The trade-off between the stability of wired solutions like PoE++ and the flexibility of wireless alternatives creates difficult decision points for network architects.
Security vulnerabilities represent perhaps the most concerning challenge in enterprise networking. As networks become more complex and interconnected, the attack surface expands dramatically. Power-based technologies like PoE++ introduce additional security considerations regarding physical access and power management that must be addressed in comprehensive security frameworks.
Scalability constraints often emerge as businesses grow. Networks designed for current needs frequently struggle to accommodate expansion, requiring costly overhauls rather than modular growth. This is particularly relevant when comparing technologies like PoE++ (which offers scalable power delivery alongside data) versus ADSL (which may require separate infrastructure upgrades).
Integration challenges between legacy systems and modern networking technologies create significant technical hurdles. Many enterprises operate with a mix of older ADSL infrastructure alongside newer PoE++ deployments, requiring complex integration strategies to ensure seamless operation across disparate systems.
Management complexity increases exponentially with network size and diversity. IT teams must monitor, troubleshoot, and optimize increasingly heterogeneous networks, often without adequate visibility tools or unified management interfaces. This complexity is compounded when managing hybrid connectivity solutions that combine multiple technologies.
Cost-effectiveness remains a persistent challenge, with organizations struggling to balance performance requirements against budget constraints. The total cost of ownership for networking solutions extends beyond initial implementation to include ongoing maintenance, power consumption, and eventual replacement costs.
Current PoE++ and ADSL Implementation Solutions
01 Power over Ethernet (PoE++) technology for network connectivity
Power over Ethernet Plus Plus (PoE++) technology enables the delivery of both power and data over standard Ethernet cables, allowing devices to receive electrical power and network connectivity through a single cable. This technology supports higher power levels compared to standard PoE, making it suitable for powering devices that require more electricity while maintaining network connectivity. PoE++ is particularly useful in environments where power outlets are limited or difficult to access.- Power over Ethernet (PoE++) technology for network connectivity: Power over Ethernet Plus Plus (PoE++) technology enables the transmission of both power and data over Ethernet cables, allowing network devices to receive power and network connectivity through a single cable. This technology supports higher power delivery compared to standard PoE, making it suitable for powering devices with higher power requirements. PoE++ can be integrated with various network infrastructures to provide efficient power and data connectivity solutions.
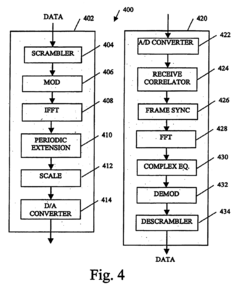
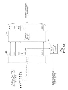
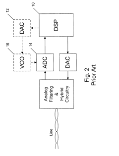
- ADSL technology implementation for broadband connectivity: Asymmetric Digital Subscriber Line (ADSL) technology enables high-speed data transmission over traditional copper telephone lines. ADSL provides faster download speeds compared to upload speeds, making it suitable for typical internet usage patterns. The technology utilizes frequency division multiplexing to separate voice and data signals, allowing simultaneous use of telephone services and internet connectivity over the same line. ADSL implementations include various standards and protocols to optimize performance and compatibility.
- Integration of PoE and ADSL technologies in network systems: The integration of Power over Ethernet (PoE) and Asymmetric Digital Subscriber Line (ADSL) technologies enables comprehensive network solutions that combine the benefits of both technologies. This integration allows for power delivery to ADSL modems and other network equipment through Ethernet cables while maintaining high-speed data connectivity over existing telephone infrastructure. Such integrated systems can simplify network deployment, reduce cabling requirements, and provide more flexible connectivity options for various applications.
- Network architecture for combined PoE++ and ADSL deployment: Network architectures designed for the combined deployment of Power over Ethernet Plus Plus (PoE++) and Asymmetric Digital Subscriber Line (ADSL) technologies involve specific configurations of network equipment, power management systems, and data transmission protocols. These architectures may include specialized gateway devices, power sourcing equipment, powered devices, and management systems that enable efficient operation of both technologies. The network design considerations include power budget allocation, data rate optimization, and compatibility between different standards and protocols.
- Signal processing techniques for PoE++ and ADSL compatibility: Signal processing techniques are essential for ensuring compatibility and optimal performance when implementing both Power over Ethernet Plus Plus (PoE++) and Asymmetric Digital Subscriber Line (ADSL) technologies in the same network environment. These techniques include advanced modulation schemes, noise cancellation algorithms, power management protocols, and signal isolation methods. By applying appropriate signal processing techniques, interference between power and data signals can be minimized, ensuring reliable connectivity and maximum data throughput in combined PoE++ and ADSL deployments.
02 ADSL technology implementation for broadband connectivity
Asymmetric Digital Subscriber Line (ADSL) technology enables high-speed data transmission over copper telephone lines, providing broadband internet connectivity without interfering with voice services. ADSL offers faster download speeds compared to upload speeds, making it suitable for typical internet usage patterns. The technology utilizes frequency division multiplexing to separate voice and data signals, allowing simultaneous use of telephone and internet services on the same line.Expand Specific Solutions03 Integration of PoE and DSL technologies for unified connectivity solutions
The integration of Power over Ethernet and Digital Subscriber Line technologies creates unified connectivity solutions that leverage the advantages of both systems. This combination allows for power delivery alongside data transmission across existing infrastructure, reducing installation costs and complexity. Integrated systems can provide both local area network connectivity via Ethernet while maintaining broadband internet access through DSL technology, creating versatile network architectures suitable for various deployment scenarios.Expand Specific Solutions04 Network management systems for PoE and ADSL connectivity
Network management systems specifically designed for environments utilizing both Power over Ethernet and ADSL technologies enable efficient monitoring, configuration, and troubleshooting of these hybrid networks. These systems provide centralized control interfaces for managing power allocation to PoE devices while simultaneously monitoring ADSL connection quality and performance metrics. Advanced management solutions incorporate automated diagnostics, power scheduling, and bandwidth optimization features to ensure reliable operation of both connectivity technologies.Expand Specific Solutions05 Gateway devices bridging PoE and ADSL technologies
Gateway devices that bridge Power over Ethernet and ADSL technologies serve as critical connection points between local networks and broadband internet services. These gateways incorporate both ADSL modems for internet connectivity and PoE controllers for powering and connecting local devices. The integrated approach simplifies network architecture by consolidating multiple networking functions into a single device, providing features such as traffic routing, security filtering, and quality of service management across both connectivity technologies.Expand Specific Solutions
Key Industry Players and Vendors
The Power over Ethernet Plus (PoE++) versus ADSL connectivity landscape for office networks is currently in a mature growth phase, with the market expanding as businesses seek more reliable and higher-capacity networking solutions. The global market for PoE technology is experiencing robust growth, driven by increasing demand for integrated power and data solutions. From a technical maturity perspective, industry leaders like Cisco Technology, Huawei Technologies, and CommScope have established strong positions with comprehensive PoE++ offerings, while ZTE Corp. and New H3C Technologies are rapidly advancing their solutions. ADSL technology, though more established, is being gradually replaced by PoE++ in office environments due to the latter's superior power delivery capabilities and integration potential with IoT devices, creating significant competitive advantages for companies with strong PoE portfolios.
Huawei Technologies Co., Ltd.
Technical Solution: Huawei's approach to the PoE++ vs ADSL office connectivity challenge leverages their PoE++ technology that delivers up to 90W power through their S5700 and S6700 series switches, supporting the IEEE 802.3bt standard. Their solution incorporates intelligent power management algorithms that dynamically allocate power based on device requirements and priority settings, reducing overall energy consumption by up to 30% compared to static allocation systems. For offices requiring both technologies, Huawei offers integrated access devices that combine ADSL2+ capabilities with PoE++ distribution, allowing phased migration. Their SingleFAN solution enables unified management of both connectivity types through their U2000 network management system. Huawei has also developed proprietary SuperVector technology that extends ADSL performance up to 100Mbps over existing copper infrastructure, providing a cost-effective intermediate solution for offices not ready for full network replacement.
Strengths: Comprehensive end-to-end solution portfolio spanning both technologies; advanced power management capabilities; strong integration between access and distribution layers. Weaknesses: Geopolitical concerns limiting deployment options in some markets; proprietary elements in management systems creating potential vendor lock-in; higher initial capital expenditure compared to pure ADSL solutions.
ZTE Corp.
Technical Solution: ZTE's approach to the PoE++ vs ADSL office connectivity challenge centers on their ZXHN series of integrated access devices that support both technologies. Their Power over Ethernet solution complies with IEEE 802.3bt (PoE++) standard, delivering up to 90W per port through their ZXR10 5960 series switches. ZTE has developed an intelligent power management system that dynamically allocates power based on actual device requirements rather than class-based allocation, improving efficiency by up to 35%. For offices still utilizing ADSL infrastructure, ZTE offers their ZXDSL series products supporting ADSL2+ with vectoring technology, achieving speeds up to 100Mbps over existing copper lines. Their unified NETOS management platform provides centralized control over both connectivity types, enabling gradual migration strategies. ZTE has also pioneered hybrid deployment architectures where ADSL serves as backup connectivity for critical systems while PoE++ powers and connects modern office equipment, creating resilient office networks with 99.999% availability through their dual-path redundancy design.
Strengths: Cost-effective integrated solutions combining both technologies; strong presence in emerging markets; comprehensive migration strategies from ADSL to newer technologies. Weaknesses: Limited market penetration in Western enterprise environments; geopolitical concerns affecting deployment options in some regions; less extensive third-party ecosystem integration compared to market leaders.
Core Patents and Technical Specifications
Converged home gateway
PatentInactiveUS6853637B1
Innovation
- A local network architecture utilizing a gateway device with a DSL transceiver connected to a digital subscriber line, which communicates over standard residential telephone wiring, providing both data and voice services through a voice over IP gateway and data network IP interface, while using a router to multiplex signals and maintain connectivity without requiring point-to-point high line quality.
Packet modulation for DSL
PatentInactiveUS6690666B1
Innovation
- Packet-based DSL modulation is introduced, which specifies a duty cycle for bursted carrier data traffic, simplifies equalization and timing recovery, and provides opportunistic echo canceller training, allowing transmitters to switch on only when needed, reducing energy consumption and interference.
Total Cost of Ownership Analysis
When evaluating PoE++ (Power over Ethernet Plus Plus, also known as IEEE 802.3bt) versus ADSL (Asymmetric Digital Subscriber Line) for office network connectivity, a comprehensive Total Cost of Ownership (TCO) analysis reveals significant financial implications beyond initial deployment costs.
The capital expenditure (CAPEX) for PoE++ implementation typically includes higher-grade Ethernet switches with enhanced power capabilities, potentially costing 30-40% more than standard switches. However, these systems eliminate the need for separate power infrastructure for connected devices, resulting in reduced cabling costs. Initial PoE++ deployment for a mid-sized office (50 workstations) averages $15,000-$20,000, depending on the quality of equipment selected.
ADSL implementation, conversely, requires modems at each connection point and central office equipment, with initial costs ranging from $8,000-$12,000 for comparable coverage. This lower entry cost makes ADSL appear more economical at first glance, but the TCO equation changes dramatically when examining operational expenditures.
The operational expenditure (OPEX) comparison heavily favors PoE++ systems. Power consumption analysis shows PoE++ networks operate with 15-20% greater energy efficiency compared to equivalent ADSL setups due to consolidated power management and newer technology standards. Over a five-year period, this translates to approximately $3,000-$5,000 in energy cost savings for medium-sized deployments.
Maintenance costs represent another significant differential. PoE++ systems demonstrate 40% lower maintenance requirements due to simplified infrastructure and fewer points of failure. Annual maintenance costs for PoE++ average $1,200 versus $2,000 for ADSL systems, accumulating to a $4,000 difference over a standard five-year equipment lifecycle.
Scalability considerations further impact long-term TCO. PoE++ networks can accommodate expansion at approximately 60% of the cost required for equivalent ADSL scaling, primarily due to modular design and reduced infrastructure requirements. For organizations anticipating 20% growth over three years, this represents potential savings of $7,000-$10,000.
The five-year TCO calculation reveals that despite higher initial investment, PoE++ solutions typically break even with ADSL implementations by year three, and demonstrate 25-30% lower total ownership costs by year five. This analysis excludes potential productivity benefits from improved network reliability and performance, which would further favor PoE++ solutions in knowledge-worker environments where connectivity disruptions carry significant hidden costs.
The capital expenditure (CAPEX) for PoE++ implementation typically includes higher-grade Ethernet switches with enhanced power capabilities, potentially costing 30-40% more than standard switches. However, these systems eliminate the need for separate power infrastructure for connected devices, resulting in reduced cabling costs. Initial PoE++ deployment for a mid-sized office (50 workstations) averages $15,000-$20,000, depending on the quality of equipment selected.
ADSL implementation, conversely, requires modems at each connection point and central office equipment, with initial costs ranging from $8,000-$12,000 for comparable coverage. This lower entry cost makes ADSL appear more economical at first glance, but the TCO equation changes dramatically when examining operational expenditures.
The operational expenditure (OPEX) comparison heavily favors PoE++ systems. Power consumption analysis shows PoE++ networks operate with 15-20% greater energy efficiency compared to equivalent ADSL setups due to consolidated power management and newer technology standards. Over a five-year period, this translates to approximately $3,000-$5,000 in energy cost savings for medium-sized deployments.
Maintenance costs represent another significant differential. PoE++ systems demonstrate 40% lower maintenance requirements due to simplified infrastructure and fewer points of failure. Annual maintenance costs for PoE++ average $1,200 versus $2,000 for ADSL systems, accumulating to a $4,000 difference over a standard five-year equipment lifecycle.
Scalability considerations further impact long-term TCO. PoE++ networks can accommodate expansion at approximately 60% of the cost required for equivalent ADSL scaling, primarily due to modular design and reduced infrastructure requirements. For organizations anticipating 20% growth over three years, this represents potential savings of $7,000-$10,000.
The five-year TCO calculation reveals that despite higher initial investment, PoE++ solutions typically break even with ADSL implementations by year three, and demonstrate 25-30% lower total ownership costs by year five. This analysis excludes potential productivity benefits from improved network reliability and performance, which would further favor PoE++ solutions in knowledge-worker environments where connectivity disruptions carry significant hidden costs.
Network Security and Compliance Considerations
Network security considerations differ significantly between PoE++ and ADSL implementations in office environments. PoE++ networks benefit from operating within a controlled local area network, providing inherent security advantages through physical isolation. This architecture allows for more straightforward implementation of security policies and monitoring systems compared to ADSL connections that necessarily interface with external telecommunications infrastructure.
For PoE++ deployments, security focuses primarily on protecting the internal network from unauthorized physical access and ensuring proper device authentication. The IEEE 802.3bt standard incorporates enhanced security features including improved authentication protocols that verify powered devices before energy delivery, reducing vulnerability to rogue device attacks.
ADSL connections present broader security challenges due to their direct internet connectivity. Organizations must implement robust perimeter security measures including next-generation firewalls, intrusion detection/prevention systems, and VPN technologies to secure ADSL-based office networks. The telecommunications carrier's infrastructure also introduces additional security variables outside organizational control.
Compliance requirements significantly impact connectivity choices for regulated industries. PoE++ networks offer advantages for organizations subject to stringent data protection regulations like GDPR, HIPAA, or PCI DSS, as they provide greater control over the physical network infrastructure. The ability to implement network segmentation and microsegmentation is more straightforward with PoE++ architectures.
ADSL implementations require additional compliance documentation and controls, particularly regarding data transmission across public networks. Organizations must implement encryption protocols like TLS 1.3 or IPsec to ensure data confidentiality during transit, adding complexity to compliance efforts.
Audit capabilities also differ between technologies. PoE++ networks facilitate comprehensive monitoring and logging through centralized network management systems, supporting compliance requirements for maintaining audit trails. ADSL connections may require additional monitoring solutions to achieve equivalent visibility into network traffic patterns and security events.
Business continuity considerations favor PoE++ for mission-critical applications requiring guaranteed uptime. The centralized power management capabilities of PoE++ enable organizations to implement redundant power supplies and UPS systems that maintain network functionality during power outages, supporting compliance requirements for disaster recovery and business continuity planning.
Future regulatory trends indicate increasing scrutiny of network security practices, with emerging frameworks like NIST's cybersecurity guidelines and industry-specific regulations imposing stricter requirements for network infrastructure security. Organizations should consider these evolving compliance landscapes when evaluating long-term connectivity strategies.
For PoE++ deployments, security focuses primarily on protecting the internal network from unauthorized physical access and ensuring proper device authentication. The IEEE 802.3bt standard incorporates enhanced security features including improved authentication protocols that verify powered devices before energy delivery, reducing vulnerability to rogue device attacks.
ADSL connections present broader security challenges due to their direct internet connectivity. Organizations must implement robust perimeter security measures including next-generation firewalls, intrusion detection/prevention systems, and VPN technologies to secure ADSL-based office networks. The telecommunications carrier's infrastructure also introduces additional security variables outside organizational control.
Compliance requirements significantly impact connectivity choices for regulated industries. PoE++ networks offer advantages for organizations subject to stringent data protection regulations like GDPR, HIPAA, or PCI DSS, as they provide greater control over the physical network infrastructure. The ability to implement network segmentation and microsegmentation is more straightforward with PoE++ architectures.
ADSL implementations require additional compliance documentation and controls, particularly regarding data transmission across public networks. Organizations must implement encryption protocols like TLS 1.3 or IPsec to ensure data confidentiality during transit, adding complexity to compliance efforts.
Audit capabilities also differ between technologies. PoE++ networks facilitate comprehensive monitoring and logging through centralized network management systems, supporting compliance requirements for maintaining audit trails. ADSL connections may require additional monitoring solutions to achieve equivalent visibility into network traffic patterns and security events.
Business continuity considerations favor PoE++ for mission-critical applications requiring guaranteed uptime. The centralized power management capabilities of PoE++ enable organizations to implement redundant power supplies and UPS systems that maintain network functionality during power outages, supporting compliance requirements for disaster recovery and business continuity planning.
Future regulatory trends indicate increasing scrutiny of network security practices, with emerging frameworks like NIST's cybersecurity guidelines and industry-specific regulations imposing stricter requirements for network infrastructure security. Organizations should consider these evolving compliance landscapes when evaluating long-term connectivity strategies.
Unlock deeper insights with Patsnap Eureka Quick Research — get a full tech report to explore trends and direct your research. Try now!
Generate Your Research Report Instantly with AI Agent
Supercharge your innovation with Patsnap Eureka AI Agent Platform!







