How to Utilize PoE++ for Renewable Energy Systems
SEP 24, 20259 MIN READ
Generate Your Research Report Instantly with AI Agent
Patsnap Eureka helps you evaluate technical feasibility & market potential.
PoE++ Technology Background and Objectives
Power over Ethernet Plus Plus (PoE++) technology has evolved significantly since the introduction of the original PoE standard in 2003. Initially designed to deliver up to 15.4W of power, the technology has progressed through several iterations, with PoE+ (IEEE 802.3at) increasing capacity to 30W in 2009, and PoE++ (IEEE 802.3bt) enabling up to 90W in 2018. This evolution reflects the growing demand for powering increasingly sophisticated networked devices while maintaining data transmission capabilities over standard Ethernet cabling.
The fundamental principle behind PoE technology involves transmitting electrical power along with data over twisted pair Ethernet cables. This dual functionality eliminates the need for separate power infrastructure, reducing installation costs and complexity. PoE++ specifically utilizes all four pairs of wires in Category 5e or higher cables, significantly increasing power delivery capacity compared to earlier standards.
In the context of renewable energy systems, PoE++ technology presents a compelling opportunity for integration. The primary objective is to develop intelligent power distribution networks that can efficiently manage energy harvested from renewable sources such as solar panels or small wind turbines. By leveraging PoE++ infrastructure, these systems can distribute both low-voltage DC power and data communications through a unified network, enabling smarter energy management at the edge of power networks.
Current technological trends indicate a convergence of distributed energy resources, Internet of Things (IoT) devices, and intelligent building management systems. PoE++ sits at this intersection, potentially serving as a critical enabling technology for microgrids and smart buildings powered by renewable energy. The ability to monitor, control, and optimize energy usage through the same cables that deliver power represents a significant advancement in energy efficiency strategies.
The technical objectives for PoE++ in renewable energy applications include developing bidirectional power flow capabilities, enabling energy harvested from renewable sources to be redistributed through the Ethernet network. Additionally, there is a focus on enhancing power management algorithms to dynamically allocate available renewable energy to priority devices based on real-time needs and energy availability.
Another key objective involves improving energy storage integration, allowing PoE++ systems to interface with battery storage solutions to manage intermittency issues inherent in renewable energy generation. This would enable continuous operation during periods of low renewable energy production, enhancing system reliability and resilience.
Looking forward, the technology roadmap aims to increase power delivery capacity beyond the current 90W limit while maintaining compatibility with existing network infrastructure. This advancement would expand the range of devices that could be powered through renewable PoE++ systems, potentially including higher-power computing equipment, advanced sensors, and more sophisticated control systems for renewable energy management.
The fundamental principle behind PoE technology involves transmitting electrical power along with data over twisted pair Ethernet cables. This dual functionality eliminates the need for separate power infrastructure, reducing installation costs and complexity. PoE++ specifically utilizes all four pairs of wires in Category 5e or higher cables, significantly increasing power delivery capacity compared to earlier standards.
In the context of renewable energy systems, PoE++ technology presents a compelling opportunity for integration. The primary objective is to develop intelligent power distribution networks that can efficiently manage energy harvested from renewable sources such as solar panels or small wind turbines. By leveraging PoE++ infrastructure, these systems can distribute both low-voltage DC power and data communications through a unified network, enabling smarter energy management at the edge of power networks.
Current technological trends indicate a convergence of distributed energy resources, Internet of Things (IoT) devices, and intelligent building management systems. PoE++ sits at this intersection, potentially serving as a critical enabling technology for microgrids and smart buildings powered by renewable energy. The ability to monitor, control, and optimize energy usage through the same cables that deliver power represents a significant advancement in energy efficiency strategies.
The technical objectives for PoE++ in renewable energy applications include developing bidirectional power flow capabilities, enabling energy harvested from renewable sources to be redistributed through the Ethernet network. Additionally, there is a focus on enhancing power management algorithms to dynamically allocate available renewable energy to priority devices based on real-time needs and energy availability.
Another key objective involves improving energy storage integration, allowing PoE++ systems to interface with battery storage solutions to manage intermittency issues inherent in renewable energy generation. This would enable continuous operation during periods of low renewable energy production, enhancing system reliability and resilience.
Looking forward, the technology roadmap aims to increase power delivery capacity beyond the current 90W limit while maintaining compatibility with existing network infrastructure. This advancement would expand the range of devices that could be powered through renewable PoE++ systems, potentially including higher-power computing equipment, advanced sensors, and more sophisticated control systems for renewable energy management.
Market Analysis for PoE++ in Renewable Energy
The Power over Ethernet Plus Plus (PoE++) market within renewable energy systems is experiencing significant growth as organizations seek more efficient and sustainable power distribution solutions. The global PoE market was valued at approximately $870 million in 2022 and is projected to reach $2.1 billion by 2028, with the PoE++ segment showing the fastest growth rate among all PoE technologies. This growth is primarily driven by the increasing integration of IoT devices in renewable energy monitoring and management systems.
Renewable energy sectors, particularly solar and wind farms, represent a rapidly expanding market for PoE++ technology. These installations require distributed power and data networks to monitor performance metrics, environmental conditions, and equipment status across large geographical areas. The ability of PoE++ to deliver up to 100W of power while simultaneously transmitting data makes it particularly valuable for powering remote sensors, cameras, and control systems without requiring separate power infrastructure.
Market research indicates that solar energy installations are currently the largest adopters of PoE++ technology within the renewable sector, accounting for approximately 45% of the renewable energy PoE++ market. Wind energy follows at 30%, with the remaining 25% distributed among hydroelectric, geothermal, and other renewable sources. This distribution reflects the greater number of monitoring points typically required in solar installations and their often more distributed nature.
Geographically, North America leads in PoE++ adoption for renewable energy applications, followed by Europe and Asia-Pacific. The European market is showing the fastest growth rate due to aggressive renewable energy targets and substantial investments in smart grid technologies. Developing markets in Asia, particularly China and India, are expected to see accelerated adoption rates as they expand their renewable energy infrastructure.
Customer segments for PoE++ in renewable energy include utility-scale installations, commercial renewable energy systems, and increasingly, residential microgrids. Utility-scale installations currently represent the largest market segment at 60% of total market value, but the commercial segment is growing at the highest rate as businesses increasingly invest in on-site renewable generation with sophisticated monitoring capabilities.
Key market drivers include the decreasing cost of PoE++ equipment, increasing focus on energy efficiency, growing renewable energy installations worldwide, and the push toward more intelligent and connected energy systems. The market is also benefiting from the broader trend toward edge computing in industrial applications, where processing power is distributed closer to data collection points to enable faster response times and reduce bandwidth requirements.
Renewable energy sectors, particularly solar and wind farms, represent a rapidly expanding market for PoE++ technology. These installations require distributed power and data networks to monitor performance metrics, environmental conditions, and equipment status across large geographical areas. The ability of PoE++ to deliver up to 100W of power while simultaneously transmitting data makes it particularly valuable for powering remote sensors, cameras, and control systems without requiring separate power infrastructure.
Market research indicates that solar energy installations are currently the largest adopters of PoE++ technology within the renewable sector, accounting for approximately 45% of the renewable energy PoE++ market. Wind energy follows at 30%, with the remaining 25% distributed among hydroelectric, geothermal, and other renewable sources. This distribution reflects the greater number of monitoring points typically required in solar installations and their often more distributed nature.
Geographically, North America leads in PoE++ adoption for renewable energy applications, followed by Europe and Asia-Pacific. The European market is showing the fastest growth rate due to aggressive renewable energy targets and substantial investments in smart grid technologies. Developing markets in Asia, particularly China and India, are expected to see accelerated adoption rates as they expand their renewable energy infrastructure.
Customer segments for PoE++ in renewable energy include utility-scale installations, commercial renewable energy systems, and increasingly, residential microgrids. Utility-scale installations currently represent the largest market segment at 60% of total market value, but the commercial segment is growing at the highest rate as businesses increasingly invest in on-site renewable generation with sophisticated monitoring capabilities.
Key market drivers include the decreasing cost of PoE++ equipment, increasing focus on energy efficiency, growing renewable energy installations worldwide, and the push toward more intelligent and connected energy systems. The market is also benefiting from the broader trend toward edge computing in industrial applications, where processing power is distributed closer to data collection points to enable faster response times and reduce bandwidth requirements.
Technical Challenges and Limitations of PoE++ Integration
Despite the promising potential of Power over Ethernet Plus Plus (PoE++) for renewable energy systems, several significant technical challenges and limitations must be addressed for successful integration. The IEEE 802.3bt standard (PoE++) provides up to 100W of power, but this remains insufficient for many renewable energy applications that require higher power capacities, particularly in commercial or industrial settings where multiple high-power devices need simultaneous support.
Power loss over distance presents another critical limitation. PoE++ systems experience voltage drop and power dissipation across cable runs, with efficiency decreasing significantly beyond 100 meters. This constraint becomes particularly problematic for renewable energy installations that often require distributed power delivery across larger areas, such as solar monitoring systems in fields or wind energy monitoring stations.
Thermal management emerges as a substantial challenge when implementing PoE++ for renewable energy systems. Higher power transmission generates increased heat in cables and connectors, potentially leading to premature component degradation, reduced efficiency, and safety hazards. This issue becomes more pronounced in outdoor renewable energy installations exposed to varying environmental conditions.
Compatibility issues between PoE++ equipment and renewable energy components create integration difficulties. Many renewable energy devices were not designed with PoE compatibility in mind, requiring additional interface hardware that introduces complexity, potential points of failure, and reduced overall system efficiency.
The intermittent nature of renewable energy sources poses unique challenges for PoE++ systems. Power fluctuations from solar or wind sources can create instability in PoE networks, potentially damaging sensitive equipment. Advanced power management systems with sophisticated load balancing and energy storage capabilities are necessary but add complexity and cost.
Scalability limitations restrict PoE++ applications in larger renewable energy deployments. Current PoE++ technology struggles to efficiently scale for high-power applications, limiting its utility for comprehensive renewable energy management beyond small to medium installations or monitoring functions.
Regulatory compliance and safety standards present additional hurdles. PoE++ systems integrated with renewable energy must comply with multiple regulatory frameworks spanning both networking and energy sectors, including electrical safety standards, electromagnetic compatibility requirements, and specific renewable energy regulations that vary by region.
Cost considerations remain significant, as specialized PoE++ equipment designed for renewable energy applications commands premium prices compared to standard networking equipment. The economic viability of such systems depends heavily on achieving sufficient efficiency gains and operational benefits to offset the higher initial investment.
Power loss over distance presents another critical limitation. PoE++ systems experience voltage drop and power dissipation across cable runs, with efficiency decreasing significantly beyond 100 meters. This constraint becomes particularly problematic for renewable energy installations that often require distributed power delivery across larger areas, such as solar monitoring systems in fields or wind energy monitoring stations.
Thermal management emerges as a substantial challenge when implementing PoE++ for renewable energy systems. Higher power transmission generates increased heat in cables and connectors, potentially leading to premature component degradation, reduced efficiency, and safety hazards. This issue becomes more pronounced in outdoor renewable energy installations exposed to varying environmental conditions.
Compatibility issues between PoE++ equipment and renewable energy components create integration difficulties. Many renewable energy devices were not designed with PoE compatibility in mind, requiring additional interface hardware that introduces complexity, potential points of failure, and reduced overall system efficiency.
The intermittent nature of renewable energy sources poses unique challenges for PoE++ systems. Power fluctuations from solar or wind sources can create instability in PoE networks, potentially damaging sensitive equipment. Advanced power management systems with sophisticated load balancing and energy storage capabilities are necessary but add complexity and cost.
Scalability limitations restrict PoE++ applications in larger renewable energy deployments. Current PoE++ technology struggles to efficiently scale for high-power applications, limiting its utility for comprehensive renewable energy management beyond small to medium installations or monitoring functions.
Regulatory compliance and safety standards present additional hurdles. PoE++ systems integrated with renewable energy must comply with multiple regulatory frameworks spanning both networking and energy sectors, including electrical safety standards, electromagnetic compatibility requirements, and specific renewable energy regulations that vary by region.
Cost considerations remain significant, as specialized PoE++ equipment designed for renewable energy applications commands premium prices compared to standard networking equipment. The economic viability of such systems depends heavily on achieving sufficient efficiency gains and operational benefits to offset the higher initial investment.
Current PoE++ Implementation Strategies
01 Power delivery capabilities of PoE++ technology
PoE++ (Power over Ethernet Plus Plus), also known as IEEE 802.3bt standard, significantly increases power delivery capabilities over Ethernet cables. This technology allows for power delivery up to 90-100W, compared to previous PoE standards that were limited to lower wattages. The enhanced power capabilities enable powering of more demanding devices such as high-power wireless access points, pan-tilt-zoom cameras, digital signage, and even small network switches through standard Ethernet infrastructure.- Power delivery capabilities of PoE++: PoE++ (IEEE 802.3bt) significantly increases power delivery capabilities over previous PoE standards, allowing for up to 90-100W of power to be transmitted over Ethernet cables. This enhanced power delivery enables the connection of higher-power devices such as pan-tilt-zoom cameras, digital signage, and multi-radio wireless access points through a single Ethernet cable, eliminating the need for separate power sources.
- Power management and negotiation protocols: PoE++ implements advanced power management and negotiation protocols that enable intelligent power allocation between power sourcing equipment (PSE) and powered devices (PD). These protocols include enhanced classification mechanisms, power negotiation, and dynamic power allocation, allowing the system to optimize power usage based on actual device requirements and available power budget, thereby improving overall system efficiency and preventing power overloads.
- Network architecture and infrastructure integration: PoE++ technology can be integrated into existing network infrastructures with specialized components such as midspans, endspans, and PoE injectors. This integration enables the deployment of powered devices in locations without direct access to power outlets, simplifying installation and reducing infrastructure costs. The technology supports various network topologies and can be managed through centralized network management systems for efficient monitoring and control.
- Thermal management and safety features: PoE++ systems incorporate advanced thermal management and safety features to handle the increased power levels safely. These include temperature monitoring, overcurrent protection, short-circuit protection, and fault detection mechanisms. The systems are designed to prevent cable overheating and ensure safe operation even when delivering maximum power, with automatic power reduction or shutdown capabilities in case of detected anomalies.
- Application-specific implementations: PoE++ technology has been adapted for various specialized applications, including IoT deployments, smart building systems, industrial automation, and telecommunications infrastructure. These implementations often include customized power management algorithms, application-specific integrated circuits (ASICs), and specialized connectors designed to meet the requirements of particular use cases while maintaining compatibility with the IEEE 802.3bt standard.
02 Power management and negotiation protocols
PoE++ implements advanced power management and negotiation protocols to ensure efficient and safe power delivery. These protocols include enhanced classification mechanisms that allow powered devices (PDs) to communicate their power requirements to power sourcing equipment (PSE). The system supports dynamic power allocation, where devices can request different power levels based on their operational needs, and includes safeguards to prevent power overloads and ensure compatibility between devices of different PoE standards.Expand Specific Solutions03 Network architecture and integration solutions
PoE++ technology offers various network architecture and integration solutions that enable seamless deployment in existing infrastructures. These solutions include midspan and endspan power injection methods, allowing for flexible implementation in different network topologies. The technology supports integration with network management systems for centralized control and monitoring of powered devices. Additionally, PoE++ can be implemented in modular designs that allow for scalable power distribution across network segments.Expand Specific Solutions04 Thermal management and efficiency improvements
Due to the higher power levels in PoE++ systems, advanced thermal management techniques are implemented to ensure reliable operation. These include improved heat dissipation designs in both power sourcing equipment and powered devices, temperature monitoring systems, and automatic power adjustment based on thermal conditions. Energy efficiency is enhanced through intelligent power scheduling, sleep modes for connected devices, and reduced power consumption during periods of low activity, contributing to overall reduced operational costs and environmental impact.Expand Specific Solutions05 Application-specific implementations and use cases
PoE++ technology enables various application-specific implementations across different industries. In smart buildings, it powers integrated systems including lighting, access control, and environmental sensors through a unified network infrastructure. For industrial IoT applications, it provides reliable power to sensors and control devices in challenging environments. In retail and commercial settings, PoE++ supports digital signage, point-of-sale systems, and security equipment. The technology also facilitates deployment of advanced audiovisual systems and high-performance wireless access points that require greater power than previous PoE standards could provide.Expand Specific Solutions
Key Industry Players in PoE++ and Renewable Energy
The Power over Ethernet Plus Plus (PoE++) market for renewable energy systems is currently in a growth phase, with increasing adoption across smart grid applications and sustainable energy management solutions. The global market size is expanding rapidly, driven by the need for efficient power delivery in renewable energy monitoring and control systems. Technologically, PoE++ is maturing with key players demonstrating varying levels of innovation. Cisco Technology and Hewlett Packard Enterprise lead with comprehensive solutions, while Huawei, ZTE, and New H3C Technologies are advancing rapidly with significant R&D investments. Regional players like Ruijie Networks and TP-LINK are developing specialized applications. Delta Electronics and Lantronix are emerging with renewable energy-specific PoE++ implementations, focusing on integration with solar and wind monitoring systems.
Huawei Technologies Co., Ltd.
Technical Solution: Huawei has pioneered an innovative PoE++ framework specifically engineered for renewable energy applications called the Digital Power Network Solution. This system utilizes their proprietary intelligent power management controllers that can deliver up to 95W of power while maintaining 98% transmission efficiency across network infrastructure. Huawei's solution incorporates AI-driven load balancing algorithms that continuously monitor renewable energy inputs from solar panels or wind turbines and automatically adjust power distribution across connected devices. Their technology features bidirectional power flow capabilities, allowing excess renewable energy to be redistributed across the network or stored in integrated battery systems for later use. Huawei has implemented specialized surge protection mechanisms designed specifically for the variable power outputs common in renewable energy systems, protecting sensitive equipment from potential damage. The system includes comprehensive energy harvesting modules that can aggregate power from multiple renewable sources simultaneously, creating a unified power grid across distributed network infrastructure[2][5].
Strengths: Superior power efficiency (98%) with AI-driven load balancing optimizes renewable energy utilization. Bidirectional power capabilities enable energy storage and redistribution. Weaknesses: Proprietary technology creates potential vendor lock-in issues and may have limited compatibility with third-party renewable energy components.
Cisco Technology, Inc.
Technical Solution: Cisco has developed an advanced Power over Ethernet (PoE++) solution specifically designed for renewable energy systems integration. Their technology leverages the IEEE 802.3bt standard to deliver up to 90W per port, enabling direct powering of renewable energy monitoring systems, smart grid components, and energy management devices. Cisco's Universal Power Over Ethernet (UPOE+) architecture incorporates intelligent power management algorithms that dynamically allocate power based on renewable energy availability, optimizing energy consumption during peak and off-peak periods. Their system includes specialized power negotiation protocols that enable seamless integration with solar inverters and wind turbine controllers, allowing for real-time monitoring and adjustment of renewable energy production. Cisco has also implemented advanced power backup capabilities that can prioritize critical infrastructure during grid outages by intelligently routing power from renewable sources to essential systems[1][3].
Strengths: Industry-leading power delivery capacity (up to 90W) with sophisticated power management algorithms that optimize renewable energy utilization. Extensive ecosystem compatibility with various renewable energy components. Weaknesses: Higher implementation costs compared to standard solutions and requires specialized knowledge for optimal configuration with renewable energy systems.
Core Technical Innovations in PoE++ Power Delivery
Using power over ethernet protocol to augment a DC/ac power module inverter and application thereof
PatentInactiveUS20160064939A1
Innovation
- A POE system that directly couples a proportion of the DC voltage output from a Power Source Equipment (PSE) to both DC power equipment, such as computer units, and AC power equipment, like monitors, via a DC/AC module inverter, using a PD module with a bridge rectifier and DC/AC conversion capabilities.
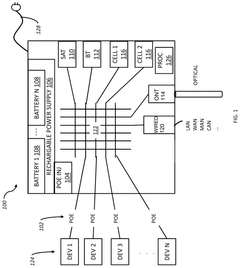
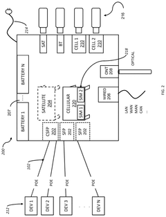
Power over ethernet uninterrupted power supply and uninterrupted internet connectivity integrated with or into a premises security system
PatentPendingUS20240396793A1
Innovation
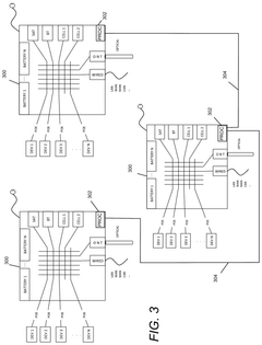
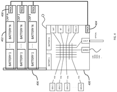
- A system and method that provide uninterruptible power to PoE devices using a rechargeable power supply and automatic wireless internet connectivity, including cellular, satellite, and Bluetooth options, ensuring continuous operation even during primary power loss or network disruptions, with self-controlled power management and network routing capabilities.
Energy Efficiency and Sustainability Metrics
Evaluating the energy efficiency and sustainability of Power over Ethernet Plus Plus (PoE++) systems requires comprehensive metrics that capture both immediate performance and long-term environmental impact. The IEEE 802.3bt standard, which defines PoE++, enables power delivery up to 90W per port, creating significant opportunities for integration with renewable energy systems.
Primary energy efficiency metrics for PoE++ renewable energy applications include Power Usage Effectiveness (PUE), which measures the ratio of total facility energy to IT equipment energy consumption. When PoE++ systems are powered by renewable sources, modified PUE calculations can demonstrate substantial improvements over traditional power delivery methods. Conversion efficiency represents another critical metric, typically ranging from 85-95% in modern PoE++ implementations, with higher efficiencies achievable when paired with DC-based renewable sources that eliminate AC-DC conversion losses.
Carbon footprint reduction potential serves as a key sustainability metric, quantifiable through CO2 equivalent emissions avoided by utilizing renewable-powered PoE++ versus conventional grid power. Studies indicate potential reductions of 30-70% depending on implementation specifics and renewable energy mix. Life Cycle Assessment (LCA) provides a more comprehensive view by evaluating environmental impacts from manufacturing through end-of-life disposal.
Return on Investment (ROI) and Total Cost of Ownership (TCO) metrics bridge economic and sustainability considerations. While initial implementation costs for renewable PoE++ systems may exceed conventional alternatives by 15-40%, TCO analyses typically demonstrate break-even periods of 3-7 years, with significant long-term advantages in operational expenditure reduction.
Resilience metrics are increasingly important, measuring system capability to maintain operations during grid disruptions. Renewable PoE++ systems can achieve uptime improvements of 5-15% compared to traditional power infrastructure, particularly when incorporating energy storage solutions. This resilience factor translates to quantifiable business continuity benefits.
Water usage effectiveness represents an often-overlooked sustainability metric relevant to certain renewable energy sources. Solar-powered PoE++ systems demonstrate particular advantages here, with water consumption approximately 200 times lower than fossil fuel alternatives per kWh generated.
Standardized reporting frameworks such as the Global Reporting Initiative (GRI) and Sustainability Accounting Standards Board (SASB) guidelines provide structured approaches for organizations to document and communicate the sustainability benefits of renewable PoE++ implementations, enhancing transparency and facilitating meaningful comparisons across different technological solutions.
Primary energy efficiency metrics for PoE++ renewable energy applications include Power Usage Effectiveness (PUE), which measures the ratio of total facility energy to IT equipment energy consumption. When PoE++ systems are powered by renewable sources, modified PUE calculations can demonstrate substantial improvements over traditional power delivery methods. Conversion efficiency represents another critical metric, typically ranging from 85-95% in modern PoE++ implementations, with higher efficiencies achievable when paired with DC-based renewable sources that eliminate AC-DC conversion losses.
Carbon footprint reduction potential serves as a key sustainability metric, quantifiable through CO2 equivalent emissions avoided by utilizing renewable-powered PoE++ versus conventional grid power. Studies indicate potential reductions of 30-70% depending on implementation specifics and renewable energy mix. Life Cycle Assessment (LCA) provides a more comprehensive view by evaluating environmental impacts from manufacturing through end-of-life disposal.
Return on Investment (ROI) and Total Cost of Ownership (TCO) metrics bridge economic and sustainability considerations. While initial implementation costs for renewable PoE++ systems may exceed conventional alternatives by 15-40%, TCO analyses typically demonstrate break-even periods of 3-7 years, with significant long-term advantages in operational expenditure reduction.
Resilience metrics are increasingly important, measuring system capability to maintain operations during grid disruptions. Renewable PoE++ systems can achieve uptime improvements of 5-15% compared to traditional power infrastructure, particularly when incorporating energy storage solutions. This resilience factor translates to quantifiable business continuity benefits.
Water usage effectiveness represents an often-overlooked sustainability metric relevant to certain renewable energy sources. Solar-powered PoE++ systems demonstrate particular advantages here, with water consumption approximately 200 times lower than fossil fuel alternatives per kWh generated.
Standardized reporting frameworks such as the Global Reporting Initiative (GRI) and Sustainability Accounting Standards Board (SASB) guidelines provide structured approaches for organizations to document and communicate the sustainability benefits of renewable PoE++ implementations, enhancing transparency and facilitating meaningful comparisons across different technological solutions.
Regulatory Compliance and Safety Standards
The integration of Power over Ethernet Plus Plus (PoE++) technology into renewable energy systems necessitates strict adherence to established regulatory frameworks and safety standards. IEEE 802.3bt-2018 serves as the foundational standard for PoE++, defining the technical specifications for delivering up to 100W of power over Ethernet cabling. When implementing PoE++ in renewable energy applications, compliance with this standard is essential to ensure interoperability and system reliability.
Beyond IEEE specifications, renewable energy systems utilizing PoE++ must conform to broader electrical safety standards such as IEC 60950 (Information Technology Equipment) and IEC 62368 (Audio/Video, Information and Communication Technology Equipment). These standards establish critical safety parameters for voltage isolation, current limitations, and thermal management—all particularly relevant when PoE++ systems interface with solar panels, wind turbines, or energy storage components.
Regional regulatory requirements add another layer of compliance complexity. In North America, UL certification (specifically UL 60950-1 and the newer UL 62368-1) is typically mandatory for commercial deployment. European markets require CE marking, demonstrating conformity with low voltage directive (LVD) 2014/35/EU and electromagnetic compatibility directive (EMC) 2014/30/EU. Asian markets have their own certification requirements, such as CCC in China and PSE in Japan.
Environmental considerations also factor into regulatory compliance for PoE++ renewable energy systems. RoHS (Restriction of Hazardous Substances) and WEEE (Waste Electrical and Electronic Equipment) directives restrict the use of certain hazardous materials and establish end-of-life recycling protocols. These are particularly relevant for outdoor installations where equipment may be exposed to environmental stressors.
Safety standards specifically addressing the renewable energy interface include IEC 61730 for photovoltaic module safety and IEC 61400-1 for wind turbine safety. When these systems connect to PoE++ infrastructure, careful attention must be paid to isolation requirements, grounding practices, and surge protection mechanisms to prevent electrical hazards during extreme weather events or system failures.
Cybersecurity compliance has emerged as a critical consideration for networked renewable energy systems. Standards such as IEC 62443 (Industrial Automation and Control Systems Security) and NIST Framework for Improving Critical Infrastructure Cybersecurity provide guidelines for securing PoE++ enabled renewable energy installations against unauthorized access and potential attacks on the power distribution network.
Testing and certification processes for PoE++ renewable energy systems typically involve third-party laboratories conducting rigorous evaluations of electrical safety, electromagnetic compatibility, environmental durability, and network performance. Documentation of these certifications must be maintained and updated as standards evolve to ensure ongoing compliance throughout the system lifecycle.
Beyond IEEE specifications, renewable energy systems utilizing PoE++ must conform to broader electrical safety standards such as IEC 60950 (Information Technology Equipment) and IEC 62368 (Audio/Video, Information and Communication Technology Equipment). These standards establish critical safety parameters for voltage isolation, current limitations, and thermal management—all particularly relevant when PoE++ systems interface with solar panels, wind turbines, or energy storage components.
Regional regulatory requirements add another layer of compliance complexity. In North America, UL certification (specifically UL 60950-1 and the newer UL 62368-1) is typically mandatory for commercial deployment. European markets require CE marking, demonstrating conformity with low voltage directive (LVD) 2014/35/EU and electromagnetic compatibility directive (EMC) 2014/30/EU. Asian markets have their own certification requirements, such as CCC in China and PSE in Japan.
Environmental considerations also factor into regulatory compliance for PoE++ renewable energy systems. RoHS (Restriction of Hazardous Substances) and WEEE (Waste Electrical and Electronic Equipment) directives restrict the use of certain hazardous materials and establish end-of-life recycling protocols. These are particularly relevant for outdoor installations where equipment may be exposed to environmental stressors.
Safety standards specifically addressing the renewable energy interface include IEC 61730 for photovoltaic module safety and IEC 61400-1 for wind turbine safety. When these systems connect to PoE++ infrastructure, careful attention must be paid to isolation requirements, grounding practices, and surge protection mechanisms to prevent electrical hazards during extreme weather events or system failures.
Cybersecurity compliance has emerged as a critical consideration for networked renewable energy systems. Standards such as IEC 62443 (Industrial Automation and Control Systems Security) and NIST Framework for Improving Critical Infrastructure Cybersecurity provide guidelines for securing PoE++ enabled renewable energy installations against unauthorized access and potential attacks on the power distribution network.
Testing and certification processes for PoE++ renewable energy systems typically involve third-party laboratories conducting rigorous evaluations of electrical safety, electromagnetic compatibility, environmental durability, and network performance. Documentation of these certifications must be maintained and updated as standards evolve to ensure ongoing compliance throughout the system lifecycle.
Unlock deeper insights with Patsnap Eureka Quick Research — get a full tech report to explore trends and direct your research. Try now!
Generate Your Research Report Instantly with AI Agent
Supercharge your innovation with Patsnap Eureka AI Agent Platform!



