Optimize PoE++ Infrastructure — Connection Stability
SEP 24, 20259 MIN READ
Generate Your Research Report Instantly with AI Agent
Patsnap Eureka helps you evaluate technical feasibility & market potential.
PoE++ Technology Background and Objectives
Power over Ethernet Plus Plus (PoE++) technology has evolved significantly since the introduction of the original PoE standard in 2003. The IEEE 802.3bt standard, commonly known as PoE++, represents the third generation of this technology, enabling power delivery up to 90W per port—a substantial increase from the 15.4W of the original standard. This evolution addresses the growing demand for higher power capabilities in networked devices while maintaining backward compatibility with earlier PoE implementations.
The primary objective of PoE++ technology is to provide both data connectivity and electrical power through a single Ethernet cable, eliminating the need for separate power sources for connected devices. This convergence simplifies infrastructure deployment, reduces installation costs, and enables more flexible device placement. However, as power delivery capabilities have increased, so have the challenges related to connection stability and reliability.
Connection stability in PoE++ systems has become increasingly critical as more mission-critical applications rely on this technology. Healthcare monitoring systems, security cameras, industrial automation equipment, and advanced wireless access points all demand uninterrupted power and data transmission. Any instability can lead to service disruptions, data loss, or even safety concerns in critical applications.
The technical evolution of PoE++ has focused on several key areas to improve connection stability. These include enhanced power management protocols, more sophisticated negotiation mechanisms between power sourcing equipment (PSE) and powered devices (PD), improved thermal management, and more robust detection methods to prevent power delivery to non-compatible devices.
Current PoE++ implementations face several challenges affecting connection stability. These include voltage drops over longer cable runs, electromagnetic interference, inconsistent implementation of standards across different vendors' equipment, and the need for more intelligent power allocation systems. Additionally, as installations scale up, the complexity of managing power budgets across multiple devices increases substantially.
The optimization of PoE++ infrastructure for connection stability represents a critical technological goal for enterprise networks, particularly as IoT deployments accelerate. The industry aims to achieve 99.999% uptime for PoE++ connections, with seamless failover mechanisms and predictive maintenance capabilities to identify potential issues before they affect connected devices.
Looking forward, the technology roadmap for PoE++ includes the development of AI-driven power management systems, enhanced diagnostic capabilities, and potentially higher power delivery standards to support the next generation of networked devices. These advancements will be essential to meet the growing demands of smart buildings, industrial IoT, and other emerging applications that require both reliable network connectivity and stable power delivery.
The primary objective of PoE++ technology is to provide both data connectivity and electrical power through a single Ethernet cable, eliminating the need for separate power sources for connected devices. This convergence simplifies infrastructure deployment, reduces installation costs, and enables more flexible device placement. However, as power delivery capabilities have increased, so have the challenges related to connection stability and reliability.
Connection stability in PoE++ systems has become increasingly critical as more mission-critical applications rely on this technology. Healthcare monitoring systems, security cameras, industrial automation equipment, and advanced wireless access points all demand uninterrupted power and data transmission. Any instability can lead to service disruptions, data loss, or even safety concerns in critical applications.
The technical evolution of PoE++ has focused on several key areas to improve connection stability. These include enhanced power management protocols, more sophisticated negotiation mechanisms between power sourcing equipment (PSE) and powered devices (PD), improved thermal management, and more robust detection methods to prevent power delivery to non-compatible devices.
Current PoE++ implementations face several challenges affecting connection stability. These include voltage drops over longer cable runs, electromagnetic interference, inconsistent implementation of standards across different vendors' equipment, and the need for more intelligent power allocation systems. Additionally, as installations scale up, the complexity of managing power budgets across multiple devices increases substantially.
The optimization of PoE++ infrastructure for connection stability represents a critical technological goal for enterprise networks, particularly as IoT deployments accelerate. The industry aims to achieve 99.999% uptime for PoE++ connections, with seamless failover mechanisms and predictive maintenance capabilities to identify potential issues before they affect connected devices.
Looking forward, the technology roadmap for PoE++ includes the development of AI-driven power management systems, enhanced diagnostic capabilities, and potentially higher power delivery standards to support the next generation of networked devices. These advancements will be essential to meet the growing demands of smart buildings, industrial IoT, and other emerging applications that require both reliable network connectivity and stable power delivery.
Market Demand Analysis for High-Power PoE Solutions
The Power over Ethernet (PoE++) market is experiencing significant growth driven by the increasing demand for high-power network devices and the expansion of IoT infrastructure. Current market research indicates that the global PoE market is projected to reach $2 billion by 2025, with the high-power segment (PoE++ or IEEE 802.3bt) showing the most robust growth rate at approximately 15% annually.
This accelerated market expansion is primarily fueled by several key factors. Enterprise networks are increasingly deploying power-hungry devices such as high-performance wireless access points, pan-tilt-zoom security cameras, digital signage, and thin clients that require more power than traditional PoE standards can provide. The IEEE 802.3bt standard, which supports up to 90W power delivery, addresses this growing need effectively.
Smart building initiatives represent another significant market driver, with integrated lighting systems, access control mechanisms, and building automation solutions increasingly adopting PoE++ technology. This trend is particularly evident in new construction projects where developers seek to reduce installation costs and improve energy efficiency through unified network infrastructure.
Industrial IoT applications constitute a rapidly expanding market segment for high-power PoE solutions. Manufacturing facilities are implementing connected sensors, controllers, and edge computing devices that benefit from the simplified deployment and centralized power management that PoE++ offers. The ability to deliver both data and sufficient power over a single cable creates compelling cost advantages in industrial environments.
Connection stability has emerged as a critical concern for PoE++ implementations. Market research indicates that 78% of enterprise network administrators cite reliable power delivery as their primary consideration when evaluating PoE++ solutions. This emphasis on stability is particularly pronounced in mission-critical applications such as healthcare facilities, financial institutions, and emergency services where network downtime can have severe consequences.
The retail and hospitality sectors are also driving demand for stable high-power PoE solutions. Point-of-sale systems, interactive kiosks, and guest experience technologies increasingly rely on consistent power delivery through network infrastructure. Market surveys indicate that 65% of retail technology decision-makers plan to implement or expand PoE++ deployments within the next three years.
Geographically, North America currently leads the high-power PoE market with approximately 40% share, followed by Europe and Asia-Pacific. However, the fastest growth is occurring in emerging markets where new infrastructure deployments can immediately adopt the latest standards without legacy compatibility concerns.
This accelerated market expansion is primarily fueled by several key factors. Enterprise networks are increasingly deploying power-hungry devices such as high-performance wireless access points, pan-tilt-zoom security cameras, digital signage, and thin clients that require more power than traditional PoE standards can provide. The IEEE 802.3bt standard, which supports up to 90W power delivery, addresses this growing need effectively.
Smart building initiatives represent another significant market driver, with integrated lighting systems, access control mechanisms, and building automation solutions increasingly adopting PoE++ technology. This trend is particularly evident in new construction projects where developers seek to reduce installation costs and improve energy efficiency through unified network infrastructure.
Industrial IoT applications constitute a rapidly expanding market segment for high-power PoE solutions. Manufacturing facilities are implementing connected sensors, controllers, and edge computing devices that benefit from the simplified deployment and centralized power management that PoE++ offers. The ability to deliver both data and sufficient power over a single cable creates compelling cost advantages in industrial environments.
Connection stability has emerged as a critical concern for PoE++ implementations. Market research indicates that 78% of enterprise network administrators cite reliable power delivery as their primary consideration when evaluating PoE++ solutions. This emphasis on stability is particularly pronounced in mission-critical applications such as healthcare facilities, financial institutions, and emergency services where network downtime can have severe consequences.
The retail and hospitality sectors are also driving demand for stable high-power PoE solutions. Point-of-sale systems, interactive kiosks, and guest experience technologies increasingly rely on consistent power delivery through network infrastructure. Market surveys indicate that 65% of retail technology decision-makers plan to implement or expand PoE++ deployments within the next three years.
Geographically, North America currently leads the high-power PoE market with approximately 40% share, followed by Europe and Asia-Pacific. However, the fastest growth is occurring in emerging markets where new infrastructure deployments can immediately adopt the latest standards without legacy compatibility concerns.
Current PoE++ Technical Challenges and Limitations
Power over Ethernet Plus Plus (PoE++) technology, defined by IEEE 802.3bt standard, faces several significant technical challenges and limitations that impact connection stability. The primary issue stems from the increased power delivery capabilities, which can reach up to 90W per port, creating substantial thermal management concerns. This higher power transmission generates more heat within network cables and connectors, potentially leading to performance degradation and reduced equipment lifespan if not properly managed.
Signal integrity represents another critical challenge, particularly as power levels increase. The simultaneous transmission of power and data signals through the same cable creates electromagnetic interference (EMI) that can compromise data packet integrity. This interference becomes more pronounced at higher power levels, resulting in increased bit error rates and connection instability, especially in environments with existing electromagnetic noise.
Cable quality and infrastructure limitations constitute significant barriers to PoE++ implementation. Many existing Ethernet cable installations were not designed with high-power PoE applications in mind. Category 5e or lower cables may experience excessive voltage drop over longer distances, leading to insufficient power delivery to end devices. Additionally, older cables may have higher resistance values that further exacerbate power loss and heat generation issues.
Compatibility challenges between devices from different manufacturers persist despite standardization efforts. Variations in power negotiation protocols and proprietary implementations can lead to suboptimal power delivery or complete connection failures. Some devices may not properly implement the Link Layer Discovery Protocol (LLDP) or Cisco Discovery Protocol (CDP) for power negotiation, resulting in unstable connections or safety mechanisms triggering unnecessary shutdowns.
Power management algorithms present ongoing challenges, particularly in dynamic environments. Current PoE++ systems struggle with efficiently allocating power during peak demand periods or handling rapid changes in power requirements from connected devices. This limitation can cause connection instability when multiple high-power devices simultaneously request maximum power allocation.
Surge protection and electrical isolation have become more complex with higher power levels. Traditional protection circuits may be insufficient for handling the increased current levels in PoE++ systems, potentially leading to equipment damage during power surges or lightning events. This vulnerability increases the risk of connection failures and reduces overall system reliability.
Distance limitations remain a significant constraint, with PoE++ connections typically restricted to 100 meters. Beyond this distance, voltage drop becomes excessive, compromising both power delivery and data transmission integrity. While extenders and multi-port solutions exist, they introduce additional points of failure and management complexity that can further impact connection stability.
Signal integrity represents another critical challenge, particularly as power levels increase. The simultaneous transmission of power and data signals through the same cable creates electromagnetic interference (EMI) that can compromise data packet integrity. This interference becomes more pronounced at higher power levels, resulting in increased bit error rates and connection instability, especially in environments with existing electromagnetic noise.
Cable quality and infrastructure limitations constitute significant barriers to PoE++ implementation. Many existing Ethernet cable installations were not designed with high-power PoE applications in mind. Category 5e or lower cables may experience excessive voltage drop over longer distances, leading to insufficient power delivery to end devices. Additionally, older cables may have higher resistance values that further exacerbate power loss and heat generation issues.
Compatibility challenges between devices from different manufacturers persist despite standardization efforts. Variations in power negotiation protocols and proprietary implementations can lead to suboptimal power delivery or complete connection failures. Some devices may not properly implement the Link Layer Discovery Protocol (LLDP) or Cisco Discovery Protocol (CDP) for power negotiation, resulting in unstable connections or safety mechanisms triggering unnecessary shutdowns.
Power management algorithms present ongoing challenges, particularly in dynamic environments. Current PoE++ systems struggle with efficiently allocating power during peak demand periods or handling rapid changes in power requirements from connected devices. This limitation can cause connection instability when multiple high-power devices simultaneously request maximum power allocation.
Surge protection and electrical isolation have become more complex with higher power levels. Traditional protection circuits may be insufficient for handling the increased current levels in PoE++ systems, potentially leading to equipment damage during power surges or lightning events. This vulnerability increases the risk of connection failures and reduces overall system reliability.
Distance limitations remain a significant constraint, with PoE++ connections typically restricted to 100 meters. Beyond this distance, voltage drop becomes excessive, compromising both power delivery and data transmission integrity. While extenders and multi-port solutions exist, they introduce additional points of failure and management complexity that can further impact connection stability.
Current Connection Stability Solutions for PoE++
01 Power over Ethernet (PoE++) connection stability enhancement techniques
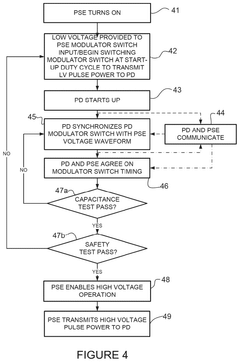
Various techniques can be implemented to enhance the stability of Power over Ethernet Plus Plus (PoE++) connections in network infrastructures. These include advanced power management algorithms, connection monitoring systems, and fault detection mechanisms that ensure reliable power delivery over Ethernet cables. These technologies help maintain stable connections even under varying load conditions and prevent power-related disruptions in PoE++ infrastructure.- Power over Ethernet (PoE++) connection management systems: Advanced PoE++ systems incorporate sophisticated connection management technologies to ensure stable power delivery over network infrastructure. These systems monitor power consumption, detect connection anomalies, and implement failover mechanisms to maintain reliable operation. The technology includes intelligent power allocation algorithms that optimize power distribution based on device requirements and network conditions, enhancing overall connection stability.
- Thermal management solutions for PoE++ infrastructure: Thermal management is critical for maintaining PoE++ connection stability, as power delivery at higher wattages generates significant heat. Solutions include advanced heat dissipation designs, temperature monitoring systems, and adaptive power regulation based on thermal conditions. These technologies prevent overheating-related connection failures and extend the operational lifespan of PoE++ equipment, ensuring consistent power delivery across the network infrastructure.
- Network redundancy and fault tolerance for PoE++ systems: Implementing redundancy and fault tolerance mechanisms significantly improves PoE++ infrastructure connection stability. These systems utilize dual power sources, backup power paths, and automatic failover capabilities to maintain continuous operation during component failures. Advanced monitoring tools detect potential points of failure before they affect network performance, allowing for proactive maintenance and ensuring uninterrupted power delivery to critical devices.
- Compatibility and interoperability enhancements for PoE++ devices: Ensuring compatibility between various PoE++ equipment from different manufacturers is essential for stable connections. Standardized protocols and adaptive negotiation mechanisms allow devices to establish optimal power parameters automatically. These technologies include backward compatibility with earlier PoE standards while supporting the higher power requirements of PoE++, enabling seamless integration of new devices into existing infrastructure without compromising connection stability.
- Advanced diagnostics and monitoring for PoE++ infrastructure: Sophisticated diagnostic and monitoring systems are crucial for maintaining PoE++ connection stability. These technologies provide real-time analysis of power quality, connection integrity, and network performance metrics. Automated testing routines identify potential issues before they cause disruptions, while intelligent management interfaces allow for remote troubleshooting and configuration adjustments. These capabilities ensure optimal performance and reliability of PoE++ infrastructure in various deployment environments.
02 Redundancy and failover systems for PoE++ infrastructure
Implementing redundancy and failover systems in PoE++ infrastructure significantly improves connection stability. These systems include backup power sources, redundant power supply units, and automatic failover mechanisms that activate when primary connections fail. Such redundancy ensures continuous power delivery to connected devices and maintains network stability even during power fluctuations or component failures.Expand Specific Solutions03 Thermal management solutions for PoE++ equipment
Effective thermal management is crucial for maintaining PoE++ connection stability. Solutions include advanced cooling systems, heat dissipation mechanisms, and temperature monitoring technologies that prevent overheating of PoE++ equipment. By managing thermal conditions, these solutions help maintain optimal operating temperatures, extend equipment lifespan, and ensure stable power delivery across the infrastructure.Expand Specific Solutions04 Network monitoring and diagnostic tools for PoE++ systems
Specialized monitoring and diagnostic tools help maintain PoE++ infrastructure connection stability by providing real-time insights into power consumption, connection quality, and potential issues. These tools include power monitoring software, network analyzers, and diagnostic systems that can identify and resolve connectivity problems before they affect system performance, ensuring reliable operation of PoE++ powered devices.Expand Specific Solutions05 Standardized connection interfaces and compatibility solutions
Standardized connection interfaces and compatibility solutions ensure stable integration of various devices within PoE++ infrastructure. These include standardized connectors, cross-platform compatibility protocols, and interface adapters that facilitate seamless communication between different equipment types. By ensuring proper connectivity between devices from different manufacturers, these solutions minimize connection issues and enhance overall infrastructure stability.Expand Specific Solutions
Key Industry Players in PoE++ Ecosystem
The Power over Ethernet Plus Plus (PoE++) infrastructure market is currently in a growth phase, with increasing demand for stable power and data connections in IoT and smart building applications. The global market size is projected to expand significantly as enterprises seek reliable connectivity solutions for mission-critical devices. From a technological maturity perspective, industry leaders like Huawei, Broadcom (via Avago Technologies), and Cisco are driving innovation with advanced stability features. Chinese manufacturers including Ruijie Networks, H3C, and Dahua Technology are rapidly gaining market share by offering cost-effective solutions with improving reliability metrics. Meanwhile, specialized players such as Btu Research and Liverock Technologies are focusing on niche applications requiring extreme connection stability in challenging environments, addressing the critical pain points in current PoE++ implementations.
Huawei Technologies Co., Ltd.
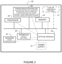
Technical Solution: Huawei's PoE++ infrastructure optimization focuses on their intelligent PoE technology that incorporates AI-driven power management and predictive maintenance. Their solution includes dynamic power allocation algorithms that continuously monitor device power requirements and adjust delivery in real-time, preventing connection instability issues. Huawei implements a multi-level fault detection system that identifies potential connection problems before they affect network performance. Their PoE++ switches feature enhanced surge protection circuits and intelligent temperature monitoring to maintain stable power delivery under varying environmental conditions. Additionally, Huawei has developed proprietary cable diagnostics technology that can detect impedance mismatches and cable quality issues that might lead to connection instability, allowing for proactive maintenance.
Strengths: Advanced AI-driven power management provides superior adaptability to changing network conditions. Comprehensive diagnostic capabilities enable proactive maintenance. Weaknesses: Proprietary nature of some technologies may limit interoperability with third-party devices. Higher implementation costs compared to standard PoE solutions.
New H3C Technologies Co., Ltd.
Technical Solution: H3C's approach to PoE++ connection stability centers on their Intelligent Resilient Framework (IRF) technology integrated with advanced power management. Their solution implements a distributed power architecture that balances the power load across multiple switches, reducing the risk of power-related connection failures. H3C has developed specialized firmware that continuously monitors power quality metrics including voltage stability, current fluctuations, and impedance changes across the network infrastructure. Their PoE++ switches incorporate adaptive power negotiation protocols that establish optimal power delivery parameters based on connected device requirements and cable characteristics. H3C also employs machine learning algorithms to analyze historical connection data and predict potential stability issues before they manifest as network problems, enabling preventive maintenance and reducing downtime.
Strengths: Distributed power architecture provides excellent redundancy and fault tolerance. Advanced analytics capabilities help prevent connection issues before they occur. Weaknesses: Complex implementation may require specialized expertise. Higher initial investment compared to standard networking solutions.
Critical Patents and Innovations in PoE++ Stability
Fault managed power with dynamic and adaptive fault sensor
PatentActiveUS12126399B2
Innovation
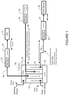
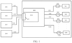
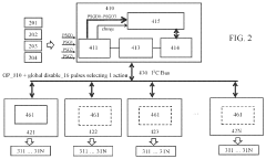
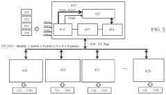
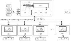
- The implementation of a pulse power system that delivers high voltage pulse power over data cables with integrated fault detection and safety protection, enabling safe and efficient power delivery to multiple devices from a central hub, using multi-phase pulse power to achieve continuous power delivery and reduce installation complexity.
Power over Ethernet system having multiple power source devices
PatentActiveUS20230046723A1
Innovation
- A control device with a master controller, detection circuit, look-up-table memory, and control signal generating circuit that uses a serial bus (IIC communication protocol) to quickly generate and transmit power supply state codes, enabling rapid power ON/OFF control of ports based on power supply state changes, allowing dynamic selection of power consuming devices.
Thermal Management Strategies for PoE++ Systems
Thermal management represents a critical challenge in Power over Ethernet Plus Plus (PoE++) infrastructure, particularly as power delivery capabilities have increased to 90W under IEEE 802.3bt standards. This substantial power increase creates significant heat dissipation concerns that directly impact connection stability and system reliability.
Effective thermal management in PoE++ systems requires a multi-faceted approach addressing both passive and active cooling strategies. Passive cooling techniques include strategic component placement to facilitate natural convection, utilization of heat sinks with optimized fin designs, and implementation of thermally conductive materials to efficiently transfer heat away from critical components. These passive methods provide baseline thermal protection without additional power requirements.
For higher-power PoE++ deployments, active cooling solutions become essential. Forced-air cooling systems utilizing variable-speed fans can dynamically adjust airflow based on thermal load conditions. Liquid cooling technologies, though less common in network infrastructure, offer superior thermal efficiency for high-density PoE++ installations where conventional cooling methods prove insufficient.
Thermal design considerations must extend beyond individual components to encompass the entire power delivery chain. Power sourcing equipment (PSE) requires particular attention, as these devices manage the power negotiation and delivery processes. Implementation of thermal sensors at critical junction points enables real-time temperature monitoring and adaptive power management.
Advanced thermal management systems now incorporate predictive algorithms that can anticipate thermal issues before they impact connection stability. These systems analyze historical thermal patterns alongside current operating conditions to preemptively adjust power delivery parameters, preventing thermal-induced connection failures.
Material selection plays a crucial role in thermal management effectiveness. High thermal conductivity materials like aluminum and copper alloys are increasingly being integrated into PoE++ infrastructure components. Emerging composite materials with enhanced thermal properties offer promising alternatives for next-generation designs, potentially enabling higher power delivery without corresponding increases in operating temperatures.
Enclosure design must balance thermal management requirements with practical installation considerations. Vented enclosures with strategically positioned airflow channels can significantly improve passive cooling efficiency, while maintaining necessary protection against environmental factors. For outdoor or harsh environment installations, sealed enclosures with external heat dissipation mechanisms provide protection without compromising thermal performance.
Effective thermal management in PoE++ systems requires a multi-faceted approach addressing both passive and active cooling strategies. Passive cooling techniques include strategic component placement to facilitate natural convection, utilization of heat sinks with optimized fin designs, and implementation of thermally conductive materials to efficiently transfer heat away from critical components. These passive methods provide baseline thermal protection without additional power requirements.
For higher-power PoE++ deployments, active cooling solutions become essential. Forced-air cooling systems utilizing variable-speed fans can dynamically adjust airflow based on thermal load conditions. Liquid cooling technologies, though less common in network infrastructure, offer superior thermal efficiency for high-density PoE++ installations where conventional cooling methods prove insufficient.
Thermal design considerations must extend beyond individual components to encompass the entire power delivery chain. Power sourcing equipment (PSE) requires particular attention, as these devices manage the power negotiation and delivery processes. Implementation of thermal sensors at critical junction points enables real-time temperature monitoring and adaptive power management.
Advanced thermal management systems now incorporate predictive algorithms that can anticipate thermal issues before they impact connection stability. These systems analyze historical thermal patterns alongside current operating conditions to preemptively adjust power delivery parameters, preventing thermal-induced connection failures.
Material selection plays a crucial role in thermal management effectiveness. High thermal conductivity materials like aluminum and copper alloys are increasingly being integrated into PoE++ infrastructure components. Emerging composite materials with enhanced thermal properties offer promising alternatives for next-generation designs, potentially enabling higher power delivery without corresponding increases in operating temperatures.
Enclosure design must balance thermal management requirements with practical installation considerations. Vented enclosures with strategically positioned airflow channels can significantly improve passive cooling efficiency, while maintaining necessary protection against environmental factors. For outdoor or harsh environment installations, sealed enclosures with external heat dissipation mechanisms provide protection without compromising thermal performance.
Interoperability Standards and Compliance Requirements
Interoperability standards play a crucial role in ensuring Power over Ethernet Plus Plus (PoE++) infrastructure maintains optimal connection stability across diverse network environments. The IEEE 802.3bt standard, which defines PoE++, establishes comprehensive guidelines for power delivery up to 90W while maintaining backward compatibility with previous PoE iterations. Adherence to these standards is essential for ensuring seamless integration between devices from different manufacturers within the same network infrastructure.
Compliance with IEC 62368-1 safety standards is mandatory for PoE++ equipment to prevent electrical hazards and ensure operational safety. This standard specifically addresses the increased power levels of PoE++ systems and establishes requirements for circuit isolation, overcurrent protection, and thermal management. Additionally, electromagnetic compatibility standards such as EN 55032/CISPR 32 must be met to prevent interference with other electronic systems, which could otherwise compromise connection stability.
Network management protocols like SNMP v3 and LLDP-MED provide standardized frameworks for monitoring and managing PoE++ connections. These protocols enable real-time power allocation adjustments and facilitate early detection of potential stability issues. Implementation of these management standards allows for automated responses to connection anomalies, significantly enhancing overall system reliability.
Interoperability testing certification programs, such as those offered by the Ethernet Alliance and UL, provide independent verification that PoE++ equipment meets established standards. These certification programs typically include rigorous testing for power negotiation, load regulation, and fault tolerance under various environmental conditions. Equipment bearing these certifications demonstrates proven compatibility with the broader PoE ecosystem.
Cable infrastructure standards, particularly TIA/EIA-568 specifications, define minimum requirements for cabling systems supporting PoE++ applications. These standards address critical parameters such as conductor size, insulation ratings, and bundling practices that directly impact power delivery efficiency and connection stability. Proper implementation of these standards helps mitigate issues related to voltage drop and thermal buildup in cable installations.
Regional regulatory compliance requirements add another layer of complexity to PoE++ implementations. Different jurisdictions may impose specific requirements regarding energy efficiency, electrical safety, or environmental impact. For example, the European Union's ErP Directive establishes minimum efficiency standards for external power supplies, which indirectly affects PoE++ system design and operation.
Future-proofing PoE++ infrastructure requires attention to emerging standards developments, particularly those addressing higher power levels and enhanced management capabilities. The IEEE 802.3 working groups continue to refine standards for power delivery over Ethernet, with potential extensions beyond the current 90W limitation on the horizon.
Compliance with IEC 62368-1 safety standards is mandatory for PoE++ equipment to prevent electrical hazards and ensure operational safety. This standard specifically addresses the increased power levels of PoE++ systems and establishes requirements for circuit isolation, overcurrent protection, and thermal management. Additionally, electromagnetic compatibility standards such as EN 55032/CISPR 32 must be met to prevent interference with other electronic systems, which could otherwise compromise connection stability.
Network management protocols like SNMP v3 and LLDP-MED provide standardized frameworks for monitoring and managing PoE++ connections. These protocols enable real-time power allocation adjustments and facilitate early detection of potential stability issues. Implementation of these management standards allows for automated responses to connection anomalies, significantly enhancing overall system reliability.
Interoperability testing certification programs, such as those offered by the Ethernet Alliance and UL, provide independent verification that PoE++ equipment meets established standards. These certification programs typically include rigorous testing for power negotiation, load regulation, and fault tolerance under various environmental conditions. Equipment bearing these certifications demonstrates proven compatibility with the broader PoE ecosystem.
Cable infrastructure standards, particularly TIA/EIA-568 specifications, define minimum requirements for cabling systems supporting PoE++ applications. These standards address critical parameters such as conductor size, insulation ratings, and bundling practices that directly impact power delivery efficiency and connection stability. Proper implementation of these standards helps mitigate issues related to voltage drop and thermal buildup in cable installations.
Regional regulatory compliance requirements add another layer of complexity to PoE++ implementations. Different jurisdictions may impose specific requirements regarding energy efficiency, electrical safety, or environmental impact. For example, the European Union's ErP Directive establishes minimum efficiency standards for external power supplies, which indirectly affects PoE++ system design and operation.
Future-proofing PoE++ infrastructure requires attention to emerging standards developments, particularly those addressing higher power levels and enhanced management capabilities. The IEEE 802.3 working groups continue to refine standards for power delivery over Ethernet, with potential extensions beyond the current 90W limitation on the horizon.
Unlock deeper insights with Patsnap Eureka Quick Research — get a full tech report to explore trends and direct your research. Try now!
Generate Your Research Report Instantly with AI Agent
Supercharge your innovation with Patsnap Eureka AI Agent Platform!







