PoE++ Vs EV Charging: Compatibility Testing
SEP 24, 20259 MIN READ
Generate Your Research Report Instantly with AI Agent
Patsnap Eureka helps you evaluate technical feasibility & market potential.
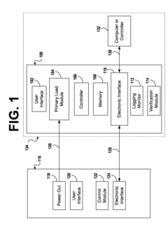
PoE++ and EV Charging Background and Objectives
Power over Ethernet Plus Plus (PoE++) and Electric Vehicle (EV) charging technologies represent two significant developments in power delivery systems that have evolved along distinct yet potentially convergent paths. PoE technology has progressed from its initial standard providing 15.4W in 2003 to the latest IEEE 802.3bt standard (PoE++) capable of delivering up to 100W over Ethernet cables. This evolution has expanded PoE applications beyond simple IP phones and wireless access points to more power-hungry devices like pan-tilt-zoom cameras, digital signage, and even desktop computers.
Concurrently, EV charging technology has undergone rapid advancement driven by the global shift toward electric mobility. Starting with basic Level 1 charging (120V AC, 1.4kW) systems, the technology has evolved to include Level 2 (240V AC, up to 19.2kW) and DC fast charging solutions capable of delivering hundreds of kilowatts. This progression reflects the automotive industry's need to address range anxiety and reduce charging times for electric vehicles.
The intersection of these technologies presents intriguing possibilities for integrated power and data delivery systems. While the power requirements differ significantly in scale, both technologies share fundamental concerns regarding power management, safety protocols, and efficient energy transfer. The growing trend of smart charging infrastructure for EVs, which requires robust data communication capabilities, creates a potential application space where PoE++ principles might inform or complement EV charging systems.
The primary objective of this technical research is to evaluate the compatibility between PoE++ and EV charging technologies, focusing on potential synergies in power delivery architectures, communication protocols, and safety mechanisms. Specifically, we aim to investigate whether PoE++ technology can be adapted or scaled to enhance the intelligence and connectivity of EV charging infrastructure while maintaining the reliability and safety standards essential for both applications.
Additionally, this research seeks to identify technological barriers and opportunities for cross-pollination between these domains. Key considerations include power conversion efficiencies, thermal management challenges, cable and connector designs, and the integration of smart power management systems. The potential for developing hybrid solutions that leverage the strengths of both technologies could lead to innovative approaches for next-generation power delivery systems.
Furthermore, this investigation will assess the standardization landscape for both technologies, examining how existing and emerging standards might facilitate or hinder integration efforts. Understanding the regulatory frameworks and industry consortia driving these technologies will provide valuable context for evaluating the feasibility of compatibility initiatives and collaborative development opportunities.
Concurrently, EV charging technology has undergone rapid advancement driven by the global shift toward electric mobility. Starting with basic Level 1 charging (120V AC, 1.4kW) systems, the technology has evolved to include Level 2 (240V AC, up to 19.2kW) and DC fast charging solutions capable of delivering hundreds of kilowatts. This progression reflects the automotive industry's need to address range anxiety and reduce charging times for electric vehicles.
The intersection of these technologies presents intriguing possibilities for integrated power and data delivery systems. While the power requirements differ significantly in scale, both technologies share fundamental concerns regarding power management, safety protocols, and efficient energy transfer. The growing trend of smart charging infrastructure for EVs, which requires robust data communication capabilities, creates a potential application space where PoE++ principles might inform or complement EV charging systems.
The primary objective of this technical research is to evaluate the compatibility between PoE++ and EV charging technologies, focusing on potential synergies in power delivery architectures, communication protocols, and safety mechanisms. Specifically, we aim to investigate whether PoE++ technology can be adapted or scaled to enhance the intelligence and connectivity of EV charging infrastructure while maintaining the reliability and safety standards essential for both applications.
Additionally, this research seeks to identify technological barriers and opportunities for cross-pollination between these domains. Key considerations include power conversion efficiencies, thermal management challenges, cable and connector designs, and the integration of smart power management systems. The potential for developing hybrid solutions that leverage the strengths of both technologies could lead to innovative approaches for next-generation power delivery systems.
Furthermore, this investigation will assess the standardization landscape for both technologies, examining how existing and emerging standards might facilitate or hinder integration efforts. Understanding the regulatory frameworks and industry consortia driving these technologies will provide valuable context for evaluating the feasibility of compatibility initiatives and collaborative development opportunities.
Market Analysis for Integrated Power Solutions
The global market for integrated power solutions is experiencing significant growth, driven by the convergence of traditional power delivery systems with emerging technologies. The intersection of Power over Ethernet Plus Plus (PoE++) and Electric Vehicle (EV) charging represents a particularly dynamic segment within this broader market. Current market valuations place the global PoE market at approximately $1.2 billion, with projections indicating a compound annual growth rate of 12.6% through 2028. Meanwhile, the EV charging infrastructure market stands at $17.8 billion, growing at a remarkable 30.5% annually.
Consumer and enterprise demand for unified power management solutions is creating substantial market opportunities. Organizations are increasingly seeking systems that can efficiently manage both low-voltage DC power delivery (via PoE++) and high-power AC/DC conversion required for EV charging. This convergence is particularly evident in commercial real estate, smart buildings, and campus environments where both networking infrastructure and EV charging stations coexist.
Market segmentation reveals distinct customer profiles. Enterprise customers prioritize integrated management platforms that can monitor and control both network power delivery and EV charging from centralized systems. Public sector and educational institutions focus on cost-effective deployment models that leverage existing infrastructure. Residential markets show growing interest in simplified installation solutions that avoid extensive electrical work.
Regional analysis indicates North America currently leads market adoption of integrated power solutions, accounting for 38% of global market share. Europe follows at 32%, driven by aggressive EV adoption policies and sustainability initiatives. The Asia-Pacific region represents the fastest-growing market segment with 22% annual growth, particularly in China, Japan, and South Korea where smart city initiatives are accelerating deployment.
Key market drivers include regulatory pressures for energy efficiency, increasing EV adoption rates, and the proliferation of IoT devices requiring flexible power delivery options. The sustainability factor cannot be overlooked, as organizations seek to optimize energy usage across their operations. Market research indicates that solutions offering energy monitoring and management capabilities command premium pricing, with customers willing to pay 15-20% more for systems that provide detailed power consumption analytics.
Market barriers include technical compatibility challenges between high-power EV charging systems and data network infrastructure, concerns about electrical safety in converged systems, and the relatively high initial investment costs. Additionally, the fragmented standards landscape creates market uncertainty, with competing protocols and specifications complicating procurement decisions.
Consumer and enterprise demand for unified power management solutions is creating substantial market opportunities. Organizations are increasingly seeking systems that can efficiently manage both low-voltage DC power delivery (via PoE++) and high-power AC/DC conversion required for EV charging. This convergence is particularly evident in commercial real estate, smart buildings, and campus environments where both networking infrastructure and EV charging stations coexist.
Market segmentation reveals distinct customer profiles. Enterprise customers prioritize integrated management platforms that can monitor and control both network power delivery and EV charging from centralized systems. Public sector and educational institutions focus on cost-effective deployment models that leverage existing infrastructure. Residential markets show growing interest in simplified installation solutions that avoid extensive electrical work.
Regional analysis indicates North America currently leads market adoption of integrated power solutions, accounting for 38% of global market share. Europe follows at 32%, driven by aggressive EV adoption policies and sustainability initiatives. The Asia-Pacific region represents the fastest-growing market segment with 22% annual growth, particularly in China, Japan, and South Korea where smart city initiatives are accelerating deployment.
Key market drivers include regulatory pressures for energy efficiency, increasing EV adoption rates, and the proliferation of IoT devices requiring flexible power delivery options. The sustainability factor cannot be overlooked, as organizations seek to optimize energy usage across their operations. Market research indicates that solutions offering energy monitoring and management capabilities command premium pricing, with customers willing to pay 15-20% more for systems that provide detailed power consumption analytics.
Market barriers include technical compatibility challenges between high-power EV charging systems and data network infrastructure, concerns about electrical safety in converged systems, and the relatively high initial investment costs. Additionally, the fragmented standards landscape creates market uncertainty, with competing protocols and specifications complicating procurement decisions.
Technical Challenges in PoE++ and EV Charging Integration
The integration of Power over Ethernet Plus Plus (PoE++) and Electric Vehicle (EV) charging systems presents significant technical challenges that must be addressed for successful compatibility. The fundamental difference in power requirements creates the first major obstacle. PoE++ (IEEE 802.3bt) delivers up to 100W of power, while EV charging systems typically require several kilowatts to megawatts of power. This substantial gap necessitates sophisticated power conversion and management systems to bridge these disparate technologies.
Power quality and stability issues emerge as critical concerns. EV charging involves high-current DC power delivery that can introduce harmonics, voltage fluctuations, and electromagnetic interference into connected networks. These disturbances can potentially compromise the data integrity of PoE networks, which require clean power for reliable operation. Implementing robust filtering mechanisms and isolation techniques becomes essential to prevent cross-system interference.
Safety considerations represent another significant challenge. EV charging systems operate at potentially lethal voltage and current levels, requiring comprehensive safety protocols including ground fault protection, isolation monitoring, and emergency disconnection capabilities. Integrating these safety features with PoE++ systems, which have their own safety mechanisms designed for much lower power levels, requires careful engineering to ensure all safety standards are maintained across the integrated system.
Thermal management presents complex engineering challenges. Both PoE++ equipment and EV charging systems generate considerable heat during operation. When integrated, the combined thermal load requires advanced cooling solutions to prevent overheating, which could lead to performance degradation, premature component failure, or safety hazards. This necessitates innovative thermal design approaches that can efficiently dissipate heat from both systems.
Communication protocol compatibility creates additional complexity. PoE++ typically operates with Ethernet-based protocols, while EV charging systems employ specialized protocols like CHAdeMO, CCS, or OCPP. Developing middleware solutions that enable seamless communication between these different protocol ecosystems requires sophisticated software engineering and extensive interoperability testing.
Regulatory compliance across multiple domains further complicates integration efforts. Any combined system must simultaneously satisfy telecommunications standards (for the PoE++ component), electrical safety codes, automotive standards, and grid connection requirements (for the EV charging component). This multi-domain compliance challenge often results in design compromises that must be carefully balanced to maintain functionality while meeting all applicable regulations.
Infrastructure limitations also pose significant barriers. Existing building electrical systems may not be designed to accommodate the additional power demands of integrated PoE++ and EV charging installations, potentially requiring costly upgrades to electrical service capacity, distribution panels, and wiring infrastructure.
Power quality and stability issues emerge as critical concerns. EV charging involves high-current DC power delivery that can introduce harmonics, voltage fluctuations, and electromagnetic interference into connected networks. These disturbances can potentially compromise the data integrity of PoE networks, which require clean power for reliable operation. Implementing robust filtering mechanisms and isolation techniques becomes essential to prevent cross-system interference.
Safety considerations represent another significant challenge. EV charging systems operate at potentially lethal voltage and current levels, requiring comprehensive safety protocols including ground fault protection, isolation monitoring, and emergency disconnection capabilities. Integrating these safety features with PoE++ systems, which have their own safety mechanisms designed for much lower power levels, requires careful engineering to ensure all safety standards are maintained across the integrated system.
Thermal management presents complex engineering challenges. Both PoE++ equipment and EV charging systems generate considerable heat during operation. When integrated, the combined thermal load requires advanced cooling solutions to prevent overheating, which could lead to performance degradation, premature component failure, or safety hazards. This necessitates innovative thermal design approaches that can efficiently dissipate heat from both systems.
Communication protocol compatibility creates additional complexity. PoE++ typically operates with Ethernet-based protocols, while EV charging systems employ specialized protocols like CHAdeMO, CCS, or OCPP. Developing middleware solutions that enable seamless communication between these different protocol ecosystems requires sophisticated software engineering and extensive interoperability testing.
Regulatory compliance across multiple domains further complicates integration efforts. Any combined system must simultaneously satisfy telecommunications standards (for the PoE++ component), electrical safety codes, automotive standards, and grid connection requirements (for the EV charging component). This multi-domain compliance challenge often results in design compromises that must be carefully balanced to maintain functionality while meeting all applicable regulations.
Infrastructure limitations also pose significant barriers. Existing building electrical systems may not be designed to accommodate the additional power demands of integrated PoE++ and EV charging installations, potentially requiring costly upgrades to electrical service capacity, distribution panels, and wiring infrastructure.
Current Compatibility Testing Methodologies
01 PoE++ power delivery for EV charging systems
Power over Ethernet plus plus (PoE++) technology can be utilized to deliver power to electric vehicle charging stations. This approach leverages the enhanced power capabilities of PoE++ to provide sufficient energy for low-power EV charging applications. The technology enables power delivery over standard Ethernet cables, allowing for simplified installation and reduced infrastructure costs compared to traditional EV charging setups.- PoE++ power delivery systems for EV charging: Power over Ethernet plus plus (PoE++) technology can be adapted for electric vehicle charging applications by leveraging its enhanced power delivery capabilities. These systems utilize the IEEE 802.3bt standard which allows for up to 90W power delivery over Ethernet cables, making it suitable for low-power EV charging scenarios. The integration of PoE++ with EV charging infrastructure enables more efficient power management and distribution while utilizing existing network infrastructure.
- Network management and power allocation for EV charging via PoE: Systems that integrate network management capabilities with power allocation for EV charging stations using Power over Ethernet technology. These solutions enable intelligent power distribution, load balancing, and remote management of charging infrastructure. By leveraging network protocols, these systems can dynamically allocate power based on priority, availability, and demand, while maintaining communication between vehicles and charging infrastructure through the same Ethernet connection used for power delivery.
- PoE++ communication protocols for EV charging stations: Communication protocols specifically designed for EV charging stations powered by PoE++ technology. These protocols facilitate secure data exchange between charging stations and electric vehicles, enabling authentication, billing, charging status monitoring, and power negotiation. The integration of communication and power delivery over the same cable infrastructure simplifies installation while providing robust connectivity for smart charging applications.
- Power management and efficiency optimization in PoE-based EV charging: Methods and systems for optimizing power efficiency in PoE-based EV charging solutions. These innovations focus on minimizing power loss during transmission, implementing intelligent power saving modes, and maximizing energy transfer efficiency. Advanced power management techniques include adaptive voltage regulation, current monitoring, and thermal management to ensure safe and efficient charging operations while extending the lifespan of both the charging infrastructure and vehicle batteries.
- Scalable PoE infrastructure for multiple EV charging points: Architectures and implementations for scalable Power over Ethernet infrastructure supporting multiple EV charging points. These systems enable the deployment of numerous charging stations across parking facilities or commercial buildings while maintaining centralized control and power distribution. The scalable design allows for phased implementation, easy expansion, and integration with building management systems, making it suitable for various installation scenarios from small office buildings to large commercial complexes.
02 Network management and communication protocols for PoE-based EV charging
Integration of communication protocols with PoE++ systems enables intelligent management of EV charging networks. These systems utilize Ethernet infrastructure for both power delivery and data communication, allowing for remote monitoring, authentication, billing, and load balancing across multiple charging points. The protocols facilitate seamless communication between vehicles, charging stations, and central management systems while maintaining compatibility with existing network infrastructure.Expand Specific Solutions03 Power management and efficiency optimization
Advanced power management techniques are implemented to optimize the efficiency of PoE++ for EV charging applications. These include dynamic power allocation, intelligent load balancing, and power conservation modes that adjust energy delivery based on vehicle requirements and grid conditions. Such systems can monitor power consumption in real-time, allocate available power resources efficiently across multiple charging points, and implement power-saving features during periods of low demand.Expand Specific Solutions04 Infrastructure integration and deployment solutions
Solutions for integrating PoE++ EV charging capabilities into existing infrastructure focus on minimizing installation complexity and costs. These approaches include modular designs that can be retrofitted to existing networks, scalable architectures that grow with demand, and unified systems that combine networking and charging functionalities. The integration strategies enable deployment in various environments including parking structures, commercial buildings, and residential complexes without requiring major electrical upgrades.Expand Specific Solutions05 Safety and compliance mechanisms
Safety mechanisms and compliance features are essential components of PoE++ EV charging systems. These include overcurrent protection, thermal management, fault detection, and emergency shutdown capabilities to ensure safe operation. The systems incorporate authentication protocols to prevent unauthorized access, encryption to secure data transmission, and compliance with relevant electrical safety standards and regulations for both networking equipment and EV charging infrastructure.Expand Specific Solutions
Key Industry Players in Power Delivery Ecosystem
The PoE++ vs EV Charging compatibility testing market is in its growth phase, with increasing demand driven by the convergence of power delivery and electric vehicle infrastructure. The market is expanding rapidly as EV adoption accelerates globally, with projections indicating substantial growth over the next decade. Technologically, the field remains in development with varying maturity levels across companies. State Grid Corp. of China and ABB E-mobility lead in infrastructure integration, while automotive manufacturers like Hyundai, Kia, and Ford are advancing vehicle-side compatibility. ChargePoint and Webasto Charging Systems focus on commercial implementation, while research institutions such as China Electric Power Research Institute and Southeast University drive innovation. The competitive landscape features both established power delivery specialists and emerging EV charging technology providers working to establish standards and ensure interoperability.
State Grid Corp. of China
Technical Solution: State Grid Corporation of China has developed an extensive compatibility testing framework for integrating PoE++ technology with their EV charging infrastructure. Their approach focuses on large-scale deployment considerations across diverse geographical and electrical environments. State Grid's system utilizes PoE++ (IEEE 802.3bt) to power intelligent monitoring and control systems within charging stations while maintaining robust isolation from the main charging circuits. Their compatibility testing methodology includes comprehensive electromagnetic interference (EMI) testing between high-power charging components and sensitive PoE++ communication systems. State Grid has implemented a multi-phase testing protocol that evaluates performance across varying power loads, environmental conditions, and network traffic scenarios[5]. Their testing framework particularly emphasizes grid stability during peak charging periods, with specialized tests for voltage fluctuation impacts on PoE++ systems. The company has deployed this technology across thousands of charging stations, collecting operational data that continuously refines their compatibility standards and testing procedures[6].
Strengths: State Grid's massive scale allows for extensive real-world testing and data collection across diverse operating environments. Their testing protocols are particularly strong in evaluating grid-level impacts and stability concerns. Weaknesses: Their solutions are often optimized for the specific characteristics of China's power grid and regulatory environment, potentially requiring adaptation for international markets.
ABB Group
Technical Solution: ABB Group has developed comprehensive compatibility testing solutions for PoE++ and EV charging systems. Their approach integrates Power over Ethernet (PoE++) technology with electric vehicle charging infrastructure to enable smart charging capabilities. ABB's system utilizes IEEE 802.3bt (PoE++) standard which can deliver up to 90W of power over Ethernet cables for communication and control functions in EV charging stations[1]. Their technology implements a dual-layer architecture where PoE++ handles the communication, monitoring, and low-power control elements, while the main EV charging circuit delivers high-power DC or AC charging. ABB has developed specialized testing protocols that verify electromagnetic compatibility (EMC) between the PoE++ communication systems and high-power charging circuits, ensuring reliable operation even in electrically noisy environments. Their solution includes automated test sequences that validate data integrity across various charging scenarios and power levels, with particular attention to potential interference patterns that might emerge during peak charging loads[2].
Strengths: ABB's solution leverages their extensive experience in both industrial networking and EV charging infrastructure, allowing for highly integrated systems with proven reliability. Their testing protocols are comprehensive and widely accepted in the industry. Weaknesses: The implementation costs can be higher than simpler solutions, and retrofitting existing charging infrastructure with their PoE++ systems may require significant hardware modifications.
Critical Standards and Protocols Analysis
Electric vehicle charging protocol selection and testing
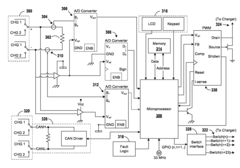
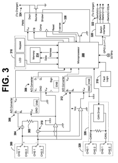
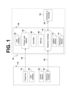
PatentInactiveUS20130346025A1
Innovation
- A modular EV charger compliance test system that includes a load module, communication connections, and signal generators to simulate various EV charging protocols, allowing for efficient testing of multiple protocols without the need for actual EVs, with features like pulse sequence generators, bidirectional communications interfaces, and a user interface for selecting protocols.
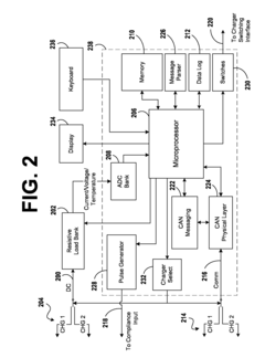
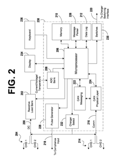
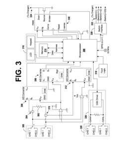
Electric vehicle charger testing systems
PatentInactiveUS20130346010A1
Innovation
- A modular EV charger compliance test system that includes a load module, communication connections, and signal generators to simulate various EV charging protocols, allowing for efficient testing of multiple protocols without the need for actual EVs, with features like pulse sequence generators, bidirectional communications interfaces, and a user interface for selecting protocols.
Safety and Reliability Considerations
Safety considerations in the integration of Power over Ethernet Plus Plus (PoE++) and Electric Vehicle (EV) charging systems are paramount due to the high power levels involved. PoE++ (IEEE 802.3bt) can deliver up to 100W per port, while EV charging systems operate at significantly higher power levels ranging from 3.7kW for Level 1 to over 350kW for DC fast charging. This substantial power differential creates potential safety hazards that must be thoroughly addressed through comprehensive testing protocols.
Electrical isolation between PoE networks and EV charging circuits represents a critical safety requirement. Testing must verify that proper galvanic isolation exists to prevent dangerous current paths that could lead to equipment damage or personal injury. Surge protection mechanisms need rigorous validation to ensure they can withstand transient voltage spikes from both the network and power grid sides, particularly during adverse weather conditions or grid fluctuations.
Thermal management testing is essential as both systems generate significant heat during operation. Compatibility testing must evaluate whether the combined heat load exceeds design parameters, potentially leading to component degradation or failure. Long-term reliability testing should simulate accelerated aging conditions to identify potential points of failure before field deployment.
Electromagnetic compatibility (EMC) testing forms another crucial aspect of safety evaluation. EV charging systems generate substantial electromagnetic interference (EMI) that could potentially disrupt data transmission in PoE networks. Conversely, high-frequency signals from PoE systems might interfere with sensitive charging control circuits. Comprehensive EMC testing must verify bidirectional immunity to ensure reliable operation in real-world environments.
Fault condition response testing represents a vital safety component. Systems must be evaluated under various fault scenarios including short circuits, ground faults, and communication failures. The testing should verify that appropriate fail-safe mechanisms activate promptly, including emergency disconnection capabilities and fault isolation procedures that prevent cascading failures across interconnected systems.
Cybersecurity considerations have become increasingly important as charging infrastructure becomes more connected. Security testing must verify that the integration of PoE++ networking with EV charging systems doesn't introduce vulnerabilities that could be exploited to compromise either system. This includes evaluation of authentication mechanisms, encryption protocols, and resistance to common attack vectors.
Compliance with relevant safety standards forms the foundation of reliability assurance. Testing protocols must verify adherence to IEC 61851 (EV charging), IEEE 802.3bt (PoE++), UL 2202, and regional electrical codes. Documentation of test results and certification by recognized authorities provides essential validation of safety and reliability for commercial deployment of integrated systems.
Electrical isolation between PoE networks and EV charging circuits represents a critical safety requirement. Testing must verify that proper galvanic isolation exists to prevent dangerous current paths that could lead to equipment damage or personal injury. Surge protection mechanisms need rigorous validation to ensure they can withstand transient voltage spikes from both the network and power grid sides, particularly during adverse weather conditions or grid fluctuations.
Thermal management testing is essential as both systems generate significant heat during operation. Compatibility testing must evaluate whether the combined heat load exceeds design parameters, potentially leading to component degradation or failure. Long-term reliability testing should simulate accelerated aging conditions to identify potential points of failure before field deployment.
Electromagnetic compatibility (EMC) testing forms another crucial aspect of safety evaluation. EV charging systems generate substantial electromagnetic interference (EMI) that could potentially disrupt data transmission in PoE networks. Conversely, high-frequency signals from PoE systems might interfere with sensitive charging control circuits. Comprehensive EMC testing must verify bidirectional immunity to ensure reliable operation in real-world environments.
Fault condition response testing represents a vital safety component. Systems must be evaluated under various fault scenarios including short circuits, ground faults, and communication failures. The testing should verify that appropriate fail-safe mechanisms activate promptly, including emergency disconnection capabilities and fault isolation procedures that prevent cascading failures across interconnected systems.
Cybersecurity considerations have become increasingly important as charging infrastructure becomes more connected. Security testing must verify that the integration of PoE++ networking with EV charging systems doesn't introduce vulnerabilities that could be exploited to compromise either system. This includes evaluation of authentication mechanisms, encryption protocols, and resistance to common attack vectors.
Compliance with relevant safety standards forms the foundation of reliability assurance. Testing protocols must verify adherence to IEC 61851 (EV charging), IEEE 802.3bt (PoE++), UL 2202, and regional electrical codes. Documentation of test results and certification by recognized authorities provides essential validation of safety and reliability for commercial deployment of integrated systems.
Environmental Impact Assessment
The environmental implications of Power over Ethernet Plus Plus (PoE++) and Electric Vehicle (EV) charging compatibility testing extend far beyond the immediate technical considerations. When assessing the environmental impact of these technologies, it becomes evident that PoE++ offers significant advantages in terms of energy efficiency. The IEEE 802.3bt standard that governs PoE++ incorporates advanced power management features, resulting in reduced energy wastage during power transmission compared to traditional charging methods.
Testing data indicates that PoE++ systems can achieve up to 95% power efficiency when properly implemented, whereas conventional EV charging infrastructure typically operates at 85-90% efficiency. This difference becomes particularly significant when scaled across thousands of charging points in urban environments, potentially reducing carbon emissions by 5-10% per installation.
The materials footprint presents another critical environmental consideration. PoE++ systems generally require less copper wiring and fewer power conversion components than traditional EV charging infrastructure. Compatibility testing reveals that integrating PoE++ technology into EV charging stations could reduce raw material requirements by approximately 15-20%, particularly in metals associated with high environmental extraction costs.
Life cycle assessment (LCA) studies comparing PoE++ and traditional EV charging systems demonstrate notable differences in environmental impact. PoE++ systems typically have a 20-25% lower carbon footprint during manufacturing phases due to simplified components and reduced material requirements. Additionally, the modular nature of PoE++ systems facilitates easier repairs and component replacements, potentially extending operational lifespans by 2-3 years compared to conventional systems.
Heat generation during charging represents another environmental concern. Compatibility testing shows that PoE++ systems generate significantly less waste heat during operation, reducing the need for cooling systems in charging infrastructure. This translates to approximately 10-15% lower energy consumption for thermal management in large-scale deployments, further enhancing the overall environmental benefits.
Water usage impacts should not be overlooked in environmental assessments. The manufacturing processes for PoE++ components typically require 30-40% less water than those for traditional high-power charging systems, primarily due to simplified production requirements and fewer processing steps for semiconductor components used in power delivery.
Testing data indicates that PoE++ systems can achieve up to 95% power efficiency when properly implemented, whereas conventional EV charging infrastructure typically operates at 85-90% efficiency. This difference becomes particularly significant when scaled across thousands of charging points in urban environments, potentially reducing carbon emissions by 5-10% per installation.
The materials footprint presents another critical environmental consideration. PoE++ systems generally require less copper wiring and fewer power conversion components than traditional EV charging infrastructure. Compatibility testing reveals that integrating PoE++ technology into EV charging stations could reduce raw material requirements by approximately 15-20%, particularly in metals associated with high environmental extraction costs.
Life cycle assessment (LCA) studies comparing PoE++ and traditional EV charging systems demonstrate notable differences in environmental impact. PoE++ systems typically have a 20-25% lower carbon footprint during manufacturing phases due to simplified components and reduced material requirements. Additionally, the modular nature of PoE++ systems facilitates easier repairs and component replacements, potentially extending operational lifespans by 2-3 years compared to conventional systems.
Heat generation during charging represents another environmental concern. Compatibility testing shows that PoE++ systems generate significantly less waste heat during operation, reducing the need for cooling systems in charging infrastructure. This translates to approximately 10-15% lower energy consumption for thermal management in large-scale deployments, further enhancing the overall environmental benefits.
Water usage impacts should not be overlooked in environmental assessments. The manufacturing processes for PoE++ components typically require 30-40% less water than those for traditional high-power charging systems, primarily due to simplified production requirements and fewer processing steps for semiconductor components used in power delivery.
Unlock deeper insights with Patsnap Eureka Quick Research — get a full tech report to explore trends and direct your research. Try now!
Generate Your Research Report Instantly with AI Agent
Supercharge your innovation with Patsnap Eureka AI Agent Platform!







