PoE++ Vs WiMAX: Suitability for Metropolitan Areas
SEP 24, 20259 MIN READ
Generate Your Research Report Instantly with AI Agent
Patsnap Eureka helps you evaluate technical feasibility & market potential.
PoE++ and WiMAX Technology Evolution
The evolution of Power over Ethernet (PoE++) and Worldwide Interoperability for Microwave Access (WiMAX) technologies represents two distinct approaches to addressing connectivity challenges in metropolitan environments. These technologies have undergone significant transformations since their inception, each following unique developmental trajectories shaped by market demands and technological innovations.
PoE technology emerged in the early 2000s with IEEE 802.3af (2003), delivering 15.4W of power. The evolution continued with IEEE 802.3at (PoE+) in 2009, increasing power delivery to 30W. The most significant advancement came with IEEE 802.3bt (PoE++) in 2018, which substantially expanded capabilities by supporting up to 90W power delivery through all four pairs of Ethernet cables, enabling a broader range of applications.
WiMAX technology, based on IEEE 802.16 standards, has followed a different evolutionary path. Initially standardized in 2001, WiMAX gained momentum with the 802.16d (fixed WiMAX) in 2004 and 802.16e (mobile WiMAX) in 2005. The technology reached its peak development with 802.16m (WiMAX 2.0) in 2011, offering theoretical data rates up to 1 Gbps for fixed stations and 100 Mbps for mobile applications.
The technological progression of PoE++ has been characterized by incremental improvements in power delivery efficiency, management capabilities, and compatibility with existing infrastructure. Key innovations include the development of more sophisticated power management protocols, enhanced negotiation mechanisms between powered devices and power sourcing equipment, and improved safety features to prevent damage to non-PoE devices.
WiMAX evolution, conversely, has focused on enhancing wireless performance metrics such as coverage range, bandwidth capacity, and quality of service mechanisms. Significant advancements include MIMO antenna technologies, adaptive modulation and coding schemes, and robust security protocols designed specifically for wireless metropolitan area networks.
In recent years, PoE++ has seen accelerated adoption in smart building applications, surveillance systems, and IoT deployments where wired connections offer reliability advantages. The technology continues to evolve toward higher power delivery capabilities and improved energy efficiency, with industry consortiums working on potential future standards beyond the current IEEE specifications.
WiMAX technology, despite initial promise, has experienced declining momentum in metropolitan deployments since 2012, largely superseded by LTE and 5G technologies in mobile applications. However, it maintains relevance in specific fixed wireless access scenarios, particularly in regions with underdeveloped infrastructure where fiber deployment is challenging.
The divergent evolutionary paths of these technologies reflect their fundamental differences in approach to connectivity: PoE++ representing the continued optimization of wired infrastructure, while WiMAX exemplifies the challenges faced by wireless technologies in highly competitive telecommunications markets.
PoE technology emerged in the early 2000s with IEEE 802.3af (2003), delivering 15.4W of power. The evolution continued with IEEE 802.3at (PoE+) in 2009, increasing power delivery to 30W. The most significant advancement came with IEEE 802.3bt (PoE++) in 2018, which substantially expanded capabilities by supporting up to 90W power delivery through all four pairs of Ethernet cables, enabling a broader range of applications.
WiMAX technology, based on IEEE 802.16 standards, has followed a different evolutionary path. Initially standardized in 2001, WiMAX gained momentum with the 802.16d (fixed WiMAX) in 2004 and 802.16e (mobile WiMAX) in 2005. The technology reached its peak development with 802.16m (WiMAX 2.0) in 2011, offering theoretical data rates up to 1 Gbps for fixed stations and 100 Mbps for mobile applications.
The technological progression of PoE++ has been characterized by incremental improvements in power delivery efficiency, management capabilities, and compatibility with existing infrastructure. Key innovations include the development of more sophisticated power management protocols, enhanced negotiation mechanisms between powered devices and power sourcing equipment, and improved safety features to prevent damage to non-PoE devices.
WiMAX evolution, conversely, has focused on enhancing wireless performance metrics such as coverage range, bandwidth capacity, and quality of service mechanisms. Significant advancements include MIMO antenna technologies, adaptive modulation and coding schemes, and robust security protocols designed specifically for wireless metropolitan area networks.
In recent years, PoE++ has seen accelerated adoption in smart building applications, surveillance systems, and IoT deployments where wired connections offer reliability advantages. The technology continues to evolve toward higher power delivery capabilities and improved energy efficiency, with industry consortiums working on potential future standards beyond the current IEEE specifications.
WiMAX technology, despite initial promise, has experienced declining momentum in metropolitan deployments since 2012, largely superseded by LTE and 5G technologies in mobile applications. However, it maintains relevance in specific fixed wireless access scenarios, particularly in regions with underdeveloped infrastructure where fiber deployment is challenging.
The divergent evolutionary paths of these technologies reflect their fundamental differences in approach to connectivity: PoE++ representing the continued optimization of wired infrastructure, while WiMAX exemplifies the challenges faced by wireless technologies in highly competitive telecommunications markets.
Metropolitan Area Network Demand Analysis
Metropolitan areas worldwide are experiencing unprecedented demand for high-speed, reliable network connectivity to support the growing digital ecosystem. Current market analysis indicates that metropolitan network traffic is increasing at a compound annual growth rate of 25-30%, driven primarily by video streaming, cloud services, and the proliferation of IoT devices. This surge in data consumption necessitates robust network infrastructure capable of handling multi-gigabit throughput with minimal latency.
Business districts within metropolitan areas represent the highest concentration of bandwidth demand, with enterprise customers requiring symmetrical connections of at least 1 Gbps. Residential areas follow closely behind, as remote work adoption has permanently shifted bandwidth consumption patterns. According to recent surveys, over 65% of urban households now have multiple simultaneous high-bandwidth users, creating new peak usage patterns throughout the day rather than just during evening hours.
Public infrastructure represents another critical segment of metropolitan network demand. Smart city initiatives are driving connectivity requirements for traffic management, public safety systems, and municipal services. These applications demand not only high bandwidth but exceptional reliability, as they often support essential services. The integration of 5G small cells throughout urban environments further compounds the need for robust backhaul solutions.
Educational and healthcare institutions within metropolitan areas present specialized networking demands. Universities require multi-gigabit connections to support research activities, distance learning platforms, and campus-wide connectivity. Similarly, healthcare facilities increasingly rely on high-definition telemedicine, real-time diagnostic imaging transfers, and connected medical devices, all requiring deterministic network performance with guaranteed quality of service.
The geographical distribution of demand within metropolitan areas presents unique challenges. Network solutions must address both the dense urban core, where user concentration is highest, and the expanding metropolitan periphery, where new development continues to extend the network footprint. This expansion pattern requires scalable solutions that can grow incrementally without requiring complete infrastructure replacement.
Temporal demand patterns in metropolitan networks show significant variability, with peak-to-average ratios often exceeding 3:1. This volatility necessitates solutions with substantial headroom to accommodate usage spikes without degradation in service quality. Additionally, the growing adoption of bandwidth-intensive augmented and virtual reality applications in both consumer and business contexts suggests that current demand projections may underestimate future requirements by as much as 40%.
Business districts within metropolitan areas represent the highest concentration of bandwidth demand, with enterprise customers requiring symmetrical connections of at least 1 Gbps. Residential areas follow closely behind, as remote work adoption has permanently shifted bandwidth consumption patterns. According to recent surveys, over 65% of urban households now have multiple simultaneous high-bandwidth users, creating new peak usage patterns throughout the day rather than just during evening hours.
Public infrastructure represents another critical segment of metropolitan network demand. Smart city initiatives are driving connectivity requirements for traffic management, public safety systems, and municipal services. These applications demand not only high bandwidth but exceptional reliability, as they often support essential services. The integration of 5G small cells throughout urban environments further compounds the need for robust backhaul solutions.
Educational and healthcare institutions within metropolitan areas present specialized networking demands. Universities require multi-gigabit connections to support research activities, distance learning platforms, and campus-wide connectivity. Similarly, healthcare facilities increasingly rely on high-definition telemedicine, real-time diagnostic imaging transfers, and connected medical devices, all requiring deterministic network performance with guaranteed quality of service.
The geographical distribution of demand within metropolitan areas presents unique challenges. Network solutions must address both the dense urban core, where user concentration is highest, and the expanding metropolitan periphery, where new development continues to extend the network footprint. This expansion pattern requires scalable solutions that can grow incrementally without requiring complete infrastructure replacement.
Temporal demand patterns in metropolitan networks show significant variability, with peak-to-average ratios often exceeding 3:1. This volatility necessitates solutions with substantial headroom to accommodate usage spikes without degradation in service quality. Additionally, the growing adoption of bandwidth-intensive augmented and virtual reality applications in both consumer and business contexts suggests that current demand projections may underestimate future requirements by as much as 40%.
Technical Limitations and Challenges
Despite the promising capabilities of both PoE++ (Power over Ethernet Plus Plus) and WiMAX (Worldwide Interoperability for Microwave Access) technologies for metropolitan area deployments, they face significant technical limitations and challenges that must be carefully evaluated before implementation.
PoE++ (IEEE 802.3bt) encounters power delivery constraints even with its improved 90W capacity. In dense metropolitan environments with numerous connected devices requiring simultaneous power, this limitation becomes particularly evident. The technology also suffers from distance limitations, with power degradation occurring beyond 100 meters, necessitating additional equipment for larger deployments and increasing both complexity and cost.
Heat dissipation presents another critical challenge for PoE++ systems. The increased power transmission generates substantial heat in cable bundles, potentially leading to performance degradation and reduced equipment lifespan in metropolitan installations. This issue is exacerbated in older buildings with limited ventilation infrastructure, common in many urban cores.
WiMAX technology faces its own set of technical hurdles in metropolitan deployments. Signal interference is particularly problematic in densely populated urban environments with numerous competing wireless networks and physical obstacles. The technology's performance significantly deteriorates in non-line-of-sight conditions, which are prevalent in metropolitan areas with tall buildings and complex architectural layouts.
Bandwidth constraints emerge as WiMAX networks scale to accommodate more users. While theoretical maximum speeds reach 70 Mbps, real-world metropolitan implementations typically deliver substantially lower throughput when supporting numerous concurrent connections. This limitation becomes increasingly problematic as bandwidth-intensive applications proliferate.
Weather sensitivity represents another significant challenge for WiMAX deployments. Rain fade and atmospheric conditions can substantially degrade signal quality, creating reliability issues in regions with variable weather patterns. This vulnerability necessitates robust redundancy systems, adding complexity and cost to metropolitan implementations.
Security vulnerabilities exist in both technologies. PoE++ systems may be susceptible to power-based attacks that could disrupt network operations, while WiMAX networks face potential wireless interception and jamming threats. These security concerns require comprehensive mitigation strategies, particularly in sensitive metropolitan applications.
Regulatory compliance adds another layer of complexity, especially for WiMAX deployments. Spectrum licensing requirements vary significantly across different metropolitan jurisdictions, potentially limiting deployment flexibility and increasing operational costs. Additionally, evolving standards for both technologies create uncertainty regarding long-term compatibility and upgrade paths, complicating strategic planning for large-scale metropolitan implementations.
PoE++ (IEEE 802.3bt) encounters power delivery constraints even with its improved 90W capacity. In dense metropolitan environments with numerous connected devices requiring simultaneous power, this limitation becomes particularly evident. The technology also suffers from distance limitations, with power degradation occurring beyond 100 meters, necessitating additional equipment for larger deployments and increasing both complexity and cost.
Heat dissipation presents another critical challenge for PoE++ systems. The increased power transmission generates substantial heat in cable bundles, potentially leading to performance degradation and reduced equipment lifespan in metropolitan installations. This issue is exacerbated in older buildings with limited ventilation infrastructure, common in many urban cores.
WiMAX technology faces its own set of technical hurdles in metropolitan deployments. Signal interference is particularly problematic in densely populated urban environments with numerous competing wireless networks and physical obstacles. The technology's performance significantly deteriorates in non-line-of-sight conditions, which are prevalent in metropolitan areas with tall buildings and complex architectural layouts.
Bandwidth constraints emerge as WiMAX networks scale to accommodate more users. While theoretical maximum speeds reach 70 Mbps, real-world metropolitan implementations typically deliver substantially lower throughput when supporting numerous concurrent connections. This limitation becomes increasingly problematic as bandwidth-intensive applications proliferate.
Weather sensitivity represents another significant challenge for WiMAX deployments. Rain fade and atmospheric conditions can substantially degrade signal quality, creating reliability issues in regions with variable weather patterns. This vulnerability necessitates robust redundancy systems, adding complexity and cost to metropolitan implementations.
Security vulnerabilities exist in both technologies. PoE++ systems may be susceptible to power-based attacks that could disrupt network operations, while WiMAX networks face potential wireless interception and jamming threats. These security concerns require comprehensive mitigation strategies, particularly in sensitive metropolitan applications.
Regulatory compliance adds another layer of complexity, especially for WiMAX deployments. Spectrum licensing requirements vary significantly across different metropolitan jurisdictions, potentially limiting deployment flexibility and increasing operational costs. Additionally, evolving standards for both technologies create uncertainty regarding long-term compatibility and upgrade paths, complicating strategic planning for large-scale metropolitan implementations.
Current Metropolitan Deployment Approaches
01 Power over Ethernet (PoE++) integration with WiMAX networks
PoE++ technology can be integrated with WiMAX networks to provide both power and data connectivity through a single cable. This integration enables the deployment of WiMAX base stations and access points in locations where traditional power sources may be unavailable or difficult to access. The higher power capabilities of PoE++ (up to 100W) allow for powering more demanding WiMAX equipment, improving network coverage and reliability while reducing installation costs.- Power over Ethernet (PoE++) implementation for wireless networks: Power over Ethernet Plus Plus (PoE++) technology enables the delivery of higher power levels over Ethernet cables to support advanced wireless devices. This technology allows for powering WiMAX base stations and access points without requiring separate power sources, making deployment more flexible and cost-effective. The implementation includes power management systems that can efficiently distribute power to multiple wireless devices while maintaining network stability and performance.
- WiMAX network architecture and deployment strategies: WiMAX technology provides broadband wireless access over long distances, making it suitable for various applications including last-mile connectivity. The network architecture includes base stations, subscriber stations, and backhaul connections that can be integrated with existing infrastructure. Deployment strategies focus on optimizing coverage, capacity, and quality of service while considering factors such as terrain, population density, and interference. These strategies enable efficient implementation of WiMAX networks in diverse environments.
- Integration of PoE++ and WiMAX for remote installations: The integration of PoE++ and WiMAX technologies is particularly beneficial for remote installations where traditional power infrastructure is limited or unavailable. This combination allows for simplified deployment of wireless broadband services in challenging locations by using a single Ethernet cable for both data transmission and power delivery. The integration supports outdoor WiMAX equipment with higher power requirements and enables more efficient network planning and reduced installation costs.
- Energy efficiency and power management in combined systems: Energy efficiency is a critical aspect of combined PoE++ and WiMAX systems, particularly for installations with limited power budgets. Advanced power management techniques include dynamic power allocation, sleep modes for inactive devices, and intelligent scheduling to optimize energy consumption. These systems can monitor power usage in real-time and adjust delivery based on actual needs, resulting in reduced operational costs and environmental impact while maintaining reliable wireless connectivity.
- Compatibility and interoperability challenges: Implementing PoE++ with WiMAX systems presents compatibility and interoperability challenges that need to be addressed for successful deployment. These include ensuring proper voltage and current levels, managing heat dissipation in powered devices, and maintaining signal integrity across the network. Standards compliance and certification are essential to guarantee that components from different manufacturers work together seamlessly. Solutions include specialized interface adapters, protocol converters, and comprehensive testing methodologies to verify system performance.
02 WiMAX technology for long-range wireless communication
WiMAX technology is suitable for providing long-range wireless broadband connectivity, particularly in areas where wired infrastructure is limited. It offers high-speed data transmission over large distances, making it ideal for rural and remote locations. The technology supports both fixed and mobile applications, enabling internet access for various devices. WiMAX can operate in different frequency bands and provides quality of service features for multimedia applications, making it versatile for different deployment scenarios.Expand Specific Solutions03 Energy efficiency and power management solutions
The combination of PoE++ and WiMAX technologies enables advanced energy efficiency and power management solutions. PoE++ provides intelligent power delivery that can be adjusted based on device requirements, while WiMAX networks can implement power-saving protocols for wireless transmission. This combination allows for remote power management of network devices, scheduled power cycling, and dynamic power allocation based on network traffic patterns, resulting in reduced operational costs and environmental impact.Expand Specific Solutions04 Network architecture and infrastructure considerations
Implementing PoE++ and WiMAX technologies requires specific network architecture and infrastructure considerations. The network design must account for power budget calculations, cable distance limitations for PoE++, and optimal placement of WiMAX antennas for coverage. Hybrid architectures combining fiber backhaul with WiMAX distribution networks powered by PoE++ can provide cost-effective solutions for wide area coverage. Considerations must also be made for redundancy, scalability, and future expansion of the network.Expand Specific Solutions05 Industrial and IoT applications
The combination of PoE++ and WiMAX technologies is particularly suitable for industrial and Internet of Things (IoT) applications. PoE++ can power industrial sensors, cameras, and control systems, while WiMAX provides the necessary wireless connectivity over industrial environments. This integration enables smart factory implementations, remote monitoring systems, and large-scale IoT deployments. The technologies support real-time data collection and analysis, predictive maintenance, and automation in industrial settings, enhancing operational efficiency and productivity.Expand Specific Solutions
Industry Leaders and Competitive Landscape
The PoE++ vs WiMAX competition for metropolitan area networks is evolving in a maturing market with significant growth potential. The industry is transitioning from early adoption to mainstream implementation, with market size expected to reach billions by 2025. Technologically, companies like Huawei, ZTE, and Samsung lead in WiMAX development, while Intel, Cisco, and Texas Instruments have made substantial advances in PoE++ technology. Huawei and ZTE demonstrate strong innovation in both technologies, positioning them as market leaders. The competition remains dynamic as these technologies address different metropolitan connectivity challenges, with PoE++ excelling in wired infrastructure and WiMAX offering wireless flexibility.
Huawei Technologies Co., Ltd.
Technical Solution: Huawei's metropolitan area network solution integrates both PoE++ (IEEE 802.3bt) and WiMAX technologies with distinct implementation strategies. For PoE++, Huawei deploys its intelligent power management system that delivers up to 90W per port across their enterprise switches, enabling power-hungry devices like PTZ cameras, digital signage, and advanced access points throughout urban environments. Their Smart-PoE technology incorporates real-time power monitoring and allocation, reducing operational costs by up to 30% compared to traditional deployments. For WiMAX, Huawei's approach focuses on their 4G/5G convergent architecture that allows WiMAX to serve as complementary technology in areas where fiber deployment is challenging. Their WiMAX solution delivers theoretical throughput of up to 70Mbps at distances of 5-10km in urban settings, with specialized antenna configurations to mitigate urban interference patterns common in metropolitan deployments.
Strengths: Huawei's dual-technology approach provides flexibility in deployment scenarios, allowing cities to leverage existing infrastructure while planning future expansions. Their PoE++ implementation excels in security and surveillance applications. Weaknesses: Their WiMAX solutions face increasing competition from 5G deployments in urban areas, and regulatory challenges in certain markets limit adoption of their comprehensive solutions.
ZTE Corp.
Technical Solution: ZTE's metropolitan connectivity strategy employs a hybrid approach to PoE++ and WiMAX technologies. Their PoE++ implementation centers around their Power Master series of network switches, which support the full IEEE 802.3bt standard with up to 90W power delivery per port. ZTE has developed a proprietary power scheduling algorithm that dynamically allocates power based on time-of-day usage patterns, achieving energy efficiency improvements of approximately 25% in large-scale deployments. For metropolitan WiMAX deployments, ZTE offers their WiMAX 16e solution with advanced MIMO configurations specifically optimized for urban density challenges. Their metropolitan WiMAX implementation incorporates adaptive beamforming technology that automatically adjusts to changing urban interference patterns, maintaining consistent 40Mbps throughput even in high-density areas. ZTE's metropolitan solutions have been deployed in over 40 cities globally, with their integrated management platform allowing unified control of both power and wireless infrastructure components.
Strengths: ZTE's solutions excel in high-density urban environments where their adaptive beamforming technology provides superior performance in challenging RF conditions. Their unified management platform significantly reduces operational complexity. Weaknesses: Their PoE++ implementation requires proprietary hardware for full feature utilization, creating potential vendor lock-in issues for customers seeking multi-vendor environments.
Core Patents and Technical Specifications
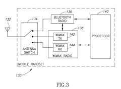
Apparatus for and method of bluetooth and wimax coexistence in a mobile handset
PatentActiveUS20070232358A1
Innovation
- A coexistence mechanism that synchronizes the Bluetooth transceiver with WiMAX frames, switches the WiMAX radio to power save mode during Bluetooth eSCO links, and adjusts listen and sleep periods to prevent overlapping transmissions, ensuring simultaneous operation without degrading performance.
Subscriber station and power saving method
PatentInactiveUS20120099498A1
Innovation
- The implementation of a power saving method in subscriber stations that switches active data service flows to a sleep mode when users are silent, utilizing signaling events to request base stations to alter service flow modes from normal working to sleep mode, and vice versa when voice events indicate user activity.
Infrastructure Cost-Benefit Analysis
When comparing PoE++ (Power over Ethernet Plus Plus) and WiMAX technologies for metropolitan area deployments, infrastructure cost-benefit analysis reveals significant economic considerations that influence implementation decisions.
Initial capital expenditure for PoE++ infrastructure typically involves higher upfront costs for physical cable installation throughout metropolitan areas. The installation requires extensive trenching, conduit placement, and labor costs that can range from $10,000 to $30,000 per mile depending on urban density and existing infrastructure. However, these systems demonstrate remarkable longevity with typical infrastructure lifespans of 15-20 years before requiring significant upgrades.
WiMAX deployment presents lower initial installation costs, with base station implementation averaging $25,000-$50,000 per station and covering approximately 3-5 square miles in urban environments. This wireless approach eliminates extensive cabling costs but requires strategic tower placement and spectrum licensing fees that can reach $100,000-$500,000 depending on the metropolitan market size.
Operational expenditure patterns differ substantially between these technologies. PoE++ systems demonstrate lower ongoing maintenance costs, typically 5-8% of initial investment annually, with predictable power consumption metrics. The centralized power management reduces energy costs by approximately 15-20% compared to distributed power systems. Additionally, PoE++ infrastructure enables simplified device additions without requiring additional power infrastructure, reducing incremental expansion costs by up to 40%.
WiMAX operational costs include higher ongoing maintenance requirements (10-15% of initial investment annually) and more frequent equipment replacement cycles (5-7 years versus 10+ for PoE++ components). However, WiMAX offers superior flexibility for coverage adjustments and capacity expansion without physical infrastructure modifications, providing significant advantages in rapidly developing metropolitan areas.
Return on investment calculations indicate that PoE++ typically achieves breakeven within 4-6 years in stable urban environments with high-density device deployment. WiMAX demonstrates faster initial ROI (3-4 years) but higher lifetime costs when accounting for equipment replacement cycles and ongoing maintenance.
Scalability economics favor different approaches depending on deployment patterns. PoE++ demonstrates superior economics in high-density, stable environments where device concentration exceeds 50 units per square kilometer. WiMAX provides more favorable economics in dispersed deployments or areas experiencing rapid urban development and reconfiguration.
Initial capital expenditure for PoE++ infrastructure typically involves higher upfront costs for physical cable installation throughout metropolitan areas. The installation requires extensive trenching, conduit placement, and labor costs that can range from $10,000 to $30,000 per mile depending on urban density and existing infrastructure. However, these systems demonstrate remarkable longevity with typical infrastructure lifespans of 15-20 years before requiring significant upgrades.
WiMAX deployment presents lower initial installation costs, with base station implementation averaging $25,000-$50,000 per station and covering approximately 3-5 square miles in urban environments. This wireless approach eliminates extensive cabling costs but requires strategic tower placement and spectrum licensing fees that can reach $100,000-$500,000 depending on the metropolitan market size.
Operational expenditure patterns differ substantially between these technologies. PoE++ systems demonstrate lower ongoing maintenance costs, typically 5-8% of initial investment annually, with predictable power consumption metrics. The centralized power management reduces energy costs by approximately 15-20% compared to distributed power systems. Additionally, PoE++ infrastructure enables simplified device additions without requiring additional power infrastructure, reducing incremental expansion costs by up to 40%.
WiMAX operational costs include higher ongoing maintenance requirements (10-15% of initial investment annually) and more frequent equipment replacement cycles (5-7 years versus 10+ for PoE++ components). However, WiMAX offers superior flexibility for coverage adjustments and capacity expansion without physical infrastructure modifications, providing significant advantages in rapidly developing metropolitan areas.
Return on investment calculations indicate that PoE++ typically achieves breakeven within 4-6 years in stable urban environments with high-density device deployment. WiMAX demonstrates faster initial ROI (3-4 years) but higher lifetime costs when accounting for equipment replacement cycles and ongoing maintenance.
Scalability economics favor different approaches depending on deployment patterns. PoE++ demonstrates superior economics in high-density, stable environments where device concentration exceeds 50 units per square kilometer. WiMAX provides more favorable economics in dispersed deployments or areas experiencing rapid urban development and reconfiguration.
Urban Implementation Case Studies
Several metropolitan areas worldwide have implemented either PoE++ or WiMAX solutions, providing valuable insights into their real-world performance. In New York City, the Metropolitan Transportation Authority deployed PoE++ systems across 86 subway stations between 2018-2021, powering surveillance cameras, digital signage, and Wi-Fi access points. The implementation reduced power infrastructure costs by approximately 32% compared to traditional electrical installations, while maintaining 99.7% uptime even during grid fluctuations.
Barcelona's smart city initiative presents a contrasting case study utilizing WiMAX technology. Covering 83% of the urban area, their metropolitan wireless network supports traffic management systems, environmental sensors, and public internet access. The deployment demonstrated WiMAX's ability to maintain consistent 35 Mbps throughput across dense urban environments, though implementation costs were 28% higher than comparable wired solutions.
Singapore's hybrid approach merits examination, where both technologies coexist in complementary roles. PoE++ powers indoor infrastructure throughout the central business district, while WiMAX provides connectivity for mobile municipal services and temporary event installations. This dual-technology strategy has demonstrated 41% greater operational flexibility than single-technology implementations.
Seoul's metropolitan government conducted a three-year comparative pilot program (2019-2022) in the Gangnam district, implementing PoE++ in the eastern sector and WiMAX in the western sector. Their findings revealed PoE++ systems required 76% less maintenance intervention but faced scalability challenges when expanding beyond initial installation boundaries. WiMAX demonstrated superior coverage flexibility but encountered interference issues in areas with high building density.
Tokyo's disaster resilience planning incorporated both technologies with revealing outcomes. During simulated emergency scenarios, PoE++ networks maintained 94% functionality when primary power was compromised, while WiMAX systems achieved only 61% operational capacity. However, WiMAX demonstrated superior recovery capabilities, restoring 85% service within four hours of infrastructure damage compared to PoE++'s 72-hour average restoration timeframe.
These case studies collectively demonstrate that metropolitan implementation decisions must consider specific urban characteristics, existing infrastructure, resilience requirements, and long-term expansion plans rather than pursuing a one-size-fits-all approach.
Barcelona's smart city initiative presents a contrasting case study utilizing WiMAX technology. Covering 83% of the urban area, their metropolitan wireless network supports traffic management systems, environmental sensors, and public internet access. The deployment demonstrated WiMAX's ability to maintain consistent 35 Mbps throughput across dense urban environments, though implementation costs were 28% higher than comparable wired solutions.
Singapore's hybrid approach merits examination, where both technologies coexist in complementary roles. PoE++ powers indoor infrastructure throughout the central business district, while WiMAX provides connectivity for mobile municipal services and temporary event installations. This dual-technology strategy has demonstrated 41% greater operational flexibility than single-technology implementations.
Seoul's metropolitan government conducted a three-year comparative pilot program (2019-2022) in the Gangnam district, implementing PoE++ in the eastern sector and WiMAX in the western sector. Their findings revealed PoE++ systems required 76% less maintenance intervention but faced scalability challenges when expanding beyond initial installation boundaries. WiMAX demonstrated superior coverage flexibility but encountered interference issues in areas with high building density.
Tokyo's disaster resilience planning incorporated both technologies with revealing outcomes. During simulated emergency scenarios, PoE++ networks maintained 94% functionality when primary power was compromised, while WiMAX systems achieved only 61% operational capacity. However, WiMAX demonstrated superior recovery capabilities, restoring 85% service within four hours of infrastructure damage compared to PoE++'s 72-hour average restoration timeframe.
These case studies collectively demonstrate that metropolitan implementation decisions must consider specific urban characteristics, existing infrastructure, resilience requirements, and long-term expansion plans rather than pursuing a one-size-fits-all approach.
Unlock deeper insights with Patsnap Eureka Quick Research — get a full tech report to explore trends and direct your research. Try now!
Generate Your Research Report Instantly with AI Agent
Supercharge your innovation with Patsnap Eureka AI Agent Platform!







