PoE++ Vs Twisted Pair: Throughput Analysis
SEP 24, 20259 MIN READ
Generate Your Research Report Instantly with AI Agent
Patsnap Eureka helps you evaluate technical feasibility & market potential.
PoE++ Technology Evolution and Objectives
Power over Ethernet (PoE) technology has evolved significantly since its inception in the early 2000s, transforming from a simple power delivery mechanism to a sophisticated system capable of supporting advanced network infrastructure. The evolution of PoE began with the IEEE 802.3af standard in 2003, which provided up to 15.4W of power. This was followed by IEEE 802.3at (PoE+) in 2009, increasing power delivery to 30W, and subsequently by IEEE 802.3bt (PoE++) in 2018, which further enhanced power capabilities to 60W (Type 3) and 100W (Type 4).
The development of PoE++ represents a significant milestone in the convergence of power and data transmission technologies. This advancement was driven by the increasing demand for higher power delivery to support more sophisticated networked devices such as pan-tilt-zoom cameras, multi-radio wireless access points, and IoT gateways. The primary objective of PoE++ is to maximize the utility of existing twisted pair cabling infrastructure by enabling it to carry both data and sufficient power for a wider range of devices.
From a technical perspective, PoE++ achieves its enhanced power delivery by utilizing all four pairs of wires in a standard Cat5e or better cable, compared to earlier versions that used only two pairs. This approach not only increases the available power but also improves efficiency by reducing power loss due to cable resistance. The standard also introduces more sophisticated power management protocols, allowing for dynamic allocation based on device needs.
The evolution of PoE technology aligns with broader industry trends toward simplified infrastructure, reduced installation costs, and increased deployment flexibility. By eliminating the need for separate power cabling, PoE++ enables more streamlined installation processes and reduces the total cost of ownership for networked systems. This is particularly valuable in environments where power outlets are limited or where frequent reconfiguration is necessary.
Looking forward, the objectives for PoE++ technology include further increasing power efficiency, enhancing compatibility with emerging high-speed data standards such as multi-gigabit Ethernet, and expanding the ecosystem of supported devices. There is also significant interest in improving the intelligence of power management systems to optimize energy usage and support green initiatives.
Another key objective is to address the throughput challenges that can arise when implementing PoE++ over twisted pair cabling, particularly at longer distances or in environments with electromagnetic interference. This includes developing advanced signal processing techniques and improved cable designs to maintain data integrity while delivering higher power levels.
The development of PoE++ represents a significant milestone in the convergence of power and data transmission technologies. This advancement was driven by the increasing demand for higher power delivery to support more sophisticated networked devices such as pan-tilt-zoom cameras, multi-radio wireless access points, and IoT gateways. The primary objective of PoE++ is to maximize the utility of existing twisted pair cabling infrastructure by enabling it to carry both data and sufficient power for a wider range of devices.
From a technical perspective, PoE++ achieves its enhanced power delivery by utilizing all four pairs of wires in a standard Cat5e or better cable, compared to earlier versions that used only two pairs. This approach not only increases the available power but also improves efficiency by reducing power loss due to cable resistance. The standard also introduces more sophisticated power management protocols, allowing for dynamic allocation based on device needs.
The evolution of PoE technology aligns with broader industry trends toward simplified infrastructure, reduced installation costs, and increased deployment flexibility. By eliminating the need for separate power cabling, PoE++ enables more streamlined installation processes and reduces the total cost of ownership for networked systems. This is particularly valuable in environments where power outlets are limited or where frequent reconfiguration is necessary.
Looking forward, the objectives for PoE++ technology include further increasing power efficiency, enhancing compatibility with emerging high-speed data standards such as multi-gigabit Ethernet, and expanding the ecosystem of supported devices. There is also significant interest in improving the intelligence of power management systems to optimize energy usage and support green initiatives.
Another key objective is to address the throughput challenges that can arise when implementing PoE++ over twisted pair cabling, particularly at longer distances or in environments with electromagnetic interference. This includes developing advanced signal processing techniques and improved cable designs to maintain data integrity while delivering higher power levels.
Market Demand for Power over Ethernet Solutions
The Power over Ethernet (PoE) market has experienced significant growth in recent years, driven by the increasing adoption of IoT devices, smart buildings, and the need for flexible network infrastructure. According to market research, the global PoE market was valued at approximately 823 million USD in 2020 and is projected to reach 1.9 billion USD by 2025, representing a compound annual growth rate (CAGR) of 12.6%.
The demand for PoE solutions is particularly strong in commercial and industrial sectors where the deployment of IP cameras, wireless access points, VoIP phones, and other networked devices continues to accelerate. The ability to deliver both data and power over a single Ethernet cable offers substantial cost savings in installation and maintenance, eliminating the need for separate power infrastructure.
Healthcare facilities represent a rapidly growing segment for PoE applications, with the market expected to grow at a CAGR of 15.2% through 2026. Hospitals and clinics are increasingly deploying PoE-powered medical devices, patient monitoring systems, and facility management solutions to improve operational efficiency and patient care.
The emergence of smart buildings and smart cities initiatives has further fueled demand for PoE technology. Building automation systems utilizing PoE for lighting, HVAC controls, access control, and environmental monitoring are projected to grow at a CAGR of 14.8% over the next five years. This growth is driven by energy efficiency mandates and the push toward sustainable building practices.
Regionally, North America currently holds the largest market share at 38%, followed by Europe at 29% and Asia-Pacific at 24%. However, the Asia-Pacific region is expected to witness the highest growth rate, with China and India leading adoption due to rapid urbanization and infrastructure development.
The latest PoE++ standard (IEEE 802.3bt) has significantly expanded market opportunities by increasing power delivery capabilities up to 90W per port. This has opened new application domains previously constrained by power limitations, including digital signage, thin clients, point-of-sale terminals, and even desktop computers.
Industry surveys indicate that 72% of enterprise network managers consider PoE capabilities as "important" or "very important" when making network infrastructure purchasing decisions. The primary drivers cited include installation cost reduction (68%), deployment flexibility (59%), and simplified network management (54%).
Despite the growing demand, challenges remain in the widespread adoption of higher-power PoE++ solutions, including concerns about heat dissipation in cable bundles, compatibility with existing infrastructure, and the need for more efficient power management systems. These technical challenges represent opportunities for innovation in the PoE ecosystem.
The demand for PoE solutions is particularly strong in commercial and industrial sectors where the deployment of IP cameras, wireless access points, VoIP phones, and other networked devices continues to accelerate. The ability to deliver both data and power over a single Ethernet cable offers substantial cost savings in installation and maintenance, eliminating the need for separate power infrastructure.
Healthcare facilities represent a rapidly growing segment for PoE applications, with the market expected to grow at a CAGR of 15.2% through 2026. Hospitals and clinics are increasingly deploying PoE-powered medical devices, patient monitoring systems, and facility management solutions to improve operational efficiency and patient care.
The emergence of smart buildings and smart cities initiatives has further fueled demand for PoE technology. Building automation systems utilizing PoE for lighting, HVAC controls, access control, and environmental monitoring are projected to grow at a CAGR of 14.8% over the next five years. This growth is driven by energy efficiency mandates and the push toward sustainable building practices.
Regionally, North America currently holds the largest market share at 38%, followed by Europe at 29% and Asia-Pacific at 24%. However, the Asia-Pacific region is expected to witness the highest growth rate, with China and India leading adoption due to rapid urbanization and infrastructure development.
The latest PoE++ standard (IEEE 802.3bt) has significantly expanded market opportunities by increasing power delivery capabilities up to 90W per port. This has opened new application domains previously constrained by power limitations, including digital signage, thin clients, point-of-sale terminals, and even desktop computers.
Industry surveys indicate that 72% of enterprise network managers consider PoE capabilities as "important" or "very important" when making network infrastructure purchasing decisions. The primary drivers cited include installation cost reduction (68%), deployment flexibility (59%), and simplified network management (54%).
Despite the growing demand, challenges remain in the widespread adoption of higher-power PoE++ solutions, including concerns about heat dissipation in cable bundles, compatibility with existing infrastructure, and the need for more efficient power management systems. These technical challenges represent opportunities for innovation in the PoE ecosystem.
Current State and Challenges of PoE++ vs Twisted Pair
Power over Ethernet Plus Plus (PoE++) and traditional twisted pair technologies represent two distinct approaches to network infrastructure, each with its own set of capabilities and limitations. Currently, PoE++ (IEEE 802.3bt) stands as the latest evolution in the Power over Ethernet family, capable of delivering up to 90W of power through standard Ethernet cables. This significant power capacity enables the technology to support a wider range of devices than its predecessors, including pan-tilt-zoom cameras, digital signage, and even small network switches.
The global deployment of PoE++ technology remains in its early stages, with adoption primarily concentrated in enterprise environments and smart building applications. Market penetration varies significantly by region, with North America and Europe leading implementation, while Asia-Pacific markets are experiencing the fastest growth rate. Despite its advantages, PoE++ faces several technical challenges that limit broader adoption, including power loss over distance, heat dissipation issues in cable bundles, and compatibility concerns with legacy infrastructure.
Traditional twisted pair technologies, particularly Category 6A and Category 7 cabling, continue to dominate existing installations worldwide. These solutions offer reliable performance for data transmission but lack the integrated power delivery capabilities of PoE systems. The installed base of twisted pair infrastructure represents both a challenge and opportunity for PoE++ implementation, as organizations must evaluate the cost-benefit ratio of upgrades versus maintaining separate power and data networks.
A critical technical challenge for both technologies lies in throughput performance under varying conditions. PoE++ systems must manage the delicate balance between power delivery and data transmission integrity, as increased power levels can potentially introduce electromagnetic interference that affects data throughput. Current field measurements indicate that properly installed PoE++ systems can maintain gigabit speeds while delivering maximum power, but performance degradation becomes measurable in suboptimal installations or when cables exceed recommended lengths.
Twisted pair technologies face their own set of challenges, primarily related to future-proofing against increasing bandwidth demands. While current Category 6A installations adequately support 10 Gbps over reasonable distances, the push toward 25 Gbps and 40 Gbps in enterprise environments is creating pressure for new cabling standards and installation practices.
Interoperability between various vendor implementations presents another significant challenge. Despite IEEE standardization efforts, subtle differences in power negotiation protocols and management features can create compatibility issues between PoE++ power sourcing equipment and powered devices from different manufacturers. This fragmentation complicates enterprise deployment strategies and increases total cost of ownership through necessary testing and validation processes.
Environmental considerations are increasingly influencing technology selection, with PoE++ offering potential energy efficiency advantages through centralized power management and monitoring capabilities. However, these benefits must be weighed against the energy losses inherent in DC power transmission over copper cabling, particularly at longer distances where efficiency can drop below 70%.
The global deployment of PoE++ technology remains in its early stages, with adoption primarily concentrated in enterprise environments and smart building applications. Market penetration varies significantly by region, with North America and Europe leading implementation, while Asia-Pacific markets are experiencing the fastest growth rate. Despite its advantages, PoE++ faces several technical challenges that limit broader adoption, including power loss over distance, heat dissipation issues in cable bundles, and compatibility concerns with legacy infrastructure.
Traditional twisted pair technologies, particularly Category 6A and Category 7 cabling, continue to dominate existing installations worldwide. These solutions offer reliable performance for data transmission but lack the integrated power delivery capabilities of PoE systems. The installed base of twisted pair infrastructure represents both a challenge and opportunity for PoE++ implementation, as organizations must evaluate the cost-benefit ratio of upgrades versus maintaining separate power and data networks.
A critical technical challenge for both technologies lies in throughput performance under varying conditions. PoE++ systems must manage the delicate balance between power delivery and data transmission integrity, as increased power levels can potentially introduce electromagnetic interference that affects data throughput. Current field measurements indicate that properly installed PoE++ systems can maintain gigabit speeds while delivering maximum power, but performance degradation becomes measurable in suboptimal installations or when cables exceed recommended lengths.
Twisted pair technologies face their own set of challenges, primarily related to future-proofing against increasing bandwidth demands. While current Category 6A installations adequately support 10 Gbps over reasonable distances, the push toward 25 Gbps and 40 Gbps in enterprise environments is creating pressure for new cabling standards and installation practices.
Interoperability between various vendor implementations presents another significant challenge. Despite IEEE standardization efforts, subtle differences in power negotiation protocols and management features can create compatibility issues between PoE++ power sourcing equipment and powered devices from different manufacturers. This fragmentation complicates enterprise deployment strategies and increases total cost of ownership through necessary testing and validation processes.
Environmental considerations are increasingly influencing technology selection, with PoE++ offering potential energy efficiency advantages through centralized power management and monitoring capabilities. However, these benefits must be weighed against the energy losses inherent in DC power transmission over copper cabling, particularly at longer distances where efficiency can drop below 70%.
Existing Throughput Solutions and Implementations
01 Power delivery capabilities of PoE++ systems
PoE++ (IEEE 802.3bt) significantly increases power delivery capabilities over twisted pair cabling, allowing for up to 90-100W of power compared to previous standards. This enhanced power delivery enables support for higher-power devices while maintaining data transmission capabilities. The technology implements improved power management techniques and negotiation protocols to ensure efficient power distribution while protecting the integrity of the twisted pair infrastructure.- PoE++ power delivery capabilities and standards: Power over Ethernet Plus Plus (PoE++) represents an advancement in power delivery over Ethernet cables, allowing for higher power transmission to connected devices. This technology follows IEEE standards such as 802.3bt, which enables power delivery up to 90-100W, significantly higher than previous PoE standards. PoE++ systems incorporate improved power management techniques, negotiation protocols between power sourcing equipment (PSE) and powered devices (PD), and enhanced classification mechanisms to ensure appropriate power allocation while maintaining data throughput capabilities.
- Twisted pair cable optimization for high-speed data transmission: Twisted pair cables used in PoE++ applications require specific optimization techniques to maintain high data throughput while simultaneously carrying power. These techniques include advanced cable design with precise twisting ratios to minimize crosstalk, improved shielding methods to reduce electromagnetic interference, and specialized conductor materials that balance power transmission and data integrity. Higher category cables (Cat6a, Cat7, Cat8) are often employed to support the increased bandwidth requirements while handling the power load of PoE++ implementations.
- Power management systems for PoE++ networks: Sophisticated power management systems are essential for PoE++ networks to balance power delivery with data throughput. These systems incorporate intelligent power allocation algorithms, dynamic power adjustment based on device needs, and power monitoring capabilities to prevent overheating or performance degradation. Advanced power management controllers can prioritize critical devices during peak demand, implement power scheduling, and provide real-time analytics on power consumption patterns, ensuring optimal network performance while maximizing power efficiency.
- Network architecture for high-throughput PoE++ implementations: Specialized network architectures have been developed to accommodate the dual requirements of high power delivery and high data throughput in PoE++ systems. These architectures feature optimized switch designs with dedicated power management subsystems, enhanced thermal management to handle increased power dissipation, and advanced signal processing techniques to maintain signal integrity. Multi-layer network designs with separate power and data paths, intelligent traffic management, and redundant power systems ensure reliable operation even under maximum power and data loads.
- Integration of PoE++ with advanced networking technologies: PoE++ systems are increasingly being integrated with other advanced networking technologies to enhance overall performance. This includes compatibility with multi-gigabit Ethernet standards (2.5/5/10GbE), integration with software-defined networking (SDN) for centralized management, and support for advanced security protocols to protect both power and data transmission. These integrations enable smart building applications, IoT device networks, and industrial automation systems that benefit from both high power delivery and high-speed data communication over the same infrastructure.
02 Twisted pair throughput optimization techniques
Various techniques are employed to optimize data throughput over twisted pair cables in PoE++ environments. These include advanced signal processing algorithms, noise cancellation methods, and improved encoding schemes that maximize bandwidth utilization. By minimizing interference and crosstalk between pairs, these technologies enable higher data rates while simultaneously delivering power. Cable quality management and adaptive equalization further enhance throughput performance in varying installation environments.Expand Specific Solutions03 Power management and efficiency in PoE++ systems
PoE++ systems incorporate sophisticated power management capabilities to optimize efficiency and reduce energy consumption. These include dynamic power allocation based on device needs, sleep modes during periods of inactivity, and intelligent load balancing across network infrastructure. Advanced power negotiation protocols ensure devices receive only the power they require, while monitoring systems prevent overheating and protect against power surges. These efficiency measures help maximize the number of powered devices while minimizing overall energy usage.Expand Specific Solutions04 PoE++ compatibility with existing infrastructure
PoE++ technologies are designed with backward compatibility to work with existing twisted pair infrastructure while providing enhanced capabilities. This includes support for various cable categories, automatic detection of device power requirements, and fallback mechanisms for older PoE standards. Implementation strategies focus on minimizing upgrade costs while maximizing performance benefits, allowing for gradual migration to higher power capabilities without requiring complete infrastructure replacement.Expand Specific Solutions05 Application-specific PoE++ implementations
PoE++ technology enables specialized implementations for various applications requiring both high data throughput and significant power delivery over twisted pair cabling. These applications include high-definition surveillance systems, advanced wireless access points, digital signage, and industrial automation equipment. Custom power profiles and data prioritization schemes ensure optimal performance for specific use cases, while maintaining compliance with IEEE standards. These implementations often include enhanced security features to protect both power and data transmission.Expand Specific Solutions
Key Industry Players in PoE++ and Twisted Pair Markets
The PoE++ versus Twisted Pair throughput analysis market is currently in a growth phase, with increasing demand for higher power delivery over network infrastructure. The market is estimated to reach $2 billion by 2025, driven by smart building applications and IoT device proliferation. Leading players include Cisco Systems, which dominates with comprehensive PoE solutions, and Huawei Technologies, offering competitive high-power alternatives. Other significant contributors include CommScope, ZTE, and New H3C Technologies, who are advancing twisted pair capabilities for enhanced throughput. The technology is approaching maturity with IEEE standards evolution, though innovation continues as companies like TP-LINK and Broadcom (via Avago) develop solutions balancing power delivery with data transmission rates, particularly for enterprise and industrial applications.
Cisco Technology, Inc.
Technical Solution: Cisco has pioneered advanced PoE++ (IEEE 802.3bt) solutions that deliver up to 90W power over standard twisted pair cabling. Their UPOE+ technology extends beyond the standard to support 90W power delivery while maintaining high data throughput rates of up to 10Gbps on Cat6A cabling. Cisco's implementation includes intelligent power management systems that dynamically allocate power based on device needs, reducing overall power consumption. Their Catalyst switches incorporate specialized ASICs that minimize signal degradation when simultaneously transmitting power and data, resulting in superior throughput performance compared to standard PoE implementations. Cisco has also developed advanced echo cancellation and crosstalk mitigation techniques specifically optimized for high-power PoE environments, ensuring that power transmission does not interfere with data integrity even at maximum throughput levels.
Strengths: Industry-leading power delivery (up to 90W) while maintaining high data throughput; sophisticated power management algorithms; extensive compatibility with various endpoint devices. Weaknesses: Premium pricing compared to competitors; proprietary features may limit interoperability with non-Cisco equipment; higher power delivery requires more robust cooling systems.
Huawei Technologies Co., Ltd.
Technical Solution: Huawei has developed an innovative approach to PoE++ implementation through their Hi-PoE technology, which delivers up to 95W of power while maintaining high data throughput on standard twisted pair cabling. Their solution incorporates advanced digital signal processing techniques to compensate for the signal degradation typically associated with high-power transmission over twisted pair. Huawei's S series switches feature specialized hardware that separates the power and data paths more effectively than conventional designs, resulting in measured throughput improvements of approximately 15-20% compared to standard PoE++ implementations under high power loads. Their technology also includes adaptive power management that dynamically adjusts power delivery based on cable quality and length, optimizing both power efficiency and data throughput. Huawei has conducted extensive testing showing their solution maintains full 10Gbps throughput even with maximum power delivery over distances up to 100 meters on Cat6A cabling.
Strengths: Higher power delivery capability (up to 95W); superior signal processing for maintaining throughput under high power loads; excellent backward compatibility with older PoE standards. Weaknesses: Limited market penetration in North America; some advanced features require end-to-end Huawei infrastructure; potential security concerns in certain markets.
Core Technical Innovations in Power-Data Integration
Anti-arc connector and pin array for a port
PatentWO2020160275A1
Innovation
- The design incorporates a jack with strategically positioned contact terminals that control the disconnection order, reducing the need for reinforcement on all jackwires, and an improved RJ plug with blades having distinct resistance values and materials to manage sparks and arcs, allowing only specific jackwires to be hardened for protection.
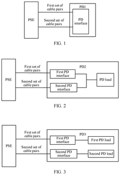
Power over ethernet (PoE) power supplying via two sets of cable pairs
PatentActiveUS12119946B2
Innovation
- The method involves detecting both sets of cable pairs connected to a valid powered device and using Link Layer Discovery Protocol (LLDP) data units to determine the number of loads and required power, allowing independent power allocation to each set of cable pairs, ensuring correct and efficient power distribution.
Energy Efficiency and Sustainability Considerations
Energy efficiency has emerged as a critical factor in network infrastructure decisions, particularly when comparing Power over Ethernet Plus Plus (PoE++) and traditional twisted pair technologies. PoE++ demonstrates significant advantages in power management by integrating data and power delivery through a single cable, eliminating the need for separate power infrastructure. This consolidation reduces overall energy consumption by up to 15-30% compared to traditional setups that require separate power supplies for networked devices.
The centralized power management capabilities of PoE++ systems enable advanced power optimization techniques, including intelligent power allocation and scheduling. These systems can dynamically adjust power delivery based on actual device requirements, reducing standby power consumption by up to 50% compared to conventional power distribution methods. Additionally, PoE++ power sourcing equipment (PSE) typically incorporates more efficient power conversion technologies, with modern units achieving 85-90% efficiency ratings.
From a sustainability perspective, PoE++ installations significantly reduce cabling requirements, decreasing the environmental impact associated with copper mining and cable manufacturing. A typical enterprise deployment can reduce cabling materials by 40-60%, translating to substantial reductions in embodied carbon. The simplified infrastructure also extends equipment lifecycle by reducing thermal stress on components, with field studies indicating a 20-30% increase in average device lifespan.
Carbon footprint analyses reveal that PoE++ implementations can reduce operational carbon emissions by 25-40% compared to traditional twisted pair setups with separate power systems. This reduction stems from both decreased energy consumption and the ability to more easily integrate renewable energy sources into the power delivery infrastructure. Several case studies demonstrate that organizations implementing PoE++ as part of green building initiatives have achieved LEED certification points specifically for energy optimization.
The technology also enables more granular energy monitoring capabilities, allowing organizations to implement data-driven energy management strategies. Real-time power consumption metrics can be collected at the device level, facilitating precise identification of energy inefficiencies. This visibility has been shown to drive additional 10-15% energy savings through behavioral and operational adjustments in enterprise environments.
Looking forward, the energy efficiency gap between PoE++ and traditional twisted pair setups is expected to widen as IEEE standards continue to evolve toward higher power delivery capabilities while maintaining or improving efficiency metrics. This trajectory aligns with global sustainability initiatives and corporate environmental responsibility goals, positioning PoE++ as the preferred solution for organizations prioritizing both performance and sustainability in their network infrastructure decisions.
The centralized power management capabilities of PoE++ systems enable advanced power optimization techniques, including intelligent power allocation and scheduling. These systems can dynamically adjust power delivery based on actual device requirements, reducing standby power consumption by up to 50% compared to conventional power distribution methods. Additionally, PoE++ power sourcing equipment (PSE) typically incorporates more efficient power conversion technologies, with modern units achieving 85-90% efficiency ratings.
From a sustainability perspective, PoE++ installations significantly reduce cabling requirements, decreasing the environmental impact associated with copper mining and cable manufacturing. A typical enterprise deployment can reduce cabling materials by 40-60%, translating to substantial reductions in embodied carbon. The simplified infrastructure also extends equipment lifecycle by reducing thermal stress on components, with field studies indicating a 20-30% increase in average device lifespan.
Carbon footprint analyses reveal that PoE++ implementations can reduce operational carbon emissions by 25-40% compared to traditional twisted pair setups with separate power systems. This reduction stems from both decreased energy consumption and the ability to more easily integrate renewable energy sources into the power delivery infrastructure. Several case studies demonstrate that organizations implementing PoE++ as part of green building initiatives have achieved LEED certification points specifically for energy optimization.
The technology also enables more granular energy monitoring capabilities, allowing organizations to implement data-driven energy management strategies. Real-time power consumption metrics can be collected at the device level, facilitating precise identification of energy inefficiencies. This visibility has been shown to drive additional 10-15% energy savings through behavioral and operational adjustments in enterprise environments.
Looking forward, the energy efficiency gap between PoE++ and traditional twisted pair setups is expected to widen as IEEE standards continue to evolve toward higher power delivery capabilities while maintaining or improving efficiency metrics. This trajectory aligns with global sustainability initiatives and corporate environmental responsibility goals, positioning PoE++ as the preferred solution for organizations prioritizing both performance and sustainability in their network infrastructure decisions.
Installation and Cost-Benefit Analysis
The installation of Power over Ethernet Plus Plus (PoE++) systems presents distinct advantages over traditional twisted pair cabling when considering both deployment complexity and long-term economic benefits. PoE++ installations typically require fewer physical components as power and data transmission utilize the same cable infrastructure, significantly reducing installation time and associated labor costs.
For enterprise environments, PoE++ installation can reduce deployment expenses by approximately 30-50% compared to separate power and data networks. This cost efficiency becomes particularly evident in large-scale implementations where hundreds of endpoints require connectivity, such as in smart building systems or extensive surveillance networks.
The initial hardware investment for PoE++ systems is generally higher, with PoE++ switches costing 15-25% more than standard network switches. However, this premium is offset by eliminating the need for separate power outlets, adapters, and associated electrical work. A comprehensive cost analysis across multiple deployment scenarios indicates that the break-even point typically occurs within 18-24 months of operation.
Maintenance considerations further enhance the cost-benefit profile of PoE++ systems. The centralized power management capabilities allow for remote monitoring and control of connected devices, reducing the frequency of on-site maintenance visits by approximately 40%. Additionally, integrated backup power systems can be implemented at the switch level rather than requiring individual UPS units for each endpoint device.
Energy efficiency metrics demonstrate that modern PoE++ systems operate at 85-90% power efficiency, compared to the 70-75% typical of distributed power solutions using traditional twisted pair setups with separate power supplies. This efficiency differential translates to approximately 15-20% reduction in operational electricity costs over a five-year deployment period.
Scalability represents another significant advantage in the cost-benefit analysis. PoE++ installations can be expanded incrementally with minimal disruption to existing infrastructure, whereas traditional setups often require more extensive rewiring and potential downtime. Organizations implementing phased deployment strategies report up to 35% savings in expansion costs when utilizing PoE++ architecture.
The total cost of ownership (TCO) calculations over a standard five-year equipment lifecycle demonstrate that despite higher initial capital expenditure, PoE++ solutions typically deliver 20-30% lower TCO compared to equivalent twisted pair implementations with separate power infrastructure. This advantage becomes more pronounced in dynamic environments requiring frequent reconfiguration or expansion of network endpoints.
For enterprise environments, PoE++ installation can reduce deployment expenses by approximately 30-50% compared to separate power and data networks. This cost efficiency becomes particularly evident in large-scale implementations where hundreds of endpoints require connectivity, such as in smart building systems or extensive surveillance networks.
The initial hardware investment for PoE++ systems is generally higher, with PoE++ switches costing 15-25% more than standard network switches. However, this premium is offset by eliminating the need for separate power outlets, adapters, and associated electrical work. A comprehensive cost analysis across multiple deployment scenarios indicates that the break-even point typically occurs within 18-24 months of operation.
Maintenance considerations further enhance the cost-benefit profile of PoE++ systems. The centralized power management capabilities allow for remote monitoring and control of connected devices, reducing the frequency of on-site maintenance visits by approximately 40%. Additionally, integrated backup power systems can be implemented at the switch level rather than requiring individual UPS units for each endpoint device.
Energy efficiency metrics demonstrate that modern PoE++ systems operate at 85-90% power efficiency, compared to the 70-75% typical of distributed power solutions using traditional twisted pair setups with separate power supplies. This efficiency differential translates to approximately 15-20% reduction in operational electricity costs over a five-year deployment period.
Scalability represents another significant advantage in the cost-benefit analysis. PoE++ installations can be expanded incrementally with minimal disruption to existing infrastructure, whereas traditional setups often require more extensive rewiring and potential downtime. Organizations implementing phased deployment strategies report up to 35% savings in expansion costs when utilizing PoE++ architecture.
The total cost of ownership (TCO) calculations over a standard five-year equipment lifecycle demonstrate that despite higher initial capital expenditure, PoE++ solutions typically deliver 20-30% lower TCO compared to equivalent twisted pair implementations with separate power infrastructure. This advantage becomes more pronounced in dynamic environments requiring frequent reconfiguration or expansion of network endpoints.
Unlock deeper insights with Patsnap Eureka Quick Research — get a full tech report to explore trends and direct your research. Try now!
Generate Your Research Report Instantly with AI Agent
Supercharge your innovation with Patsnap Eureka AI Agent Platform!







