Piezoelectric Sensors in Earthquake Alert Systems
JUL 17, 20259 MIN READ
Generate Your Research Report Instantly with AI Agent
Patsnap Eureka helps you evaluate technical feasibility & market potential.
Piezoelectric Sensors in Earthquake Detection: Background and Objectives
Piezoelectric sensors have emerged as a crucial technology in the field of earthquake detection and early warning systems. These sensors, which convert mechanical stress into electrical signals, have a rich history dating back to the discovery of the piezoelectric effect by Jacques and Pierre Curie in 1880. Over the years, the application of piezoelectric materials in seismology has evolved significantly, driven by the urgent need for more accurate and timely earthquake detection methods.
The development of piezoelectric sensors for earthquake detection has been closely tied to advancements in materials science and signal processing technologies. Early applications were limited by the sensitivity and durability of available piezoelectric materials. However, the introduction of new synthetic materials and improved manufacturing techniques in the late 20th century led to a surge in the capabilities and reliability of these sensors.
In recent decades, the integration of piezoelectric sensors into comprehensive earthquake alert systems has become a primary focus of seismological research. These systems aim to provide rapid detection and characterization of seismic events, potentially offering crucial seconds or minutes of warning before destructive ground motions reach populated areas. The ultimate goal is to mitigate the devastating impacts of earthquakes on human lives and infrastructure.
The current technological landscape presents both opportunities and challenges for piezoelectric sensor applications in earthquake detection. On one hand, miniaturization and cost reduction of sensor components have enabled the deployment of dense sensor networks, improving spatial resolution and detection capabilities. On the other hand, researchers continue to grapple with issues such as signal-to-noise ratios, power consumption, and long-term stability in harsh environmental conditions.
Looking forward, the field of piezoelectric sensors in earthquake detection is poised for further innovation. Emerging trends include the development of self-powered sensors, integration with Internet of Things (IoT) technologies, and the application of artificial intelligence for real-time data analysis. These advancements are expected to enhance the accuracy, speed, and reliability of earthquake alert systems, potentially revolutionizing our ability to respond to seismic events.
As we explore the current state and future potential of piezoelectric sensors in earthquake detection, it is essential to consider the broader context of global seismic risk and the increasing importance of resilient infrastructure. The ongoing research in this field not only pushes the boundaries of sensor technology but also contributes to the larger goal of creating safer, more earthquake-resistant communities worldwide.
The development of piezoelectric sensors for earthquake detection has been closely tied to advancements in materials science and signal processing technologies. Early applications were limited by the sensitivity and durability of available piezoelectric materials. However, the introduction of new synthetic materials and improved manufacturing techniques in the late 20th century led to a surge in the capabilities and reliability of these sensors.
In recent decades, the integration of piezoelectric sensors into comprehensive earthquake alert systems has become a primary focus of seismological research. These systems aim to provide rapid detection and characterization of seismic events, potentially offering crucial seconds or minutes of warning before destructive ground motions reach populated areas. The ultimate goal is to mitigate the devastating impacts of earthquakes on human lives and infrastructure.
The current technological landscape presents both opportunities and challenges for piezoelectric sensor applications in earthquake detection. On one hand, miniaturization and cost reduction of sensor components have enabled the deployment of dense sensor networks, improving spatial resolution and detection capabilities. On the other hand, researchers continue to grapple with issues such as signal-to-noise ratios, power consumption, and long-term stability in harsh environmental conditions.
Looking forward, the field of piezoelectric sensors in earthquake detection is poised for further innovation. Emerging trends include the development of self-powered sensors, integration with Internet of Things (IoT) technologies, and the application of artificial intelligence for real-time data analysis. These advancements are expected to enhance the accuracy, speed, and reliability of earthquake alert systems, potentially revolutionizing our ability to respond to seismic events.
As we explore the current state and future potential of piezoelectric sensors in earthquake detection, it is essential to consider the broader context of global seismic risk and the increasing importance of resilient infrastructure. The ongoing research in this field not only pushes the boundaries of sensor technology but also contributes to the larger goal of creating safer, more earthquake-resistant communities worldwide.
Market Analysis for Earthquake Early Warning Systems
The global market for Earthquake Early Warning Systems (EEWS) has been experiencing significant growth in recent years, driven by increasing awareness of seismic risks and the need for advanced disaster mitigation technologies. The market is primarily segmented into hardware components, software solutions, and services, with piezoelectric sensors playing a crucial role in the hardware segment.
The demand for EEWS is particularly high in regions prone to seismic activities, such as the Pacific Ring of Fire, which includes countries like Japan, the United States, Chile, and Indonesia. These nations have been at the forefront of adopting and implementing advanced earthquake alert systems, contributing substantially to market growth. Additionally, emerging economies in Asia-Pacific and Latin America are showing increased interest in EEWS, further expanding the market potential.
The market size for EEWS is projected to grow steadily over the next decade. This growth is attributed to factors such as urbanization in earthquake-prone areas, government initiatives for disaster preparedness, and technological advancements in sensor technologies and data analytics. The integration of artificial intelligence and machine learning algorithms with EEWS is expected to enhance the accuracy and speed of earthquake predictions, driving market expansion.
In terms of end-users, the market is diverse, encompassing government agencies, research institutions, critical infrastructure operators, and private enterprises. The public sector remains the largest consumer of EEWS, with national and local governments investing heavily in these systems to protect citizens and infrastructure. However, there is a growing trend of adoption in the private sector, particularly among industries with high-value assets in seismic zones, such as oil and gas, nuclear power, and telecommunications.
The competitive landscape of the EEWS market is characterized by a mix of established players and innovative startups. Key market players are focusing on research and development to improve sensor technologies, enhance data processing capabilities, and reduce false alarms. Collaborations between technology companies, research institutions, and government agencies are becoming increasingly common, fostering innovation and market growth.
Challenges in the EEWS market include the high initial investment required for system deployment, the need for continuous maintenance and upgrades, and the complexity of integrating these systems with existing infrastructure. However, the potential benefits of early warning systems in terms of lives saved and economic losses prevented continue to drive market expansion and technological innovation in this field.
The demand for EEWS is particularly high in regions prone to seismic activities, such as the Pacific Ring of Fire, which includes countries like Japan, the United States, Chile, and Indonesia. These nations have been at the forefront of adopting and implementing advanced earthquake alert systems, contributing substantially to market growth. Additionally, emerging economies in Asia-Pacific and Latin America are showing increased interest in EEWS, further expanding the market potential.
The market size for EEWS is projected to grow steadily over the next decade. This growth is attributed to factors such as urbanization in earthquake-prone areas, government initiatives for disaster preparedness, and technological advancements in sensor technologies and data analytics. The integration of artificial intelligence and machine learning algorithms with EEWS is expected to enhance the accuracy and speed of earthquake predictions, driving market expansion.
In terms of end-users, the market is diverse, encompassing government agencies, research institutions, critical infrastructure operators, and private enterprises. The public sector remains the largest consumer of EEWS, with national and local governments investing heavily in these systems to protect citizens and infrastructure. However, there is a growing trend of adoption in the private sector, particularly among industries with high-value assets in seismic zones, such as oil and gas, nuclear power, and telecommunications.
The competitive landscape of the EEWS market is characterized by a mix of established players and innovative startups. Key market players are focusing on research and development to improve sensor technologies, enhance data processing capabilities, and reduce false alarms. Collaborations between technology companies, research institutions, and government agencies are becoming increasingly common, fostering innovation and market growth.
Challenges in the EEWS market include the high initial investment required for system deployment, the need for continuous maintenance and upgrades, and the complexity of integrating these systems with existing infrastructure. However, the potential benefits of early warning systems in terms of lives saved and economic losses prevented continue to drive market expansion and technological innovation in this field.
Current Challenges in Piezoelectric Sensor Technology for Seismic Monitoring
Despite significant advancements in piezoelectric sensor technology for seismic monitoring, several challenges persist in the development and implementation of these sensors for earthquake alert systems. One of the primary obstacles is the sensitivity and accuracy of piezoelectric sensors in detecting low-frequency seismic waves. While these sensors excel at capturing high-frequency vibrations, their performance in the lower frequency range, which is crucial for early earthquake detection, remains a concern.
Another challenge lies in the durability and long-term reliability of piezoelectric sensors in harsh environmental conditions. Seismic monitoring stations are often located in remote areas subject to extreme temperatures, humidity, and physical stress. Ensuring that these sensors maintain their performance and calibration over extended periods without frequent maintenance is a significant technical hurdle.
The issue of power consumption also presents a considerable challenge, particularly for remote and off-grid monitoring stations. While piezoelectric sensors are generally low-power devices, the continuous operation required for earthquake monitoring can strain power resources. Developing more energy-efficient sensor designs and power management systems is crucial for improving the sustainability of these alert systems.
Signal processing and data interpretation pose additional challenges. The vast amount of data generated by piezoelectric sensor networks requires sophisticated algorithms to differentiate between seismic events and background noise. Improving these algorithms to reduce false positives while maintaining high sensitivity to genuine seismic activity is an ongoing area of research.
Integration and standardization across different earthquake alert systems present another set of challenges. As piezoelectric sensor technology evolves, ensuring compatibility and interoperability between various systems and data formats becomes increasingly important. This is crucial for creating comprehensive, wide-area earthquake monitoring networks that can provide timely and accurate alerts.
Cost-effectiveness remains a significant barrier to widespread deployment of piezoelectric sensor-based earthquake alert systems. While the sensors themselves are relatively inexpensive, the infrastructure required for a comprehensive monitoring network can be costly. Developing more cost-effective solutions without compromising on performance is essential for broader adoption, especially in developing regions prone to seismic activity.
Lastly, the challenge of miniaturization and integration with other sensing technologies persists. There is a growing need for compact, multi-functional sensor packages that can provide a more comprehensive picture of seismic activity and related phenomena. Achieving this while maintaining high performance and reliability is a complex engineering challenge that researchers continue to address.
Another challenge lies in the durability and long-term reliability of piezoelectric sensors in harsh environmental conditions. Seismic monitoring stations are often located in remote areas subject to extreme temperatures, humidity, and physical stress. Ensuring that these sensors maintain their performance and calibration over extended periods without frequent maintenance is a significant technical hurdle.
The issue of power consumption also presents a considerable challenge, particularly for remote and off-grid monitoring stations. While piezoelectric sensors are generally low-power devices, the continuous operation required for earthquake monitoring can strain power resources. Developing more energy-efficient sensor designs and power management systems is crucial for improving the sustainability of these alert systems.
Signal processing and data interpretation pose additional challenges. The vast amount of data generated by piezoelectric sensor networks requires sophisticated algorithms to differentiate between seismic events and background noise. Improving these algorithms to reduce false positives while maintaining high sensitivity to genuine seismic activity is an ongoing area of research.
Integration and standardization across different earthquake alert systems present another set of challenges. As piezoelectric sensor technology evolves, ensuring compatibility and interoperability between various systems and data formats becomes increasingly important. This is crucial for creating comprehensive, wide-area earthquake monitoring networks that can provide timely and accurate alerts.
Cost-effectiveness remains a significant barrier to widespread deployment of piezoelectric sensor-based earthquake alert systems. While the sensors themselves are relatively inexpensive, the infrastructure required for a comprehensive monitoring network can be costly. Developing more cost-effective solutions without compromising on performance is essential for broader adoption, especially in developing regions prone to seismic activity.
Lastly, the challenge of miniaturization and integration with other sensing technologies persists. There is a growing need for compact, multi-functional sensor packages that can provide a more comprehensive picture of seismic activity and related phenomena. Achieving this while maintaining high performance and reliability is a complex engineering challenge that researchers continue to address.
Existing Piezoelectric Sensor Solutions for Earthquake Detection
01 Piezoelectric sensor design and fabrication
This category focuses on the design and manufacturing processes of piezoelectric sensors. It includes innovative approaches to sensor construction, material selection, and fabrication techniques to enhance sensitivity and performance. These advancements aim to improve the overall efficiency and reliability of piezoelectric sensors for various applications.- Piezoelectric sensor design and fabrication: This category focuses on the design and manufacturing processes of piezoelectric sensors. It includes innovative approaches to sensor construction, material selection, and fabrication techniques to enhance sensitivity and performance. These advancements aim to improve the overall efficiency and reliability of piezoelectric sensors for various applications.
- Applications of piezoelectric sensors: Piezoelectric sensors find diverse applications across multiple industries. This category explores their use in areas such as automotive systems, consumer electronics, industrial monitoring, and medical devices. The versatility of these sensors allows for precise measurement of pressure, acceleration, and vibration in various environments.
- Signal processing and data analysis for piezoelectric sensors: This category covers techniques for processing and analyzing signals from piezoelectric sensors. It includes methods for noise reduction, signal amplification, and data interpretation to extract meaningful information from sensor outputs. Advanced algorithms and software solutions are developed to enhance the accuracy and reliability of measurements.
- Integration of piezoelectric sensors in smart systems: The integration of piezoelectric sensors into smart systems and Internet of Things (IoT) devices is a growing trend. This category explores how these sensors are incorporated into larger networks for real-time monitoring, data collection, and automated decision-making. It includes advancements in sensor miniaturization and power efficiency for seamless integration.
- Piezoelectric sensor materials and structures: This category focuses on the development of novel materials and structures for piezoelectric sensors. It includes research into new piezoelectric compounds, nanostructured materials, and composite structures that can enhance sensor performance. Advancements in this area aim to improve sensitivity, durability, and temperature stability of piezoelectric sensors.
02 Applications of piezoelectric sensors
Piezoelectric sensors find applications in diverse fields. This category covers the use of these sensors in areas such as automotive systems, industrial monitoring, consumer electronics, and medical devices. The versatility of piezoelectric sensors allows for their integration into various systems for measuring pressure, acceleration, and other physical parameters.Expand Specific Solutions03 Signal processing and data analysis for piezoelectric sensors
This category encompasses methods and systems for processing and analyzing signals from piezoelectric sensors. It includes techniques for noise reduction, signal amplification, and data interpretation to extract meaningful information from sensor outputs. Advanced algorithms and software solutions are developed to enhance the accuracy and reliability of measurements.Expand Specific Solutions04 Integration of piezoelectric sensors with other technologies
This category focuses on the integration of piezoelectric sensors with other technologies to create more comprehensive sensing systems. It includes combining piezoelectric sensors with MEMS devices, wireless communication modules, and IoT platforms. These integrations enable the development of smart sensor networks and advanced monitoring systems.Expand Specific Solutions05 Energy harvesting and self-powered piezoelectric sensors
This category covers the development of self-powered piezoelectric sensors and energy harvesting systems. It includes designs that utilize the piezoelectric effect to generate electricity from ambient vibrations or mechanical stress. These innovations aim to create autonomous sensor systems that can operate without external power sources, making them suitable for remote or inaccessible locations.Expand Specific Solutions
Key Players in Piezoelectric Sensor and Seismic Monitoring Industry
The research on piezoelectric sensors in earthquake alert systems is in a mature development stage, with a growing market driven by increasing demand for early warning systems. The global market size for earthquake early warning systems is projected to reach several billion dollars by 2025. Technologically, piezoelectric sensors have reached a high level of maturity, with ongoing refinements focused on improving sensitivity, reliability, and cost-effectiveness. Key players in this field include established companies like Kistler Holding AG and PCB Piezotronics, as well as research institutions such as Fraunhofer-Gesellschaft and the Center for Development of Advanced Computing. These organizations are continuously advancing sensor technology, data processing algorithms, and system integration to enhance earthquake detection and alert capabilities.
National Space Science Center, Chinese Academy of Sciences
Technical Solution: The National Space Science Center (NSSC) has conducted extensive research on piezoelectric sensors for earthquake alert systems, with a focus on integrating space-based and ground-based technologies. Their approach combines traditional piezoelectric sensors with satellite-based observations to create a comprehensive earthquake monitoring network. NSSC has developed high-sensitivity piezoelectric accelerometers capable of detecting micro-seismic activity, with a noise floor as low as 10 ng/√Hz[10]. These sensors are integrated into a distributed network that utilizes advanced data fusion algorithms to correlate ground-based measurements with ionospheric perturbations detected by satellites, potentially improving early warning capabilities[11]. NSSC has also explored the use of fiber optic sensing technologies in conjunction with piezoelectric sensors to create large-scale, high-resolution seismic monitoring arrays[12].
Strengths: Integration of space-based and ground-based technologies for comprehensive monitoring. High-sensitivity sensors for detecting micro-seismic activity. Advanced data fusion algorithms for improved early warning. Weaknesses: Complex system architecture may increase implementation challenges. Reliance on satellite systems could introduce vulnerabilities.
Kistler Holding AG
Technical Solution: Kistler Holding AG has developed advanced piezoelectric sensors for earthquake alert systems. Their technology utilizes high-sensitivity quartz crystals to detect minute ground movements. The sensors are designed with a wide frequency response range (0.1 Hz to 1 kHz) to capture both low-frequency seismic waves and high-frequency ground vibrations[1]. Kistler's sensors incorporate built-in charge amplifiers for signal conditioning, reducing noise and improving signal quality. The company has also implemented a proprietary digital signal processing algorithm that can differentiate between seismic events and ambient vibrations, minimizing false alarms[2]. Their sensors are integrated into a networked early warning system that can trigger alerts within seconds of detecting significant seismic activity[3].
Strengths: High sensitivity and wide frequency response for accurate detection. Advanced signal processing for reliable event discrimination. Quick response time for early warnings. Weaknesses: Potentially higher cost due to premium components. May require specialized installation and maintenance.
Core Innovations in Piezoelectric Sensor Technology for Seismic Applications
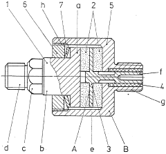
Piezoelectric sensor
PatentWO1982002602A1
Innovation
- A piezoelectric axial sensor design featuring a contact pivot with piezoelectric rings and an insulating sleeve, where the seismic mass is formed by a cylindrical box with a tensioned spring, reducing the inactive mass and eliminating the need for high-density metals, thus minimizing distortion and weight.
Systems and methods of using piezoelectric sensors for theft detection of enclosures
PatentActiveUS10919492B1
Innovation
- The use of piezoelectric sensors to measure torque values of mechanical coupling devices securing the enclosure to a fixture, allowing for real-time monitoring and alert generation upon unauthorized removal or tampering.
Regulatory Framework for Earthquake Early Warning Systems
The regulatory framework for earthquake early warning systems plays a crucial role in ensuring the effective implementation and operation of these life-saving technologies. In the context of piezoelectric sensors in earthquake alert systems, regulations are designed to address various aspects of system deployment, data management, and public notification protocols.
At the national level, many countries have established specific laws and regulations governing the development and operation of earthquake early warning systems. These regulations often outline the responsibilities of different government agencies, research institutions, and private sector entities involved in the implementation and maintenance of such systems. For instance, in the United States, the Earthquake Hazards Reduction Act provides the legal basis for the development of earthquake early warning capabilities.
International organizations, such as the United Nations Office for Disaster Risk Reduction (UNDRR), have also developed guidelines and frameworks to support the implementation of earthquake early warning systems globally. These guidelines often emphasize the importance of integrating early warning systems into broader disaster risk reduction strategies and ensuring their accessibility to all segments of society.
Regulations typically address the technical specifications and performance standards for earthquake early warning systems, including the use of piezoelectric sensors. These standards may cover aspects such as sensor sensitivity, data transmission rates, and system reliability. Compliance with these standards is often mandatory to ensure the accuracy and dependability of the alert system.
Data management and sharing protocols are another critical component of the regulatory framework. Given the sensitive nature of earthquake data and its potential impact on public safety, regulations often stipulate strict guidelines for data collection, storage, and dissemination. These may include provisions for data security, privacy protection, and interoperability between different systems and agencies.
Public notification protocols are also subject to regulatory oversight. Regulations typically define the criteria for issuing alerts, the channels through which warnings should be disseminated, and the content of the alert messages. These protocols aim to strike a balance between providing timely warnings and avoiding false alarms that could undermine public trust in the system.
Funding mechanisms and resource allocation for earthquake early warning systems are often addressed within the regulatory framework. This may include provisions for public-private partnerships, research grants, and ongoing maintenance and upgrade requirements to ensure the long-term sustainability of the system.
As technology evolves, regulatory frameworks must adapt to accommodate new developments in earthquake detection and warning systems. This includes provisions for the integration of emerging technologies, such as machine learning algorithms and IoT devices, into existing early warning networks. Regular review and updating of regulations are essential to keep pace with technological advancements and changing societal needs.
At the national level, many countries have established specific laws and regulations governing the development and operation of earthquake early warning systems. These regulations often outline the responsibilities of different government agencies, research institutions, and private sector entities involved in the implementation and maintenance of such systems. For instance, in the United States, the Earthquake Hazards Reduction Act provides the legal basis for the development of earthquake early warning capabilities.
International organizations, such as the United Nations Office for Disaster Risk Reduction (UNDRR), have also developed guidelines and frameworks to support the implementation of earthquake early warning systems globally. These guidelines often emphasize the importance of integrating early warning systems into broader disaster risk reduction strategies and ensuring their accessibility to all segments of society.
Regulations typically address the technical specifications and performance standards for earthquake early warning systems, including the use of piezoelectric sensors. These standards may cover aspects such as sensor sensitivity, data transmission rates, and system reliability. Compliance with these standards is often mandatory to ensure the accuracy and dependability of the alert system.
Data management and sharing protocols are another critical component of the regulatory framework. Given the sensitive nature of earthquake data and its potential impact on public safety, regulations often stipulate strict guidelines for data collection, storage, and dissemination. These may include provisions for data security, privacy protection, and interoperability between different systems and agencies.
Public notification protocols are also subject to regulatory oversight. Regulations typically define the criteria for issuing alerts, the channels through which warnings should be disseminated, and the content of the alert messages. These protocols aim to strike a balance between providing timely warnings and avoiding false alarms that could undermine public trust in the system.
Funding mechanisms and resource allocation for earthquake early warning systems are often addressed within the regulatory framework. This may include provisions for public-private partnerships, research grants, and ongoing maintenance and upgrade requirements to ensure the long-term sustainability of the system.
As technology evolves, regulatory frameworks must adapt to accommodate new developments in earthquake detection and warning systems. This includes provisions for the integration of emerging technologies, such as machine learning algorithms and IoT devices, into existing early warning networks. Regular review and updating of regulations are essential to keep pace with technological advancements and changing societal needs.
Environmental Impact of Piezoelectric Sensor Deployment
The deployment of piezoelectric sensors in earthquake alert systems has both positive and negative environmental impacts that warrant careful consideration. On the positive side, these sensors contribute to early warning systems that can potentially save lives and reduce property damage during seismic events. By providing crucial seconds or minutes of advance notice, they allow for emergency responses that can mitigate environmental disasters such as chemical spills or industrial accidents triggered by earthquakes.
However, the widespread installation of piezoelectric sensor networks also raises environmental concerns. The manufacturing process of these sensors involves the use of certain materials, such as lead zirconate titanate (PZT), which can be harmful to the environment if not properly managed. The production and disposal of these sensors contribute to electronic waste, a growing environmental challenge. Additionally, the installation of sensor networks in remote or ecologically sensitive areas may disrupt local ecosystems, particularly if extensive infrastructure is required to support the sensors and transmit data.
The energy consumption of large-scale sensor networks is another environmental consideration. While individual piezoelectric sensors are relatively low-power devices, the cumulative energy demand of a comprehensive earthquake alert system can be significant. This raises questions about the carbon footprint associated with powering and maintaining these networks, especially in regions where electricity generation relies heavily on fossil fuels.
There are also potential impacts on wildlife to consider. The physical presence of sensors and associated equipment may interfere with animal habitats or migration patterns. Furthermore, the low-level electromagnetic emissions from sensor networks, while generally considered safe for humans, could potentially affect sensitive species in ways that are not yet fully understood.
On the other hand, advancements in sensor technology are addressing some of these environmental concerns. The development of lead-free piezoelectric materials and more energy-efficient sensor designs are reducing the environmental footprint of these systems. Moreover, the integration of renewable energy sources, such as solar panels, to power sensor networks is becoming more common, mitigating concerns about energy consumption.
In conclusion, while piezoelectric sensors in earthquake alert systems offer significant benefits for public safety and disaster prevention, their environmental impact must be carefully managed. Ongoing research and development efforts should focus on minimizing negative effects while maximizing the potential for these systems to contribute to environmental protection through improved disaster response and mitigation.
However, the widespread installation of piezoelectric sensor networks also raises environmental concerns. The manufacturing process of these sensors involves the use of certain materials, such as lead zirconate titanate (PZT), which can be harmful to the environment if not properly managed. The production and disposal of these sensors contribute to electronic waste, a growing environmental challenge. Additionally, the installation of sensor networks in remote or ecologically sensitive areas may disrupt local ecosystems, particularly if extensive infrastructure is required to support the sensors and transmit data.
The energy consumption of large-scale sensor networks is another environmental consideration. While individual piezoelectric sensors are relatively low-power devices, the cumulative energy demand of a comprehensive earthquake alert system can be significant. This raises questions about the carbon footprint associated with powering and maintaining these networks, especially in regions where electricity generation relies heavily on fossil fuels.
There are also potential impacts on wildlife to consider. The physical presence of sensors and associated equipment may interfere with animal habitats or migration patterns. Furthermore, the low-level electromagnetic emissions from sensor networks, while generally considered safe for humans, could potentially affect sensitive species in ways that are not yet fully understood.
On the other hand, advancements in sensor technology are addressing some of these environmental concerns. The development of lead-free piezoelectric materials and more energy-efficient sensor designs are reducing the environmental footprint of these systems. Moreover, the integration of renewable energy sources, such as solar panels, to power sensor networks is becoming more common, mitigating concerns about energy consumption.
In conclusion, while piezoelectric sensors in earthquake alert systems offer significant benefits for public safety and disaster prevention, their environmental impact must be carefully managed. Ongoing research and development efforts should focus on minimizing negative effects while maximizing the potential for these systems to contribute to environmental protection through improved disaster response and mitigation.
Unlock deeper insights with Patsnap Eureka Quick Research — get a full tech report to explore trends and direct your research. Try now!
Generate Your Research Report Instantly with AI Agent
Supercharge your innovation with Patsnap Eureka AI Agent Platform!




