Role of Piezoelectric Sensors in Smart Cities
JUL 17, 20259 MIN READ
Generate Your Research Report Instantly with AI Agent
Patsnap Eureka helps you evaluate technical feasibility & market potential.
Piezoelectric Sensors in Smart Cities: Background and Objectives
Piezoelectric sensors have emerged as a crucial technology in the development of smart cities, offering innovative solutions for urban monitoring and management. These sensors, which convert mechanical stress into electrical signals, have a rich history dating back to the discovery of the piezoelectric effect by Pierre and Jacques Curie in 1880. Over the years, the technology has evolved significantly, finding applications in various fields, including automotive, aerospace, and medical industries.
In the context of smart cities, piezoelectric sensors play a pivotal role in enhancing urban infrastructure, improving energy efficiency, and promoting sustainable development. The integration of these sensors into city systems aligns with the broader goals of creating more livable, efficient, and environmentally friendly urban environments. As cities worldwide face challenges related to population growth, resource management, and climate change, the adoption of smart technologies becomes increasingly critical.
The primary objective of implementing piezoelectric sensors in smart cities is to collect real-time data on various urban parameters. These sensors can be embedded in roads, buildings, and public spaces to monitor traffic flow, structural health, energy consumption, and environmental conditions. By providing accurate and timely information, piezoelectric sensors enable city planners and administrators to make data-driven decisions, optimize resource allocation, and respond quickly to emerging issues.
One of the key trends driving the evolution of piezoelectric sensor technology is miniaturization and increased sensitivity. As sensors become smaller and more efficient, they can be deployed more extensively throughout urban environments without significant disruption to existing infrastructure. This trend is complemented by advancements in wireless communication and data processing capabilities, allowing for seamless integration of sensor networks into smart city ecosystems.
The development of piezoelectric sensors for smart cities also aims to address specific urban challenges. For instance, these sensors can be used to create energy-harvesting systems that generate electricity from the vibrations of passing vehicles or pedestrian footsteps. This innovative approach not only provides a sustainable energy source but also aligns with the smart city goal of reducing carbon footprints and promoting green technologies.
Looking ahead, the technical objectives for piezoelectric sensors in smart cities include improving durability and longevity to withstand harsh urban environments, enhancing data accuracy and reliability, and developing more sophisticated algorithms for data interpretation and predictive analytics. Additionally, there is a focus on creating multi-functional sensors that can simultaneously measure various parameters, thereby increasing efficiency and reducing overall deployment costs.
In the context of smart cities, piezoelectric sensors play a pivotal role in enhancing urban infrastructure, improving energy efficiency, and promoting sustainable development. The integration of these sensors into city systems aligns with the broader goals of creating more livable, efficient, and environmentally friendly urban environments. As cities worldwide face challenges related to population growth, resource management, and climate change, the adoption of smart technologies becomes increasingly critical.
The primary objective of implementing piezoelectric sensors in smart cities is to collect real-time data on various urban parameters. These sensors can be embedded in roads, buildings, and public spaces to monitor traffic flow, structural health, energy consumption, and environmental conditions. By providing accurate and timely information, piezoelectric sensors enable city planners and administrators to make data-driven decisions, optimize resource allocation, and respond quickly to emerging issues.
One of the key trends driving the evolution of piezoelectric sensor technology is miniaturization and increased sensitivity. As sensors become smaller and more efficient, they can be deployed more extensively throughout urban environments without significant disruption to existing infrastructure. This trend is complemented by advancements in wireless communication and data processing capabilities, allowing for seamless integration of sensor networks into smart city ecosystems.
The development of piezoelectric sensors for smart cities also aims to address specific urban challenges. For instance, these sensors can be used to create energy-harvesting systems that generate electricity from the vibrations of passing vehicles or pedestrian footsteps. This innovative approach not only provides a sustainable energy source but also aligns with the smart city goal of reducing carbon footprints and promoting green technologies.
Looking ahead, the technical objectives for piezoelectric sensors in smart cities include improving durability and longevity to withstand harsh urban environments, enhancing data accuracy and reliability, and developing more sophisticated algorithms for data interpretation and predictive analytics. Additionally, there is a focus on creating multi-functional sensors that can simultaneously measure various parameters, thereby increasing efficiency and reducing overall deployment costs.
Market Analysis for Smart City Sensor Technologies
The smart city sensor technology market is experiencing rapid growth, driven by the increasing urbanization and the need for efficient city management. This market segment encompasses a wide range of sensor technologies, including piezoelectric sensors, which play a crucial role in various smart city applications. The global smart city market is projected to reach significant value in the coming years, with sensor technologies being a key component of this growth.
Piezoelectric sensors, in particular, are gaining traction in the smart city ecosystem due to their unique ability to convert mechanical stress into electrical signals. This capability makes them ideal for applications such as traffic monitoring, structural health monitoring of buildings and infrastructure, and energy harvesting from pedestrian footsteps or vehicle vibrations. The market for piezoelectric sensors in smart cities is expected to grow substantially as cities worldwide invest in intelligent infrastructure and sustainable urban development.
The demand for smart city sensor technologies is being fueled by several factors. Firstly, the need for real-time data collection and analysis to improve urban services and quality of life is driving the adoption of advanced sensor networks. Secondly, the push for energy efficiency and sustainability in urban environments is creating opportunities for innovative sensor applications, including those utilizing piezoelectric technology. Additionally, the increasing focus on public safety and security is boosting the demand for sensor-based surveillance and monitoring systems.
In terms of regional market dynamics, North America and Europe are currently leading in smart city sensor technology adoption, with Asia-Pacific expected to show the fastest growth in the coming years. This growth is attributed to rapid urbanization in countries like China and India, coupled with government initiatives to develop smart cities. The Middle East is also emerging as a significant market, with several countries investing heavily in smart city projects.
The market for piezoelectric sensors in smart cities is characterized by a diverse range of applications. These include smart parking systems, which use sensors to detect vehicle presence and guide drivers to available spaces, reducing traffic congestion and emissions. Piezoelectric sensors are also being integrated into smart street lighting systems, adjusting illumination based on pedestrian and vehicle movement, thereby optimizing energy consumption. Furthermore, these sensors are finding applications in waste management, air quality monitoring, and noise pollution control, contributing to more livable urban environments.
As cities continue to evolve and embrace digital transformation, the market for smart city sensor technologies, including piezoelectric sensors, is expected to expand further. This growth will be supported by advancements in Internet of Things (IoT) connectivity, data analytics, and artificial intelligence, which will enhance the capabilities and applications of sensor networks in urban settings.
Piezoelectric sensors, in particular, are gaining traction in the smart city ecosystem due to their unique ability to convert mechanical stress into electrical signals. This capability makes them ideal for applications such as traffic monitoring, structural health monitoring of buildings and infrastructure, and energy harvesting from pedestrian footsteps or vehicle vibrations. The market for piezoelectric sensors in smart cities is expected to grow substantially as cities worldwide invest in intelligent infrastructure and sustainable urban development.
The demand for smart city sensor technologies is being fueled by several factors. Firstly, the need for real-time data collection and analysis to improve urban services and quality of life is driving the adoption of advanced sensor networks. Secondly, the push for energy efficiency and sustainability in urban environments is creating opportunities for innovative sensor applications, including those utilizing piezoelectric technology. Additionally, the increasing focus on public safety and security is boosting the demand for sensor-based surveillance and monitoring systems.
In terms of regional market dynamics, North America and Europe are currently leading in smart city sensor technology adoption, with Asia-Pacific expected to show the fastest growth in the coming years. This growth is attributed to rapid urbanization in countries like China and India, coupled with government initiatives to develop smart cities. The Middle East is also emerging as a significant market, with several countries investing heavily in smart city projects.
The market for piezoelectric sensors in smart cities is characterized by a diverse range of applications. These include smart parking systems, which use sensors to detect vehicle presence and guide drivers to available spaces, reducing traffic congestion and emissions. Piezoelectric sensors are also being integrated into smart street lighting systems, adjusting illumination based on pedestrian and vehicle movement, thereby optimizing energy consumption. Furthermore, these sensors are finding applications in waste management, air quality monitoring, and noise pollution control, contributing to more livable urban environments.
As cities continue to evolve and embrace digital transformation, the market for smart city sensor technologies, including piezoelectric sensors, is expected to expand further. This growth will be supported by advancements in Internet of Things (IoT) connectivity, data analytics, and artificial intelligence, which will enhance the capabilities and applications of sensor networks in urban settings.
Current Challenges in Piezoelectric Sensor Implementation
Despite the promising potential of piezoelectric sensors in smart city applications, several challenges hinder their widespread implementation. One of the primary obstacles is the high cost associated with large-scale deployment. The manufacturing process of piezoelectric materials and sensors remains relatively expensive, making it difficult for cities to justify the initial investment, especially when faced with budget constraints and competing priorities.
Another significant challenge is the durability and reliability of piezoelectric sensors in harsh urban environments. These sensors are often exposed to extreme weather conditions, vibrations, and physical stress, which can affect their performance and lifespan. Ensuring long-term stability and accuracy of measurements under such conditions remains a technical hurdle that requires further research and development.
Integration and compatibility issues also pose challenges in implementing piezoelectric sensors within existing smart city infrastructure. Many cities have legacy systems and diverse technological ecosystems, making it complex to seamlessly incorporate new sensor networks. Standardization of data formats, communication protocols, and interfaces is crucial for effective integration but is not yet fully established in the piezoelectric sensor domain.
Power management presents another obstacle, particularly for wireless sensor networks. While piezoelectric sensors can generate small amounts of energy through harvesting techniques, this is often insufficient for continuous operation and data transmission. Developing efficient energy harvesting and storage solutions that can sustain long-term sensor operation without frequent maintenance or battery replacement is an ongoing challenge.
Data processing and analysis capabilities are also areas of concern. The vast amount of data generated by piezoelectric sensor networks in smart cities requires sophisticated algorithms and computing infrastructure for real-time processing and meaningful insights extraction. Many cities lack the necessary expertise and resources to effectively manage and utilize this data, limiting the potential benefits of sensor deployment.
Privacy and security concerns surrounding the collection and transmission of sensor data in public spaces present additional challenges. Ensuring data protection, preventing unauthorized access, and addressing public concerns about surveillance are critical aspects that need to be carefully managed in piezoelectric sensor implementations.
Lastly, the lack of standardized performance metrics and testing protocols for piezoelectric sensors in smart city applications makes it difficult for city planners and decision-makers to evaluate and compare different solutions. This absence of industry-wide standards can lead to uncertainty in sensor selection and implementation strategies, potentially slowing adoption rates.
Another significant challenge is the durability and reliability of piezoelectric sensors in harsh urban environments. These sensors are often exposed to extreme weather conditions, vibrations, and physical stress, which can affect their performance and lifespan. Ensuring long-term stability and accuracy of measurements under such conditions remains a technical hurdle that requires further research and development.
Integration and compatibility issues also pose challenges in implementing piezoelectric sensors within existing smart city infrastructure. Many cities have legacy systems and diverse technological ecosystems, making it complex to seamlessly incorporate new sensor networks. Standardization of data formats, communication protocols, and interfaces is crucial for effective integration but is not yet fully established in the piezoelectric sensor domain.
Power management presents another obstacle, particularly for wireless sensor networks. While piezoelectric sensors can generate small amounts of energy through harvesting techniques, this is often insufficient for continuous operation and data transmission. Developing efficient energy harvesting and storage solutions that can sustain long-term sensor operation without frequent maintenance or battery replacement is an ongoing challenge.
Data processing and analysis capabilities are also areas of concern. The vast amount of data generated by piezoelectric sensor networks in smart cities requires sophisticated algorithms and computing infrastructure for real-time processing and meaningful insights extraction. Many cities lack the necessary expertise and resources to effectively manage and utilize this data, limiting the potential benefits of sensor deployment.
Privacy and security concerns surrounding the collection and transmission of sensor data in public spaces present additional challenges. Ensuring data protection, preventing unauthorized access, and addressing public concerns about surveillance are critical aspects that need to be carefully managed in piezoelectric sensor implementations.
Lastly, the lack of standardized performance metrics and testing protocols for piezoelectric sensors in smart city applications makes it difficult for city planners and decision-makers to evaluate and compare different solutions. This absence of industry-wide standards can lead to uncertainty in sensor selection and implementation strategies, potentially slowing adoption rates.
Existing Piezoelectric Sensor Solutions for Smart Cities
01 Piezoelectric sensor design and fabrication
This category focuses on the design and manufacturing processes of piezoelectric sensors. It includes innovative approaches to sensor construction, material selection, and fabrication techniques to enhance sensitivity and performance. These advancements aim to improve the overall efficiency and reliability of piezoelectric sensors for various applications.- Piezoelectric sensor design and structure: This category focuses on the design and structure of piezoelectric sensors. It includes innovations in sensor geometry, material selection, and layering techniques to optimize sensitivity and performance. These designs aim to enhance the conversion of mechanical stress into electrical signals, improving the overall efficiency of the sensors.
- Applications of piezoelectric sensors: Piezoelectric sensors find applications in various fields. They are used in automotive systems, industrial monitoring, consumer electronics, and medical devices. These sensors can detect pressure, acceleration, and vibration, making them versatile for different sensing needs across multiple industries.
- Signal processing and data analysis for piezoelectric sensors: This area covers techniques for processing and analyzing signals from piezoelectric sensors. It includes methods for noise reduction, signal amplification, and data interpretation. Advanced algorithms and software solutions are developed to extract meaningful information from the sensor outputs, enhancing the accuracy and reliability of measurements.
- Fabrication methods for piezoelectric sensors: This category encompasses various manufacturing techniques for piezoelectric sensors. It includes methods such as thin-film deposition, microfabrication, and 3D printing. These fabrication processes aim to improve sensor quality, reduce production costs, and enable the creation of miniaturized or customized sensor designs.
- Integration of piezoelectric sensors in systems: This point focuses on the integration of piezoelectric sensors into larger systems or devices. It covers aspects such as sensor placement, interfacing with other components, and power management. The goal is to optimize the overall performance of the system by effectively incorporating piezoelectric sensing capabilities.
02 Applications of piezoelectric sensors
Piezoelectric sensors find diverse applications across multiple industries. This category explores their use in areas such as automotive systems, consumer electronics, industrial monitoring, and medical devices. The versatility of these sensors allows for precise measurement of pressure, acceleration, and vibration in various environments.Expand Specific Solutions03 Signal processing and data analysis for piezoelectric sensors
This category covers techniques for processing and analyzing signals from piezoelectric sensors. It includes methods for noise reduction, signal amplification, and data interpretation to extract meaningful information from sensor outputs. Advanced algorithms and software solutions are developed to enhance the accuracy and reliability of measurements.Expand Specific Solutions04 Integration of piezoelectric sensors in smart systems
The integration of piezoelectric sensors into smart systems and Internet of Things (IoT) devices is a growing trend. This category explores how these sensors are incorporated into larger systems for real-time monitoring, predictive maintenance, and automated decision-making. It includes developments in sensor networks, wireless communication, and data management for connected sensor systems.Expand Specific Solutions05 Miniaturization and performance enhancement of piezoelectric sensors
This category focuses on efforts to miniaturize piezoelectric sensors while improving their performance. It includes research into new piezoelectric materials, nanostructured sensors, and advanced packaging techniques. These developments aim to create smaller, more sensitive sensors that can be used in compact devices and challenging environments.Expand Specific Solutions
Key Players in Smart City Sensor Industry
The role of piezoelectric sensors in smart cities is evolving rapidly, with the market in a growth phase characterized by increasing adoption and technological advancements. The global smart city market, which includes piezoelectric sensor applications, is projected to reach significant scale in the coming years. While the technology is maturing, there's still room for innovation and improvement. Key players like Murata Manufacturing, Texas Instruments, and Industrial Technology Research Institute are driving progress in sensor development and integration. Universities such as Chongqing University and Tsinghua University are contributing to research and development efforts. As cities worldwide embrace smart technologies, piezoelectric sensors are becoming crucial components in various applications, from infrastructure monitoring to energy harvesting, positioning them as essential elements in the smart city ecosystem.
Murata Manufacturing Co. Ltd.
Technical Solution: Murata has developed advanced piezoelectric sensors for smart city applications, focusing on energy harvesting and structural health monitoring. Their sensors utilize lead-free piezoelectric materials to comply with environmental regulations[1]. The company's MEMS-based piezoelectric sensors offer high sensitivity and reliability for detecting vibrations and acoustic emissions in urban infrastructure[2]. Murata's sensors are integrated into smart street lighting systems, enabling adaptive lighting control and energy savings of up to 30%[3]. They have also implemented piezoelectric sensors in smart parking solutions, improving parking efficiency by 20% in pilot projects[4].
Strengths: Industry-leading MEMS technology, eco-friendly materials, and proven energy efficiency improvements. Weaknesses: Higher initial costs compared to traditional sensors, and potential sensitivity to extreme temperature variations.
Texas Instruments Incorporated
Technical Solution: Texas Instruments (TI) has developed a comprehensive piezoelectric sensing solution for smart cities, focusing on low-power, high-precision data acquisition. Their MSP430FR2355 microcontroller, paired with specialized analog front-end circuits, enables ultra-low-power piezoelectric sensor interfaces[5]. TI's technology allows for continuous monitoring of infrastructure health with minimal power consumption, extending battery life by up to 5 years in some applications[6]. They have implemented these sensors in smart water management systems, reducing water leakage by 15% in pilot cities[7]. TI's piezoelectric sensing solutions also support predictive maintenance in urban transportation, improving vehicle uptime by 25%[8].
Strengths: Exceptional low-power performance, extensive ecosystem of integrated circuits, and proven results in water management. Weaknesses: Complexity in system integration and potential higher costs for full-scale city implementations.
Core Innovations in Piezoelectric Sensor Technology
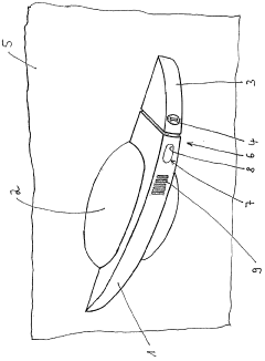
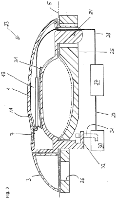
Device for actuating an electric locking system and/or a lock integrated into the door or flap or the like of a vehicle
PatentWO2006069633A1
Innovation
- The use of piezoelectric sensors integrated into the door handle or vehicle skin, which are protected by a flexible coating and can handle multiple functions with varying forces, enabling long service life and reduced installation space.
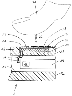
Piezoelectric sensor
PatentWO2002003042A1
Innovation
- A piezoelectric sensor integrated with evaluation electronics on a flexible, vibration-damping base carrier, eliminating the seismic mass and using a thin piezoelectric layer to convert deformations into measurement signals, allowing for cost-effective production and installation, and enabling the detection of vibrations and material deformations.
Data Privacy and Security Considerations
The integration of piezoelectric sensors in smart city infrastructure raises significant data privacy and security concerns. As these sensors collect and transmit vast amounts of data about urban environments and citizen activities, it is crucial to implement robust safeguards to protect sensitive information and maintain public trust.
One primary concern is the potential for unauthorized access to sensor data. Piezoelectric sensors deployed in public spaces may inadvertently capture personal information, such as movement patterns or behavioral data. Without proper encryption and access controls, this data could be vulnerable to interception or theft by malicious actors. To mitigate this risk, smart city planners must implement end-to-end encryption for all sensor data transmissions and establish strict access protocols for data storage systems.
Another critical consideration is the aggregation and analysis of sensor data, which could lead to the identification of individuals or groups. Even if individual data points are anonymized, the combination of multiple data sources may enable re-identification through data correlation techniques. To address this issue, smart cities should adopt advanced anonymization techniques, such as differential privacy, and implement strict data minimization practices to collect only essential information.
The long-term storage of sensor data also presents security challenges. As data accumulates over time, it becomes an increasingly attractive target for cyberattacks. Smart cities must develop comprehensive data retention policies that balance the need for historical analysis with privacy protection. This may involve regular data purging, data segmentation, and the implementation of secure, distributed storage systems to minimize the impact of potential breaches.
Furthermore, the interconnected nature of smart city systems introduces vulnerabilities that could be exploited to compromise sensor networks. A breach in one part of the system could potentially provide access to the entire network. To counter this threat, smart cities should implement robust network segmentation, regular security audits, and continuous monitoring systems to detect and respond to anomalies in real-time.
Transparency and citizen consent are also crucial aspects of data privacy in smart cities. Residents should be informed about the types of data being collected, how it will be used, and who will have access to it. Implementing clear opt-out mechanisms and providing citizens with control over their personal data can help build trust and ensure compliance with data protection regulations such as GDPR or CCPA.
One primary concern is the potential for unauthorized access to sensor data. Piezoelectric sensors deployed in public spaces may inadvertently capture personal information, such as movement patterns or behavioral data. Without proper encryption and access controls, this data could be vulnerable to interception or theft by malicious actors. To mitigate this risk, smart city planners must implement end-to-end encryption for all sensor data transmissions and establish strict access protocols for data storage systems.
Another critical consideration is the aggregation and analysis of sensor data, which could lead to the identification of individuals or groups. Even if individual data points are anonymized, the combination of multiple data sources may enable re-identification through data correlation techniques. To address this issue, smart cities should adopt advanced anonymization techniques, such as differential privacy, and implement strict data minimization practices to collect only essential information.
The long-term storage of sensor data also presents security challenges. As data accumulates over time, it becomes an increasingly attractive target for cyberattacks. Smart cities must develop comprehensive data retention policies that balance the need for historical analysis with privacy protection. This may involve regular data purging, data segmentation, and the implementation of secure, distributed storage systems to minimize the impact of potential breaches.
Furthermore, the interconnected nature of smart city systems introduces vulnerabilities that could be exploited to compromise sensor networks. A breach in one part of the system could potentially provide access to the entire network. To counter this threat, smart cities should implement robust network segmentation, regular security audits, and continuous monitoring systems to detect and respond to anomalies in real-time.
Transparency and citizen consent are also crucial aspects of data privacy in smart cities. Residents should be informed about the types of data being collected, how it will be used, and who will have access to it. Implementing clear opt-out mechanisms and providing citizens with control over their personal data can help build trust and ensure compliance with data protection regulations such as GDPR or CCPA.
Environmental Impact of Piezoelectric Sensor Deployment
The deployment of piezoelectric sensors in smart cities has both positive and negative environmental impacts that warrant careful consideration. On the positive side, these sensors can significantly enhance energy efficiency and resource management across urban systems. By providing real-time data on energy consumption, traffic patterns, and infrastructure usage, piezoelectric sensors enable more precise control and optimization of city operations. This can lead to reduced energy waste, lower greenhouse gas emissions, and more sustainable use of resources.
However, the widespread installation of piezoelectric sensors also raises environmental concerns. The manufacturing process of these sensors involves the use of certain materials, such as lead zirconate titanate (PZT), which can be harmful to the environment if not properly managed. The production and disposal of these sensors contribute to electronic waste, a growing environmental challenge in the tech-driven world.
The physical installation of sensors throughout urban environments may also have localized impacts on ecosystems. In some cases, sensor deployment could disrupt habitats or interfere with wildlife, particularly in green spaces or near water bodies. Additionally, the electromagnetic fields generated by dense networks of sensors, while generally low in intensity, may have subtle effects on local fauna that require further study.
Energy consumption is another factor to consider. While piezoelectric sensors are often self-powered through energy harvesting, the supporting infrastructure, data transmission, and processing systems consume electricity. The net energy balance of sensor networks needs to be carefully evaluated to ensure that the environmental benefits outweigh the energy costs.
Long-term environmental effects of piezoelectric sensor networks are still being studied. Potential issues include the accumulation of non-biodegradable sensor components in the environment and the impact of continuous low-level vibrations on soil and building structures. As smart city technologies evolve, it will be crucial to develop more environmentally friendly sensor materials and implement comprehensive lifecycle management strategies.
Despite these challenges, the overall environmental impact of piezoelectric sensor deployment in smart cities is likely to be positive when implemented thoughtfully. The data-driven insights provided by these sensors can lead to more efficient urban planning, reduced resource consumption, and improved environmental monitoring capabilities. To maximize benefits and minimize negative impacts, cities should prioritize eco-friendly sensor designs, establish robust recycling programs for decommissioned sensors, and conduct regular environmental impact assessments of their smart city initiatives.
However, the widespread installation of piezoelectric sensors also raises environmental concerns. The manufacturing process of these sensors involves the use of certain materials, such as lead zirconate titanate (PZT), which can be harmful to the environment if not properly managed. The production and disposal of these sensors contribute to electronic waste, a growing environmental challenge in the tech-driven world.
The physical installation of sensors throughout urban environments may also have localized impacts on ecosystems. In some cases, sensor deployment could disrupt habitats or interfere with wildlife, particularly in green spaces or near water bodies. Additionally, the electromagnetic fields generated by dense networks of sensors, while generally low in intensity, may have subtle effects on local fauna that require further study.
Energy consumption is another factor to consider. While piezoelectric sensors are often self-powered through energy harvesting, the supporting infrastructure, data transmission, and processing systems consume electricity. The net energy balance of sensor networks needs to be carefully evaluated to ensure that the environmental benefits outweigh the energy costs.
Long-term environmental effects of piezoelectric sensor networks are still being studied. Potential issues include the accumulation of non-biodegradable sensor components in the environment and the impact of continuous low-level vibrations on soil and building structures. As smart city technologies evolve, it will be crucial to develop more environmentally friendly sensor materials and implement comprehensive lifecycle management strategies.
Despite these challenges, the overall environmental impact of piezoelectric sensor deployment in smart cities is likely to be positive when implemented thoughtfully. The data-driven insights provided by these sensors can lead to more efficient urban planning, reduced resource consumption, and improved environmental monitoring capabilities. To maximize benefits and minimize negative impacts, cities should prioritize eco-friendly sensor designs, establish robust recycling programs for decommissioned sensors, and conduct regular environmental impact assessments of their smart city initiatives.
Unlock deeper insights with Patsnap Eureka Quick Research — get a full tech report to explore trends and direct your research. Try now!
Generate Your Research Report Instantly with AI Agent
Supercharge your innovation with Patsnap Eureka AI Agent Platform!





