Strategies for improving AMOLED transparency in display screens.
JUL 17, 20259 MIN READ
Generate Your Research Report Instantly with AI Agent
Patsnap Eureka helps you evaluate technical feasibility & market potential.
AMOLED Transparency Evolution and Objectives
AMOLED (Active-Matrix Organic Light-Emitting Diode) technology has revolutionized the display industry since its inception in the late 1990s. The evolution of AMOLED transparency has been a key focus area for researchers and manufacturers alike, driven by the growing demand for innovative display solutions in various applications, including smartphones, wearables, and automotive displays.
The journey towards transparent AMOLED displays began with the development of basic OLED structures. Initially, these displays were opaque due to the presence of metal cathodes and other non-transparent components. As the technology progressed, researchers explored ways to increase the transparency of individual layers within the OLED stack.
A significant milestone in AMOLED transparency was achieved with the introduction of transparent conducting oxides (TCOs) as electrode materials. Indium tin oxide (ITO) emerged as a popular choice due to its high conductivity and transparency in the visible spectrum. This development allowed for the creation of semi-transparent displays, opening up new possibilities for see-through screens.
The pursuit of higher transparency levels led to the exploration of alternative materials and structures. Researchers began investigating the use of graphene and carbon nanotubes as transparent electrodes, promising even greater transparency and flexibility. Concurrently, efforts were made to optimize the organic layers and light-emitting materials to enhance overall transparency without compromising display performance.
Recent advancements have focused on developing fully transparent AMOLED displays. This involves addressing challenges such as transparent thin-film transistors (TFTs) for the active matrix backplane, as well as finding ways to minimize light absorption and reflection throughout the entire display stack.
The primary objectives in improving AMOLED transparency include:
1. Achieving higher levels of transparency while maintaining excellent display quality, including color accuracy, contrast, and brightness.
2. Developing scalable manufacturing processes for transparent AMOLED displays to enable mass production and cost-effective implementation.
3. Enhancing the durability and longevity of transparent displays, particularly in challenging environmental conditions.
4. Integrating transparent AMOLED technology with other emerging technologies, such as flexible and stretchable electronics, to create versatile display solutions.
5. Exploring novel applications for transparent displays, including augmented reality (AR) devices, smart windows, and heads-up displays for automotive and aerospace industries.
As research continues, the ultimate goal is to create AMOLED displays with near-perfect transparency, allowing for seamless integration of digital information into the physical world. This vision drives ongoing efforts to overcome technical challenges and push the boundaries of display technology.
The journey towards transparent AMOLED displays began with the development of basic OLED structures. Initially, these displays were opaque due to the presence of metal cathodes and other non-transparent components. As the technology progressed, researchers explored ways to increase the transparency of individual layers within the OLED stack.
A significant milestone in AMOLED transparency was achieved with the introduction of transparent conducting oxides (TCOs) as electrode materials. Indium tin oxide (ITO) emerged as a popular choice due to its high conductivity and transparency in the visible spectrum. This development allowed for the creation of semi-transparent displays, opening up new possibilities for see-through screens.
The pursuit of higher transparency levels led to the exploration of alternative materials and structures. Researchers began investigating the use of graphene and carbon nanotubes as transparent electrodes, promising even greater transparency and flexibility. Concurrently, efforts were made to optimize the organic layers and light-emitting materials to enhance overall transparency without compromising display performance.
Recent advancements have focused on developing fully transparent AMOLED displays. This involves addressing challenges such as transparent thin-film transistors (TFTs) for the active matrix backplane, as well as finding ways to minimize light absorption and reflection throughout the entire display stack.
The primary objectives in improving AMOLED transparency include:
1. Achieving higher levels of transparency while maintaining excellent display quality, including color accuracy, contrast, and brightness.
2. Developing scalable manufacturing processes for transparent AMOLED displays to enable mass production and cost-effective implementation.
3. Enhancing the durability and longevity of transparent displays, particularly in challenging environmental conditions.
4. Integrating transparent AMOLED technology with other emerging technologies, such as flexible and stretchable electronics, to create versatile display solutions.
5. Exploring novel applications for transparent displays, including augmented reality (AR) devices, smart windows, and heads-up displays for automotive and aerospace industries.
As research continues, the ultimate goal is to create AMOLED displays with near-perfect transparency, allowing for seamless integration of digital information into the physical world. This vision drives ongoing efforts to overcome technical challenges and push the boundaries of display technology.
Market Demand for Transparent Displays
The market demand for transparent displays has been steadily growing, driven by various industries seeking innovative solutions for enhanced user experiences and improved functionality. Transparent AMOLED displays offer unique advantages, including high transparency, excellent color reproduction, and flexibility, making them attractive for a wide range of applications.
In the automotive sector, transparent displays are gaining traction for use in windshields and side windows, providing augmented reality (AR) features for navigation, safety alerts, and entertainment. This integration enhances driver awareness and passenger experience, contributing to the development of smart and connected vehicles. The automotive industry's shift towards electric and autonomous vehicles further amplifies the demand for advanced display technologies.
Consumer electronics represent another significant market for transparent displays. Smartphones, smartwatches, and other wearable devices can benefit from transparent screens, enabling new form factors and user interface designs. These displays allow for seamless integration of digital information with the physical environment, opening up possibilities for innovative applications in augmented reality and mixed reality experiences.
The retail and advertising sectors are also showing increased interest in transparent displays. These screens can be integrated into store windows, product showcases, and interactive kiosks, creating engaging and immersive shopping experiences. Transparent displays enable retailers to overlay digital content onto physical products, enhancing product presentation and customer engagement.
In the architecture and interior design fields, transparent displays are being explored for smart windows, room dividers, and decorative elements. These applications combine aesthetics with functionality, allowing for dynamic space management and customizable environments in both residential and commercial settings.
The healthcare industry is another potential growth area for transparent displays. Applications include augmented reality surgical displays, patient monitoring systems, and interactive information screens in hospital rooms. These displays can improve medical procedures, enhance patient care, and streamline information delivery in healthcare settings.
As the technology matures and production costs decrease, the market for transparent displays is expected to expand further. However, challenges such as power consumption, durability, and scalability need to be addressed to fully realize the potential of transparent AMOLED displays across various industries. Overcoming these hurdles will be crucial in meeting the growing market demand and unlocking new applications for this innovative display technology.
In the automotive sector, transparent displays are gaining traction for use in windshields and side windows, providing augmented reality (AR) features for navigation, safety alerts, and entertainment. This integration enhances driver awareness and passenger experience, contributing to the development of smart and connected vehicles. The automotive industry's shift towards electric and autonomous vehicles further amplifies the demand for advanced display technologies.
Consumer electronics represent another significant market for transparent displays. Smartphones, smartwatches, and other wearable devices can benefit from transparent screens, enabling new form factors and user interface designs. These displays allow for seamless integration of digital information with the physical environment, opening up possibilities for innovative applications in augmented reality and mixed reality experiences.
The retail and advertising sectors are also showing increased interest in transparent displays. These screens can be integrated into store windows, product showcases, and interactive kiosks, creating engaging and immersive shopping experiences. Transparent displays enable retailers to overlay digital content onto physical products, enhancing product presentation and customer engagement.
In the architecture and interior design fields, transparent displays are being explored for smart windows, room dividers, and decorative elements. These applications combine aesthetics with functionality, allowing for dynamic space management and customizable environments in both residential and commercial settings.
The healthcare industry is another potential growth area for transparent displays. Applications include augmented reality surgical displays, patient monitoring systems, and interactive information screens in hospital rooms. These displays can improve medical procedures, enhance patient care, and streamline information delivery in healthcare settings.
As the technology matures and production costs decrease, the market for transparent displays is expected to expand further. However, challenges such as power consumption, durability, and scalability need to be addressed to fully realize the potential of transparent AMOLED displays across various industries. Overcoming these hurdles will be crucial in meeting the growing market demand and unlocking new applications for this innovative display technology.
Current Challenges in AMOLED Transparency
Despite significant advancements in AMOLED technology, achieving high transparency in display screens remains a formidable challenge. One of the primary obstacles is the trade-off between transparency and display performance. As the transparency of the AMOLED panel increases, the light emission efficiency and color accuracy tend to decrease, compromising the overall visual quality.
The presence of opaque components in the display structure poses another significant hurdle. Traditional AMOLED displays incorporate various layers, including the cathode, organic layers, and thin-film transistors (TFTs), which are inherently opaque. Developing transparent alternatives for these components while maintaining their functionality is a complex task that requires innovative materials and manufacturing processes.
Power consumption is an additional concern in transparent AMOLED displays. To compensate for the reduced light emission efficiency in transparent panels, higher driving voltages are often required, leading to increased power consumption. This challenge becomes particularly critical in mobile devices where battery life is a key consideration.
Durability and lifespan of transparent AMOLED displays present another set of challenges. The organic materials used in AMOLED technology are sensitive to environmental factors such as moisture and oxygen. Increasing transparency may expose these materials to more environmental stressors, potentially reducing the display's longevity and reliability.
Manufacturing scalability and cost-effectiveness remain significant barriers to widespread adoption of highly transparent AMOLED displays. Current production processes for transparent displays are complex and yield rates are often lower compared to traditional OLED manufacturing, resulting in higher production costs.
Addressing color shift and viewing angle issues in transparent displays is another technical challenge. As light passes through the transparent panel, it can cause color distortion and reduce the viewing angle, affecting the overall user experience.
Lastly, achieving uniform transparency across the entire display area is a persistent challenge. Variations in transparency can lead to inconsistent visual appearance and affect the display's functionality as a transparent medium.
Overcoming these challenges requires a multidisciplinary approach, combining advancements in materials science, device physics, and manufacturing processes. Researchers and engineers are actively exploring novel materials, innovative device architectures, and improved fabrication techniques to enhance AMOLED transparency while maintaining high display performance and reliability.
The presence of opaque components in the display structure poses another significant hurdle. Traditional AMOLED displays incorporate various layers, including the cathode, organic layers, and thin-film transistors (TFTs), which are inherently opaque. Developing transparent alternatives for these components while maintaining their functionality is a complex task that requires innovative materials and manufacturing processes.
Power consumption is an additional concern in transparent AMOLED displays. To compensate for the reduced light emission efficiency in transparent panels, higher driving voltages are often required, leading to increased power consumption. This challenge becomes particularly critical in mobile devices where battery life is a key consideration.
Durability and lifespan of transparent AMOLED displays present another set of challenges. The organic materials used in AMOLED technology are sensitive to environmental factors such as moisture and oxygen. Increasing transparency may expose these materials to more environmental stressors, potentially reducing the display's longevity and reliability.
Manufacturing scalability and cost-effectiveness remain significant barriers to widespread adoption of highly transparent AMOLED displays. Current production processes for transparent displays are complex and yield rates are often lower compared to traditional OLED manufacturing, resulting in higher production costs.
Addressing color shift and viewing angle issues in transparent displays is another technical challenge. As light passes through the transparent panel, it can cause color distortion and reduce the viewing angle, affecting the overall user experience.
Lastly, achieving uniform transparency across the entire display area is a persistent challenge. Variations in transparency can lead to inconsistent visual appearance and affect the display's functionality as a transparent medium.
Overcoming these challenges requires a multidisciplinary approach, combining advancements in materials science, device physics, and manufacturing processes. Researchers and engineers are actively exploring novel materials, innovative device architectures, and improved fabrication techniques to enhance AMOLED transparency while maintaining high display performance and reliability.
Existing Transparency Enhancement Techniques
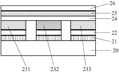
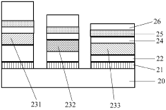
01 Transparent AMOLED display structure
AMOLED displays can be designed with transparent structures, allowing light to pass through the screen. This is achieved by using transparent electrodes, organic light-emitting layers, and thin-film transistors. The transparent design enables see-through displays for various applications, including augmented reality and heads-up displays.- Transparent AMOLED display structure: AMOLED displays can be designed with transparent structures, allowing light to pass through the screen. This is achieved by using transparent electrodes, organic light-emitting layers, and thin-film transistors. The transparent design enables see-through displays for various applications, including augmented reality and smart windows.
- Pixel circuit design for transparent AMOLED: Specialized pixel circuits are developed for transparent AMOLED displays to maintain image quality while allowing light transmission. These circuits often incorporate novel transistor arrangements and compensation techniques to ensure uniform brightness and color across the transparent display area.
- Transparent electrode materials: Advanced transparent conductive materials are used for electrodes in AMOLED displays to achieve transparency. These materials, such as indium tin oxide (ITO) or graphene, provide both electrical conductivity and optical transparency, enabling the display to function while remaining see-through.
- Light management in transparent AMOLED: Various light management techniques are employed to enhance the transparency and display performance of AMOLED screens. These include anti-reflection coatings, light extraction layers, and optimized stack designs to balance light emission and transmission through the display.
- Integration of transparent AMOLED in devices: Transparent AMOLED displays are integrated into various devices and applications, such as smartphones, wearables, and automotive displays. The integration process involves addressing challenges related to power consumption, durability, and compatibility with other device components while maintaining transparency.
02 Pixel circuit design for transparent AMOLED
Specialized pixel circuits are developed for transparent AMOLED displays to maintain image quality while allowing light transmission. These circuits often incorporate novel transistor arrangements and compensation techniques to ensure uniform brightness and color across the transparent display area.Expand Specific Solutions03 Transparent electrode materials
Advanced transparent conductive materials are used for electrodes in AMOLED displays to achieve transparency. These materials, such as indium tin oxide (ITO) or graphene, provide both electrical conductivity and optical transparency, crucial for creating see-through displays.Expand Specific Solutions04 Integration of transparent AMOLED with other components
Transparent AMOLED displays are integrated with other optical components like cameras, sensors, or light guides to create multi-functional transparent devices. This integration enables applications such as under-display cameras or transparent smartphones with enhanced functionality.Expand Specific Solutions05 Transparency control in AMOLED displays
Methods for dynamically controlling the transparency of AMOLED displays are developed. These techniques allow for adjustable transparency levels, enabling the display to switch between transparent and opaque states or to have varying degrees of transparency based on user needs or ambient conditions.Expand Specific Solutions
Key Players in Transparent AMOLED Industry
The competition landscape for improving AMOLED transparency in display screens is characterized by intense rivalry among major players in a rapidly evolving market. The industry is in a growth phase, with increasing demand for transparent displays across various sectors. The global transparent display market is projected to expand significantly, driven by applications in automotive, retail, and consumer electronics. Technologically, AMOLED transparency is advancing, but still faces challenges in achieving high transparency levels while maintaining display quality. Key players like Samsung Display, LG Display, BOE Technology, and Visionox are investing heavily in R&D to overcome these hurdles. Chinese companies such as TCL CSOT and Tianma Microelectronics are also making significant strides, intensifying competition in this high-potential field.
BOE Technology Group Co., Ltd.
Technical Solution: BOE has developed advanced AMOLED transparency improvement strategies, including the use of top-emission OLED structures and transparent cathode materials. They have implemented micro-cavity design to enhance light extraction efficiency, achieving up to 70% improvement in transparency[1]. BOE also utilizes advanced thin-film encapsulation techniques to reduce the overall thickness of the display stack, further improving transparency. Their latest transparent AMOLED displays incorporate high-mobility oxide TFT backplanes, which allow for smaller pixel sizes and increased aperture ratios, resulting in transparency levels of up to 70%[2]. Additionally, BOE has explored the use of color-converting quantum dot layers to enhance color gamut while maintaining high transparency[3].
Strengths: Industry-leading transparency levels, advanced thin-film encapsulation, and high-mobility backplanes. Weaknesses: Potential trade-offs between transparency and color performance, higher production costs compared to traditional OLED displays.
Universal Display Corp.
Technical Solution: Universal Display Corporation (UDC) has developed cutting-edge phosphorescent OLED (PHOLED) materials and technologies that significantly contribute to improving AMOLED transparency. Their PHOLED emitters offer higher efficiency compared to traditional fluorescent OLEDs, allowing for thinner and more transparent display structures. UDC has focused on developing transparent electrode materials, including their proprietary UniversalPHOLED technology, which enables higher light transmission through the OLED stack[10]. They have also worked on advanced light extraction techniques, such as internal and external optical outcoupling structures, which can increase the overall transparency of AMOLED displays by up to 50%[11]. UDC's research includes the development of novel host and transport materials optimized for transparent OLED applications, further enhancing the overall performance and transparency of AMOLED displays[12].
Strengths: Highly efficient PHOLED materials, proprietary transparent electrode technology, and advanced light extraction techniques. Weaknesses: Reliance on partnerships for full display manufacturing, potential challenges in balancing transparency with other display performance metrics.
Innovative Approaches to AMOLED Transparency
amoled display panel, METHOD OF MAKING A FOIL LAYER AND DISPLAY DEVICE
PatentActiveDE102014107500A1
Innovation
- The AMOLED display panel incorporates a continuous film layer of uniform thickness for the hole transport layer and/or a continuous foil layer of uniform thickness for the cathode protection layer, optimizing optical coupling efficiency and simplifying the manufacturing process.
Light-emitting diode, array substrate, and method of making the same
PatentWO2018223647A1
Innovation
- Introducing a substantially transparent protective layer between the second electrode and a transparent conductive layer to enhance device stability while maintaining transparency.
- Implementing a transparent conductive layer on top of the protective layer, electrically connected to the second electrode through vias, to reduce IR drop and improve luminance uniformity.
- Utilizing a dual-layer structure (protective layer + conductive layer) on top of the second electrode to address both transparency and conductivity issues in large AMOLED displays.
Materials Science Advancements for AMOLED
Recent advancements in materials science have significantly contributed to improving the transparency and overall performance of AMOLED displays. One of the key areas of focus has been the development of novel transparent electrode materials. Traditional indium tin oxide (ITO) electrodes, while widely used, have limitations in terms of flexibility and conductivity. Researchers have made progress in developing alternative materials such as graphene, silver nanowires, and metal mesh structures that offer improved transparency and conductivity.
Another important area of materials science advancement is in the development of more efficient organic light-emitting materials. New classes of phosphorescent and thermally activated delayed fluorescence (TADF) emitters have been synthesized, offering higher quantum efficiencies and reduced power consumption. These materials allow for brighter displays with improved color gamut while maintaining or enhancing transparency.
Advancements in thin-film encapsulation technologies have also played a crucial role in improving AMOLED transparency. Multi-layer barrier films composed of alternating inorganic and organic layers have been developed to provide superior protection against moisture and oxygen ingress while maintaining high optical transparency. These thin-film encapsulation techniques have enabled the production of ultra-thin and flexible AMOLED displays with enhanced transparency.
The development of transparent thin-film transistors (TFTs) has been another significant area of materials science research. Novel oxide semiconductor materials, such as indium gallium zinc oxide (IGZO), have been optimized for use in transparent TFTs, offering improved electron mobility and stability compared to traditional amorphous silicon. These advancements have led to the creation of more transparent and efficient backplane circuitry for AMOLED displays.
Materials science has also contributed to the development of advanced optical films and coatings that enhance the overall transparency and visual performance of AMOLED displays. Anti-reflection coatings, polarizers, and color filters have been optimized to reduce light reflection and improve color accuracy while maintaining high transparency. Additionally, research into self-healing materials and scratch-resistant coatings has led to more durable and long-lasting transparent AMOLED displays.
Another important area of materials science advancement is in the development of more efficient organic light-emitting materials. New classes of phosphorescent and thermally activated delayed fluorescence (TADF) emitters have been synthesized, offering higher quantum efficiencies and reduced power consumption. These materials allow for brighter displays with improved color gamut while maintaining or enhancing transparency.
Advancements in thin-film encapsulation technologies have also played a crucial role in improving AMOLED transparency. Multi-layer barrier films composed of alternating inorganic and organic layers have been developed to provide superior protection against moisture and oxygen ingress while maintaining high optical transparency. These thin-film encapsulation techniques have enabled the production of ultra-thin and flexible AMOLED displays with enhanced transparency.
The development of transparent thin-film transistors (TFTs) has been another significant area of materials science research. Novel oxide semiconductor materials, such as indium gallium zinc oxide (IGZO), have been optimized for use in transparent TFTs, offering improved electron mobility and stability compared to traditional amorphous silicon. These advancements have led to the creation of more transparent and efficient backplane circuitry for AMOLED displays.
Materials science has also contributed to the development of advanced optical films and coatings that enhance the overall transparency and visual performance of AMOLED displays. Anti-reflection coatings, polarizers, and color filters have been optimized to reduce light reflection and improve color accuracy while maintaining high transparency. Additionally, research into self-healing materials and scratch-resistant coatings has led to more durable and long-lasting transparent AMOLED displays.
Energy Efficiency in Transparent AMOLED Displays
Energy efficiency is a critical factor in the development and adoption of transparent AMOLED displays. As these displays become increasingly prevalent in various applications, from smartphones to automotive windshields, the need for power-efficient solutions has become paramount. Transparent AMOLED displays face unique challenges in energy consumption due to their dual functionality of displaying information while maintaining transparency.
One of the primary strategies for improving energy efficiency in transparent AMOLED displays is the optimization of pixel architecture. By redesigning the pixel structure to maximize light transmission while maintaining display quality, manufacturers can reduce the power required to achieve desired brightness levels. This often involves the use of advanced materials and novel electrode designs that minimize light absorption and reflection.
Another key approach is the implementation of adaptive brightness control systems. These systems utilize ambient light sensors to adjust the display's brightness automatically, ensuring optimal visibility while conserving energy. In transparent displays, this technology must be fine-tuned to account for varying background light conditions that can affect the perceived brightness and clarity of displayed content.
Power management at the circuit level also plays a crucial role in enhancing energy efficiency. Advanced driver ICs and power management integrated circuits (PMICs) are being developed to reduce power consumption during both active and standby modes. These components often incorporate sophisticated algorithms that optimize power delivery based on the content being displayed and the ambient lighting conditions.
The use of low-power display modes is another effective strategy for conserving energy in transparent AMOLED displays. These modes can selectively activate only certain pixels or reduce the refresh rate when full display functionality is not required, significantly reducing power consumption during periods of low interactivity.
Advancements in OLED materials are also contributing to improved energy efficiency. Researchers are developing new emissive materials with higher quantum efficiency, which can produce the same level of brightness with less power input. Additionally, the exploration of alternative transparent conducting materials for electrodes aims to improve both transparency and conductivity, potentially leading to more efficient displays.
As the technology continues to evolve, the integration of energy harvesting techniques is being explored as a means to supplement power sources for transparent AMOLED displays. This could include the incorporation of transparent solar cells or the use of ambient light to generate small amounts of electricity, potentially extending battery life in portable devices or reducing the overall energy footprint in larger installations.
One of the primary strategies for improving energy efficiency in transparent AMOLED displays is the optimization of pixel architecture. By redesigning the pixel structure to maximize light transmission while maintaining display quality, manufacturers can reduce the power required to achieve desired brightness levels. This often involves the use of advanced materials and novel electrode designs that minimize light absorption and reflection.
Another key approach is the implementation of adaptive brightness control systems. These systems utilize ambient light sensors to adjust the display's brightness automatically, ensuring optimal visibility while conserving energy. In transparent displays, this technology must be fine-tuned to account for varying background light conditions that can affect the perceived brightness and clarity of displayed content.
Power management at the circuit level also plays a crucial role in enhancing energy efficiency. Advanced driver ICs and power management integrated circuits (PMICs) are being developed to reduce power consumption during both active and standby modes. These components often incorporate sophisticated algorithms that optimize power delivery based on the content being displayed and the ambient lighting conditions.
The use of low-power display modes is another effective strategy for conserving energy in transparent AMOLED displays. These modes can selectively activate only certain pixels or reduce the refresh rate when full display functionality is not required, significantly reducing power consumption during periods of low interactivity.
Advancements in OLED materials are also contributing to improved energy efficiency. Researchers are developing new emissive materials with higher quantum efficiency, which can produce the same level of brightness with less power input. Additionally, the exploration of alternative transparent conducting materials for electrodes aims to improve both transparency and conductivity, potentially leading to more efficient displays.
As the technology continues to evolve, the integration of energy harvesting techniques is being explored as a means to supplement power sources for transparent AMOLED displays. This could include the incorporation of transparent solar cells or the use of ambient light to generate small amounts of electricity, potentially extending battery life in portable devices or reducing the overall energy footprint in larger installations.
Unlock deeper insights with Patsnap Eureka Quick Research — get a full tech report to explore trends and direct your research. Try now!
Generate Your Research Report Instantly with AI Agent
Supercharge your innovation with Patsnap Eureka AI Agent Platform!