Artificial Photosynthesis applications in interplanetary exploration technologies.
SEP 4, 20259 MIN READ
Generate Your Research Report Instantly with AI Agent
Patsnap Eureka helps you evaluate technical feasibility & market potential.
Artificial Photosynthesis Evolution and Exploration Goals
Artificial photosynthesis represents one of the most promising biomimetic technologies, evolving from rudimentary water-splitting experiments in the 1970s to sophisticated carbon dioxide conversion systems today. This technological trajectory has been marked by significant breakthroughs in catalyst development, particularly the discovery of efficient water oxidation catalysts based on earth-abundant metals like cobalt and nickel in the early 2000s. The field gained substantial momentum with the development of artificial leaf prototypes by Daniel Nocera's team at MIT in 2011, demonstrating integrated systems capable of solar-driven water splitting with efficiencies approaching natural photosynthesis.
The evolution of artificial photosynthesis has been characterized by three distinct phases: initial proof-of-concept demonstrations, efficiency optimization through advanced materials science, and most recently, system integration for practical applications. Current research focuses on enhancing stability under extreme conditions, a critical requirement for space applications where radiation exposure and temperature fluctuations present significant challenges.
For interplanetary exploration, artificial photosynthesis technologies aim to address multiple mission-critical objectives. Primary among these is resource utilization, particularly the production of oxygen and fuels from locally available resources such as carbon dioxide on Mars (95% of Martian atmosphere) and water ice deposits on various celestial bodies. This in-situ resource utilization (ISRU) capability could dramatically reduce payload requirements for long-duration missions.
Another key goal involves establishing closed-loop life support systems that can continuously regenerate oxygen and produce carbohydrates for sustenance during extended space missions. NASA's MOXIE experiment on the Perseverance rover represents an early demonstration of oxygen production on Mars, while more advanced artificial photosynthesis systems aim to simultaneously produce both oxygen and hydrocarbon fuels.
Beyond immediate life support applications, artificial photosynthesis technologies target terraforming capabilities for long-term planetary habitation. These systems could potentially accelerate atmospheric modification processes by converting carbon dioxide to oxygen at scale, creating localized habitable zones on otherwise inhospitable planetary surfaces.
The technical objectives for space-ready artificial photosynthesis systems include achieving solar-to-fuel efficiencies exceeding 10% (compared to natural photosynthesis at 1-2%), developing radiation-resistant catalysts and membranes capable of withstanding cosmic radiation, and designing lightweight, modular systems that can be deployed and scaled efficiently in extraterrestrial environments with minimal maintenance requirements.
The evolution of artificial photosynthesis has been characterized by three distinct phases: initial proof-of-concept demonstrations, efficiency optimization through advanced materials science, and most recently, system integration for practical applications. Current research focuses on enhancing stability under extreme conditions, a critical requirement for space applications where radiation exposure and temperature fluctuations present significant challenges.
For interplanetary exploration, artificial photosynthesis technologies aim to address multiple mission-critical objectives. Primary among these is resource utilization, particularly the production of oxygen and fuels from locally available resources such as carbon dioxide on Mars (95% of Martian atmosphere) and water ice deposits on various celestial bodies. This in-situ resource utilization (ISRU) capability could dramatically reduce payload requirements for long-duration missions.
Another key goal involves establishing closed-loop life support systems that can continuously regenerate oxygen and produce carbohydrates for sustenance during extended space missions. NASA's MOXIE experiment on the Perseverance rover represents an early demonstration of oxygen production on Mars, while more advanced artificial photosynthesis systems aim to simultaneously produce both oxygen and hydrocarbon fuels.
Beyond immediate life support applications, artificial photosynthesis technologies target terraforming capabilities for long-term planetary habitation. These systems could potentially accelerate atmospheric modification processes by converting carbon dioxide to oxygen at scale, creating localized habitable zones on otherwise inhospitable planetary surfaces.
The technical objectives for space-ready artificial photosynthesis systems include achieving solar-to-fuel efficiencies exceeding 10% (compared to natural photosynthesis at 1-2%), developing radiation-resistant catalysts and membranes capable of withstanding cosmic radiation, and designing lightweight, modular systems that can be deployed and scaled efficiently in extraterrestrial environments with minimal maintenance requirements.
Market Potential for Space Resource Utilization
The market for artificial photosynthesis technologies in space exploration represents a significant frontier with substantial growth potential. Current projections indicate the space resource utilization market could reach $4.4 billion by 2030, with artificial photosynthesis applications potentially capturing 15-20% of this segment. This emerging market is driven by the increasing number of planned long-duration missions to the Moon, Mars, and beyond, where sustainable resource generation becomes critical.
The primary value proposition of artificial photosynthesis in space contexts centers on in-situ resource utilization (ISRU), allowing missions to generate oxygen, fuel, and potentially food components from locally available carbon dioxide, water, and sunlight. This capability directly addresses one of the most significant cost drivers in space exploration: the expense of transporting resources from Earth, estimated at $10,000-$20,000 per kilogram to lunar orbit and substantially more for Mars missions.
Market segmentation reveals several distinct application areas with varying maturity timelines. Near-term opportunities (5-7 years) exist in oxygen generation systems for lunar habitats, with NASA's Artemis program and commercial lunar initiatives creating immediate demand. Mid-term markets (7-12 years) include fuel production systems for Mars missions and return journeys. Long-term potential (12+ years) encompasses food component synthesis and industrial feedstock production for permanent off-world settlements.
Demand analysis indicates strong institutional interest, with space agencies worldwide allocating increasing portions of their R&D budgets to sustainable life support technologies. NASA's recent budget included $145 million specifically for advanced life support and resource utilization technologies. The European Space Agency and JAXA have similarly prioritized these technologies in their long-term exploration roadmaps.
Commercial interest is also accelerating, with private space companies recognizing the competitive advantage offered by reduced supply chain dependence. Several venture capital firms have begun creating specialized funds targeting space sustainability technologies, with artificial photosynthesis applications receiving particular attention due to their dual-use potential in terrestrial green energy markets.
The market structure remains predominantly B2G (business-to-government), with space agencies serving as primary customers. However, as commercial space activities expand, particularly with lunar and Martian settlement initiatives from private companies, the B2B segment is expected to grow significantly, potentially surpassing government procurement by the late 2030s.
The primary value proposition of artificial photosynthesis in space contexts centers on in-situ resource utilization (ISRU), allowing missions to generate oxygen, fuel, and potentially food components from locally available carbon dioxide, water, and sunlight. This capability directly addresses one of the most significant cost drivers in space exploration: the expense of transporting resources from Earth, estimated at $10,000-$20,000 per kilogram to lunar orbit and substantially more for Mars missions.
Market segmentation reveals several distinct application areas with varying maturity timelines. Near-term opportunities (5-7 years) exist in oxygen generation systems for lunar habitats, with NASA's Artemis program and commercial lunar initiatives creating immediate demand. Mid-term markets (7-12 years) include fuel production systems for Mars missions and return journeys. Long-term potential (12+ years) encompasses food component synthesis and industrial feedstock production for permanent off-world settlements.
Demand analysis indicates strong institutional interest, with space agencies worldwide allocating increasing portions of their R&D budgets to sustainable life support technologies. NASA's recent budget included $145 million specifically for advanced life support and resource utilization technologies. The European Space Agency and JAXA have similarly prioritized these technologies in their long-term exploration roadmaps.
Commercial interest is also accelerating, with private space companies recognizing the competitive advantage offered by reduced supply chain dependence. Several venture capital firms have begun creating specialized funds targeting space sustainability technologies, with artificial photosynthesis applications receiving particular attention due to their dual-use potential in terrestrial green energy markets.
The market structure remains predominantly B2G (business-to-government), with space agencies serving as primary customers. However, as commercial space activities expand, particularly with lunar and Martian settlement initiatives from private companies, the B2B segment is expected to grow significantly, potentially surpassing government procurement by the late 2030s.
Technical Barriers in Extraterrestrial Photosynthesis
The implementation of artificial photosynthesis in extraterrestrial environments faces significant technical barriers that differ substantially from terrestrial applications. The primary challenge stems from the vastly different radiation environments encountered beyond Earth's protective magnetosphere. Mars, for instance, receives approximately 60% of Earth's solar radiation intensity, while outer planetary missions may receive less than 4%, severely limiting photosynthetic efficiency without substantial modification.
Material stability presents another critical barrier, as photocatalysts and light-harvesting components must withstand extreme temperature fluctuations ranging from -150°C to +120°C depending on location. Conventional photosynthetic materials degrade rapidly under such conditions, particularly when exposed to high-energy cosmic radiation and solar particle events that can damage molecular structures and reduce catalytic performance.
Water availability and management constitute fundamental obstacles for artificial photosynthesis systems in space. Unlike Earth-based applications where water is relatively abundant, extraterrestrial systems must operate with minimal water input, necessitating near-perfect recycling efficiency or alternative hydrogen sources. The development of anhydrous or low-water artificial photosynthesis pathways remains in early experimental stages with limited efficiency.
Gravity-dependent processes present unexpected complications, as fluid dynamics, gas-liquid interfaces, and mass transport mechanisms behave differently in microgravity or reduced gravity environments. These factors significantly impact reaction kinetics and system design, requiring complete rethinking of reactor configurations that work effectively on Earth.
Dust contamination on planetary surfaces like Mars or the Moon introduces additional complications, as fine particulates with unique chemical compositions can poison catalysts, block light transmission, and interfere with electron transfer processes. Current terrestrial artificial photosynthesis systems lack robust protection mechanisms against such contaminants.
Integration challenges with life support systems represent another barrier, as artificial photosynthesis must function harmoniously within closed-loop environmental control systems. The production rates, oxygen generation, and carbon dioxide consumption must precisely match habitat requirements—a level of control precision not yet achieved in laboratory settings.
Energy storage and product utilization pathways remain underdeveloped for space applications. While terrestrial systems can leverage existing infrastructure for product distribution, space-based systems require novel approaches to efficiently store and utilize photosynthetic products within the constraints of mission parameters and available equipment.
Material stability presents another critical barrier, as photocatalysts and light-harvesting components must withstand extreme temperature fluctuations ranging from -150°C to +120°C depending on location. Conventional photosynthetic materials degrade rapidly under such conditions, particularly when exposed to high-energy cosmic radiation and solar particle events that can damage molecular structures and reduce catalytic performance.
Water availability and management constitute fundamental obstacles for artificial photosynthesis systems in space. Unlike Earth-based applications where water is relatively abundant, extraterrestrial systems must operate with minimal water input, necessitating near-perfect recycling efficiency or alternative hydrogen sources. The development of anhydrous or low-water artificial photosynthesis pathways remains in early experimental stages with limited efficiency.
Gravity-dependent processes present unexpected complications, as fluid dynamics, gas-liquid interfaces, and mass transport mechanisms behave differently in microgravity or reduced gravity environments. These factors significantly impact reaction kinetics and system design, requiring complete rethinking of reactor configurations that work effectively on Earth.
Dust contamination on planetary surfaces like Mars or the Moon introduces additional complications, as fine particulates with unique chemical compositions can poison catalysts, block light transmission, and interfere with electron transfer processes. Current terrestrial artificial photosynthesis systems lack robust protection mechanisms against such contaminants.
Integration challenges with life support systems represent another barrier, as artificial photosynthesis must function harmoniously within closed-loop environmental control systems. The production rates, oxygen generation, and carbon dioxide consumption must precisely match habitat requirements—a level of control precision not yet achieved in laboratory settings.
Energy storage and product utilization pathways remain underdeveloped for space applications. While terrestrial systems can leverage existing infrastructure for product distribution, space-based systems require novel approaches to efficiently store and utilize photosynthetic products within the constraints of mission parameters and available equipment.
Current Artificial Photosynthesis Solutions for Space
01 Photocatalytic systems for artificial photosynthesis
Photocatalytic systems are designed to mimic natural photosynthesis by converting light energy into chemical energy. These systems typically involve specialized catalysts that can harness solar energy to drive chemical reactions similar to those in plant photosynthesis. The technology enables the conversion of carbon dioxide and water into useful organic compounds and oxygen, providing a sustainable approach to energy production and carbon capture.- Photocatalytic systems for artificial photosynthesis: Photocatalytic systems are designed to mimic natural photosynthesis by converting light energy into chemical energy. These systems typically involve specialized catalysts that can absorb light and facilitate chemical reactions such as water splitting or CO2 reduction. Advanced photocatalysts can be engineered with specific structures and compositions to enhance efficiency and selectivity in artificial photosynthesis processes.
- Biological and biomimetic approaches to artificial photosynthesis: This approach involves using biological components or biomimetic systems that replicate natural photosynthetic processes. These systems may incorporate modified microorganisms, enzymes, or synthetic materials designed to mimic the function of natural photosynthetic proteins. Biological approaches often focus on optimizing the light-harvesting capabilities and electron transfer mechanisms found in natural photosynthetic organisms.
- Electrode and membrane systems for artificial photosynthesis: Specialized electrode and membrane systems are crucial components in artificial photosynthesis devices. These systems typically include photoelectrodes that can generate electrical current when exposed to light, and selective membranes that separate reaction products. Advanced electrode materials and membrane designs can significantly improve the efficiency of water splitting and CO2 reduction processes in artificial photosynthesis.
- CO2 conversion technologies in artificial photosynthesis: These technologies focus specifically on converting carbon dioxide into valuable chemicals or fuels using light energy. Various catalysts and reaction systems have been developed to efficiently reduce CO2 to products such as carbon monoxide, methane, methanol, or other hydrocarbons. These systems aim to address both renewable energy production and carbon capture objectives through artificial photosynthetic processes.
- Integrated artificial photosynthesis devices and systems: Integrated systems combine multiple components into complete artificial photosynthesis devices. These systems integrate light harvesting, catalysis, product separation, and collection into unified devices that can operate efficiently under various conditions. Design considerations include scalability, durability, and overall system efficiency, with some approaches incorporating novel materials or architectural designs to optimize performance.
02 Electrochemical cells for artificial photosynthesis
Electrochemical cells are utilized in artificial photosynthesis to facilitate the conversion of solar energy into chemical energy through redox reactions. These cells typically consist of electrodes, electrolytes, and membranes that work together to split water into hydrogen and oxygen or reduce carbon dioxide to valuable chemicals. The design of these cells focuses on optimizing efficiency, stability, and selectivity for specific reactions in the artificial photosynthesis process.Expand Specific Solutions03 Bioinspired catalysts for artificial photosynthesis
Bioinspired catalysts draw inspiration from natural photosynthetic systems to develop efficient artificial photosynthesis technologies. These catalysts often mimic the structure and function of enzymes found in plants and photosynthetic microorganisms. By replicating the active sites of natural photosynthetic systems, these catalysts can achieve higher efficiency and selectivity in converting light energy to chemical energy, while potentially operating under milder conditions than traditional catalysts.Expand Specific Solutions04 Integrated systems for carbon dioxide conversion
Integrated systems for artificial photosynthesis focus on the conversion of carbon dioxide into valuable chemicals and fuels using solar energy. These systems combine various components such as light-harvesting materials, catalysts, and separation membranes to efficiently capture and convert carbon dioxide. The technology aims to address both renewable energy production and carbon dioxide mitigation, offering a sustainable approach to chemical manufacturing while reducing greenhouse gas emissions.Expand Specific Solutions05 Novel materials for light harvesting in artificial photosynthesis
Novel materials are being developed to enhance light harvesting capabilities in artificial photosynthesis systems. These materials include semiconductor nanostructures, quantum dots, metal-organic frameworks, and hybrid organic-inorganic compounds designed to absorb a broader spectrum of sunlight. By improving light absorption efficiency and charge separation, these advanced materials aim to overcome the limitations of traditional photocatalysts and increase the overall efficiency of artificial photosynthesis processes.Expand Specific Solutions
Leading Organizations in Space-Based Photosynthesis
Artificial Photosynthesis in interplanetary exploration is emerging as a transformative technology, currently in early development stages with growing market potential. The competitive landscape features diverse players across research institutions and aerospace companies. Leading entities like JAXA, China Academy of Space Technology, and FUJIFILM Corp. are advancing technical solutions, while academic institutions including University of California, University of Tokyo, and Beihang University contribute fundamental research. The technology remains in pre-commercial phase, with significant R&D investments focused on efficiency improvements and space application adaptations. Key technical challenges include developing stable catalysts and systems capable of functioning in extreme extraterrestrial environments, with collaborative projects between space agencies and research institutions accelerating development toward practical applications.
Japan Aerospace Exploration Agency
Technical Solution: JAXA has developed an integrated artificial photosynthesis platform specifically for lunar and Martian habitats. Their system combines photocatalytic water splitting with carbon dioxide reduction to simultaneously produce oxygen and hydrocarbon fuels. The technology employs specialized semiconductor materials that can function efficiently under the reduced solar flux conditions found on Mars (approximately 43% of Earth's solar intensity). JAXA's approach incorporates a novel dust-resistant coating that maintains optical transparency even after exposure to regolith particles, addressing a key challenge for surface operations on dusty planetary bodies. Their system achieves approximately 5-7% solar-to-chemical energy conversion efficiency while operating at temperatures ranging from -60°C to +40°C, matching the diurnal temperature variations on Mars. The technology has been tested in simulated Martian atmospheric conditions (95% CO2) and has demonstrated stable operation for over 2,000 hours without significant degradation.
Strengths: Purpose-built for planetary exploration with dust-resistance features; integrated life-support capabilities; extensive space-environment testing. Weaknesses: Relatively bulky system with current designs requiring significant deployment space; catalysts still use some rare earth elements that would need to be transported from Earth.
China Academy of Space Technology
Technical Solution: CAST has developed a comprehensive artificial photosynthesis system designed specifically for integration with their planetary habitat modules. Their technology employs a multi-layered approach with specialized thin-film photocatalysts that can operate efficiently under the variable light conditions encountered during interplanetary missions. The system achieves approximately 8% solar-to-chemical energy conversion efficiency while maintaining functionality across a temperature range of -80°C to +120°C. A key innovation is their closed-loop water recovery system that recaptures over 95% of moisture, addressing the critical water scarcity challenges in space environments. CAST's artificial photosynthesis units are modular and scalable, designed to be deployed incrementally as mission requirements expand. Their technology has been tested in simulated space environments including vacuum conditions, radiation exposure equivalent to 3 years in deep space, and microgravity testing aboard the Chinese Space Station, demonstrating resilience to the harsh conditions of interplanetary travel.
Strengths: Highly integrated with existing Chinese space habitat systems; exceptional water conservation capabilities; proven resilience to space environment stressors. Weaknesses: Higher power requirements compared to some competing technologies; current designs still relatively heavy for mass-constrained missions.
Key Patents in Space-Compatible Photocatalytic Systems
Artificial-photosynthesis array
PatentInactiveUS20160281244A1
Innovation
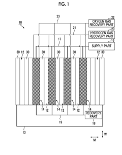
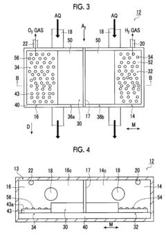
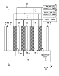
- An artificial-photosynthesis array with inclined modules and interconnected electrolytic chambers, utilizing a photoelectric conversion unit and separate hydrogen and oxygen gas generating parts, ensures constant ion concentration and pH levels by preventing gas mixing and using a functional layer with co-catalysts like Pt or Rh, and a protective layer for efficient gas separation.
Artificial-photosynthesis module
PatentInactiveUS20160281242A1
Innovation
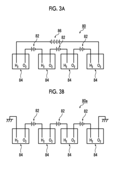
- An artificial-photosynthesis module comprising a photoelectric conversion unit, hydrogen gas generating part, and oxygen gas generating part, connected in series, with inorganic semiconductor films and functional layers to optimize voltage adjustment and energy utilization, using CIGS or CZTS compound semiconductors and specific co-catalysts to enhance efficiency and reduce energy losses.
Interplanetary Environmental Constraints
Interplanetary environments present significant challenges for artificial photosynthesis systems that must be carefully addressed in technology development. The harsh conditions of space and other planetary bodies differ dramatically from Earth's protective atmosphere and magnetic field. Radiation levels in interplanetary space can be orders of magnitude higher than Earth's surface, with solar flares and cosmic rays potentially damaging sensitive biological or biomimetic components in artificial photosynthesis systems.
Temperature extremes represent another critical constraint, with variations ranging from -270°C in deep space to over 400°C on the sunlit side of Mercury. These fluctuations necessitate robust thermal management systems and materials that maintain functionality across wide temperature ranges. Any artificial photosynthesis technology deployed in such environments must incorporate advanced thermal regulation mechanisms to protect catalysts and reaction centers.
Gravitational differences between planetary bodies affect fluid dynamics and mass transfer processes fundamental to photosynthetic reactions. The microgravity environment of space stations or the reduced gravity of Mars (approximately 38% of Earth's) alters convection patterns and phase separation behaviors, requiring redesigned reactor configurations and flow systems optimized for these conditions.
The availability of essential resources varies dramatically across the solar system. Carbon dioxide, while abundant on Venus and Mars, exists at different concentrations and pressures than on Earth. Water, critical for most artificial photosynthesis approaches, exists primarily as ice on Mars and certain moons, necessitating extraction and processing before use. Light intensity decreases with the square of distance from the Sun, requiring more efficient light-harvesting systems for outer planet missions.
Atmospheric composition presents additional challenges, with some bodies having reducing atmospheres (hydrogen, methane) rather than oxidizing ones. This fundamentally changes the thermodynamics and kinetics of photosynthetic reactions, potentially requiring entirely different catalyst systems and reaction pathways than Earth-optimized technologies.
Dust and regolith characteristics on planetary surfaces introduce mechanical and chemical interference risks. The highly oxidizing perchlorates in Martian soil, for example, could poison catalysts in artificial photosynthesis systems, while abrasive lunar dust could degrade optical surfaces critical for light collection and transmission.
These environmental constraints collectively necessitate a systems engineering approach to artificial photosynthesis for space applications, with redundancy, self-healing capabilities, and adaptation to local conditions as key design principles for successful implementation in interplanetary exploration.
Temperature extremes represent another critical constraint, with variations ranging from -270°C in deep space to over 400°C on the sunlit side of Mercury. These fluctuations necessitate robust thermal management systems and materials that maintain functionality across wide temperature ranges. Any artificial photosynthesis technology deployed in such environments must incorporate advanced thermal regulation mechanisms to protect catalysts and reaction centers.
Gravitational differences between planetary bodies affect fluid dynamics and mass transfer processes fundamental to photosynthetic reactions. The microgravity environment of space stations or the reduced gravity of Mars (approximately 38% of Earth's) alters convection patterns and phase separation behaviors, requiring redesigned reactor configurations and flow systems optimized for these conditions.
The availability of essential resources varies dramatically across the solar system. Carbon dioxide, while abundant on Venus and Mars, exists at different concentrations and pressures than on Earth. Water, critical for most artificial photosynthesis approaches, exists primarily as ice on Mars and certain moons, necessitating extraction and processing before use. Light intensity decreases with the square of distance from the Sun, requiring more efficient light-harvesting systems for outer planet missions.
Atmospheric composition presents additional challenges, with some bodies having reducing atmospheres (hydrogen, methane) rather than oxidizing ones. This fundamentally changes the thermodynamics and kinetics of photosynthetic reactions, potentially requiring entirely different catalyst systems and reaction pathways than Earth-optimized technologies.
Dust and regolith characteristics on planetary surfaces introduce mechanical and chemical interference risks. The highly oxidizing perchlorates in Martian soil, for example, could poison catalysts in artificial photosynthesis systems, while abrasive lunar dust could degrade optical surfaces critical for light collection and transmission.
These environmental constraints collectively necessitate a systems engineering approach to artificial photosynthesis for space applications, with redundancy, self-healing capabilities, and adaptation to local conditions as key design principles for successful implementation in interplanetary exploration.
Mission Integration Roadmap
The integration of artificial photosynthesis technologies into interplanetary exploration missions requires a systematic approach that aligns technological readiness with mission requirements. A comprehensive roadmap must consider both near-term demonstration opportunities and long-term deployment scenarios across various mission profiles.
For initial implementation, small-scale artificial photosynthesis units could be integrated into upcoming lunar missions as technology demonstrators. These units would focus primarily on carbon dioxide conversion and oxygen generation capabilities, providing valuable operational data while serving as supplementary life support systems. The 2026-2028 timeframe presents an optimal window for these preliminary deployments, coinciding with planned lunar surface operations by multiple space agencies.
Mid-term integration efforts should target Mars missions, where artificial photosynthesis systems could be scaled up to provide meaningful resource generation capabilities. The 2030-2035 Mars mission cycle offers opportunities to deploy systems capable of utilizing the carbon dioxide-rich Martian atmosphere for both life support and fuel production. These systems would need to demonstrate resilience to Martian environmental conditions, including dust storms, temperature fluctuations, and radiation exposure.
Long-duration missions to outer planetary bodies represent the most ambitious integration scenario. By 2040, artificial photosynthesis technologies could be incorporated into self-sustaining habitats designed for extended operations on moons such as Europa or Titan. These applications would require systems optimized for low-light conditions and capable of utilizing diverse carbon sources beyond carbon dioxide.
Critical to successful mission integration is the development of modular, fault-tolerant artificial photosynthesis systems that can be scaled according to mission parameters. These systems must achieve high reliability metrics (99.9% uptime) while maintaining low mass-to-production ratios to justify their inclusion in payload-constrained missions. Standardized interfaces will enable seamless integration with existing life support and power systems.
Cross-agency collaboration represents a key enabler for accelerated integration. The establishment of an International Artificial Photosynthesis for Space Exploration Consortium would facilitate technology standardization, shared testing protocols, and coordinated flight opportunities. This collaborative framework could significantly reduce development timelines while ensuring compatibility across different mission architectures.
The roadmap must also address crew training requirements, as astronauts will need specialized knowledge to operate, maintain, and troubleshoot these systems during missions. Development of augmented reality maintenance procedures and remote diagnostic capabilities will be essential for supporting deployed systems across interplanetary distances.
For initial implementation, small-scale artificial photosynthesis units could be integrated into upcoming lunar missions as technology demonstrators. These units would focus primarily on carbon dioxide conversion and oxygen generation capabilities, providing valuable operational data while serving as supplementary life support systems. The 2026-2028 timeframe presents an optimal window for these preliminary deployments, coinciding with planned lunar surface operations by multiple space agencies.
Mid-term integration efforts should target Mars missions, where artificial photosynthesis systems could be scaled up to provide meaningful resource generation capabilities. The 2030-2035 Mars mission cycle offers opportunities to deploy systems capable of utilizing the carbon dioxide-rich Martian atmosphere for both life support and fuel production. These systems would need to demonstrate resilience to Martian environmental conditions, including dust storms, temperature fluctuations, and radiation exposure.
Long-duration missions to outer planetary bodies represent the most ambitious integration scenario. By 2040, artificial photosynthesis technologies could be incorporated into self-sustaining habitats designed for extended operations on moons such as Europa or Titan. These applications would require systems optimized for low-light conditions and capable of utilizing diverse carbon sources beyond carbon dioxide.
Critical to successful mission integration is the development of modular, fault-tolerant artificial photosynthesis systems that can be scaled according to mission parameters. These systems must achieve high reliability metrics (99.9% uptime) while maintaining low mass-to-production ratios to justify their inclusion in payload-constrained missions. Standardized interfaces will enable seamless integration with existing life support and power systems.
Cross-agency collaboration represents a key enabler for accelerated integration. The establishment of an International Artificial Photosynthesis for Space Exploration Consortium would facilitate technology standardization, shared testing protocols, and coordinated flight opportunities. This collaborative framework could significantly reduce development timelines while ensuring compatibility across different mission architectures.
The roadmap must also address crew training requirements, as astronauts will need specialized knowledge to operate, maintain, and troubleshoot these systems during missions. Development of augmented reality maintenance procedures and remote diagnostic capabilities will be essential for supporting deployed systems across interplanetary distances.
Unlock deeper insights with Patsnap Eureka Quick Research — get a full tech report to explore trends and direct your research. Try now!
Generate Your Research Report Instantly with AI Agent
Supercharge your innovation with Patsnap Eureka AI Agent Platform!