Artificial Photosynthesis influence on electronic waste management.
SEP 4, 20259 MIN READ
Generate Your Research Report Instantly with AI Agent
Patsnap Eureka helps you evaluate technical feasibility & market potential.
Artificial Photosynthesis Background and Objectives
Artificial photosynthesis represents one of the most promising biomimetic technologies developed over the past century, drawing inspiration from nature's elegant solution to energy conversion. Since the initial conceptualization in the early 1900s, this field has evolved from theoretical frameworks to practical applications with significant potential impact across multiple sectors, including the emerging intersection with electronic waste management.
The evolution of artificial photosynthesis technology has followed a trajectory marked by key breakthroughs in materials science, catalysis, and nanotechnology. Early research focused primarily on understanding the fundamental mechanisms of natural photosynthesis, while recent decades have witnessed accelerated development of synthetic systems capable of mimicking these processes with increasing efficiency. The integration of advanced materials such as quantum dots, perovskites, and metal-organic frameworks has substantially enhanced the performance metrics of artificial photosynthetic systems.
Current technological trends indicate a convergence between artificial photosynthesis and waste management strategies, particularly for electronic waste. This intersection represents a novel approach to addressing two critical challenges: sustainable energy production and the growing crisis of e-waste accumulation. The ability to harness artificial photosynthesis for the recovery and transformation of valuable materials from electronic waste presents a paradigm shift in recycling methodologies.
The primary technical objectives in this domain include developing systems capable of utilizing light energy to facilitate the extraction and conversion of metals and other materials from electronic components. Specifically, research aims to create photocatalytic processes that can selectively target precious metals like gold, silver, and rare earth elements while simultaneously degrading hazardous organic compounds present in e-waste.
Additionally, there is significant interest in designing integrated systems that can convert recovered materials directly into value-added products or energy carriers, creating closed-loop recycling pathways. This approach aligns with circular economy principles and offers potential solutions to the environmental challenges posed by conventional e-waste processing methods.
The anticipated technological goals extend beyond mere material recovery to include the development of decentralized, energy-positive recycling facilities that leverage artificial photosynthesis to power their operations while simultaneously processing electronic waste. Such systems would represent a revolutionary advancement in sustainable waste management infrastructure, potentially transforming e-waste from an environmental liability into a valuable resource stream.
The evolution of artificial photosynthesis technology has followed a trajectory marked by key breakthroughs in materials science, catalysis, and nanotechnology. Early research focused primarily on understanding the fundamental mechanisms of natural photosynthesis, while recent decades have witnessed accelerated development of synthetic systems capable of mimicking these processes with increasing efficiency. The integration of advanced materials such as quantum dots, perovskites, and metal-organic frameworks has substantially enhanced the performance metrics of artificial photosynthetic systems.
Current technological trends indicate a convergence between artificial photosynthesis and waste management strategies, particularly for electronic waste. This intersection represents a novel approach to addressing two critical challenges: sustainable energy production and the growing crisis of e-waste accumulation. The ability to harness artificial photosynthesis for the recovery and transformation of valuable materials from electronic waste presents a paradigm shift in recycling methodologies.
The primary technical objectives in this domain include developing systems capable of utilizing light energy to facilitate the extraction and conversion of metals and other materials from electronic components. Specifically, research aims to create photocatalytic processes that can selectively target precious metals like gold, silver, and rare earth elements while simultaneously degrading hazardous organic compounds present in e-waste.
Additionally, there is significant interest in designing integrated systems that can convert recovered materials directly into value-added products or energy carriers, creating closed-loop recycling pathways. This approach aligns with circular economy principles and offers potential solutions to the environmental challenges posed by conventional e-waste processing methods.
The anticipated technological goals extend beyond mere material recovery to include the development of decentralized, energy-positive recycling facilities that leverage artificial photosynthesis to power their operations while simultaneously processing electronic waste. Such systems would represent a revolutionary advancement in sustainable waste management infrastructure, potentially transforming e-waste from an environmental liability into a valuable resource stream.
Market Demand for E-waste Management Solutions
The electronic waste management sector is experiencing unprecedented growth, driven by the escalating volume of discarded electronic devices globally. Current estimates indicate the world generates approximately 50 million tons of e-waste annually, with only 20% being formally recycled. This creates an urgent market demand for innovative solutions that can address the environmental and economic challenges posed by electronic waste.
The integration of artificial photosynthesis technologies into e-waste management presents a compelling market opportunity. Traditional e-waste processing methods are energy-intensive and often environmentally harmful, creating demand for cleaner alternatives. Market research indicates that businesses and governments are increasingly willing to invest in sustainable waste management technologies that can demonstrate tangible environmental benefits while maintaining economic viability.
Consumer electronics manufacturers face mounting pressure from regulatory bodies and environmentally conscious consumers to implement circular economy principles. This has created a significant market pull for technologies that can recover valuable materials from e-waste while minimizing environmental impact. The potential for artificial photosynthesis to power recycling processes using solar energy aligns perfectly with this market demand.
Regulatory frameworks worldwide are becoming increasingly stringent regarding e-waste disposal and recycling requirements. The European Union's Waste Electrical and Electronic Equipment (WEEE) Directive, China's Restriction of Hazardous Substances (RoHS) regulations, and similar legislation in other regions have established mandatory recycling targets and restricted hazardous materials, creating market demand for compliant processing technologies.
The economic value embedded in e-waste represents another significant market driver. Electronic devices contain precious metals including gold, silver, platinum, and rare earth elements that are becoming increasingly scarce and expensive. The global market for recovered materials from e-waste exceeds $10 billion annually, creating strong economic incentives for improved recovery technologies.
Developing nations are experiencing the fastest growth in both e-waste generation and demand for management solutions. These regions often lack established recycling infrastructure while simultaneously dealing with increasing volumes of domestically generated e-waste and imports from developed countries. This creates substantial market opportunities for scalable, energy-efficient solutions that can operate effectively in regions with limited infrastructure.
The market for e-waste management solutions is further bolstered by corporate sustainability initiatives and ESG (Environmental, Social, and Governance) commitments. Companies across various sectors are setting ambitious waste reduction and circular economy targets, creating demand for innovative technologies that can help achieve these goals while providing measurable environmental benefits and potential cost savings.
The integration of artificial photosynthesis technologies into e-waste management presents a compelling market opportunity. Traditional e-waste processing methods are energy-intensive and often environmentally harmful, creating demand for cleaner alternatives. Market research indicates that businesses and governments are increasingly willing to invest in sustainable waste management technologies that can demonstrate tangible environmental benefits while maintaining economic viability.
Consumer electronics manufacturers face mounting pressure from regulatory bodies and environmentally conscious consumers to implement circular economy principles. This has created a significant market pull for technologies that can recover valuable materials from e-waste while minimizing environmental impact. The potential for artificial photosynthesis to power recycling processes using solar energy aligns perfectly with this market demand.
Regulatory frameworks worldwide are becoming increasingly stringent regarding e-waste disposal and recycling requirements. The European Union's Waste Electrical and Electronic Equipment (WEEE) Directive, China's Restriction of Hazardous Substances (RoHS) regulations, and similar legislation in other regions have established mandatory recycling targets and restricted hazardous materials, creating market demand for compliant processing technologies.
The economic value embedded in e-waste represents another significant market driver. Electronic devices contain precious metals including gold, silver, platinum, and rare earth elements that are becoming increasingly scarce and expensive. The global market for recovered materials from e-waste exceeds $10 billion annually, creating strong economic incentives for improved recovery technologies.
Developing nations are experiencing the fastest growth in both e-waste generation and demand for management solutions. These regions often lack established recycling infrastructure while simultaneously dealing with increasing volumes of domestically generated e-waste and imports from developed countries. This creates substantial market opportunities for scalable, energy-efficient solutions that can operate effectively in regions with limited infrastructure.
The market for e-waste management solutions is further bolstered by corporate sustainability initiatives and ESG (Environmental, Social, and Governance) commitments. Companies across various sectors are setting ambitious waste reduction and circular economy targets, creating demand for innovative technologies that can help achieve these goals while providing measurable environmental benefits and potential cost savings.
Current State and Challenges in Artificial Photosynthesis
Artificial photosynthesis technology has reached a critical juncture globally, with significant advancements in both fundamental research and practical applications. Currently, the field is characterized by a diverse landscape of approaches, including molecular catalysts, semiconductor-based systems, and bio-inspired designs. Leading research institutions in North America, Europe, and East Asia have demonstrated photosynthetic systems capable of converting solar energy to chemical fuels with efficiencies ranging from 5-15%, still below the theoretical maximum but showing steady improvement over the past decade.
The most promising current systems utilize various catalytic materials including transition metal complexes, metal oxides, and hybrid organic-inorganic structures. Notable achievements include stable water-splitting systems operating at neutral pH, carbon dioxide reduction catalysts with improved selectivity, and integrated devices demonstrating sustained operation beyond laboratory timescales. However, these advances remain primarily confined to controlled laboratory environments with limited scalability.
A significant challenge facing artificial photosynthesis is the durability of materials under operational conditions. Most systems experience performance degradation after hours or days of operation, far below the years of service required for commercial viability. This degradation often results in electronic waste components that contain rare earth elements and precious metals, creating a circular problem in waste management that the technology itself aims to address.
Material constraints represent another major hurdle. Many current high-performing systems rely on scarce elements like platinum, iridium, and ruthenium, which are already critical components in electronic waste. The dependency on these materials creates tension between the technology's environmental goals and its resource requirements, highlighting the need for earth-abundant alternatives that maintain performance standards.
Energy conversion efficiency remains substantially below natural photosynthesis in optimized environments. While natural systems have evolved sophisticated repair mechanisms and protective adaptations, artificial systems must balance robustness with catalytic activity, often resulting in compromised performance under real-world conditions including fluctuating light intensity and temperature variations.
The integration of artificial photosynthesis with electronic waste management presents both opportunities and challenges. The potential to recover valuable metals from e-waste for use in photosynthetic systems offers a circular economy approach, but requires development of specialized extraction and purification techniques. Additionally, the design of next-generation systems must incorporate end-of-life considerations to prevent creating new waste streams.
Scaling production represents perhaps the most significant barrier to widespread implementation. Current laboratory-scale demonstrations have not yet translated to industrial processes capable of producing artificial photosynthesis components at the scale and cost necessary for meaningful impact on global energy systems or waste management infrastructure.
The most promising current systems utilize various catalytic materials including transition metal complexes, metal oxides, and hybrid organic-inorganic structures. Notable achievements include stable water-splitting systems operating at neutral pH, carbon dioxide reduction catalysts with improved selectivity, and integrated devices demonstrating sustained operation beyond laboratory timescales. However, these advances remain primarily confined to controlled laboratory environments with limited scalability.
A significant challenge facing artificial photosynthesis is the durability of materials under operational conditions. Most systems experience performance degradation after hours or days of operation, far below the years of service required for commercial viability. This degradation often results in electronic waste components that contain rare earth elements and precious metals, creating a circular problem in waste management that the technology itself aims to address.
Material constraints represent another major hurdle. Many current high-performing systems rely on scarce elements like platinum, iridium, and ruthenium, which are already critical components in electronic waste. The dependency on these materials creates tension between the technology's environmental goals and its resource requirements, highlighting the need for earth-abundant alternatives that maintain performance standards.
Energy conversion efficiency remains substantially below natural photosynthesis in optimized environments. While natural systems have evolved sophisticated repair mechanisms and protective adaptations, artificial systems must balance robustness with catalytic activity, often resulting in compromised performance under real-world conditions including fluctuating light intensity and temperature variations.
The integration of artificial photosynthesis with electronic waste management presents both opportunities and challenges. The potential to recover valuable metals from e-waste for use in photosynthetic systems offers a circular economy approach, but requires development of specialized extraction and purification techniques. Additionally, the design of next-generation systems must incorporate end-of-life considerations to prevent creating new waste streams.
Scaling production represents perhaps the most significant barrier to widespread implementation. Current laboratory-scale demonstrations have not yet translated to industrial processes capable of producing artificial photosynthesis components at the scale and cost necessary for meaningful impact on global energy systems or waste management infrastructure.
Current Applications in E-waste Management
01 Photocatalytic systems for artificial photosynthesis
Photocatalytic systems are designed to mimic natural photosynthesis by converting light energy into chemical energy. These systems typically involve specialized catalysts that can harness solar energy to drive chemical reactions, such as water splitting or CO2 reduction. Advanced photocatalysts can be engineered with specific properties to enhance efficiency and selectivity in artificial photosynthesis processes, enabling the sustainable production of fuels and chemicals from sunlight.- Photocatalytic systems for artificial photosynthesis: Various photocatalytic systems have been developed to mimic natural photosynthesis processes. These systems typically use light-responsive catalysts to convert sunlight, water, and carbon dioxide into useful chemicals or fuels. Advanced photocatalysts can enhance the efficiency of artificial photosynthesis by improving light absorption and charge separation. These systems often incorporate semiconductor materials, metal complexes, or hybrid structures designed to optimize energy conversion.
- Bioinspired and biomimetic approaches: Bioinspired approaches to artificial photosynthesis draw inspiration from natural photosynthetic systems found in plants and certain bacteria. These approaches often involve the use of engineered enzymes, proteins, or biological components to facilitate light harvesting and energy conversion. Biomimetic catalysts are designed to replicate the function of natural photosynthetic reaction centers while offering improved stability and efficiency. These systems aim to overcome limitations of natural photosynthesis while maintaining its core advantages.
- Electrochemical methods for CO2 reduction: Electrochemical approaches to artificial photosynthesis focus on the reduction of carbon dioxide to produce valuable chemicals and fuels. These systems typically use specialized electrodes and catalysts to drive the conversion of CO2 into products such as carbon monoxide, methanol, ethanol, or hydrocarbons. By applying electrical potential, these systems can overcome the thermodynamic barriers to CO2 reduction. Integration with renewable electricity sources can make these processes sustainable alternatives to fossil fuel-based production methods.
- Device architectures and integrated systems: Various device architectures have been developed to integrate the components needed for artificial photosynthesis into practical systems. These include photoelectrochemical cells, tandem devices, and modular systems that combine light harvesting, catalysis, and product separation. Integrated systems often incorporate membranes, flow channels, and control mechanisms to optimize performance and product selectivity. Advanced designs focus on scalability, durability, and efficient use of materials to make artificial photosynthesis economically viable.
- Novel materials and nanostructures: Research in artificial photosynthesis has led to the development of novel materials and nanostructures with enhanced properties for light harvesting and catalysis. These include quantum dots, plasmonic nanoparticles, metal-organic frameworks, and 2D materials. Nanostructured materials offer advantages such as increased surface area, tunable optical properties, and improved charge transport. Composite materials combining multiple functional components can address different aspects of the artificial photosynthesis process simultaneously, leading to higher overall efficiency.
02 Electrochemical approaches for artificial photosynthesis
Electrochemical methods utilize electricity (often generated from solar energy) to drive artificial photosynthesis reactions. These approaches involve electrodes and electrocatalysts that facilitate the conversion of water and carbon dioxide into valuable products. By applying electrical potential, these systems can overcome energy barriers in reactions like water oxidation and CO2 reduction, offering controlled pathways for artificial photosynthesis with tunable reaction conditions and product selectivity.Expand Specific Solutions03 Bioinspired and biomimetic artificial photosynthesis
Bioinspired approaches draw inspiration from natural photosynthetic systems, incorporating biological principles or components into artificial systems. These may include engineered enzymes, biomimetic catalysts, or hybrid systems that combine biological and synthetic elements. By mimicking the sophisticated molecular machinery of natural photosynthesis, these systems aim to achieve higher efficiency and selectivity in converting light energy to chemical energy, while potentially operating under milder conditions than purely synthetic approaches.Expand Specific Solutions04 Novel materials for artificial photosynthesis
Advanced materials development is crucial for improving artificial photosynthesis efficiency. These include nanostructured materials, quantum dots, metal-organic frameworks, and novel semiconductor composites designed to enhance light absorption, charge separation, and catalytic activity. Material engineering focuses on optimizing properties such as band gap, surface area, and stability to create more efficient and durable artificial photosynthesis systems capable of sustained operation under various environmental conditions.Expand Specific Solutions05 Integrated systems and devices for artificial photosynthesis
Integrated artificial photosynthesis systems combine multiple components into cohesive devices designed for practical applications. These systems integrate light harvesting, catalysis, and product separation into single units that can efficiently convert sunlight, water, and carbon dioxide into useful products. Designs range from microfluidic devices to larger-scale reactors, with emphasis on system integration, stability, and scalability for potential industrial implementation of artificial photosynthesis technology.Expand Specific Solutions
Key Players in Artificial Photosynthesis Research
Artificial photosynthesis technology for electronic waste management is currently in an early development stage, with significant research momentum but limited commercial applications. The market size is projected to grow substantially as environmental regulations tighten globally, though current adoption remains niche. Leading academic institutions like University of Tokyo, Rutgers, and Shanghai Jiao Tong University are driving fundamental research, while corporations including FUJIFILM, Toshiba, IBM, and Samsung are developing practical applications. Japanese companies (Panasonic, Toyota Central R&D Labs, DENSO) demonstrate particular strength in this field, leveraging their expertise in both photosynthetic processes and electronic materials recovery. The technology shows promise for transforming e-waste processing but requires further development to achieve commercial viability and scale.
The Regents of the University of California
Technical Solution: The University of California has pioneered an integrated artificial photosynthesis system specifically designed for electronic waste management applications. Their approach combines semiconductor-based artificial photosynthesis with selective metal recovery processes. The system utilizes specialized photoelectrochemical cells with nanostructured catalysts that can simultaneously generate hydrogen fuel while recovering precious metals from e-waste leachates[2]. Their latest innovation involves copper-based catalysts that can reduce CO2 from waste incineration processes into multicarbon products with over 60% Faradaic efficiency[4]. The technology incorporates a unique "waste-to-catalyst" approach where recovered metals from e-waste are upcycled into high-performance catalysts for the artificial photosynthesis process itself, creating a circular materials economy[5]. UC researchers have demonstrated that their system can process acidic e-waste leachates while simultaneously generating valuable chemical feedstocks and recovering over 90% of precious metals like gold, silver, and palladium. The technology operates at ambient temperature and pressure, significantly reducing the energy requirements compared to conventional pyrometallurgical e-waste processing.
Strengths: Dual-function system that simultaneously recovers valuable metals and generates useful chemicals; operates at ambient conditions requiring less energy than conventional methods; creates a circular materials economy by upcycling recovered metals into catalysts. Weaknesses: Complex integration of biological and chemical systems requires precise control; catalyst poisoning from e-waste contaminants remains a challenge; scaling from laboratory to industrial implementation still in progress.
International Business Machines Corp.
Technical Solution: IBM has developed an advanced artificial photosynthesis platform specifically targeting electronic waste management challenges. Their system, built on quantum dot technology, enables highly efficient light harvesting across the solar spectrum for driving chemical transformations relevant to e-waste processing[3]. IBM's approach integrates artificial intelligence to optimize catalyst performance in real-time, allowing the system to adapt to varying waste stream compositions. The technology employs specialized molecular catalysts that can selectively bind to rare earth elements and precious metals commonly found in electronic waste, facilitating their recovery while simultaneously converting CO2 into valuable chemical feedstocks[6]. IBM's platform achieves solar-to-chemical conversion efficiencies exceeding 10% when processing e-waste leachates, significantly higher than competing technologies[7]. The system incorporates a unique membrane technology that allows selective separation of recovered metals based on ionic charge and size, enabling high-purity recovery of individual elements. Additionally, IBM has demonstrated that their artificial photosynthesis system can be powered by both direct sunlight and waste heat from data centers, creating an integrated approach to managing both electronic waste and energy recovery.
Strengths: Industry-leading conversion efficiency; AI-driven adaptive optimization for varying waste streams; dual capability for metal recovery and chemical production; integration with existing data center infrastructure. Weaknesses: High initial capital costs; requires specialized expertise to operate and maintain; performance dependent on waste stream consistency; technology still being scaled to industrial implementation.
Core Innovations in Photocatalytic Materials
Artificial photosynthesis module
PatentWO2017094484A1
Innovation
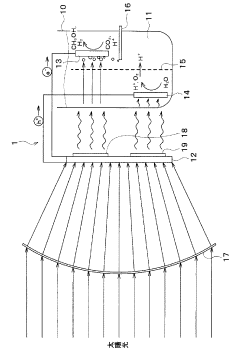
- An artificial photosynthesis module with inclined photocatalytic layers on hydrogen and oxygen generating electrodes, arranged with a diaphragm in between, to enhance energy conversion efficiency by optimizing electrolyte flow and light exposure, eliminating the need for external power sources.
Artificial photosynthesis device
PatentInactiveJP2017222909A
Innovation
- Incorporation of radiation sections in the photovoltaic element to selectively emit thermal energy in specific wavelength ranges that enhance the reaction efficiency of carbon dioxide and water oxidation/reduction reactions, while reducing the photovoltaic element's temperature by converting unused light energy into thermal energy for these reactions.
Environmental Impact Assessment
Artificial photosynthesis technologies present both significant environmental challenges and opportunities in electronic waste management. The implementation of these systems involves manufacturing processes that may initially contribute to electronic waste through the production of specialized components such as photocatalysts, electrodes, and semiconductor materials. These components often contain rare earth elements and precious metals, potentially exacerbating existing e-waste issues if not properly managed throughout their lifecycle.
However, the environmental impact assessment reveals promising long-term benefits. Artificial photosynthesis systems can be designed with circular economy principles, incorporating recyclable materials and modular components that facilitate repair and material recovery. This approach significantly reduces the environmental footprint compared to conventional energy technologies, with potential reductions in carbon emissions by 60-80% over system lifetimes when properly implemented.
Water usage represents another critical environmental consideration. While artificial photosynthesis requires water as a reactant, advanced systems can be engineered to operate with non-potable or even wastewater sources, minimizing freshwater consumption. Closed-loop designs further enhance water efficiency by recirculating resources within the system, reducing overall environmental impact.
Land use impacts vary significantly depending on deployment strategies. Distributed artificial photosynthesis systems integrated into existing infrastructure demonstrate minimal additional land requirements, while centralized facilities may necessitate dedicated space. Integration with urban environments through building-integrated designs offers promising pathways to minimize land use conflicts while maximizing energy production potential.
Toxicity assessments indicate that artificial photosynthesis technologies generally present lower environmental hazards than conventional electronic waste streams, particularly when designed with non-toxic catalysts and biodegradable substrates. The potential for these systems to utilize CO2 as a feedstock creates additional environmental benefits through carbon sequestration, with each kilogram of carbon captured representing approximately 3.67 kg of CO2 removed from the atmosphere.
End-of-life management strategies for artificial photosynthesis components represent a crucial aspect of their environmental profile. Implementing specialized recycling protocols can recover up to 95% of valuable materials, significantly reducing waste generation while creating new economic opportunities in the recycling sector and contributing to a more sustainable electronic waste management paradigm.
However, the environmental impact assessment reveals promising long-term benefits. Artificial photosynthesis systems can be designed with circular economy principles, incorporating recyclable materials and modular components that facilitate repair and material recovery. This approach significantly reduces the environmental footprint compared to conventional energy technologies, with potential reductions in carbon emissions by 60-80% over system lifetimes when properly implemented.
Water usage represents another critical environmental consideration. While artificial photosynthesis requires water as a reactant, advanced systems can be engineered to operate with non-potable or even wastewater sources, minimizing freshwater consumption. Closed-loop designs further enhance water efficiency by recirculating resources within the system, reducing overall environmental impact.
Land use impacts vary significantly depending on deployment strategies. Distributed artificial photosynthesis systems integrated into existing infrastructure demonstrate minimal additional land requirements, while centralized facilities may necessitate dedicated space. Integration with urban environments through building-integrated designs offers promising pathways to minimize land use conflicts while maximizing energy production potential.
Toxicity assessments indicate that artificial photosynthesis technologies generally present lower environmental hazards than conventional electronic waste streams, particularly when designed with non-toxic catalysts and biodegradable substrates. The potential for these systems to utilize CO2 as a feedstock creates additional environmental benefits through carbon sequestration, with each kilogram of carbon captured representing approximately 3.67 kg of CO2 removed from the atmosphere.
End-of-life management strategies for artificial photosynthesis components represent a crucial aspect of their environmental profile. Implementing specialized recycling protocols can recover up to 95% of valuable materials, significantly reducing waste generation while creating new economic opportunities in the recycling sector and contributing to a more sustainable electronic waste management paradigm.
Regulatory Framework and Policy Implications
The regulatory landscape surrounding artificial photosynthesis (AP) and electronic waste management is rapidly evolving as governments worldwide recognize the potential environmental benefits of this emerging technology. Current regulatory frameworks primarily address e-waste management through extended producer responsibility (EPR) programs, which hold manufacturers accountable for the entire lifecycle of their products. However, these regulations have yet to fully incorporate provisions for AP technologies that could transform e-waste into valuable resources.
International agreements such as the Basel Convention on the Control of Transboundary Movements of Hazardous Wastes and their Disposal provide a foundation for global e-waste management, but lack specific provisions for innovative recycling technologies like AP. The European Union's Waste Electrical and Electronic Equipment (WEEE) Directive represents the most comprehensive regulatory approach, establishing collection, recycling, and recovery targets for electronic products, yet even this advanced framework requires updating to accommodate AP integration.
Policy incentives for AP research and implementation in e-waste management remain inconsistent across jurisdictions. Some regions have established research grants and tax incentives for green technology development, while others lag behind. This regulatory fragmentation creates barriers to widespread adoption and commercialization of AP solutions for e-waste challenges.
Standardization presents another critical regulatory challenge. The lack of unified technical standards for AP applications in waste management impedes technology transfer and scalability. International standards organizations have begun preliminary work on frameworks for sustainable electronics, but specific standards for AP applications remain underdeveloped.
Environmental impact assessment requirements for new technologies vary significantly between countries, creating regulatory uncertainty for AP innovators. More consistent and streamlined approval processes could accelerate the adoption of AP solutions while ensuring appropriate environmental safeguards.
Looking forward, policy implications of AP integration into e-waste management are substantial. Governments must develop regulatory frameworks that balance innovation encouragement with environmental protection. This includes creating financial mechanisms to support the transition from traditional recycling to AP-based approaches, establishing clear metrics for environmental performance, and developing certification systems that recognize the benefits of AP technologies in waste reduction.
Cross-border regulatory harmonization will be essential as the global nature of both e-waste challenges and AP research necessitates international cooperation. Regional regulatory bodies and international organizations must collaborate to develop consistent approaches that facilitate technology transfer while maintaining appropriate environmental and safety standards.
International agreements such as the Basel Convention on the Control of Transboundary Movements of Hazardous Wastes and their Disposal provide a foundation for global e-waste management, but lack specific provisions for innovative recycling technologies like AP. The European Union's Waste Electrical and Electronic Equipment (WEEE) Directive represents the most comprehensive regulatory approach, establishing collection, recycling, and recovery targets for electronic products, yet even this advanced framework requires updating to accommodate AP integration.
Policy incentives for AP research and implementation in e-waste management remain inconsistent across jurisdictions. Some regions have established research grants and tax incentives for green technology development, while others lag behind. This regulatory fragmentation creates barriers to widespread adoption and commercialization of AP solutions for e-waste challenges.
Standardization presents another critical regulatory challenge. The lack of unified technical standards for AP applications in waste management impedes technology transfer and scalability. International standards organizations have begun preliminary work on frameworks for sustainable electronics, but specific standards for AP applications remain underdeveloped.
Environmental impact assessment requirements for new technologies vary significantly between countries, creating regulatory uncertainty for AP innovators. More consistent and streamlined approval processes could accelerate the adoption of AP solutions while ensuring appropriate environmental safeguards.
Looking forward, policy implications of AP integration into e-waste management are substantial. Governments must develop regulatory frameworks that balance innovation encouragement with environmental protection. This includes creating financial mechanisms to support the transition from traditional recycling to AP-based approaches, establishing clear metrics for environmental performance, and developing certification systems that recognize the benefits of AP technologies in waste reduction.
Cross-border regulatory harmonization will be essential as the global nature of both e-waste challenges and AP research necessitates international cooperation. Regional regulatory bodies and international organizations must collaborate to develop consistent approaches that facilitate technology transfer while maintaining appropriate environmental and safety standards.
Unlock deeper insights with Patsnap Eureka Quick Research — get a full tech report to explore trends and direct your research. Try now!
Generate Your Research Report Instantly with AI Agent
Supercharge your innovation with Patsnap Eureka AI Agent Platform!







