Artificial Photosynthesis integration in energy-efficient building design.
SEP 4, 202510 MIN READ
Generate Your Research Report Instantly with AI Agent
Patsnap Eureka helps you evaluate technical feasibility & market potential.
Artificial Photosynthesis Evolution and Integration Goals
Artificial photosynthesis represents a revolutionary biomimetic approach that emulates nature's most efficient energy conversion process. The evolution of this technology began in the 1970s with rudimentary attempts to replicate the photosynthetic process, progressing through significant breakthroughs in catalytic materials and reaction mechanisms in the 1990s and 2000s. Recent advancements have focused on improving efficiency, stability, and scalability, with current research achieving solar-to-fuel conversion efficiencies approaching 10% in laboratory settings.
The integration goals for artificial photosynthesis in energy-efficient building design encompass multiple dimensions. Primarily, these systems aim to transform buildings from passive energy consumers into active energy producers by capturing solar energy and converting it directly into usable fuels or electricity. This paradigm shift aligns with global sustainability objectives and represents a critical pathway toward carbon-neutral or even carbon-negative architecture.
Technical objectives include developing building-integrated photosynthetic panels with efficiency rates exceeding 15% within the next decade, creating modular systems that can be retrofitted to existing structures, and designing self-regulating systems that optimize performance based on environmental conditions. These panels must demonstrate durability under varied weather conditions and maintain performance for at least 20 years to be commercially viable.
From an architectural perspective, integration goals focus on aesthetic compatibility with modern design principles, ensuring that artificial photosynthesis components enhance rather than compromise building appearance. This includes developing transparent or semi-transparent photosynthetic materials that can replace traditional windows or facade elements while maintaining natural lighting qualities.
Economically, the technology roadmap targets cost reduction to achieve price parity with conventional renewable energy systems by 2030. This requires advances in materials science to replace rare earth elements with abundant alternatives and streamlined manufacturing processes to enable mass production.
Regulatory integration goals involve developing standards and building codes that recognize and facilitate artificial photosynthesis implementation, potentially including incentives similar to those established for solar photovoltaics. These frameworks must address safety considerations unique to fuel-producing building components.
The ultimate vision extends beyond individual buildings to interconnected networks of photosynthetic structures forming decentralized energy ecosystems, contributing significantly to urban sustainability while reducing dependence on centralized power infrastructure. This represents a fundamental reimagining of the built environment as an active participant in the global carbon cycle rather than a passive consumer of resources.
The integration goals for artificial photosynthesis in energy-efficient building design encompass multiple dimensions. Primarily, these systems aim to transform buildings from passive energy consumers into active energy producers by capturing solar energy and converting it directly into usable fuels or electricity. This paradigm shift aligns with global sustainability objectives and represents a critical pathway toward carbon-neutral or even carbon-negative architecture.
Technical objectives include developing building-integrated photosynthetic panels with efficiency rates exceeding 15% within the next decade, creating modular systems that can be retrofitted to existing structures, and designing self-regulating systems that optimize performance based on environmental conditions. These panels must demonstrate durability under varied weather conditions and maintain performance for at least 20 years to be commercially viable.
From an architectural perspective, integration goals focus on aesthetic compatibility with modern design principles, ensuring that artificial photosynthesis components enhance rather than compromise building appearance. This includes developing transparent or semi-transparent photosynthetic materials that can replace traditional windows or facade elements while maintaining natural lighting qualities.
Economically, the technology roadmap targets cost reduction to achieve price parity with conventional renewable energy systems by 2030. This requires advances in materials science to replace rare earth elements with abundant alternatives and streamlined manufacturing processes to enable mass production.
Regulatory integration goals involve developing standards and building codes that recognize and facilitate artificial photosynthesis implementation, potentially including incentives similar to those established for solar photovoltaics. These frameworks must address safety considerations unique to fuel-producing building components.
The ultimate vision extends beyond individual buildings to interconnected networks of photosynthetic structures forming decentralized energy ecosystems, contributing significantly to urban sustainability while reducing dependence on centralized power infrastructure. This represents a fundamental reimagining of the built environment as an active participant in the global carbon cycle rather than a passive consumer of resources.
Market Analysis for Sustainable Building Energy Solutions
The sustainable building energy solutions market is experiencing unprecedented growth, driven by increasing environmental concerns, stringent building regulations, and rising energy costs. The global market for green building technologies was valued at approximately $264 billion in 2022 and is projected to reach $653 billion by 2030, growing at a CAGR of 12.6%. This robust growth reflects the increasing adoption of sustainable building practices across residential, commercial, and industrial sectors.
Artificial photosynthesis integration represents a significant opportunity within this expanding market. Current market penetration remains limited, with most applications still in pilot or demonstration phases. However, investor interest is substantial, with venture capital funding for artificial photosynthesis technologies exceeding $450 million in 2022 alone, indicating strong confidence in future commercial viability.
Regionally, North America and Europe lead in sustainable building technology adoption, with the Asia-Pacific region showing the fastest growth rate. China, Japan, and South Korea have made substantial investments in artificial photosynthesis research, positioning the region for potential market leadership as technologies mature. The Middle East has also emerged as a significant market, with ambitious carbon-neutral building projects incorporating advanced energy technologies.
Consumer demand patterns reveal increasing willingness to pay premium prices for sustainable building solutions that demonstrate measurable energy savings. A recent industry survey indicated that 78% of commercial property developers consider energy efficiency technologies as "very important" in new construction projects, up from 62% five years ago. Building owners report energy cost reductions of 20-30% as the primary motivation for adopting sustainable technologies.
Competitive analysis shows traditional building energy solution providers increasingly partnering with artificial photosynthesis technology developers. Major players include established energy companies diversifying their portfolios and specialized startups focusing exclusively on bioinspired energy solutions. Market concentration remains relatively low, with the top five companies controlling approximately 35% of the market share.
Regulatory factors significantly influence market dynamics, with carbon pricing mechanisms, building energy performance standards, and green building certifications driving adoption. The European Union's Energy Performance of Buildings Directive and similar regulations in North America have created strong market incentives for innovative energy solutions like artificial photosynthesis integration.
Future market projections indicate artificial photosynthesis could capture 8-12% of the sustainable building energy solutions market by 2035, representing a potential market value of $50-75 billion. This growth depends on continued technological advancement, cost reduction, and successful demonstration of large-scale applications in diverse building environments.
Artificial photosynthesis integration represents a significant opportunity within this expanding market. Current market penetration remains limited, with most applications still in pilot or demonstration phases. However, investor interest is substantial, with venture capital funding for artificial photosynthesis technologies exceeding $450 million in 2022 alone, indicating strong confidence in future commercial viability.
Regionally, North America and Europe lead in sustainable building technology adoption, with the Asia-Pacific region showing the fastest growth rate. China, Japan, and South Korea have made substantial investments in artificial photosynthesis research, positioning the region for potential market leadership as technologies mature. The Middle East has also emerged as a significant market, with ambitious carbon-neutral building projects incorporating advanced energy technologies.
Consumer demand patterns reveal increasing willingness to pay premium prices for sustainable building solutions that demonstrate measurable energy savings. A recent industry survey indicated that 78% of commercial property developers consider energy efficiency technologies as "very important" in new construction projects, up from 62% five years ago. Building owners report energy cost reductions of 20-30% as the primary motivation for adopting sustainable technologies.
Competitive analysis shows traditional building energy solution providers increasingly partnering with artificial photosynthesis technology developers. Major players include established energy companies diversifying their portfolios and specialized startups focusing exclusively on bioinspired energy solutions. Market concentration remains relatively low, with the top five companies controlling approximately 35% of the market share.
Regulatory factors significantly influence market dynamics, with carbon pricing mechanisms, building energy performance standards, and green building certifications driving adoption. The European Union's Energy Performance of Buildings Directive and similar regulations in North America have created strong market incentives for innovative energy solutions like artificial photosynthesis integration.
Future market projections indicate artificial photosynthesis could capture 8-12% of the sustainable building energy solutions market by 2035, representing a potential market value of $50-75 billion. This growth depends on continued technological advancement, cost reduction, and successful demonstration of large-scale applications in diverse building environments.
Current State and Challenges in Artificial Photosynthesis Technology
Artificial photosynthesis technology has made significant strides globally, with research centers in North America, Europe, and Asia leading development efforts. Current laboratory-scale systems have achieved solar-to-fuel conversion efficiencies ranging from 1% to 20%, depending on the specific approach and materials used. However, these efficiencies remain below the theoretical maximum and significantly lower than commercial photovoltaic systems when considering practical applications in building integration.
The field faces several critical technical challenges that must be addressed before widespread implementation in energy-efficient buildings becomes viable. Stability remains a primary concern, with most artificial photosynthesis systems degrading significantly after hours or days of operation, whereas building applications would require years of consistent performance. Current catalysts for water oxidation and CO2 reduction often rely on rare and expensive materials like platinum and iridium, making large-scale deployment economically prohibitive for building integration.
Scalability presents another major hurdle, as most successful demonstrations have occurred at laboratory scale (typically less than 10 cm²), while building integration would require systems spanning several square meters. The gap between controlled laboratory conditions and the variable real-world environment of buildings introduces additional complications, including fluctuating light conditions, temperature variations, and exposure to potential contaminants.
Energy storage and product handling systems remain underdeveloped for building-integrated applications. Unlike conventional photovoltaics that generate electricity directly, artificial photosynthesis produces chemical fuels or feedstocks that require appropriate storage, transport, and utilization infrastructure within the building envelope.
Regulatory frameworks and safety standards specific to building-integrated artificial photosynthesis are largely nonexistent, creating uncertainty for developers and potential adopters. The production of hydrogen, oxygen, and carbon-based fuels within building structures introduces safety considerations that must be addressed through appropriate engineering controls and monitoring systems.
Integration with existing building systems presents additional challenges, as artificial photosynthesis technologies must be compatible with current HVAC, electrical, and structural systems. The aesthetic considerations for building facades and architectural design preferences further complicate implementation, as these systems must satisfy both technical and visual requirements.
Despite these challenges, recent breakthroughs in materials science, particularly in the development of earth-abundant catalysts and more stable photoelectrochemical cells, suggest pathways toward overcoming these limitations. International research collaborations and increasing private sector investment indicate growing recognition of artificial photosynthesis as a promising technology for sustainable building design.
The field faces several critical technical challenges that must be addressed before widespread implementation in energy-efficient buildings becomes viable. Stability remains a primary concern, with most artificial photosynthesis systems degrading significantly after hours or days of operation, whereas building applications would require years of consistent performance. Current catalysts for water oxidation and CO2 reduction often rely on rare and expensive materials like platinum and iridium, making large-scale deployment economically prohibitive for building integration.
Scalability presents another major hurdle, as most successful demonstrations have occurred at laboratory scale (typically less than 10 cm²), while building integration would require systems spanning several square meters. The gap between controlled laboratory conditions and the variable real-world environment of buildings introduces additional complications, including fluctuating light conditions, temperature variations, and exposure to potential contaminants.
Energy storage and product handling systems remain underdeveloped for building-integrated applications. Unlike conventional photovoltaics that generate electricity directly, artificial photosynthesis produces chemical fuels or feedstocks that require appropriate storage, transport, and utilization infrastructure within the building envelope.
Regulatory frameworks and safety standards specific to building-integrated artificial photosynthesis are largely nonexistent, creating uncertainty for developers and potential adopters. The production of hydrogen, oxygen, and carbon-based fuels within building structures introduces safety considerations that must be addressed through appropriate engineering controls and monitoring systems.
Integration with existing building systems presents additional challenges, as artificial photosynthesis technologies must be compatible with current HVAC, electrical, and structural systems. The aesthetic considerations for building facades and architectural design preferences further complicate implementation, as these systems must satisfy both technical and visual requirements.
Despite these challenges, recent breakthroughs in materials science, particularly in the development of earth-abundant catalysts and more stable photoelectrochemical cells, suggest pathways toward overcoming these limitations. International research collaborations and increasing private sector investment indicate growing recognition of artificial photosynthesis as a promising technology for sustainable building design.
Current Integration Methods for Artificial Photosynthesis in Buildings
01 Photocatalytic systems for artificial photosynthesis
Photocatalytic systems are designed to mimic natural photosynthesis by converting light energy into chemical energy. These systems typically involve specialized catalysts that can harness sunlight to drive chemical reactions similar to those in plant photosynthesis. The technology focuses on developing efficient photocatalysts that can split water into hydrogen and oxygen or reduce carbon dioxide to useful organic compounds, providing sustainable pathways for energy production and carbon capture.- Photocatalytic systems for artificial photosynthesis: Photocatalytic systems are designed to mimic natural photosynthesis by converting light energy into chemical energy. These systems typically involve photocatalysts that can absorb light and use that energy to drive chemical reactions, such as water splitting or CO2 reduction. Advanced photocatalytic materials and structures are being developed to improve efficiency and stability, enabling more effective artificial photosynthesis processes for sustainable energy production.
- Bioinspired catalysts and enzyme mimics: Researchers are developing catalysts inspired by natural enzymes involved in photosynthesis, such as those containing metal centers similar to chlorophyll. These bioinspired catalysts aim to replicate the high efficiency and selectivity of natural photosynthetic processes while offering improved stability and scalability. By mimicking the structure and function of natural photosynthetic systems, these catalysts can facilitate key reactions in artificial photosynthesis, including water oxidation and carbon dioxide reduction.
- Integrated artificial photosynthesis devices: Integrated devices combine multiple components necessary for artificial photosynthesis into cohesive systems. These devices typically include light-harvesting units, catalysts, and separation membranes arranged in specific architectures to optimize energy conversion efficiency. Such integrated approaches allow for better control of electron transfer processes and product separation, addressing key challenges in scaling up artificial photosynthesis technologies for practical applications in renewable energy and chemical production.
- Novel materials for light harvesting and energy conversion: Advanced materials are being developed specifically for capturing and converting light energy in artificial photosynthesis systems. These include nanostructured semiconductors, quantum dots, plasmonic materials, and novel organic compounds designed to absorb across broad spectral ranges. The materials are engineered to enhance light absorption, improve charge separation, and facilitate efficient energy transfer, thereby increasing the overall efficiency of artificial photosynthesis processes.
- CO2 reduction systems for artificial photosynthesis: Carbon dioxide reduction systems aim to convert CO2 into valuable chemicals and fuels using light energy, mimicking how plants convert CO2 into sugars. These systems employ specialized catalysts and electrodes designed to selectively reduce CO2 to specific products such as carbon monoxide, methane, ethylene, or liquid fuels. Research focuses on improving catalyst selectivity, increasing conversion efficiency, and developing systems that can operate under ambient conditions with minimal energy input.
02 Electrochemical cells for artificial photosynthesis
Electrochemical cells are engineered to facilitate artificial photosynthesis processes through controlled electron transfer reactions. These systems typically consist of electrodes, electrolytes, and membranes that work together to convert solar energy into chemical energy. The technology enables the production of hydrogen fuel or carbon-based compounds from water and carbon dioxide using sunlight as the primary energy source, offering a renewable approach to fuel production without fossil fuel dependence.Expand Specific Solutions03 Bioinspired catalysts and materials
Bioinspired catalysts and materials draw inspiration from natural photosynthetic systems to create more efficient artificial photosynthesis technologies. These include biomimetic complexes that replicate the function of photosystem II, synthetic enzymes that facilitate carbon dioxide reduction, and novel materials that enhance light absorption and energy transfer. By mimicking the molecular structures and mechanisms found in natural photosynthesis, these technologies aim to achieve higher efficiency and stability in converting solar energy to chemical energy.Expand Specific Solutions04 Integrated systems for CO2 reduction
Integrated systems for carbon dioxide reduction combine multiple technologies to convert CO2 into valuable chemicals and fuels through artificial photosynthesis. These systems typically integrate light-harvesting components, catalysts, and separation mechanisms to efficiently capture and transform carbon dioxide. The technology aims to address climate change by reducing atmospheric CO2 while simultaneously producing useful products such as methanol, formic acid, or syngas, creating a circular carbon economy approach to industrial processes.Expand Specific Solutions05 Novel reactor designs for artificial photosynthesis
Novel reactor designs optimize the efficiency and scalability of artificial photosynthesis processes. These include specialized chambers, flow systems, and modular units that maximize light utilization, improve mass transfer, and enhance product separation. The designs focus on overcoming limitations in traditional photosynthetic systems by providing better control over reaction conditions, increasing surface area for catalytic reactions, and enabling continuous operation for industrial-scale implementation of artificial photosynthesis technologies.Expand Specific Solutions
Key Industry Players in Bio-inspired Energy Solutions
Artificial Photosynthesis integration in energy-efficient building design is in an early development stage, with a growing market projected to reach significant scale as sustainability demands increase. The technology is still maturing, with academic institutions leading fundamental research while companies develop practical applications. Key players include FUJIFILM Corp. and DENSO Corp. advancing material science aspects, Toshiba and Fujitsu focusing on system integration, and universities like Zhejiang University and Tianjin University conducting foundational research. Collaboration between academic institutions (University of California, Ohio University) and industry partners (GAF Energy, IBM) is accelerating commercialization efforts, though widespread implementation remains several years away.
Zhejiang University
Technical Solution: Zhejiang University has pioneered a bio-inspired artificial photosynthesis system specifically engineered for integration into building facades and envelope systems. Their approach utilizes hierarchically structured photocatalysts with optimized light-harvesting properties modeled after natural leaf structures. The technology incorporates metal-organic framework materials with precisely controlled pore structures that enhance CO2 adsorption and conversion efficiency under variable lighting conditions typical in building applications. Their building integration strategy focuses on modular panels that can be incorporated into curtain wall systems, featuring specialized transparent protective layers that maintain catalyst performance while meeting architectural requirements for appearance and durability. Zhejiang's researchers have developed a novel microenvironment control system that maintains optimal humidity and temperature conditions within the photosynthetic elements regardless of external weather variations, significantly enhancing year-round performance. The technology includes integrated sensors and control systems that allow building managers to monitor performance and adjust operating parameters to optimize energy production based on building demands and environmental conditions.
Strengths: Exceptional fundamental research capabilities with strong interdisciplinary collaboration between materials scientists and architectural engineers. Their bio-inspired approach achieves higher stability under real-world building conditions than many competing technologies. Weaknesses: Current implementations remain at laboratory and demonstration scales, with challenges in scaling manufacturing processes for commercial building applications.
Toshiba Corp.
Technical Solution: Toshiba has developed an artificial photosynthesis technology that achieves a world-leading solar energy conversion efficiency of 1.5% for converting carbon dioxide into ethylene and other carbon compounds. Their building integration approach focuses on modular facade systems that incorporate their proprietary semiconductor photoelectrochemical cells with specialized catalysts based on metal organic frameworks. The system is designed to be integrated into curtain wall elements and atrium spaces, allowing buildings to utilize both direct and diffuse sunlight for carbon capture and energy production. Toshiba's technology employs a unique three-layer structure with optimized light absorption properties and specialized ion-exchange membranes that maintain separation between reduction and oxidation reactions, enabling stable operation in variable building environments. Their recent advancements include integration with building management systems that optimize performance based on environmental conditions and building energy demands.
Strengths: Highly efficient CO2 conversion technology with practical building integration solutions that can be retrofitted to existing structures. Strong manufacturing capabilities ensure quality control and scalability. Weaknesses: Current systems require supplementary energy inputs during low-light conditions, and catalyst degradation remains a challenge in long-term deployment scenarios.
Core Patents and Research in Building-Integrated Photosynthesis
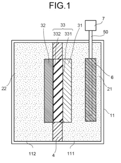
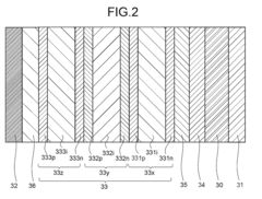
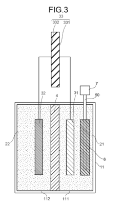
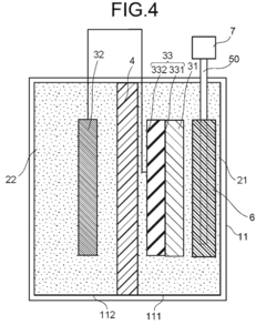
Electrochemical reaction device
PatentActiveUS20190062935A1
Innovation
- An electrochemical reaction device is designed with a configuration that includes separate storage parts for electrolytic solutions containing carbon dioxide and water, a reduction electrode, an oxidation electrode, a porous body, and a flow path for gas supply, facilitating efficient gas exchange and ion migration to enhance the dissolution and reduction of carbon dioxide, thereby increasing the conversion efficiency.
Lifecycle Assessment and Environmental Impact
Lifecycle assessment (LCA) of artificial photosynthesis systems integrated into building design reveals significant environmental advantages compared to conventional energy systems. When evaluating the complete lifecycle - from raw material extraction through manufacturing, operation, maintenance, to end-of-life disposal - these biomimetic systems demonstrate promising sustainability metrics despite current technological limitations.
The production phase of artificial photosynthesis components presents the most substantial environmental burden. Manufacturing catalysts often requires rare earth elements and precious metals, whose extraction and processing generate considerable ecological impacts. However, these initial environmental costs are typically offset during the operational phase, where the technology produces clean energy while simultaneously capturing carbon dioxide, effectively creating a negative emissions technology when optimally implemented.
Energy payback periods for building-integrated artificial photosynthesis systems currently range from 3-7 years, depending on system efficiency and geographic location. This compares favorably with conventional photovoltaic systems when accounting for carbon sequestration benefits. The carbon footprint analysis indicates potential carbon neutrality achievement within 2-5 years of operation, with subsequent years representing net carbon reduction.
Water consumption represents another critical environmental consideration. While artificial photosynthesis requires water as a reactant, advanced system designs incorporate water recycling mechanisms, minimizing freshwater demands. In humid climates, atmospheric moisture harvesting can further reduce external water requirements, creating nearly closed-loop systems when integrated with building water management infrastructure.
Material toxicity and end-of-life considerations present ongoing challenges. Current catalyst technologies often utilize materials with potential environmental hazards if improperly disposed of. Research into bio-derived catalysts and environmentally benign alternatives shows promise for reducing these impacts. Additionally, modular design approaches are emerging to facilitate component replacement and recycling, extending system lifespan and improving overall sustainability metrics.
Comparative environmental impact assessments between artificial photosynthesis and conventional building energy systems demonstrate significant advantages in greenhouse gas reduction, air quality improvement, and resource conservation. When properly integrated into building envelopes, these systems can reduce building cooling loads through shading and evaporative cooling effects, creating synergistic environmental benefits beyond direct energy production and carbon capture.
The most promising environmental aspect remains the technology's potential for carbon-negative operation - actively removing atmospheric carbon while producing useful energy and chemical feedstocks. This dual functionality positions artificial photosynthesis as a uniquely valuable technology for sustainable building design in the context of global decarbonization efforts.
The production phase of artificial photosynthesis components presents the most substantial environmental burden. Manufacturing catalysts often requires rare earth elements and precious metals, whose extraction and processing generate considerable ecological impacts. However, these initial environmental costs are typically offset during the operational phase, where the technology produces clean energy while simultaneously capturing carbon dioxide, effectively creating a negative emissions technology when optimally implemented.
Energy payback periods for building-integrated artificial photosynthesis systems currently range from 3-7 years, depending on system efficiency and geographic location. This compares favorably with conventional photovoltaic systems when accounting for carbon sequestration benefits. The carbon footprint analysis indicates potential carbon neutrality achievement within 2-5 years of operation, with subsequent years representing net carbon reduction.
Water consumption represents another critical environmental consideration. While artificial photosynthesis requires water as a reactant, advanced system designs incorporate water recycling mechanisms, minimizing freshwater demands. In humid climates, atmospheric moisture harvesting can further reduce external water requirements, creating nearly closed-loop systems when integrated with building water management infrastructure.
Material toxicity and end-of-life considerations present ongoing challenges. Current catalyst technologies often utilize materials with potential environmental hazards if improperly disposed of. Research into bio-derived catalysts and environmentally benign alternatives shows promise for reducing these impacts. Additionally, modular design approaches are emerging to facilitate component replacement and recycling, extending system lifespan and improving overall sustainability metrics.
Comparative environmental impact assessments between artificial photosynthesis and conventional building energy systems demonstrate significant advantages in greenhouse gas reduction, air quality improvement, and resource conservation. When properly integrated into building envelopes, these systems can reduce building cooling loads through shading and evaporative cooling effects, creating synergistic environmental benefits beyond direct energy production and carbon capture.
The most promising environmental aspect remains the technology's potential for carbon-negative operation - actively removing atmospheric carbon while producing useful energy and chemical feedstocks. This dual functionality positions artificial photosynthesis as a uniquely valuable technology for sustainable building design in the context of global decarbonization efforts.
Regulatory Framework for Bio-inspired Building Technologies
The regulatory landscape for bio-inspired building technologies, particularly those incorporating artificial photosynthesis, is currently evolving across different jurisdictions. Building codes and energy efficiency standards are gradually adapting to accommodate innovative technologies that mimic natural processes. In the United States, the International Building Code (IBC) and ASHRAE standards have begun incorporating provisions for bio-inspired systems, though specific regulations for artificial photosynthesis integration remain limited.
The European Union has taken a more progressive approach through its Energy Performance of Buildings Directive (EPBD), which encourages the adoption of renewable energy technologies in buildings. Several EU member states have implemented incentive programs for buildings that incorporate biomimetic design principles, including those that utilize photosynthetic processes for energy generation.
Certification systems such as LEED, BREEAM, and the Living Building Challenge have established frameworks that can recognize and reward the implementation of artificial photosynthesis technologies. These systems award points for innovative energy solutions that reduce carbon footprints and enhance building sustainability, providing a market-driven regulatory mechanism.
Regulatory challenges persist in standardizing performance metrics for artificial photosynthesis systems in buildings. Unlike conventional solar panels, which have well-established efficiency ratings and testing protocols, artificial photosynthesis technologies lack standardized performance evaluation methods, creating barriers to widespread regulatory acceptance.
Safety regulations present another critical aspect of the regulatory framework. Building codes must address potential risks associated with the chemical processes involved in artificial photosynthesis, including the handling of catalysts and the management of oxygen production within enclosed spaces. Current hazardous materials regulations may require adaptation to accommodate these novel systems.
Intellectual property considerations also influence the regulatory landscape. Patent protections for artificial photosynthesis technologies can impact implementation requirements and compliance costs. As these technologies transition from research to commercial applications in buildings, regulatory bodies must balance innovation protection with accessibility.
Looking forward, regulatory frameworks will likely evolve toward performance-based standards rather than prescriptive requirements, allowing greater flexibility for innovative technologies like artificial photosynthesis. International collaboration among regulatory bodies, research institutions, and industry stakeholders will be essential to develop harmonized standards that facilitate the global adoption of these promising bio-inspired building technologies.
The European Union has taken a more progressive approach through its Energy Performance of Buildings Directive (EPBD), which encourages the adoption of renewable energy technologies in buildings. Several EU member states have implemented incentive programs for buildings that incorporate biomimetic design principles, including those that utilize photosynthetic processes for energy generation.
Certification systems such as LEED, BREEAM, and the Living Building Challenge have established frameworks that can recognize and reward the implementation of artificial photosynthesis technologies. These systems award points for innovative energy solutions that reduce carbon footprints and enhance building sustainability, providing a market-driven regulatory mechanism.
Regulatory challenges persist in standardizing performance metrics for artificial photosynthesis systems in buildings. Unlike conventional solar panels, which have well-established efficiency ratings and testing protocols, artificial photosynthesis technologies lack standardized performance evaluation methods, creating barriers to widespread regulatory acceptance.
Safety regulations present another critical aspect of the regulatory framework. Building codes must address potential risks associated with the chemical processes involved in artificial photosynthesis, including the handling of catalysts and the management of oxygen production within enclosed spaces. Current hazardous materials regulations may require adaptation to accommodate these novel systems.
Intellectual property considerations also influence the regulatory landscape. Patent protections for artificial photosynthesis technologies can impact implementation requirements and compliance costs. As these technologies transition from research to commercial applications in buildings, regulatory bodies must balance innovation protection with accessibility.
Looking forward, regulatory frameworks will likely evolve toward performance-based standards rather than prescriptive requirements, allowing greater flexibility for innovative technologies like artificial photosynthesis. International collaboration among regulatory bodies, research institutions, and industry stakeholders will be essential to develop harmonized standards that facilitate the global adoption of these promising bio-inspired building technologies.
Unlock deeper insights with Patsnap Eureka Quick Research — get a full tech report to explore trends and direct your research. Try now!
Generate Your Research Report Instantly with AI Agent
Supercharge your innovation with Patsnap Eureka AI Agent Platform!



