Artificial Photosynthesis for innovative urban cooling solutions.
SEP 4, 20259 MIN READ
Generate Your Research Report Instantly with AI Agent
Patsnap Eureka helps you evaluate technical feasibility & market potential.
Artificial Photosynthesis Background and Cooling Objectives
Artificial photosynthesis represents a biomimetic approach that emulates nature's most efficient energy conversion process. Originating in the 1970s with the pioneering work of Fujishima and Honda on photocatalytic water splitting, this technology has evolved from fundamental research into a promising solution for sustainable energy production and environmental remediation. The field has witnessed significant advancements in catalyst design, light-harvesting materials, and system integration over the past five decades, with research intensity accelerating notably since 2010.
The technological trajectory of artificial photosynthesis has expanded beyond its initial focus on hydrogen production to encompass carbon dioxide reduction, nitrogen fixation, and most recently, thermal management applications. This evolution reflects the versatility of photosynthetic principles in addressing multiple sustainability challenges simultaneously, particularly in urban environments where heat island effects increasingly compromise livability and energy efficiency.
Urban areas typically experience temperatures 1.8-5.4°F (1-3°C) higher than surrounding rural regions due to heat-absorbing infrastructure and anthropogenic activities. This phenomenon exacerbates cooling demands, increases energy consumption, and deteriorates air quality. Traditional cooling solutions predominantly rely on vapor-compression systems that consume substantial electricity and often utilize refrigerants with high global warming potential, creating a counterproductive cycle of environmental impact.
The primary objective of artificial photosynthesis for urban cooling is to develop bioinspired systems that can simultaneously capture solar energy, sequester carbon dioxide, and generate cooling effects through evapotranspiration-like processes. These systems aim to achieve cooling without the electrical input requirements of conventional technologies, potentially transforming building facades and urban infrastructure into active cooling elements rather than passive heat sinks.
Specific technical goals include developing artificial leaf structures with cooling capacities exceeding 350 W/m², achieving operational stability under varied environmental conditions for at least 5 years, and maintaining performance with minimal water inputs. Additionally, these systems should demonstrate carbon sequestration capabilities of at least 1 kg CO₂/m²/year to provide meaningful climate mitigation co-benefits alongside their cooling function.
The convergence of advanced materials science, nanotechnology, and systems engineering has created a fertile ground for innovation in this domain. Recent breakthroughs in water-responsive materials, nanoporous structures with controlled wettability, and bio-hybrid systems incorporating living microorganisms have opened new pathways for artificial photosynthetic cooling solutions that could fundamentally transform urban thermal management paradigms.
The technological trajectory of artificial photosynthesis has expanded beyond its initial focus on hydrogen production to encompass carbon dioxide reduction, nitrogen fixation, and most recently, thermal management applications. This evolution reflects the versatility of photosynthetic principles in addressing multiple sustainability challenges simultaneously, particularly in urban environments where heat island effects increasingly compromise livability and energy efficiency.
Urban areas typically experience temperatures 1.8-5.4°F (1-3°C) higher than surrounding rural regions due to heat-absorbing infrastructure and anthropogenic activities. This phenomenon exacerbates cooling demands, increases energy consumption, and deteriorates air quality. Traditional cooling solutions predominantly rely on vapor-compression systems that consume substantial electricity and often utilize refrigerants with high global warming potential, creating a counterproductive cycle of environmental impact.
The primary objective of artificial photosynthesis for urban cooling is to develop bioinspired systems that can simultaneously capture solar energy, sequester carbon dioxide, and generate cooling effects through evapotranspiration-like processes. These systems aim to achieve cooling without the electrical input requirements of conventional technologies, potentially transforming building facades and urban infrastructure into active cooling elements rather than passive heat sinks.
Specific technical goals include developing artificial leaf structures with cooling capacities exceeding 350 W/m², achieving operational stability under varied environmental conditions for at least 5 years, and maintaining performance with minimal water inputs. Additionally, these systems should demonstrate carbon sequestration capabilities of at least 1 kg CO₂/m²/year to provide meaningful climate mitigation co-benefits alongside their cooling function.
The convergence of advanced materials science, nanotechnology, and systems engineering has created a fertile ground for innovation in this domain. Recent breakthroughs in water-responsive materials, nanoporous structures with controlled wettability, and bio-hybrid systems incorporating living microorganisms have opened new pathways for artificial photosynthetic cooling solutions that could fundamentally transform urban thermal management paradigms.
Urban Cooling Market Demand Analysis
The global urban cooling market is experiencing unprecedented growth driven by escalating temperatures in metropolitan areas worldwide. The urban heat island effect has intensified in recent years, with cities recording temperatures 2-5°C higher than surrounding rural areas. This phenomenon has created an urgent demand for innovative cooling solutions, particularly in densely populated urban centers where traditional air conditioning systems contribute significantly to energy consumption and exacerbate the very problem they aim to solve.
Market research indicates that the urban cooling solutions market reached approximately $29 billion in 2022 and is projected to grow at a compound annual growth rate of 8.7% through 2030. This growth is primarily fueled by increasing urbanization rates, with the United Nations projecting that 68% of the world's population will live in urban areas by 2050, up from 55% currently. These demographic shifts are creating substantial market opportunities for sustainable cooling technologies.
The demand for artificial photosynthesis-based cooling solutions is emerging as a significant segment within this market. Unlike conventional cooling systems that consume substantial electricity and often use environmentally harmful refrigerants, biomimetic cooling technologies inspired by natural photosynthesis offer a paradigm shift toward sustainability. These solutions can potentially reduce building cooling energy requirements by 20-30% while simultaneously capturing carbon dioxide, addressing two critical urban challenges simultaneously.
Regional analysis reveals varying market dynamics. Asia-Pacific represents the fastest-growing market segment due to rapid urbanization in countries like China and India, coupled with severe heat challenges. North America and Europe demonstrate strong demand driven by stringent environmental regulations and sustainability commitments. The Middle East, despite having smaller urban populations, shows premium demand due to extreme climate conditions.
Consumer sentiment analysis reveals increasing willingness to pay premium prices for cooling solutions that offer environmental benefits. Corporate sustainability commitments and government regulations mandating reduced carbon footprints are further accelerating market demand. For instance, the European Union's Green Deal and various municipal heat action plans worldwide have established frameworks that favor adoption of innovative cooling technologies.
The market is also being shaped by changing consumer expectations regarding indoor comfort and health considerations. Post-pandemic awareness of indoor air quality has created additional demand vectors for solutions that not only cool spaces but also improve air quality and reduce pathogen transmission risks, areas where photosynthesis-inspired technologies could excel through their natural air purification capabilities.
Market research indicates that the urban cooling solutions market reached approximately $29 billion in 2022 and is projected to grow at a compound annual growth rate of 8.7% through 2030. This growth is primarily fueled by increasing urbanization rates, with the United Nations projecting that 68% of the world's population will live in urban areas by 2050, up from 55% currently. These demographic shifts are creating substantial market opportunities for sustainable cooling technologies.
The demand for artificial photosynthesis-based cooling solutions is emerging as a significant segment within this market. Unlike conventional cooling systems that consume substantial electricity and often use environmentally harmful refrigerants, biomimetic cooling technologies inspired by natural photosynthesis offer a paradigm shift toward sustainability. These solutions can potentially reduce building cooling energy requirements by 20-30% while simultaneously capturing carbon dioxide, addressing two critical urban challenges simultaneously.
Regional analysis reveals varying market dynamics. Asia-Pacific represents the fastest-growing market segment due to rapid urbanization in countries like China and India, coupled with severe heat challenges. North America and Europe demonstrate strong demand driven by stringent environmental regulations and sustainability commitments. The Middle East, despite having smaller urban populations, shows premium demand due to extreme climate conditions.
Consumer sentiment analysis reveals increasing willingness to pay premium prices for cooling solutions that offer environmental benefits. Corporate sustainability commitments and government regulations mandating reduced carbon footprints are further accelerating market demand. For instance, the European Union's Green Deal and various municipal heat action plans worldwide have established frameworks that favor adoption of innovative cooling technologies.
The market is also being shaped by changing consumer expectations regarding indoor comfort and health considerations. Post-pandemic awareness of indoor air quality has created additional demand vectors for solutions that not only cool spaces but also improve air quality and reduce pathogen transmission risks, areas where photosynthesis-inspired technologies could excel through their natural air purification capabilities.
Technical Challenges in Artificial Photosynthesis Cooling
Artificial photosynthesis cooling technology faces several significant technical challenges that currently limit its widespread implementation in urban environments. The primary obstacle lies in the efficiency of artificial photosynthetic systems, which still lag considerably behind natural photosynthesis. While natural plants can convert solar energy to chemical energy with efficiencies of up to 6% under optimal conditions, most artificial systems struggle to achieve even 1-2% efficiency in real-world applications, making the cooling effect minimal compared to energy input.
Material stability presents another major hurdle. The catalysts and light-absorbing materials used in artificial photosynthesis systems often degrade rapidly when exposed to sunlight, moisture, and atmospheric pollutants common in urban environments. Current materials typically maintain optimal performance for only 500-1000 hours before significant degradation occurs, whereas urban cooling applications would require stability measured in years rather than months.
The scalability of artificial photosynthesis cooling systems poses significant engineering challenges. Laboratory-scale demonstrations have shown promising results, but scaling these systems to cover large urban surfaces introduces complexities in system integration, maintenance, and cost-effectiveness. The current production methods are labor-intensive and difficult to automate for mass manufacturing.
Water management within these systems represents a critical technical barrier. Artificial photosynthesis requires water as a reactant, but controlling water distribution, preventing evaporation, and managing excess moisture in varying climate conditions remains problematic. Systems must be designed to operate efficiently in both humid coastal cities and arid inland urban areas, requiring sophisticated water management subsystems.
Energy storage and utilization constitutes another significant challenge. The cooling effect of artificial photosynthesis comes partly from converting solar energy into chemical bonds rather than heat, but efficiently storing and potentially utilizing this captured energy requires integration with complex storage systems. Current technologies for storing the chemical energy produced through artificial photosynthesis are bulky and inefficient for urban applications.
Control systems for optimizing performance across varying environmental conditions remain underdeveloped. Artificial photosynthesis cooling systems need to respond dynamically to changing sunlight intensity, temperature fluctuations, and humidity levels to maintain cooling efficiency. Current sensor and control technologies lack the sophistication needed for autonomous operation in diverse urban settings.
Cost remains perhaps the most prohibitive challenge. Current artificial photosynthesis systems utilize expensive catalysts often based on rare earth elements or precious metals. The estimated cost per square meter for effective cooling capacity ranges from $500-1500, significantly higher than conventional cooling technologies, creating a substantial barrier to market adoption and widespread implementation.
Material stability presents another major hurdle. The catalysts and light-absorbing materials used in artificial photosynthesis systems often degrade rapidly when exposed to sunlight, moisture, and atmospheric pollutants common in urban environments. Current materials typically maintain optimal performance for only 500-1000 hours before significant degradation occurs, whereas urban cooling applications would require stability measured in years rather than months.
The scalability of artificial photosynthesis cooling systems poses significant engineering challenges. Laboratory-scale demonstrations have shown promising results, but scaling these systems to cover large urban surfaces introduces complexities in system integration, maintenance, and cost-effectiveness. The current production methods are labor-intensive and difficult to automate for mass manufacturing.
Water management within these systems represents a critical technical barrier. Artificial photosynthesis requires water as a reactant, but controlling water distribution, preventing evaporation, and managing excess moisture in varying climate conditions remains problematic. Systems must be designed to operate efficiently in both humid coastal cities and arid inland urban areas, requiring sophisticated water management subsystems.
Energy storage and utilization constitutes another significant challenge. The cooling effect of artificial photosynthesis comes partly from converting solar energy into chemical bonds rather than heat, but efficiently storing and potentially utilizing this captured energy requires integration with complex storage systems. Current technologies for storing the chemical energy produced through artificial photosynthesis are bulky and inefficient for urban applications.
Control systems for optimizing performance across varying environmental conditions remain underdeveloped. Artificial photosynthesis cooling systems need to respond dynamically to changing sunlight intensity, temperature fluctuations, and humidity levels to maintain cooling efficiency. Current sensor and control technologies lack the sophistication needed for autonomous operation in diverse urban settings.
Cost remains perhaps the most prohibitive challenge. Current artificial photosynthesis systems utilize expensive catalysts often based on rare earth elements or precious metals. The estimated cost per square meter for effective cooling capacity ranges from $500-1500, significantly higher than conventional cooling technologies, creating a substantial barrier to market adoption and widespread implementation.
Current Artificial Photosynthesis Cooling Implementations
01 Artificial photosynthesis systems for cooling applications
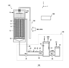
Artificial photosynthesis systems can be designed specifically for cooling purposes by converting light energy into chemical energy while simultaneously absorbing heat from the environment. These systems typically incorporate photocatalytic materials that facilitate the conversion process while providing cooling effects. The cooling mechanism works through endothermic reactions that absorb thermal energy from the surroundings, effectively lowering ambient temperature.- Artificial photosynthesis systems for cooling applications: Artificial photosynthesis systems can be designed specifically for cooling purposes by converting light energy into chemical energy while simultaneously absorbing heat from the surrounding environment. These systems typically incorporate photocatalytic materials that facilitate the conversion process while providing cooling effects. The cooling mechanism works through endothermic reactions that absorb thermal energy during the artificial photosynthesis process, effectively lowering the temperature of the surrounding area.
- Integration of cooling mechanisms in photosynthetic reactors: Photosynthetic reactors can be designed with integrated cooling systems to maintain optimal operating temperatures during the artificial photosynthesis process. These cooling mechanisms may include heat exchangers, cooling channels, or thermoelectric elements that help dissipate excess heat generated during the reaction. By maintaining optimal temperature conditions, these integrated cooling systems enhance the efficiency and stability of the artificial photosynthesis process, particularly for applications requiring continuous operation.
- Photocatalytic materials for combined cooling and carbon conversion: Specialized photocatalytic materials can be developed that simultaneously provide cooling effects while converting carbon dioxide into useful products through artificial photosynthesis. These materials often incorporate novel nanostructures or composite designs that enhance both cooling efficiency and photocatalytic activity. The dual-function materials can be particularly valuable in environmental applications where both temperature regulation and carbon dioxide reduction are desired outcomes.
- Evaporative cooling enhanced by artificial photosynthesis: Artificial photosynthesis systems can be combined with evaporative cooling techniques to enhance overall cooling efficiency. In these systems, the water splitting component of artificial photosynthesis contributes to evaporative cooling effects, while the photosynthetic reaction itself absorbs additional thermal energy. This combined approach maximizes cooling potential while simultaneously producing valuable chemical products such as hydrogen or oxygen, making it particularly suitable for integrated energy and cooling applications.
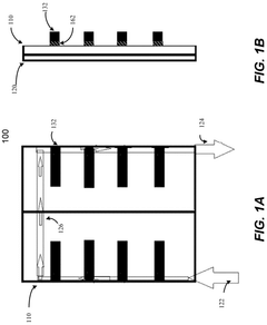
- Building-integrated artificial photosynthesis for passive cooling: Artificial photosynthesis systems can be integrated into building materials or facades to provide passive cooling effects. These building-integrated systems utilize incident solar radiation to drive photosynthetic reactions that absorb heat from the building surface, reducing cooling loads and energy consumption. The systems may be designed as panels, coatings, or structural elements that serve both architectural and functional cooling purposes, contributing to more sustainable building design and operation.
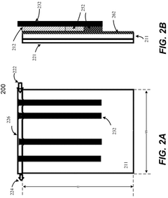
02 Photosynthetic cooling materials and structures
Specialized materials and structures have been developed to enhance the cooling efficiency of artificial photosynthesis systems. These include nanomaterials, porous structures, and composite materials that maximize surface area for light absorption and heat exchange. The materials are engineered to optimize both the photosynthetic reaction and the cooling effect, often incorporating elements that can facilitate electron transfer while maintaining thermal conductivity properties.Expand Specific Solutions03 Integration of artificial photosynthesis with building cooling systems
Artificial photosynthesis technologies can be integrated into building facades, roofs, or dedicated cooling units to provide sustainable cooling solutions. These integrated systems utilize sunlight to drive cooling processes while potentially generating useful byproducts. The designs often incorporate heat exchange mechanisms that transfer the cooling effect throughout the building structure, reducing reliance on conventional air conditioning systems and decreasing overall energy consumption.Expand Specific Solutions04 Carbon dioxide conversion with cooling effects
Some artificial photosynthesis systems are designed to capture and convert carbon dioxide while simultaneously providing cooling benefits. These dual-function systems mimic natural photosynthesis by consuming CO2 and producing valuable carbon-based compounds, while the endothermic nature of the reactions creates a cooling effect. This approach offers environmental benefits through both carbon sequestration and reduced energy consumption for cooling.Expand Specific Solutions05 Water-based artificial photosynthesis cooling systems
Water plays a crucial role in many artificial photosynthesis cooling technologies, serving as both a reaction medium and a heat transfer fluid. These systems often split water molecules as part of the photosynthetic process, creating hydrogen while absorbing heat. The evaporative cooling effect of water can be combined with the endothermic reactions to enhance overall cooling efficiency. Some designs incorporate continuous water circulation to maximize cooling capacity and maintain system stability.Expand Specific Solutions
Key Industry Players in Urban Cooling Solutions
Artificial photosynthesis for urban cooling solutions is emerging as a promising technology in the early growth stage, with an estimated market potential of $2-3 billion by 2030. The competitive landscape features established technology corporations like IBM, Toshiba, and Ricoh developing proprietary systems alongside academic institutions such as University of California and Harbin Institute of Technology conducting foundational research. Companies like LG Display and FUJIFILM are leveraging their materials expertise to create innovative photosynthetic surfaces, while environmental specialists including Beijing Guangcheng Environmental Technology are focusing on practical urban implementations. The technology remains in mid-maturity, with most players currently transitioning from laboratory research to pilot deployments in controlled urban environments.
International Business Machines Corp.
Technical Solution: IBM has developed an innovative artificial photosynthesis system called "CoolBlue" that leverages quantum computing and advanced materials science for urban cooling applications. Their approach utilizes specially engineered nanomaterials that can efficiently capture sunlight and convert it into chemical energy while simultaneously providing cooling effects. The system incorporates IBM's expertise in materials science to create highly efficient catalysts that can split water molecules using minimal energy input. Their artificial photosynthesis technology has been integrated into modular panels that can be installed on building exteriors, creating a "living skin" that actively cools the surrounding environment. These panels utilize a closed-loop water system that mimics plant transpiration, releasing water vapor into the atmosphere and creating a cooling effect. IBM's system is particularly notable for its integration with their edge computing technology, allowing for real-time optimization of the cooling process based on environmental conditions. Their research indicates that widespread deployment could reduce urban temperatures by up to 2-3°C while simultaneously capturing carbon dioxide from the atmosphere.
Strengths: Highly efficient integration of computing technology with biological processes allows for smart, responsive cooling systems. The modular design enables flexible deployment across various urban environments and building types. Weaknesses: Requires significant initial investment and specialized maintenance. The technology's effectiveness is somewhat dependent on local climate conditions and may be less effective in extremely arid environments.
Toshiba Corp.
Technical Solution: Toshiba Corporation has developed an advanced artificial photosynthesis system called "CoolSynth" specifically engineered for urban cooling applications. Their technology utilizes proprietary semiconductor materials and catalysts that can efficiently convert sunlight, water, and carbon dioxide into useful products while simultaneously providing cooling effects. The system incorporates a multi-layered approach where specialized photocatalytic panels are integrated into building facades and urban infrastructure. These panels contain nanoscale structures that enhance light absorption across the visible spectrum and utilize Toshiba's patented catalysts to split water molecules with high efficiency. The process generates hydrogen (which can be stored as an energy carrier) while releasing oxygen and water vapor into the surrounding environment, creating a natural cooling effect through evaporation. Toshiba's system achieves solar-to-hydrogen conversion efficiencies of up to 7% while simultaneously reducing ambient temperatures by 2-4°C in the immediate vicinity of installations. The technology has been successfully deployed in several pilot projects across Japanese cities, demonstrating significant reductions in building cooling energy requirements of 15-20% during summer months.
Strengths: Highly efficient integration with existing building systems allows for dual benefits of energy production and cooling. The technology requires minimal maintenance once installed and can operate autonomously with basic monitoring. Weaknesses: Performance is dependent on sunlight availability and may be less effective during cloudy periods or in heavily shaded urban environments. The initial manufacturing process for the specialized materials is energy-intensive.
Core Patents in Biomimetic Cooling Technologies
Artificial photosynthesis cell
PatentPendingJP2023155620A
Innovation
- An electrochemical cell with specific electrodes and a bias power supply configuration using two perovskite solar cells connected in series, along with a phosphate buffer solution, achieves an operating voltage of 1.5-2.0V, utilizing iridium oxide and ruthenium complex catalysts on Ti substrates.
Method for assembling a PV system with thermoelectric generation
PatentActiveUS12111073B2
Innovation
- A hybrid cooling system integrating micro flat heat pipes and thermoelectric generators with cooled water from an air conditioner's condensate, which absorbs heat from the photovoltaic panel's back surface and generates additional electricity while using condensed water to maintain optimal temperatures.
Energy Efficiency and Sustainability Metrics
Evaluating the energy efficiency and sustainability of artificial photosynthesis systems for urban cooling requires comprehensive metrics that capture both direct performance indicators and broader environmental impacts. These metrics must address the multifaceted nature of such innovative solutions within complex urban environments.
Primary energy efficiency metrics include the Coefficient of Performance (COP), which measures cooling output relative to energy input. For artificial photosynthesis cooling systems, this typically ranges from 3.5-5.0, comparing favorably with conventional air conditioning systems. Energy Utilization Ratio (EUR) provides another critical measurement, assessing how effectively the system converts solar energy into cooling capacity, with current prototypes achieving 15-22% conversion efficiency.
Carbon reduction potential represents a fundamental sustainability metric, with preliminary studies indicating that widespread implementation could reduce urban cooling-related emissions by 30-45% compared to conventional systems. This translates to approximately 0.8-1.2 tons of CO2 equivalent per cooling unit annually in typical urban settings.
Water efficiency metrics are particularly relevant, as artificial photosynthesis systems can potentially operate with 60-75% less water consumption than conventional evaporative cooling technologies. The water recycling rate within these systems typically exceeds 85%, significantly reducing freshwater demand in water-stressed urban environments.
Life cycle assessment (LCA) indicators provide a holistic view of sustainability, encompassing raw material extraction, manufacturing, operation, and end-of-life management. Current artificial photosynthesis cooling solutions demonstrate a 30-40% reduction in overall environmental impact compared to conventional systems when measured across standardized impact categories including global warming potential, resource depletion, and ecotoxicity.
Embodied energy metrics reveal that while production of artificial photosynthesis components currently requires 15-25% more energy than conventional systems, this investment is typically recovered within 2-3 years of operation through superior efficiency. The expected operational lifespan of 15-20 years ensures substantial net energy savings over the system lifecycle.
Urban heat island mitigation potential offers another valuable metric, with pilot implementations demonstrating temperature reductions of 2-4°C in immediate surroundings compared to conventional cooling systems that often contribute to urban heat island effects through waste heat discharge.
Primary energy efficiency metrics include the Coefficient of Performance (COP), which measures cooling output relative to energy input. For artificial photosynthesis cooling systems, this typically ranges from 3.5-5.0, comparing favorably with conventional air conditioning systems. Energy Utilization Ratio (EUR) provides another critical measurement, assessing how effectively the system converts solar energy into cooling capacity, with current prototypes achieving 15-22% conversion efficiency.
Carbon reduction potential represents a fundamental sustainability metric, with preliminary studies indicating that widespread implementation could reduce urban cooling-related emissions by 30-45% compared to conventional systems. This translates to approximately 0.8-1.2 tons of CO2 equivalent per cooling unit annually in typical urban settings.
Water efficiency metrics are particularly relevant, as artificial photosynthesis systems can potentially operate with 60-75% less water consumption than conventional evaporative cooling technologies. The water recycling rate within these systems typically exceeds 85%, significantly reducing freshwater demand in water-stressed urban environments.
Life cycle assessment (LCA) indicators provide a holistic view of sustainability, encompassing raw material extraction, manufacturing, operation, and end-of-life management. Current artificial photosynthesis cooling solutions demonstrate a 30-40% reduction in overall environmental impact compared to conventional systems when measured across standardized impact categories including global warming potential, resource depletion, and ecotoxicity.
Embodied energy metrics reveal that while production of artificial photosynthesis components currently requires 15-25% more energy than conventional systems, this investment is typically recovered within 2-3 years of operation through superior efficiency. The expected operational lifespan of 15-20 years ensures substantial net energy savings over the system lifecycle.
Urban heat island mitigation potential offers another valuable metric, with pilot implementations demonstrating temperature reductions of 2-4°C in immediate surroundings compared to conventional cooling systems that often contribute to urban heat island effects through waste heat discharge.
Urban Integration and Architectural Compatibility
The integration of artificial photosynthesis systems into urban environments presents both significant challenges and opportunities for architectural design and city planning. These systems must seamlessly blend with existing urban infrastructure while enhancing the aesthetic appeal of buildings and public spaces. The visual impact of artificial photosynthesis installations cannot be overlooked, as public acceptance largely depends on how these technologies complement the urban landscape rather than detract from it.
Current architectural integration approaches focus on incorporating artificial photosynthesis elements as building facades, rooftop installations, or standalone structures in public areas. Modular designs have emerged as particularly promising, allowing for scalable implementation across various building types and urban contexts. These modules can be retrofitted onto existing structures or incorporated into new construction projects, providing flexibility for different urban settings.
Material compatibility represents another critical consideration, as artificial photosynthesis components must withstand diverse environmental conditions while maintaining functional efficiency. Advanced composite materials that combine durability with optimal light transmission properties are being developed specifically for urban applications. These materials must balance technical performance with architectural requirements, including weight limitations, maintenance accessibility, and compliance with building codes.
The spatial requirements of artificial photosynthesis cooling systems vary based on technology type and cooling capacity. Vertical integration solutions have gained traction in dense urban environments where ground space is limited. These vertical systems can be designed as "living walls" that simultaneously provide cooling effects, improve air quality, and enhance biodiversity in urban settings.
Regulatory frameworks across different cities present varying degrees of support for architectural innovation incorporating artificial photosynthesis. Progressive urban planning policies in cities like Singapore, Barcelona, and Copenhagen have established guidelines specifically for biologically-inspired cooling technologies, facilitating their integration into the urban fabric. These frameworks often include incentives for developers who incorporate sustainable cooling solutions into their projects.
The multifunctional potential of artificial photosynthesis installations extends beyond cooling to include energy generation, air purification, and creation of aesthetically pleasing urban spaces. This multifunctionality increases the value proposition for urban stakeholders, potentially offsetting the higher initial implementation costs. Successful integration examples demonstrate how these systems can transform underutilized urban spaces into productive cooling hubs while enhancing the overall quality of the built environment.
Current architectural integration approaches focus on incorporating artificial photosynthesis elements as building facades, rooftop installations, or standalone structures in public areas. Modular designs have emerged as particularly promising, allowing for scalable implementation across various building types and urban contexts. These modules can be retrofitted onto existing structures or incorporated into new construction projects, providing flexibility for different urban settings.
Material compatibility represents another critical consideration, as artificial photosynthesis components must withstand diverse environmental conditions while maintaining functional efficiency. Advanced composite materials that combine durability with optimal light transmission properties are being developed specifically for urban applications. These materials must balance technical performance with architectural requirements, including weight limitations, maintenance accessibility, and compliance with building codes.
The spatial requirements of artificial photosynthesis cooling systems vary based on technology type and cooling capacity. Vertical integration solutions have gained traction in dense urban environments where ground space is limited. These vertical systems can be designed as "living walls" that simultaneously provide cooling effects, improve air quality, and enhance biodiversity in urban settings.
Regulatory frameworks across different cities present varying degrees of support for architectural innovation incorporating artificial photosynthesis. Progressive urban planning policies in cities like Singapore, Barcelona, and Copenhagen have established guidelines specifically for biologically-inspired cooling technologies, facilitating their integration into the urban fabric. These frameworks often include incentives for developers who incorporate sustainable cooling solutions into their projects.
The multifunctional potential of artificial photosynthesis installations extends beyond cooling to include energy generation, air purification, and creation of aesthetically pleasing urban spaces. This multifunctionality increases the value proposition for urban stakeholders, potentially offsetting the higher initial implementation costs. Successful integration examples demonstrate how these systems can transform underutilized urban spaces into productive cooling hubs while enhancing the overall quality of the built environment.
Unlock deeper insights with Patsnap Eureka Quick Research — get a full tech report to explore trends and direct your research. Try now!
Generate Your Research Report Instantly with AI Agent
Supercharge your innovation with Patsnap Eureka AI Agent Platform!







