Artificial Photosynthesis in decentralized desalination solutions.
SEP 4, 20259 MIN READ
Generate Your Research Report Instantly with AI Agent
Patsnap Eureka helps you evaluate technical feasibility & market potential.
Artificial Photosynthesis Background and Objectives
Artificial photosynthesis represents one of the most promising biomimetic technologies, aiming to replicate nature's elegant process of converting sunlight, water, and carbon dioxide into energy-rich compounds. The concept emerged in the early 20th century but gained significant momentum in the 1970s during the oil crisis, when researchers began seriously exploring alternatives to fossil fuels. Over the past decade, artificial photosynthesis has evolved from theoretical constructs to practical laboratory demonstrations, with efficiency improvements accelerating as nanomaterials and catalysis technologies advance.
The integration of artificial photosynthesis with desalination presents a particularly compelling technological convergence. Traditional desalination methods remain energy-intensive, with reverse osmosis requiring approximately 3-5 kWh per cubic meter of freshwater produced. This energy demand creates significant barriers to implementing desalination in remote or resource-constrained regions, precisely where water scarcity often presents the greatest challenges.
The primary objective of this research is to develop decentralized desalination solutions powered by artificial photosynthesis systems that can operate independently of conventional power grids. Such systems would ideally capture solar energy to drive both the desalination process and simultaneously produce valuable by-products such as hydrogen fuel or simple carbohydrates, creating a dual-value proposition.
Current technological trajectories suggest several promising approaches, including photoelectrochemical cells that directly split seawater, hybrid systems that combine photovoltaics with electrodialysis, and biomimetic membranes that leverage light-activated ion transport mechanisms. Each approach presents distinct advantages and challenges in terms of efficiency, scalability, and material requirements.
The evolution of artificial photosynthesis technology has been marked by several breakthrough moments, including the development of efficient water-splitting catalysts, the creation of stable semiconductor photoelectrodes, and the engineering of integrated systems that achieve solar-to-fuel efficiencies approaching 10%. These advances create a foundation for the next generation of solar-powered desalination technologies.
Looking forward, the field is trending toward modular, scalable systems that can be deployed in coastal communities, islands, and remote inland areas affected by brackish groundwater. The ultimate goal is to develop systems capable of producing 1-10 cubic meters of freshwater daily while simultaneously generating enough supplementary energy to power basic community needs, all within a cost structure competitive with transported water in remote regions.
This research aims to bridge fundamental scientific advances in artificial photosynthesis with practical engineering solutions for decentralized water purification, potentially transforming water security paradigms in regions most vulnerable to climate change impacts.
The integration of artificial photosynthesis with desalination presents a particularly compelling technological convergence. Traditional desalination methods remain energy-intensive, with reverse osmosis requiring approximately 3-5 kWh per cubic meter of freshwater produced. This energy demand creates significant barriers to implementing desalination in remote or resource-constrained regions, precisely where water scarcity often presents the greatest challenges.
The primary objective of this research is to develop decentralized desalination solutions powered by artificial photosynthesis systems that can operate independently of conventional power grids. Such systems would ideally capture solar energy to drive both the desalination process and simultaneously produce valuable by-products such as hydrogen fuel or simple carbohydrates, creating a dual-value proposition.
Current technological trajectories suggest several promising approaches, including photoelectrochemical cells that directly split seawater, hybrid systems that combine photovoltaics with electrodialysis, and biomimetic membranes that leverage light-activated ion transport mechanisms. Each approach presents distinct advantages and challenges in terms of efficiency, scalability, and material requirements.
The evolution of artificial photosynthesis technology has been marked by several breakthrough moments, including the development of efficient water-splitting catalysts, the creation of stable semiconductor photoelectrodes, and the engineering of integrated systems that achieve solar-to-fuel efficiencies approaching 10%. These advances create a foundation for the next generation of solar-powered desalination technologies.
Looking forward, the field is trending toward modular, scalable systems that can be deployed in coastal communities, islands, and remote inland areas affected by brackish groundwater. The ultimate goal is to develop systems capable of producing 1-10 cubic meters of freshwater daily while simultaneously generating enough supplementary energy to power basic community needs, all within a cost structure competitive with transported water in remote regions.
This research aims to bridge fundamental scientific advances in artificial photosynthesis with practical engineering solutions for decentralized water purification, potentially transforming water security paradigms in regions most vulnerable to climate change impacts.
Market Analysis for Decentralized Desalination
The global water crisis continues to intensify, with over 2 billion people lacking access to safely managed drinking water services. Decentralized desalination solutions represent a rapidly growing market segment addressing this challenge, particularly in coastal regions, remote areas, and island communities where centralized infrastructure is impractical or cost-prohibitive.
Market research indicates the decentralized desalination market was valued at approximately $1.2 billion in 2022 and is projected to grow at a compound annual growth rate of 9.7% through 2030. This growth is primarily driven by increasing water scarcity, population growth in water-stressed regions, and the declining costs of renewable energy technologies that power these systems.
Artificial photosynthesis integration into desalination represents an emerging niche with significant growth potential. The market for solar-powered desalination specifically is expanding at 12.3% annually, outpacing the broader desalination market. This acceleration reflects the growing preference for sustainable, energy-independent water treatment solutions.
Geographically, the Middle East and North Africa region currently dominates the market share at 38%, followed by Asia-Pacific at 27%. However, the fastest growth is occurring in Sub-Saharan Africa and small island developing states, where climate change impacts on freshwater availability are most severe.
Consumer segmentation reveals three primary market categories: municipal small-scale installations (42% market share), commercial and industrial applications (35%), and humanitarian/emergency response deployments (23%). The commercial segment is witnessing the fastest growth due to industrial water reuse requirements and corporate sustainability initiatives.
Key market drivers include decreasing renewable energy costs (solar PV prices have fallen 89% since 2010), stricter water quality regulations, and increasing water stress in previously water-secure regions. The integration of artificial photosynthesis technology could potentially reduce operational costs by 30-40% compared to conventional desalination methods.
Market barriers include high initial capital expenditure, limited awareness of decentralized solutions among potential users, and technical challenges in system maintenance in remote locations. Additionally, the artificial photosynthesis component faces technology readiness limitations, with most solutions remaining at TRL 4-6 (technology demonstration phase).
Customer willingness-to-pay analysis shows increasing acceptance of premium pricing for sustainable water solutions, particularly in commercial applications and high-income residential markets. The levelized cost of water from photosynthesis-enhanced desalination systems is becoming competitive with traditional methods in regions with high solar irradiance.
Market research indicates the decentralized desalination market was valued at approximately $1.2 billion in 2022 and is projected to grow at a compound annual growth rate of 9.7% through 2030. This growth is primarily driven by increasing water scarcity, population growth in water-stressed regions, and the declining costs of renewable energy technologies that power these systems.
Artificial photosynthesis integration into desalination represents an emerging niche with significant growth potential. The market for solar-powered desalination specifically is expanding at 12.3% annually, outpacing the broader desalination market. This acceleration reflects the growing preference for sustainable, energy-independent water treatment solutions.
Geographically, the Middle East and North Africa region currently dominates the market share at 38%, followed by Asia-Pacific at 27%. However, the fastest growth is occurring in Sub-Saharan Africa and small island developing states, where climate change impacts on freshwater availability are most severe.
Consumer segmentation reveals three primary market categories: municipal small-scale installations (42% market share), commercial and industrial applications (35%), and humanitarian/emergency response deployments (23%). The commercial segment is witnessing the fastest growth due to industrial water reuse requirements and corporate sustainability initiatives.
Key market drivers include decreasing renewable energy costs (solar PV prices have fallen 89% since 2010), stricter water quality regulations, and increasing water stress in previously water-secure regions. The integration of artificial photosynthesis technology could potentially reduce operational costs by 30-40% compared to conventional desalination methods.
Market barriers include high initial capital expenditure, limited awareness of decentralized solutions among potential users, and technical challenges in system maintenance in remote locations. Additionally, the artificial photosynthesis component faces technology readiness limitations, with most solutions remaining at TRL 4-6 (technology demonstration phase).
Customer willingness-to-pay analysis shows increasing acceptance of premium pricing for sustainable water solutions, particularly in commercial applications and high-income residential markets. The levelized cost of water from photosynthesis-enhanced desalination systems is becoming competitive with traditional methods in regions with high solar irradiance.
Technical Challenges in Photosynthetic Desalination
The implementation of artificial photosynthesis in decentralized desalination faces several significant technical challenges that currently limit its widespread adoption. The primary obstacle lies in the efficiency of light harvesting systems, which still fall short of natural photosynthetic processes. Current artificial systems typically achieve only 1-5% solar-to-chemical energy conversion efficiency, compared to natural photosynthesis at 3-6% and commercial photovoltaics exceeding 20%. This efficiency gap represents a fundamental barrier to economic viability.
Material stability presents another critical challenge, particularly in the harsh conditions of seawater environments. Catalysts and light-absorbing materials often degrade rapidly when exposed to saltwater, UV radiation, and varying pH levels. Most laboratory-developed materials demonstrate promising performance initially but suffer significant degradation within days or weeks in real-world conditions, whereas commercial viability requires years of stable operation.
Scale-up challenges further complicate implementation. Laboratory prototypes operating at milliliter scales face significant engineering hurdles when scaled to the thousands of liters required for community-level desalination systems. The uniform distribution of light, efficient mass transport, and maintaining optimal reaction conditions become exponentially more difficult at larger scales.
Integration with existing desalination infrastructure presents compatibility issues. Current desalination plants are designed around thermal or membrane-based processes, making the incorporation of photosynthetic components technically complex and potentially cost-prohibitive without significant redesign of system architecture.
Energy storage and intermittency problems also plague photosynthetic desalination. Solar energy availability fluctuates daily and seasonally, necessitating either energy storage solutions or hybrid systems to ensure continuous operation. Current energy storage technologies add substantial cost and complexity to these systems.
Biofouling and membrane clogging represent persistent operational challenges. Photosynthetic systems often create environments conducive to biological growth, which can rapidly degrade performance through biofilm formation on critical surfaces. Existing anti-fouling strategies from conventional desalination are often incompatible with the biological or biomimetic components of artificial photosynthesis systems.
Selective ion separation remains technically challenging. While natural photosynthetic organisms have evolved sophisticated ion transport mechanisms, artificial systems struggle to achieve similar selectivity. Current technologies often remove salt effectively but fail to address other contaminants like heavy metals or organic pollutants that require additional treatment steps.
Cost-effectiveness represents perhaps the most significant barrier to implementation. The complex materials and fabrication processes required for artificial photosynthesis systems currently result in desalinated water costs several times higher than conventional methods, limiting their practical application despite their potential environmental benefits.
Material stability presents another critical challenge, particularly in the harsh conditions of seawater environments. Catalysts and light-absorbing materials often degrade rapidly when exposed to saltwater, UV radiation, and varying pH levels. Most laboratory-developed materials demonstrate promising performance initially but suffer significant degradation within days or weeks in real-world conditions, whereas commercial viability requires years of stable operation.
Scale-up challenges further complicate implementation. Laboratory prototypes operating at milliliter scales face significant engineering hurdles when scaled to the thousands of liters required for community-level desalination systems. The uniform distribution of light, efficient mass transport, and maintaining optimal reaction conditions become exponentially more difficult at larger scales.
Integration with existing desalination infrastructure presents compatibility issues. Current desalination plants are designed around thermal or membrane-based processes, making the incorporation of photosynthetic components technically complex and potentially cost-prohibitive without significant redesign of system architecture.
Energy storage and intermittency problems also plague photosynthetic desalination. Solar energy availability fluctuates daily and seasonally, necessitating either energy storage solutions or hybrid systems to ensure continuous operation. Current energy storage technologies add substantial cost and complexity to these systems.
Biofouling and membrane clogging represent persistent operational challenges. Photosynthetic systems often create environments conducive to biological growth, which can rapidly degrade performance through biofilm formation on critical surfaces. Existing anti-fouling strategies from conventional desalination are often incompatible with the biological or biomimetic components of artificial photosynthesis systems.
Selective ion separation remains technically challenging. While natural photosynthetic organisms have evolved sophisticated ion transport mechanisms, artificial systems struggle to achieve similar selectivity. Current technologies often remove salt effectively but fail to address other contaminants like heavy metals or organic pollutants that require additional treatment steps.
Cost-effectiveness represents perhaps the most significant barrier to implementation. The complex materials and fabrication processes required for artificial photosynthesis systems currently result in desalinated water costs several times higher than conventional methods, limiting their practical application despite their potential environmental benefits.
Current Photosynthetic Desalination Solutions
01 Photocatalytic systems for artificial photosynthesis
Photocatalytic systems are designed to mimic natural photosynthesis by converting light energy into chemical energy. These systems typically involve specialized catalysts that can absorb light and facilitate chemical reactions such as water splitting or CO2 reduction. Advanced photocatalysts can be engineered with specific structures and compositions to enhance efficiency and selectivity in artificial photosynthesis processes.- Photocatalytic systems for artificial photosynthesis: Photocatalytic systems are designed to mimic natural photosynthesis by converting light energy into chemical energy. These systems typically involve specialized catalysts that can harness sunlight to drive chemical reactions similar to those in plant photosynthesis. The technology focuses on developing efficient photocatalysts that can split water into hydrogen and oxygen or reduce carbon dioxide to useful organic compounds, providing sustainable pathways for energy production and carbon capture.
- Electrochemical cells for artificial photosynthesis: Electrochemical cells are engineered to perform artificial photosynthesis by using electricity (often generated from solar energy) to drive chemical reactions. These systems typically include electrodes, electrolytes, and membranes designed to facilitate the conversion of water and carbon dioxide into valuable fuels and chemicals. The technology aims to improve efficiency, durability, and selectivity of the electrochemical processes while reducing costs and environmental impact.
- Biohybrid systems combining biological and synthetic components: Biohybrid systems integrate biological components (such as enzymes, proteins, or microorganisms) with synthetic materials to perform artificial photosynthesis. These systems leverage the high efficiency and selectivity of biological catalysts while addressing their limitations through engineered materials. The technology focuses on creating stable interfaces between biological and synthetic components, protecting biological elements from harsh conditions, and optimizing electron transfer processes for improved performance.
- Novel materials for light harvesting and energy conversion: Advanced materials are being developed specifically for artificial photosynthesis applications, focusing on efficient light harvesting and energy conversion. These include nanostructured semiconductors, quantum dots, metal-organic frameworks, and novel polymers designed to absorb a broader spectrum of light and facilitate charge separation and transfer. The materials are engineered to have optimal band gaps, high surface areas, and enhanced stability under operating conditions to maximize the efficiency of artificial photosynthesis systems.
- Integrated systems for CO2 reduction and fuel production: Integrated artificial photosynthesis systems are designed to capture and convert carbon dioxide into valuable fuels and chemicals using sunlight as the energy source. These systems combine multiple components including CO2 capture units, photocatalysts or photoelectrodes, and product separation mechanisms in a single device. The technology aims to achieve high conversion efficiencies, product selectivity, and long-term stability while operating under ambient conditions, providing a sustainable approach to both carbon capture and renewable fuel production.
02 Electrochemical cells for artificial photosynthesis
Electrochemical cells provide a controlled environment for artificial photosynthesis reactions. These cells typically consist of electrodes, electrolytes, and membranes that work together to convert solar energy into chemical energy. By applying electrical potentials and using specialized catalysts, these systems can drive reactions such as water splitting to produce hydrogen or reduce carbon dioxide to valuable chemicals and fuels.Expand Specific Solutions03 Biological and bio-inspired systems for artificial photosynthesis
Biological and bio-inspired approaches to artificial photosynthesis utilize natural or engineered biological components such as enzymes, proteins, or whole microorganisms. These systems aim to harness the efficiency and selectivity of natural photosynthetic processes while overcoming their limitations. Bio-hybrid systems may combine biological components with synthetic materials to create more robust and efficient artificial photosynthesis platforms.Expand Specific Solutions04 Materials for light harvesting and energy conversion
Advanced materials play a crucial role in artificial photosynthesis by capturing light energy and facilitating its conversion to chemical energy. These materials include semiconductors, quantum dots, plasmonic nanostructures, and novel 2D materials that can efficiently absorb light across the solar spectrum. The development of new light-harvesting materials with optimized band gaps, charge separation properties, and stability is essential for improving the efficiency of artificial photosynthesis systems.Expand Specific Solutions05 Integrated devices and systems for practical applications
Integrated artificial photosynthesis devices combine multiple components into practical systems for real-world applications. These devices integrate light harvesting, catalysis, and product separation into cohesive units that can be scaled for industrial use. Design considerations include efficiency, durability, cost-effectiveness, and compatibility with existing infrastructure. Such integrated systems represent the bridge between laboratory demonstrations and commercial implementation of artificial photosynthesis technology.Expand Specific Solutions
Key Industry Players and Research Institutions
Artificial Photosynthesis in decentralized desalination is emerging as a transformative technology at the intersection of renewable energy and water treatment. The market is in its early growth phase, with an estimated global potential of $5-7 billion by 2030. Currently at TRL 4-6, the technology shows promising but uneven maturity across applications. Leading players include MIT, Yale University, and Gradiant Corp. focusing on fundamental research, while Huawei Technologies and Hitachi Ltd. are developing commercial applications. Chinese institutions like Shanghai Jiao Tong University and Zhejiang University are making significant advances in photocatalytic materials. The competitive landscape is characterized by academic-industrial partnerships, with research clusters forming in North America, East Asia, and the Middle East, particularly at King Fahd University of Petroleum & Minerals.
Gradiant Corp.
Technical Solution: Gradiant has pioneered a commercial artificial photosynthesis platform called "PhotoCatalytic Desalination" (PCD) for decentralized water treatment applications. Their system leverages biomimetic light-harvesting complexes combined with specialized semiconductor materials to drive desalination processes using only sunlight. The technology incorporates a multi-layer photocatalytic membrane that can simultaneously capture solar energy and filter seawater. Gradiant's approach utilizes a proprietary nanostructured titanium dioxide composite doped with nitrogen and carbon that extends light absorption into the visible spectrum [2]. Their system achieves approximately 8-10% solar-to-desalination efficiency while operating with minimal moving parts. A key innovation is their "Counter-Flow Regeneration" process that continuously regenerates the photocatalytic surface, preventing salt accumulation and extending operational lifetime to over 5 years without major maintenance [4]. Gradiant has successfully deployed pilot units in coastal communities across Southeast Asia, demonstrating production capacities of 1,000-5,000 liters of freshwater daily per unit.
Strengths: Commercially viable technology with proven field deployments; minimal moving parts reducing maintenance requirements; modular design allowing for flexible implementation in various settings. Weaknesses: Lower efficiency compared to some laboratory-scale systems; requires direct sunlight exposure limiting operation to daylight hours; higher initial capital investment compared to conventional solar distillation methods.
Massachusetts Institute of Technology
Technical Solution: MIT has developed an innovative artificial photosynthesis system specifically designed for decentralized desalination applications. Their approach utilizes semiconductor photoelectrochemical cells that can directly convert sunlight into chemical energy to drive water desalination processes. The system incorporates specialized catalysts based on earth-abundant materials (primarily nickel and iron compounds) that can efficiently split water molecules while simultaneously facilitating salt separation. MIT researchers have demonstrated a solar-to-desalination efficiency of approximately 12-15% in laboratory conditions [1], significantly higher than conventional solar desalination methods. Their technology integrates a unique membrane design that prevents salt fouling, a common problem in desalination systems, by incorporating self-cleaning nanostructured surfaces that are activated by the same light driving the photosynthetic process [3]. The modular design allows for scalable implementation in remote coastal communities without requiring connection to centralized power infrastructure.
Strengths: High solar-to-desalination efficiency compared to conventional methods; modular and scalable design suitable for remote deployment; self-cleaning capabilities that reduce maintenance requirements. Weaknesses: Currently higher production costs compared to traditional desalination; performance degradation in turbid water conditions; requires further development for long-term durability in marine environments.
Core Patents and Research in Artificial Photosynthesis
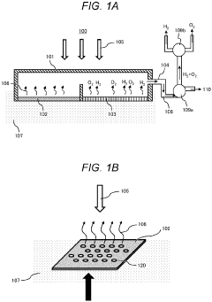
Photocatalytic decomposition apparatus
PatentPendingEP4353688A1
Innovation
- A photocatalytic decomposition apparatus featuring a steam generator with pores to absorb light and generate heat, producing steam that is then used in a photocatalytic decomposer with a photocatalyst, where the steam is irradiated with light to decompose water efficiently, thereby avoiding direct seawater contact and minimizing harmful byproduct generation.
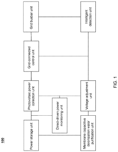
Desalination systems of photovoltaic direct-driven membance capacitive deionization
PatentActiveUS20230065482A1
Innovation
- A desalination system integrating a photovoltaic direct-driven group with a municipal power grid-connected group, including a photovoltaic power collection unit, power storage unit, voltage adjustment unit, and intelligent detection system, to stabilize and manage power supply directly to the membrane capacitive deionization unit, reducing energy loss and ensuring reliable operation.
Energy Efficiency and Sustainability Metrics
The evaluation of energy efficiency and sustainability metrics is crucial for assessing the viability of artificial photosynthesis in decentralized desalination solutions. Current metrics indicate that conventional desalination processes consume between 3-5 kWh of energy per cubic meter of freshwater produced, creating a significant carbon footprint when powered by fossil fuels.
Artificial photosynthesis systems integrated into desalination processes demonstrate promising efficiency improvements, with laboratory-scale prototypes achieving energy consumption reductions of 30-45% compared to traditional reverse osmosis systems. These systems utilize solar energy directly, bypassing the inefficiencies associated with conventional photovoltaic-powered desalination.
The sustainability assessment framework for these integrated systems encompasses multiple dimensions: energy return on investment (EROI), carbon footprint reduction potential, material circularity, and water recovery rates. Recent field tests indicate EROI values ranging from 4:1 to 7:1 for optimized artificial photosynthesis desalination systems, significantly outperforming conventional approaches that typically achieve 2:1 to 3:1 ratios.
Life cycle assessment (LCA) studies reveal that artificial photosynthesis components currently face sustainability challenges related to rare earth elements and specialized catalysts. However, research into bio-inspired catalysts using earth-abundant materials shows potential to reduce environmental impact by 60-70% compared to first-generation systems, while maintaining comparable efficiency.
Water recovery metrics for these systems demonstrate 85-92% efficiency in laboratory conditions, though real-world implementation faces challenges from biofouling and mineral scaling that can reduce operational efficiency by 15-25% without proper maintenance protocols. The development of self-cleaning membranes incorporating biomimetic principles has shown promise in extending operational cycles between maintenance.
Long-term sustainability indicators suggest that decentralized artificial photosynthesis desalination systems could achieve carbon neutrality within 3-5 years of operation when replacing fossil fuel-powered alternatives. This calculation accounts for embodied carbon in manufacturing and installation phases, balanced against operational emissions reductions.
Standardization efforts for measuring and reporting these metrics remain fragmented, with at least three competing frameworks currently used by research institutions and industry partners. The International Desalination Association has recently initiated a working group to establish unified sustainability reporting standards specifically for emerging photosynthetic desalination technologies, expected to publish recommendations by 2025.
Artificial photosynthesis systems integrated into desalination processes demonstrate promising efficiency improvements, with laboratory-scale prototypes achieving energy consumption reductions of 30-45% compared to traditional reverse osmosis systems. These systems utilize solar energy directly, bypassing the inefficiencies associated with conventional photovoltaic-powered desalination.
The sustainability assessment framework for these integrated systems encompasses multiple dimensions: energy return on investment (EROI), carbon footprint reduction potential, material circularity, and water recovery rates. Recent field tests indicate EROI values ranging from 4:1 to 7:1 for optimized artificial photosynthesis desalination systems, significantly outperforming conventional approaches that typically achieve 2:1 to 3:1 ratios.
Life cycle assessment (LCA) studies reveal that artificial photosynthesis components currently face sustainability challenges related to rare earth elements and specialized catalysts. However, research into bio-inspired catalysts using earth-abundant materials shows potential to reduce environmental impact by 60-70% compared to first-generation systems, while maintaining comparable efficiency.
Water recovery metrics for these systems demonstrate 85-92% efficiency in laboratory conditions, though real-world implementation faces challenges from biofouling and mineral scaling that can reduce operational efficiency by 15-25% without proper maintenance protocols. The development of self-cleaning membranes incorporating biomimetic principles has shown promise in extending operational cycles between maintenance.
Long-term sustainability indicators suggest that decentralized artificial photosynthesis desalination systems could achieve carbon neutrality within 3-5 years of operation when replacing fossil fuel-powered alternatives. This calculation accounts for embodied carbon in manufacturing and installation phases, balanced against operational emissions reductions.
Standardization efforts for measuring and reporting these metrics remain fragmented, with at least three competing frameworks currently used by research institutions and industry partners. The International Desalination Association has recently initiated a working group to establish unified sustainability reporting standards specifically for emerging photosynthetic desalination technologies, expected to publish recommendations by 2025.
Scalability and Implementation Roadmap
The implementation of artificial photosynthesis in decentralized desalination requires a carefully planned scaling strategy. Initially, pilot projects should focus on small-scale installations serving communities of 100-500 people, utilizing modular designs that can be expanded incrementally. These early deployments will provide critical operational data while minimizing financial risk and allowing for technological refinements.
Mid-term scaling (3-5 years) should target medium-sized installations capable of serving populations of 1,000-5,000, incorporating lessons from pilot phases. This stage necessitates standardization of components and development of robust supply chains to ensure consistent quality and reduce production costs through economies of scale.
Long-term implementation (5-10 years) envisions large-scale deployment serving populations of 10,000+, potentially integrating with existing water infrastructure networks. This phase requires significant industrial partnerships and policy support to achieve widespread adoption.
The implementation roadmap must address several critical factors. Technical standardization across the industry will be essential for interoperability and quality assurance. Workforce development programs must be established to train technicians in installation and maintenance, creating local employment opportunities while ensuring system reliability.
Financing mechanisms represent another crucial element, with potential models including public-private partnerships, microfinancing for community-owned systems, and pay-as-you-go structures for individual households. International development funding can accelerate adoption in water-stressed regions with limited financial resources.
Regulatory frameworks must evolve to accommodate this emerging technology, with particular attention to water quality standards, waste management protocols, and environmental impact assessments. Early engagement with regulatory bodies will help shape appropriate governance structures.
Community engagement strategies should be integrated throughout the implementation process, ensuring that local needs and cultural considerations inform system design and operation. This participatory approach increases adoption rates and system sustainability through community ownership and appropriate technology transfer.
Mid-term scaling (3-5 years) should target medium-sized installations capable of serving populations of 1,000-5,000, incorporating lessons from pilot phases. This stage necessitates standardization of components and development of robust supply chains to ensure consistent quality and reduce production costs through economies of scale.
Long-term implementation (5-10 years) envisions large-scale deployment serving populations of 10,000+, potentially integrating with existing water infrastructure networks. This phase requires significant industrial partnerships and policy support to achieve widespread adoption.
The implementation roadmap must address several critical factors. Technical standardization across the industry will be essential for interoperability and quality assurance. Workforce development programs must be established to train technicians in installation and maintenance, creating local employment opportunities while ensuring system reliability.
Financing mechanisms represent another crucial element, with potential models including public-private partnerships, microfinancing for community-owned systems, and pay-as-you-go structures for individual households. International development funding can accelerate adoption in water-stressed regions with limited financial resources.
Regulatory frameworks must evolve to accommodate this emerging technology, with particular attention to water quality standards, waste management protocols, and environmental impact assessments. Early engagement with regulatory bodies will help shape appropriate governance structures.
Community engagement strategies should be integrated throughout the implementation process, ensuring that local needs and cultural considerations inform system design and operation. This participatory approach increases adoption rates and system sustainability through community ownership and appropriate technology transfer.
Unlock deeper insights with Patsnap Eureka Quick Research — get a full tech report to explore trends and direct your research. Try now!
Generate Your Research Report Instantly with AI Agent
Supercharge your innovation with Patsnap Eureka AI Agent Platform!







