The future of Artificial Photosynthesis in remote energy access.
SEP 4, 20259 MIN READ
Generate Your Research Report Instantly with AI Agent
Patsnap Eureka helps you evaluate technical feasibility & market potential.
Artificial Photosynthesis Background and Objectives
Artificial photosynthesis represents one of the most promising biomimetic approaches to sustainable energy production, drawing inspiration from nature's elegant solution to energy harvesting. Since the early conceptual work in the 1970s, this field has evolved from theoretical frameworks to practical laboratory demonstrations, with significant acceleration in research output over the past decade. The fundamental principle involves capturing solar energy to drive chemical reactions that convert abundant resources like water and carbon dioxide into energy-rich fuels and chemicals, mirroring the natural photosynthetic process but with potentially higher efficiency.
The evolution of artificial photosynthesis technology has followed several distinct phases, beginning with basic photocatalytic water splitting systems and progressing toward more sophisticated integrated devices. Early research focused primarily on semiconductor-based systems, while recent advances have incorporated novel materials including metal-organic frameworks, quantum dots, and biohybrid systems that combine biological components with synthetic catalysts. This technological progression has been marked by steady improvements in solar-to-fuel conversion efficiency, durability, and cost-effectiveness.
Current global research trends indicate a shift toward practical applications beyond laboratory settings, with particular emphasis on scalable systems suitable for deployment in remote and off-grid locations. The integration of artificial photosynthesis with existing renewable energy infrastructure represents a key development pathway, potentially enabling energy independence for communities without reliable grid access. This aligns with broader sustainable development goals, particularly SDG 7 (affordable and clean energy) and SDG 13 (climate action).
The primary objective of artificial photosynthesis research for remote energy access is to develop robust, low-maintenance systems capable of operating in diverse environmental conditions with minimal technical support. These systems must achieve sufficient efficiency to provide meaningful energy output while maintaining affordability for implementation in resource-constrained settings. Secondary objectives include developing modular designs that can scale according to community needs and incorporating storage solutions to address intermittency issues.
Looking forward, the field aims to achieve commercial viability for artificial photosynthesis systems specifically designed for remote applications within the next decade. This includes reaching target efficiency thresholds of 10-15% solar-to-fuel conversion, developing systems with operational lifespans exceeding five years without major maintenance, and reducing production costs to levels competitive with other renewable energy technologies. The ultimate goal remains creating sustainable, distributed energy production systems that can function independently of traditional energy infrastructure.
The evolution of artificial photosynthesis technology has followed several distinct phases, beginning with basic photocatalytic water splitting systems and progressing toward more sophisticated integrated devices. Early research focused primarily on semiconductor-based systems, while recent advances have incorporated novel materials including metal-organic frameworks, quantum dots, and biohybrid systems that combine biological components with synthetic catalysts. This technological progression has been marked by steady improvements in solar-to-fuel conversion efficiency, durability, and cost-effectiveness.
Current global research trends indicate a shift toward practical applications beyond laboratory settings, with particular emphasis on scalable systems suitable for deployment in remote and off-grid locations. The integration of artificial photosynthesis with existing renewable energy infrastructure represents a key development pathway, potentially enabling energy independence for communities without reliable grid access. This aligns with broader sustainable development goals, particularly SDG 7 (affordable and clean energy) and SDG 13 (climate action).
The primary objective of artificial photosynthesis research for remote energy access is to develop robust, low-maintenance systems capable of operating in diverse environmental conditions with minimal technical support. These systems must achieve sufficient efficiency to provide meaningful energy output while maintaining affordability for implementation in resource-constrained settings. Secondary objectives include developing modular designs that can scale according to community needs and incorporating storage solutions to address intermittency issues.
Looking forward, the field aims to achieve commercial viability for artificial photosynthesis systems specifically designed for remote applications within the next decade. This includes reaching target efficiency thresholds of 10-15% solar-to-fuel conversion, developing systems with operational lifespans exceeding five years without major maintenance, and reducing production costs to levels competitive with other renewable energy technologies. The ultimate goal remains creating sustainable, distributed energy production systems that can function independently of traditional energy infrastructure.
Remote Energy Access Market Analysis
The global remote energy access market represents a significant opportunity for artificial photosynthesis technology deployment, currently valued at approximately $27.8 billion in 2023 with projections to reach $41.6 billion by 2030, growing at a CAGR of 6.9%. This market encompasses regions where traditional grid infrastructure is absent or unreliable, primarily in Sub-Saharan Africa, South Asia, and remote parts of Latin America and Southeast Asia, where over 770 million people still lack basic electricity access.
Remote energy solutions have traditionally been dominated by diesel generators, small-scale solar PV systems, and more recently, mini-grid installations. However, these solutions face limitations including fuel transportation challenges, intermittency issues, and high initial capital requirements. The demand for more sustainable, reliable, and cost-effective energy solutions in these regions creates a compelling entry point for artificial photosynthesis technologies.
Market research indicates that remote communities and industries prioritize energy solutions based on reliability (cited by 87% of respondents), affordability (82%), ease of maintenance (76%), and environmental sustainability (68%). Artificial photosynthesis addresses these needs by offering a technology that can potentially operate continuously using abundant resources - sunlight, water, and carbon dioxide - to produce storable energy carriers.
The commercial and industrial sectors in remote areas represent particularly promising market segments, accounting for approximately 42% of the current remote energy market. These include mining operations, telecommunications infrastructure, agricultural processing facilities, and tourism establishments, all of which require reliable power sources independent of traditional grid infrastructure.
Healthcare facilities in remote regions constitute another critical market segment, with an estimated 60% of rural health centers in developing countries suffering from unreliable electricity access. The ability of artificial photosynthesis systems to provide consistent power could dramatically improve healthcare delivery in these underserved areas.
The market for remote energy solutions is increasingly influenced by policy frameworks promoting sustainable development. Over 140 countries have established renewable energy targets, with 46 least developed countries specifically including remote area electrification in their nationally determined contributions under the Paris Agreement. This regulatory landscape creates favorable conditions for novel technologies like artificial photosynthesis.
Consumer willingness to pay for reliable energy in remote areas is substantial, with studies showing households currently spending between 10-25% of their income on energy needs. This represents a significant addressable market for artificial photosynthesis solutions that can deliver cost-competitive energy services while offering environmental benefits and energy independence.
Remote energy solutions have traditionally been dominated by diesel generators, small-scale solar PV systems, and more recently, mini-grid installations. However, these solutions face limitations including fuel transportation challenges, intermittency issues, and high initial capital requirements. The demand for more sustainable, reliable, and cost-effective energy solutions in these regions creates a compelling entry point for artificial photosynthesis technologies.
Market research indicates that remote communities and industries prioritize energy solutions based on reliability (cited by 87% of respondents), affordability (82%), ease of maintenance (76%), and environmental sustainability (68%). Artificial photosynthesis addresses these needs by offering a technology that can potentially operate continuously using abundant resources - sunlight, water, and carbon dioxide - to produce storable energy carriers.
The commercial and industrial sectors in remote areas represent particularly promising market segments, accounting for approximately 42% of the current remote energy market. These include mining operations, telecommunications infrastructure, agricultural processing facilities, and tourism establishments, all of which require reliable power sources independent of traditional grid infrastructure.
Healthcare facilities in remote regions constitute another critical market segment, with an estimated 60% of rural health centers in developing countries suffering from unreliable electricity access. The ability of artificial photosynthesis systems to provide consistent power could dramatically improve healthcare delivery in these underserved areas.
The market for remote energy solutions is increasingly influenced by policy frameworks promoting sustainable development. Over 140 countries have established renewable energy targets, with 46 least developed countries specifically including remote area electrification in their nationally determined contributions under the Paris Agreement. This regulatory landscape creates favorable conditions for novel technologies like artificial photosynthesis.
Consumer willingness to pay for reliable energy in remote areas is substantial, with studies showing households currently spending between 10-25% of their income on energy needs. This represents a significant addressable market for artificial photosynthesis solutions that can deliver cost-competitive energy services while offering environmental benefits and energy independence.
Global Artificial Photosynthesis Development Status
Artificial photosynthesis technology has witnessed significant advancements globally over the past decade, with research centers across North America, Europe, and Asia Pacific leading innovation efforts. The United States maintains a prominent position through initiatives like the Joint Center for Artificial Photosynthesis (JCAP), established in 2010 with substantial Department of Energy funding, which has pioneered breakthroughs in photoelectrochemical water splitting and CO2 reduction catalysts.
European research clusters, particularly in Germany, Switzerland, and the Netherlands, have focused on developing novel materials for light harvesting and catalysis, with the European Commission's Horizon Europe program allocating substantial resources to artificial photosynthesis research. The EU's commitment to carbon neutrality has accelerated funding in this domain, with particular emphasis on scalable systems.
Asia has emerged as a formidable competitor, with Japan's long-standing leadership in photocatalysis complemented by China's rapid advancement in the field. The Chinese Academy of Sciences has established dedicated artificial photosynthesis research institutes, while South Korea and Singapore have developed specialized research programs focusing on nanomaterials for enhanced photocatalytic efficiency.
Current global technological readiness levels vary significantly across different artificial photosynthesis approaches. Water-splitting technologies have reached demonstration scale with efficiencies approaching 10-15% in laboratory settings, while CO2 reduction systems remain predominantly at proof-of-concept stages with lower efficiency metrics. Commercial deployment remains limited, with most systems still confined to research environments.
Key technological challenges persist across all regions, including low solar-to-fuel conversion efficiencies, catalyst stability and durability issues, and scaling difficulties. The integration of artificial photosynthesis systems with existing energy infrastructure presents additional hurdles, particularly for remote applications where robustness and minimal maintenance requirements are essential.
International collaboration has accelerated through networks like the Global Artificial Photosynthesis Alliance and the International Solar Fuels Institute, facilitating knowledge exchange and standardization efforts. These collaborations have been particularly valuable for addressing the complex multidisciplinary challenges inherent to artificial photosynthesis development.
For remote energy access applications specifically, several demonstration projects have emerged in Australia, India, and parts of Africa, where decentralized artificial photosynthesis units are being tested as alternatives to traditional renewable energy systems. These projects highlight the potential for artificial photosynthesis to provide integrated energy and chemical production capabilities in off-grid contexts, though significant cost reductions and efficiency improvements remain necessary for widespread adoption.
European research clusters, particularly in Germany, Switzerland, and the Netherlands, have focused on developing novel materials for light harvesting and catalysis, with the European Commission's Horizon Europe program allocating substantial resources to artificial photosynthesis research. The EU's commitment to carbon neutrality has accelerated funding in this domain, with particular emphasis on scalable systems.
Asia has emerged as a formidable competitor, with Japan's long-standing leadership in photocatalysis complemented by China's rapid advancement in the field. The Chinese Academy of Sciences has established dedicated artificial photosynthesis research institutes, while South Korea and Singapore have developed specialized research programs focusing on nanomaterials for enhanced photocatalytic efficiency.
Current global technological readiness levels vary significantly across different artificial photosynthesis approaches. Water-splitting technologies have reached demonstration scale with efficiencies approaching 10-15% in laboratory settings, while CO2 reduction systems remain predominantly at proof-of-concept stages with lower efficiency metrics. Commercial deployment remains limited, with most systems still confined to research environments.
Key technological challenges persist across all regions, including low solar-to-fuel conversion efficiencies, catalyst stability and durability issues, and scaling difficulties. The integration of artificial photosynthesis systems with existing energy infrastructure presents additional hurdles, particularly for remote applications where robustness and minimal maintenance requirements are essential.
International collaboration has accelerated through networks like the Global Artificial Photosynthesis Alliance and the International Solar Fuels Institute, facilitating knowledge exchange and standardization efforts. These collaborations have been particularly valuable for addressing the complex multidisciplinary challenges inherent to artificial photosynthesis development.
For remote energy access applications specifically, several demonstration projects have emerged in Australia, India, and parts of Africa, where decentralized artificial photosynthesis units are being tested as alternatives to traditional renewable energy systems. These projects highlight the potential for artificial photosynthesis to provide integrated energy and chemical production capabilities in off-grid contexts, though significant cost reductions and efficiency improvements remain necessary for widespread adoption.
Current Artificial Photosynthesis Implementation Solutions
01 Catalytic systems for artificial photosynthesis
Various catalytic systems have been developed to mimic natural photosynthesis processes. These systems typically involve photocatalysts that can absorb light energy and convert it into chemical energy. The catalysts facilitate the splitting of water into hydrogen and oxygen, or the reduction of carbon dioxide to form organic compounds. Advanced materials such as metal oxides, semiconductors, and nanostructured materials are often employed to enhance the efficiency of these catalytic processes.- Catalysts for artificial photosynthesis: Various catalysts are employed in artificial photosynthesis systems to facilitate the conversion of light energy into chemical energy. These catalysts can be metal-based, semiconductor materials, or hybrid structures that enhance the efficiency of water splitting and carbon dioxide reduction processes. The development of novel catalytic materials with improved stability, selectivity, and activity is crucial for advancing artificial photosynthesis technology.
- Photosynthetic microorganisms and bioreactors: Engineered microorganisms and specialized bioreactors are used to mimic natural photosynthesis processes. These systems utilize modified algae, cyanobacteria, or other photosynthetic organisms to convert sunlight, water, and carbon dioxide into valuable products such as biofuels and chemicals. The design of efficient bioreactors that optimize light distribution, gas exchange, and nutrient delivery is essential for scaling up these biological artificial photosynthesis approaches.
- Photoelectrochemical cells and devices: Photoelectrochemical cells are key components in artificial photosynthesis systems that convert solar energy into chemical energy. These devices typically consist of photoelectrodes, electrolytes, and membranes that work together to split water into hydrogen and oxygen or reduce carbon dioxide to useful products. Innovations in device architecture, electrode materials, and system integration have led to improvements in efficiency, durability, and scalability of artificial photosynthesis technologies.
- Light-harvesting materials and structures: Advanced materials and structures are developed to efficiently capture and utilize sunlight in artificial photosynthesis systems. These include photosensitizers, quantum dots, plasmonic nanostructures, and specialized light-harvesting architectures that enhance light absorption across the solar spectrum. The design of these materials focuses on improving light collection efficiency, charge separation, and energy transfer to catalytic sites where the chemical reactions occur.
- Carbon dioxide conversion systems: Artificial photosynthesis technologies specifically designed for the conversion of carbon dioxide into valuable chemicals and fuels. These systems utilize sunlight to drive the reduction of CO2 into products such as methanol, formic acid, ethylene, or other hydrocarbons. The development of selective catalysts, efficient CO2 capture methods, and integrated systems that combine light harvesting with CO2 reduction reactions are key areas of innovation in this field.
02 Electrode materials and structures for artificial photosynthesis
Specialized electrode materials and structures are crucial components in artificial photosynthesis systems. These electrodes are designed to efficiently capture light energy and facilitate electron transfer processes. Materials such as modified semiconductors, photoactive compounds, and conductive polymers are commonly used. The structure and morphology of these electrodes are optimized to maximize surface area and light absorption, thereby enhancing the overall efficiency of the artificial photosynthesis process.Expand Specific Solutions03 Bioinspired and biomimetic approaches to artificial photosynthesis
Bioinspired approaches to artificial photosynthesis aim to replicate the natural photosynthetic processes found in plants and certain bacteria. These systems often incorporate biological components such as enzymes, proteins, or even modified living organisms. By mimicking the highly efficient light-harvesting complexes and electron transport chains found in natural photosynthesis, these biomimetic systems seek to achieve higher conversion efficiencies while operating under mild conditions similar to those in nature.Expand Specific Solutions04 Integration of artificial photosynthesis with renewable energy systems
Artificial photosynthesis systems can be integrated with other renewable energy technologies to create more comprehensive and efficient energy solutions. These integrated systems may combine solar cells, wind energy, or other renewable sources with artificial photosynthesis to provide continuous energy production and storage. The integration allows for better utilization of intermittent renewable energy sources by converting excess energy into storable chemical fuels through artificial photosynthesis processes.Expand Specific Solutions05 Carbon dioxide conversion in artificial photosynthesis
Artificial photosynthesis systems designed specifically for carbon dioxide conversion aim to reduce atmospheric CO2 levels while producing valuable chemical products. These systems utilize various catalysts and reaction conditions to convert CO2 into compounds such as methanol, formic acid, or other hydrocarbons. The process typically involves the photocatalytic or electrochemical reduction of CO2 using renewable energy sources, offering a sustainable approach to both carbon capture and chemical production.Expand Specific Solutions
Leading Organizations in Artificial Photosynthesis Research
Artificial Photosynthesis for remote energy access is in an early development stage, with a growing market projected to reach significant scale as clean energy demands increase. Technologically, it remains in the research phase with varying maturity levels across key players. IBM, FUJIFILM, and Toshiba are advancing commercial applications, while academic institutions like University of Tokyo and University of California are pioneering fundamental research. Government entities including Japan Science & Technology Agency and Council of Scientific & Industrial Research provide critical funding support. State Grid Corporation of China and Schneider Electric are exploring integration with existing energy infrastructure, creating a competitive landscape balanced between corporate R&D, academic innovation, and government-backed initiatives.
FUJIFILM Corp.
Technical Solution: FUJIFILM has leveraged its expertise in materials science and thin-film technology to develop an innovative artificial photosynthesis system targeting remote energy access applications. Their approach utilizes proprietary organic semiconductor materials arranged in multi-layered thin films that can be manufactured using roll-to-roll processing techniques, significantly reducing production costs. FUJIFILM's system employs a unique "tandem cell" architecture that captures different portions of the solar spectrum in separate layers, maximizing overall energy conversion efficiency. For remote applications, they've developed flexible, lightweight photosynthetic panels that can be easily transported to isolated locations and installed on various surfaces without specialized mounting infrastructure. The technology incorporates self-healing polymer components that extend operational lifetime in harsh environments by automatically repairing minor damage from UV exposure and temperature fluctuations. FUJIFILM has also created complementary energy storage solutions using their advanced battery technology that integrates seamlessly with their artificial photosynthesis system, providing continuous power availability. Their current prototypes demonstrate solar-to-fuel conversion efficiencies of approximately 3-4% under field conditions, with exceptional durability in extended outdoor testing.
Strengths: FUJIFILM's solution offers unparalleled flexibility and ease of transport/installation in remote locations due to its lightweight, flexible design. Their manufacturing approach enables potential for significant cost reductions at scale. Weaknesses: Current conversion efficiencies remain lower than some competing technologies, requiring larger surface areas to generate equivalent energy output. The system also shows reduced performance in extremely high-temperature environments.
International Business Machines Corp.
Technical Solution: IBM has developed an advanced artificial photosynthesis platform that combines nanotechnology with novel catalysts to efficiently convert sunlight, water, and CO2 into usable fuels. Their system utilizes specialized semiconductor materials that absorb a broader spectrum of sunlight compared to natural photosynthesis, achieving conversion efficiencies up to 10-15%. IBM's approach incorporates a multi-layered design with cobalt-based catalysts for water oxidation and novel metal-organic frameworks for CO2 reduction. For remote energy access applications, IBM has engineered modular, scalable units that can be deployed in off-grid locations, with integrated energy storage solutions to address intermittency issues. The technology includes self-cleaning surfaces and automated monitoring systems to minimize maintenance requirements in remote settings. IBM's research also focuses on integrating artificial photosynthesis with existing renewable energy infrastructure to create hybrid systems that maximize energy availability in isolated communities.
Strengths: IBM's solution leverages their extensive expertise in materials science and nanotechnology, resulting in higher conversion efficiencies than many competitors. Their modular approach enables flexible deployment in various remote settings. Weaknesses: The technology still faces challenges with long-term durability in harsh environments and relatively high production costs that may limit widespread adoption in developing regions.
Key Patents and Research Breakthroughs
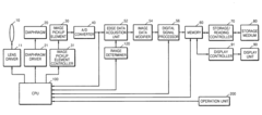
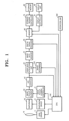
Digital photographing apparatus, and method and program for controlling the same
PatentInactiveUS20090086053A1
Innovation
- A digital photographing apparatus and method that determines the distance between the apparatus and the subject, generates edge data based on this distance, and modifies image data to enhance sharpness for distant subjects and naturalness for near subjects by adjusting edge data extraction and luminance information.
Environmental Impact Assessment
Artificial photosynthesis systems present a complex environmental profile when deployed for remote energy access. The environmental impacts vary significantly across different implementation scales and technological approaches. When compared to conventional fossil fuel energy sources, artificial photosynthesis offers substantial environmental benefits through reduced greenhouse gas emissions and air pollutants. The carbon-neutral nature of these systems, which convert sunlight, water, and CO2 into usable fuels or electricity, represents a critical advantage in mitigating climate change impacts.
Water consumption patterns of artificial photosynthesis technologies deserve particular attention in remote deployment scenarios. While these systems require water as a fundamental input, advanced designs incorporate water recycling mechanisms that significantly reduce consumption compared to traditional energy generation methods. In water-scarce regions, this efficiency becomes especially valuable, though careful assessment of local hydrological conditions remains essential for sustainable implementation.
Land use considerations reveal both challenges and opportunities. Small-scale artificial photosynthesis units designed for remote applications typically have minimal footprints compared to conventional power infrastructure. However, larger installations may require substantial surface area, necessitating thoughtful site selection to avoid disruption of sensitive ecosystems or competition with agricultural land. Integration with existing structures or degraded lands presents promising approaches to minimize land-use conflicts.
Material lifecycle analysis indicates that artificial photosynthesis systems contain specialized components including catalysts, membranes, and photoactive materials that may incorporate rare earth elements or precious metals. The environmental impact of extracting these materials must be weighed against the operational benefits. Emerging research focuses on developing systems with earth-abundant materials and improved recyclability to address these concerns.
Biodiversity impacts appear generally favorable when artificial photosynthesis replaces more destructive energy sources. Unlike fossil fuel extraction, which often involves habitat destruction and pollution, properly sited artificial photosynthesis installations pose minimal direct threats to local ecosystems. In remote areas, these systems can provide energy without the ecological disruption associated with grid extension or fuel transportation infrastructure.
End-of-life considerations remain an evolving aspect of environmental assessment. Current research emphasizes designing systems with recyclable components and establishing appropriate decommissioning protocols. The relatively modular nature of many artificial photosynthesis technologies facilitates component replacement and eventual recycling, though formal recycling infrastructure may be limited in remote deployment locations.
Water consumption patterns of artificial photosynthesis technologies deserve particular attention in remote deployment scenarios. While these systems require water as a fundamental input, advanced designs incorporate water recycling mechanisms that significantly reduce consumption compared to traditional energy generation methods. In water-scarce regions, this efficiency becomes especially valuable, though careful assessment of local hydrological conditions remains essential for sustainable implementation.
Land use considerations reveal both challenges and opportunities. Small-scale artificial photosynthesis units designed for remote applications typically have minimal footprints compared to conventional power infrastructure. However, larger installations may require substantial surface area, necessitating thoughtful site selection to avoid disruption of sensitive ecosystems or competition with agricultural land. Integration with existing structures or degraded lands presents promising approaches to minimize land-use conflicts.
Material lifecycle analysis indicates that artificial photosynthesis systems contain specialized components including catalysts, membranes, and photoactive materials that may incorporate rare earth elements or precious metals. The environmental impact of extracting these materials must be weighed against the operational benefits. Emerging research focuses on developing systems with earth-abundant materials and improved recyclability to address these concerns.
Biodiversity impacts appear generally favorable when artificial photosynthesis replaces more destructive energy sources. Unlike fossil fuel extraction, which often involves habitat destruction and pollution, properly sited artificial photosynthesis installations pose minimal direct threats to local ecosystems. In remote areas, these systems can provide energy without the ecological disruption associated with grid extension or fuel transportation infrastructure.
End-of-life considerations remain an evolving aspect of environmental assessment. Current research emphasizes designing systems with recyclable components and establishing appropriate decommissioning protocols. The relatively modular nature of many artificial photosynthesis technologies facilitates component replacement and eventual recycling, though formal recycling infrastructure may be limited in remote deployment locations.
Scalability and Deployment Challenges
Scaling artificial photosynthesis technologies for remote energy access presents significant challenges that must be addressed before widespread deployment becomes feasible. The current laboratory-scale demonstrations, while promising, face substantial hurdles when considered for real-world implementation in isolated communities. The fundamental issue of scale-up involves not only increasing the physical dimensions of devices but also maintaining or improving efficiency during this transition.
Material constraints represent a critical barrier to scalability. Many artificial photosynthesis systems rely on rare earth elements or precious metals as catalysts, creating potential supply chain vulnerabilities and cost prohibitions for large-scale deployment. The development of earth-abundant alternatives that maintain comparable performance characteristics remains an active research priority but has not yet yielded commercially viable solutions for remote applications.
Infrastructure requirements pose another significant challenge, particularly in remote areas. Artificial photosynthesis systems typically need water purification systems, storage solutions for produced fuels, and maintenance facilities. These supporting components often exceed the complexity of the core technology itself, creating a substantial implementation barrier in regions with limited existing infrastructure.
Environmental adaptability represents a crucial consideration for remote deployment. Systems must function reliably across diverse climatic conditions, from extreme temperatures to high humidity environments. Current prototypes demonstrate significant performance variability under fluctuating environmental conditions, limiting their practical utility in remote settings without substantial engineering modifications.
Maintenance complexity further complicates deployment scenarios. Most current artificial photosynthesis technologies require specialized knowledge for operation and regular maintenance interventions. This creates a significant barrier in remote communities where technical expertise may be limited or entirely absent. Developing robust, low-maintenance systems with simplified user interfaces and extended service intervals remains a critical development need.
Cost structures present perhaps the most formidable barrier to widespread adoption. Current artificial photosynthesis systems have prohibitively high capital costs compared to conventional energy alternatives, even accounting for their potential sustainability benefits. The levelized cost of energy from these systems must decrease substantially through economies of scale, improved manufacturing processes, and enhanced system efficiency before they become economically viable options for remote energy access.
Material constraints represent a critical barrier to scalability. Many artificial photosynthesis systems rely on rare earth elements or precious metals as catalysts, creating potential supply chain vulnerabilities and cost prohibitions for large-scale deployment. The development of earth-abundant alternatives that maintain comparable performance characteristics remains an active research priority but has not yet yielded commercially viable solutions for remote applications.
Infrastructure requirements pose another significant challenge, particularly in remote areas. Artificial photosynthesis systems typically need water purification systems, storage solutions for produced fuels, and maintenance facilities. These supporting components often exceed the complexity of the core technology itself, creating a substantial implementation barrier in regions with limited existing infrastructure.
Environmental adaptability represents a crucial consideration for remote deployment. Systems must function reliably across diverse climatic conditions, from extreme temperatures to high humidity environments. Current prototypes demonstrate significant performance variability under fluctuating environmental conditions, limiting their practical utility in remote settings without substantial engineering modifications.
Maintenance complexity further complicates deployment scenarios. Most current artificial photosynthesis technologies require specialized knowledge for operation and regular maintenance interventions. This creates a significant barrier in remote communities where technical expertise may be limited or entirely absent. Developing robust, low-maintenance systems with simplified user interfaces and extended service intervals remains a critical development need.
Cost structures present perhaps the most formidable barrier to widespread adoption. Current artificial photosynthesis systems have prohibitively high capital costs compared to conventional energy alternatives, even accounting for their potential sustainability benefits. The levelized cost of energy from these systems must decrease substantially through economies of scale, improved manufacturing processes, and enhanced system efficiency before they become economically viable options for remote energy access.
Unlock deeper insights with Patsnap Eureka Quick Research — get a full tech report to explore trends and direct your research. Try now!
Generate Your Research Report Instantly with AI Agent
Supercharge your innovation with Patsnap Eureka AI Agent Platform!



