How to Customize PEMF Therapy Protocols for Individual Needs?
AUG 11, 20259 MIN READ
Generate Your Research Report Instantly with AI Agent
Patsnap Eureka helps you evaluate technical feasibility & market potential.
PEMF Therapy Background and Objectives
Pulsed Electromagnetic Field (PEMF) therapy has emerged as a promising non-invasive treatment modality, leveraging the interaction between electromagnetic fields and biological systems. The technology's roots can be traced back to the mid-20th century, with significant advancements in recent decades. PEMF therapy utilizes low-frequency electromagnetic fields to stimulate cellular repair and regeneration, offering potential benefits across a wide range of medical conditions.
The evolution of PEMF technology has been marked by continuous refinement in device design, field generation techniques, and treatment protocols. Early applications focused primarily on bone healing and pain management. However, as research progressed, the potential applications expanded to include neurological disorders, cardiovascular health, and even mental health conditions. This broadening scope has driven the need for more sophisticated and adaptable PEMF systems.
The primary objective in customizing PEMF therapy protocols is to optimize treatment efficacy while ensuring patient safety and comfort. This goal necessitates a deep understanding of the underlying mechanisms of PEMF therapy and how different parameters – such as frequency, intensity, waveform, and duration – influence biological responses. By tailoring these parameters to individual patient needs, practitioners aim to maximize therapeutic outcomes and minimize potential side effects.
Another critical aspect of PEMF therapy customization is the integration of patient-specific factors. These may include the nature and severity of the condition being treated, the patient's overall health status, age, and even genetic predisposition. The challenge lies in developing a systematic approach to assess these factors and translate them into personalized treatment protocols.
As the field of PEMF therapy continues to advance, there is a growing emphasis on evidence-based practice. This trend is driving research into the development of standardized assessment tools and treatment algorithms that can guide the customization process. Concurrently, there is a push towards incorporating real-time feedback mechanisms and adaptive protocols that can adjust treatment parameters based on the patient's immediate response.
The ultimate goal of customizing PEMF therapy protocols is to establish a personalized medicine approach in this field. This involves not only tailoring treatments to individual patients but also predicting which patients are most likely to benefit from specific PEMF protocols. Achieving this level of customization requires a multidisciplinary approach, combining insights from physics, biology, medicine, and data science.
The evolution of PEMF technology has been marked by continuous refinement in device design, field generation techniques, and treatment protocols. Early applications focused primarily on bone healing and pain management. However, as research progressed, the potential applications expanded to include neurological disorders, cardiovascular health, and even mental health conditions. This broadening scope has driven the need for more sophisticated and adaptable PEMF systems.
The primary objective in customizing PEMF therapy protocols is to optimize treatment efficacy while ensuring patient safety and comfort. This goal necessitates a deep understanding of the underlying mechanisms of PEMF therapy and how different parameters – such as frequency, intensity, waveform, and duration – influence biological responses. By tailoring these parameters to individual patient needs, practitioners aim to maximize therapeutic outcomes and minimize potential side effects.
Another critical aspect of PEMF therapy customization is the integration of patient-specific factors. These may include the nature and severity of the condition being treated, the patient's overall health status, age, and even genetic predisposition. The challenge lies in developing a systematic approach to assess these factors and translate them into personalized treatment protocols.
As the field of PEMF therapy continues to advance, there is a growing emphasis on evidence-based practice. This trend is driving research into the development of standardized assessment tools and treatment algorithms that can guide the customization process. Concurrently, there is a push towards incorporating real-time feedback mechanisms and adaptive protocols that can adjust treatment parameters based on the patient's immediate response.
The ultimate goal of customizing PEMF therapy protocols is to establish a personalized medicine approach in this field. This involves not only tailoring treatments to individual patients but also predicting which patients are most likely to benefit from specific PEMF protocols. Achieving this level of customization requires a multidisciplinary approach, combining insights from physics, biology, medicine, and data science.
Market Analysis for Personalized PEMF Solutions
The market for personalized PEMF (Pulsed Electromagnetic Field) therapy solutions is experiencing significant growth, driven by increasing awareness of the technology's potential benefits and a growing demand for customized healthcare approaches. As consumers become more health-conscious and seek tailored treatments, the PEMF market is evolving to meet these individualized needs.
The global PEMF therapy devices market is projected to expand rapidly in the coming years, with a particular emphasis on personalized solutions. This growth is fueled by factors such as the rising prevalence of chronic diseases, an aging population, and a shift towards non-invasive treatment options. The market is also benefiting from advancements in technology that allow for more precise and customizable PEMF protocols.
One of the key drivers of market growth is the increasing adoption of PEMF therapy in pain management and rehabilitation. As more healthcare providers recognize the potential of PEMF in treating various conditions, from musculoskeletal disorders to neurological issues, the demand for personalized protocols is rising. This trend is particularly evident in sports medicine and physical therapy, where tailored PEMF treatments are being used to enhance recovery and performance.
The market for personalized PEMF solutions is also being shaped by the integration of digital health technologies. Mobile apps and cloud-based platforms are enabling users to track their PEMF therapy progress and adjust protocols based on individual responses. This data-driven approach is not only improving treatment outcomes but also creating new opportunities for market players to offer value-added services.
In terms of market segmentation, home-use PEMF devices for personalized therapy are gaining traction. Consumers are increasingly interested in self-administered treatments that can be customized to their specific needs. This trend is driving innovation in user-friendly, portable PEMF devices that can be easily adjusted for different body areas and conditions.
The competitive landscape of the personalized PEMF solutions market is characterized by a mix of established medical device manufacturers and innovative startups. These companies are investing in research and development to create more sophisticated PEMF devices capable of delivering highly targeted and customizable treatments. Collaborations between PEMF device manufacturers and healthcare providers are also becoming more common, as both parties seek to develop evidence-based protocols for personalized therapy.
Despite the promising growth prospects, the market for personalized PEMF solutions faces challenges such as regulatory hurdles and the need for more extensive clinical validation. As the technology advances and becomes more personalized, regulatory bodies are likely to scrutinize claims and efficacy more closely. This may lead to a more stringent approval process for new devices and protocols, potentially impacting market entry for some players.
The global PEMF therapy devices market is projected to expand rapidly in the coming years, with a particular emphasis on personalized solutions. This growth is fueled by factors such as the rising prevalence of chronic diseases, an aging population, and a shift towards non-invasive treatment options. The market is also benefiting from advancements in technology that allow for more precise and customizable PEMF protocols.
One of the key drivers of market growth is the increasing adoption of PEMF therapy in pain management and rehabilitation. As more healthcare providers recognize the potential of PEMF in treating various conditions, from musculoskeletal disorders to neurological issues, the demand for personalized protocols is rising. This trend is particularly evident in sports medicine and physical therapy, where tailored PEMF treatments are being used to enhance recovery and performance.
The market for personalized PEMF solutions is also being shaped by the integration of digital health technologies. Mobile apps and cloud-based platforms are enabling users to track their PEMF therapy progress and adjust protocols based on individual responses. This data-driven approach is not only improving treatment outcomes but also creating new opportunities for market players to offer value-added services.
In terms of market segmentation, home-use PEMF devices for personalized therapy are gaining traction. Consumers are increasingly interested in self-administered treatments that can be customized to their specific needs. This trend is driving innovation in user-friendly, portable PEMF devices that can be easily adjusted for different body areas and conditions.
The competitive landscape of the personalized PEMF solutions market is characterized by a mix of established medical device manufacturers and innovative startups. These companies are investing in research and development to create more sophisticated PEMF devices capable of delivering highly targeted and customizable treatments. Collaborations between PEMF device manufacturers and healthcare providers are also becoming more common, as both parties seek to develop evidence-based protocols for personalized therapy.
Despite the promising growth prospects, the market for personalized PEMF solutions faces challenges such as regulatory hurdles and the need for more extensive clinical validation. As the technology advances and becomes more personalized, regulatory bodies are likely to scrutinize claims and efficacy more closely. This may lead to a more stringent approval process for new devices and protocols, potentially impacting market entry for some players.
Current PEMF Technology Landscape and Challenges
The current PEMF (Pulsed Electromagnetic Field) technology landscape is characterized by a diverse range of devices and applications, with significant advancements in recent years. PEMF therapy has gained traction in various medical fields, including pain management, bone healing, and mental health. However, the technology still faces several challenges in terms of customization and optimization for individual needs.
One of the primary challenges in PEMF therapy is the lack of standardized protocols for different conditions and individual patient profiles. While research has shown promising results for various applications, there is still a need for more comprehensive studies to establish optimal treatment parameters for specific conditions and patient demographics.
The current PEMF devices on the market vary widely in terms of field strength, frequency, and waveform patterns. This diversity, while offering a range of options, also presents a challenge in determining the most effective configuration for individual patients. Some devices offer preset programs for specific conditions, but these may not always account for the unique physiological characteristics and needs of each user.
Another significant challenge is the integration of real-time biofeedback mechanisms into PEMF devices. While some advanced systems incorporate basic monitoring capabilities, there is a growing need for more sophisticated feedback loops that can dynamically adjust treatment parameters based on the patient's immediate physiological responses.
The miniaturization and portability of PEMF devices have improved significantly, allowing for more convenient home-based treatments. However, balancing power output and battery life remains a challenge, particularly for wearable devices designed for continuous use.
In terms of customization, current technologies often rely on manual adjustments based on general guidelines or practitioner experience. The development of AI-driven personalization algorithms is an emerging area that holds promise for more precise and adaptive treatment protocols. However, these systems are still in their infancy and require further refinement and validation.
The regulatory landscape for PEMF devices also presents challenges, with varying approval processes and standards across different countries. This can impact the availability of advanced customization features in certain markets and slow down the adoption of innovative technologies.
As research in PEMF therapy continues to evolve, there is a growing focus on understanding the cellular and molecular mechanisms underlying its effects. This knowledge is crucial for developing more targeted and effective customization strategies. However, translating these insights into practical, user-friendly devices that can cater to individual needs remains a complex task.
One of the primary challenges in PEMF therapy is the lack of standardized protocols for different conditions and individual patient profiles. While research has shown promising results for various applications, there is still a need for more comprehensive studies to establish optimal treatment parameters for specific conditions and patient demographics.
The current PEMF devices on the market vary widely in terms of field strength, frequency, and waveform patterns. This diversity, while offering a range of options, also presents a challenge in determining the most effective configuration for individual patients. Some devices offer preset programs for specific conditions, but these may not always account for the unique physiological characteristics and needs of each user.
Another significant challenge is the integration of real-time biofeedback mechanisms into PEMF devices. While some advanced systems incorporate basic monitoring capabilities, there is a growing need for more sophisticated feedback loops that can dynamically adjust treatment parameters based on the patient's immediate physiological responses.
The miniaturization and portability of PEMF devices have improved significantly, allowing for more convenient home-based treatments. However, balancing power output and battery life remains a challenge, particularly for wearable devices designed for continuous use.
In terms of customization, current technologies often rely on manual adjustments based on general guidelines or practitioner experience. The development of AI-driven personalization algorithms is an emerging area that holds promise for more precise and adaptive treatment protocols. However, these systems are still in their infancy and require further refinement and validation.
The regulatory landscape for PEMF devices also presents challenges, with varying approval processes and standards across different countries. This can impact the availability of advanced customization features in certain markets and slow down the adoption of innovative technologies.
As research in PEMF therapy continues to evolve, there is a growing focus on understanding the cellular and molecular mechanisms underlying its effects. This knowledge is crucial for developing more targeted and effective customization strategies. However, translating these insights into practical, user-friendly devices that can cater to individual needs remains a complex task.
Existing PEMF Customization Approaches
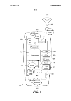
01 Customizable PEMF treatment parameters
PEMF therapy devices allow for customization of treatment parameters such as frequency, intensity, and duration. This enables tailoring of protocols to specific patient needs or conditions, potentially improving treatment efficacy.- Customizable PEMF therapy parameters: PEMF therapy devices allow for customization of treatment parameters such as frequency, intensity, and duration. This enables tailoring of therapy protocols to individual patient needs, potentially improving treatment efficacy for various conditions.
- Integration with biofeedback systems: Advanced PEMF therapy systems incorporate biofeedback mechanisms to monitor physiological responses during treatment. This real-time data allows for dynamic adjustment of therapy protocols, optimizing the treatment based on the patient's immediate reactions.
- Programmable treatment sequences: PEMF devices feature programmable interfaces that allow healthcare providers to create and store custom treatment sequences. These sequences can be designed to target specific conditions or patient profiles, enhancing the versatility and effectiveness of the therapy.
- Mobile app integration for protocol management: Modern PEMF therapy systems utilize mobile applications for remote protocol management. This allows for easy adjustment of treatment parameters, tracking of patient progress, and seamless integration with electronic health records systems.
- AI-driven protocol optimization: Emerging PEMF therapy systems incorporate artificial intelligence algorithms to analyze treatment outcomes and patient data. This enables continuous refinement of therapy protocols, leading to more personalized and effective treatment regimens over time.
02 Integration with biofeedback and monitoring systems
Advanced PEMF systems incorporate biofeedback mechanisms and real-time monitoring to adjust therapy protocols based on physiological responses. This allows for dynamic customization of treatment during sessions, optimizing therapeutic outcomes.Expand Specific Solutions03 Software-based protocol management
PEMF devices utilize software interfaces for managing and customizing therapy protocols. These systems allow for easy adjustment of treatment parameters, storage of personalized protocols, and data analysis for treatment optimization.Expand Specific Solutions04 Multi-coil systems for targeted therapy
Advanced PEMF devices employ multiple coils or applicators that can be independently controlled. This allows for targeted therapy to specific body areas and the creation of complex electromagnetic field patterns for customized treatments.Expand Specific Solutions05 AI and machine learning for protocol optimization
Emerging PEMF systems incorporate artificial intelligence and machine learning algorithms to analyze treatment data and patient responses. These technologies help in refining and personalizing therapy protocols over time, potentially improving treatment outcomes.Expand Specific Solutions
Key Players in PEMF Device Industry
The customization of PEMF therapy protocols for individual needs is currently in a growth phase, with increasing market size and technological advancements. The global PEMF therapy devices market is expanding, driven by rising awareness of non-invasive treatment options and growing applications in pain management and rehabilitation. Technologically, the field is progressing rapidly, with companies like Regenesis Biomedical, Venus Concept, and SofPulse leading innovations in device development and protocol customization. These firms are focusing on creating more targeted, user-friendly, and adaptable PEMF systems. Academic institutions such as the National University of Singapore and the University of Florida are contributing to the research base, enhancing our understanding of PEMF's biological effects and optimal application methods.
Galvanize Therapeutics, Inc.
Technical Solution: Galvanize Therapeutics has developed a customizable PEMF therapy system that utilizes advanced algorithms to tailor treatment protocols based on individual patient needs. Their system incorporates real-time biofeedback sensors to monitor physiological responses during therapy sessions, allowing for dynamic adjustments to frequency, intensity, and duration of PEMF pulses[1]. The company's proprietary software analyzes patient data, including medical history, symptoms, and treatment goals, to generate personalized therapy protocols. Additionally, Galvanize has implemented machine learning algorithms that continuously refine and optimize treatment plans based on aggregated patient outcomes[3].
Strengths: Highly personalized approach, real-time adaptability, and data-driven optimization. Weaknesses: Potentially complex setup and higher cost compared to standard PEMF devices.
SofPulse, Inc.
Technical Solution: SofPulse has developed a portable PEMF device that allows for customization of therapy protocols through a user-friendly mobile application. Their system enables patients to adjust treatment parameters such as frequency, intensity, and duration based on their specific conditions and physician recommendations. The device incorporates pre-programmed protocols for common conditions, which can be further fine-tuned for individual needs[2]. SofPulse's technology also includes a cloud-based platform that allows healthcare providers to remotely monitor and adjust patient protocols, ensuring ongoing optimization of treatment plans[4].
Strengths: User-friendly interface, portability, and remote monitoring capabilities. Weaknesses: Limited range of customization compared to more advanced systems.
Innovative PEMF Protocol Optimization Techniques
Pulsed electromagnetic field device and method of treatment
PatentWO2019175289A1
Innovation
- A method and system that utilizes a mobile telecommunications device, such as a smartphone, to deliver personalized PEMF treatments by measuring key parameters of an individual and adjusting the treatment protocol based on their specific physiological data, allowing for continuous updates and improvements in the treatment algorithm.
A pulsed electromagnetic field apparatus and method for generating frequencies
PatentWO2024127242A1
Innovation
- A PEMF apparatus with a pulse generator and electromagnetic field generation means that uses modified sawtooth waveforms with pre-stress and relaxation periods, and quasi-sine signals with pulse width modulation, along with a feedback circuit for frequency stability and precision, and a bifilar antenna for scalar wave generation.
Clinical Efficacy and Safety Considerations
Customizing PEMF (Pulsed Electromagnetic Field) therapy protocols for individual needs requires careful consideration of clinical efficacy and safety factors. The effectiveness of PEMF therapy can vary significantly depending on the specific condition being treated and the individual patient's characteristics. Studies have shown that PEMF therapy can be beneficial for a range of conditions, including bone healing, pain management, and tissue repair. However, the optimal treatment parameters, such as frequency, intensity, and duration, may differ for each patient.
When tailoring PEMF protocols, clinicians must first assess the patient's medical history, current condition, and treatment goals. This comprehensive evaluation helps determine the most appropriate PEMF settings. For instance, lower frequencies (1-30 Hz) are often used for pain relief and inflammation reduction, while higher frequencies (30-100 Hz) may be more effective for tissue regeneration and bone healing. The intensity of the electromagnetic field also plays a crucial role in treatment efficacy, with some conditions responding better to lower intensities and others requiring higher intensities for optimal results.
Safety considerations are paramount when customizing PEMF therapy protocols. While PEMF is generally considered safe, certain precautions must be taken. Patients with electronic implants, such as pacemakers or insulin pumps, may be at risk of device interference and should be carefully evaluated before undergoing PEMF therapy. Pregnant women and individuals with active cancer are typically advised to avoid PEMF treatment due to potential risks. Additionally, the duration and frequency of treatments should be carefully monitored to prevent overexposure, which could lead to adverse effects such as dizziness or fatigue.
The timing of PEMF therapy sessions is another critical factor in customization. Some patients may benefit from shorter, more frequent sessions, while others may require longer, less frequent treatments. The stage of healing or progression of a condition can also influence the optimal treatment schedule. For acute injuries, more intensive initial treatments may be beneficial, followed by a gradual reduction in frequency as healing progresses. Chronic conditions, on the other hand, may require ongoing maintenance treatments to sustain therapeutic effects.
Monitoring and adjusting the PEMF protocol based on patient response is essential for maximizing efficacy and ensuring safety. Regular assessments of symptom improvement, functional outcomes, and any adverse effects allow for fine-tuning of the treatment parameters. This iterative approach helps optimize the therapy for each individual, potentially leading to better clinical outcomes and patient satisfaction. As research in PEMF therapy continues to evolve, clinicians must stay informed about the latest findings to refine their customization strategies and provide the most effective and safe treatments for their patients.
When tailoring PEMF protocols, clinicians must first assess the patient's medical history, current condition, and treatment goals. This comprehensive evaluation helps determine the most appropriate PEMF settings. For instance, lower frequencies (1-30 Hz) are often used for pain relief and inflammation reduction, while higher frequencies (30-100 Hz) may be more effective for tissue regeneration and bone healing. The intensity of the electromagnetic field also plays a crucial role in treatment efficacy, with some conditions responding better to lower intensities and others requiring higher intensities for optimal results.
Safety considerations are paramount when customizing PEMF therapy protocols. While PEMF is generally considered safe, certain precautions must be taken. Patients with electronic implants, such as pacemakers or insulin pumps, may be at risk of device interference and should be carefully evaluated before undergoing PEMF therapy. Pregnant women and individuals with active cancer are typically advised to avoid PEMF treatment due to potential risks. Additionally, the duration and frequency of treatments should be carefully monitored to prevent overexposure, which could lead to adverse effects such as dizziness or fatigue.
The timing of PEMF therapy sessions is another critical factor in customization. Some patients may benefit from shorter, more frequent sessions, while others may require longer, less frequent treatments. The stage of healing or progression of a condition can also influence the optimal treatment schedule. For acute injuries, more intensive initial treatments may be beneficial, followed by a gradual reduction in frequency as healing progresses. Chronic conditions, on the other hand, may require ongoing maintenance treatments to sustain therapeutic effects.
Monitoring and adjusting the PEMF protocol based on patient response is essential for maximizing efficacy and ensuring safety. Regular assessments of symptom improvement, functional outcomes, and any adverse effects allow for fine-tuning of the treatment parameters. This iterative approach helps optimize the therapy for each individual, potentially leading to better clinical outcomes and patient satisfaction. As research in PEMF therapy continues to evolve, clinicians must stay informed about the latest findings to refine their customization strategies and provide the most effective and safe treatments for their patients.
Regulatory Framework for PEMF Medical Devices
The regulatory framework for PEMF (Pulsed Electromagnetic Field) medical devices plays a crucial role in ensuring the safety and efficacy of these therapies. In the United States, the Food and Drug Administration (FDA) oversees the regulation of PEMF devices, classifying them as Class II or Class III medical devices depending on their intended use and potential risks.
Class II PEMF devices are typically cleared through the 510(k) premarket notification process, which requires manufacturers to demonstrate that their device is substantially equivalent to a legally marketed predicate device. This process involves submitting detailed information about the device's design, performance, and safety features. The FDA reviews this information to ensure that the device meets the necessary safety and effectiveness standards.
For Class III PEMF devices, which are considered to pose a higher risk or are intended for more critical applications, the FDA requires a more rigorous premarket approval (PMA) process. This involves extensive clinical trials and comprehensive safety and efficacy data to support the device's approval.
In the European Union, PEMF devices fall under the Medical Device Regulation (MDR), which came into effect in May 2021. The MDR establishes a comprehensive framework for the assessment and monitoring of medical devices, including PEMF therapy devices. Manufacturers must obtain CE marking to market their devices in the EU, which involves demonstrating compliance with the MDR's essential requirements for safety and performance.
The regulatory framework also addresses the customization of PEMF therapy protocols for individual needs. While the devices themselves must adhere to strict regulatory standards, the ability to tailor treatment parameters is often built into the approved devices. This customization typically involves adjusting factors such as frequency, intensity, and duration of the electromagnetic pulses based on the patient's specific condition and response to treatment.
Regulatory bodies require manufacturers to provide clear guidelines and training for healthcare professionals on how to safely and effectively customize PEMF protocols within the approved parameters of the device. This ensures that while personalization is possible, it remains within the bounds of the device's intended use and safety profile as evaluated during the regulatory approval process.
As the field of PEMF therapy continues to evolve, regulatory frameworks are adapting to accommodate new technologies and applications. This includes considerations for software-driven devices, remote monitoring capabilities, and the integration of artificial intelligence in treatment planning. Regulatory agencies are working to strike a balance between fostering innovation and maintaining rigorous safety standards, recognizing the potential of customized PEMF therapies to address individual patient needs more effectively.
Class II PEMF devices are typically cleared through the 510(k) premarket notification process, which requires manufacturers to demonstrate that their device is substantially equivalent to a legally marketed predicate device. This process involves submitting detailed information about the device's design, performance, and safety features. The FDA reviews this information to ensure that the device meets the necessary safety and effectiveness standards.
For Class III PEMF devices, which are considered to pose a higher risk or are intended for more critical applications, the FDA requires a more rigorous premarket approval (PMA) process. This involves extensive clinical trials and comprehensive safety and efficacy data to support the device's approval.
In the European Union, PEMF devices fall under the Medical Device Regulation (MDR), which came into effect in May 2021. The MDR establishes a comprehensive framework for the assessment and monitoring of medical devices, including PEMF therapy devices. Manufacturers must obtain CE marking to market their devices in the EU, which involves demonstrating compliance with the MDR's essential requirements for safety and performance.
The regulatory framework also addresses the customization of PEMF therapy protocols for individual needs. While the devices themselves must adhere to strict regulatory standards, the ability to tailor treatment parameters is often built into the approved devices. This customization typically involves adjusting factors such as frequency, intensity, and duration of the electromagnetic pulses based on the patient's specific condition and response to treatment.
Regulatory bodies require manufacturers to provide clear guidelines and training for healthcare professionals on how to safely and effectively customize PEMF protocols within the approved parameters of the device. This ensures that while personalization is possible, it remains within the bounds of the device's intended use and safety profile as evaluated during the regulatory approval process.
As the field of PEMF therapy continues to evolve, regulatory frameworks are adapting to accommodate new technologies and applications. This includes considerations for software-driven devices, remote monitoring capabilities, and the integration of artificial intelligence in treatment planning. Regulatory agencies are working to strike a balance between fostering innovation and maintaining rigorous safety standards, recognizing the potential of customized PEMF therapies to address individual patient needs more effectively.
Unlock deeper insights with Patsnap Eureka Quick Research — get a full tech report to explore trends and direct your research. Try now!
Generate Your Research Report Instantly with AI Agent
Supercharge your innovation with Patsnap Eureka AI Agent Platform!








