How to Integrate AI with ULED Displays?
JUN 20, 20259 MIN READ
Generate Your Research Report Instantly with AI Agent
Patsnap Eureka helps you evaluate technical feasibility & market potential.
AI-ULED Integration Background and Objectives
The integration of Artificial Intelligence (AI) with Ultra Light Emitting Diode (ULED) displays represents a significant technological advancement in the field of visual technology. This convergence aims to enhance the capabilities of ULED displays by leveraging the power of AI algorithms and machine learning techniques. The evolution of display technology has been marked by continuous improvements in resolution, color accuracy, and energy efficiency, with ULED emerging as a promising solution for high-quality, energy-efficient displays.
The primary objective of integrating AI with ULED displays is to create intelligent display systems that can adapt to user preferences, environmental conditions, and content characteristics in real-time. This integration seeks to optimize display performance, improve user experience, and reduce energy consumption through smart content analysis and dynamic adjustments. By incorporating AI, ULED displays can potentially offer personalized viewing experiences, enhanced image processing, and predictive maintenance capabilities.
The technological trajectory leading to AI-ULED integration has its roots in the development of both AI and display technologies. AI has made significant strides in areas such as computer vision, natural language processing, and predictive analytics, while ULED technology has evolved to offer superior brightness, contrast ratios, and color gamut compared to traditional LED displays. The convergence of these technologies is driven by the increasing demand for smarter, more responsive display solutions across various sectors, including consumer electronics, automotive, and digital signage.
Key technological goals for AI-ULED integration include developing algorithms for real-time image enhancement, implementing adaptive brightness and color temperature adjustments based on ambient lighting conditions, and creating intelligent power management systems to optimize energy consumption. Additionally, there is a focus on developing AI-driven content recommendation systems that can suggest optimal display settings for different types of content, enhancing the overall viewing experience.
The integration also aims to address challenges in display technology, such as burn-in prevention, color accuracy maintenance over time, and the reduction of motion blur in fast-moving images. AI algorithms can potentially monitor and adjust display parameters to mitigate these issues, extending the lifespan and maintaining the quality of ULED displays. Furthermore, the integration seeks to enable advanced features like gesture recognition and eye-tracking, allowing for more intuitive and interactive user interfaces.
As the field progresses, researchers and developers are exploring novel applications of AI in ULED technology, such as predictive maintenance algorithms that can detect potential display failures before they occur, and advanced calibration techniques that ensure consistent color reproduction across multiple displays. The ultimate goal is to create a new generation of displays that are not only visually stunning but also intelligent, adaptive, and energy-efficient.
The primary objective of integrating AI with ULED displays is to create intelligent display systems that can adapt to user preferences, environmental conditions, and content characteristics in real-time. This integration seeks to optimize display performance, improve user experience, and reduce energy consumption through smart content analysis and dynamic adjustments. By incorporating AI, ULED displays can potentially offer personalized viewing experiences, enhanced image processing, and predictive maintenance capabilities.
The technological trajectory leading to AI-ULED integration has its roots in the development of both AI and display technologies. AI has made significant strides in areas such as computer vision, natural language processing, and predictive analytics, while ULED technology has evolved to offer superior brightness, contrast ratios, and color gamut compared to traditional LED displays. The convergence of these technologies is driven by the increasing demand for smarter, more responsive display solutions across various sectors, including consumer electronics, automotive, and digital signage.
Key technological goals for AI-ULED integration include developing algorithms for real-time image enhancement, implementing adaptive brightness and color temperature adjustments based on ambient lighting conditions, and creating intelligent power management systems to optimize energy consumption. Additionally, there is a focus on developing AI-driven content recommendation systems that can suggest optimal display settings for different types of content, enhancing the overall viewing experience.
The integration also aims to address challenges in display technology, such as burn-in prevention, color accuracy maintenance over time, and the reduction of motion blur in fast-moving images. AI algorithms can potentially monitor and adjust display parameters to mitigate these issues, extending the lifespan and maintaining the quality of ULED displays. Furthermore, the integration seeks to enable advanced features like gesture recognition and eye-tracking, allowing for more intuitive and interactive user interfaces.
As the field progresses, researchers and developers are exploring novel applications of AI in ULED technology, such as predictive maintenance algorithms that can detect potential display failures before they occur, and advanced calibration techniques that ensure consistent color reproduction across multiple displays. The ultimate goal is to create a new generation of displays that are not only visually stunning but also intelligent, adaptive, and energy-efficient.
Market Analysis for AI-Enhanced ULED Displays
The integration of AI with ULED displays represents a significant market opportunity, driven by the growing demand for smarter, more interactive visual experiences. ULED (Ultra Light Emitting Diode) technology has already established itself as a premium display solution, offering superior picture quality, energy efficiency, and durability compared to traditional LED and OLED displays. The addition of AI capabilities to these displays opens up new avenues for market growth and product differentiation.
The global market for AI-enhanced displays is projected to experience robust growth over the next decade. This growth is fueled by increasing adoption in various sectors, including consumer electronics, automotive, retail, and healthcare. In the consumer electronics segment, AI-enhanced ULED TVs and monitors are expected to gain traction, offering features such as automatic picture optimization, content recommendation, and voice control.
The automotive industry presents a particularly promising market for AI-enhanced ULED displays. As vehicles become more autonomous and connected, there is a growing need for intelligent in-car displays that can provide contextual information, enhance safety, and improve the overall driving experience. The integration of AI with ULED technology in automotive displays is anticipated to drive significant market value in this sector.
In the retail sector, AI-enhanced ULED displays are poised to revolutionize digital signage and interactive kiosks. These displays can offer personalized advertising, real-time analytics, and improved customer engagement. The healthcare industry is another key market, where AI-enhanced ULED displays can be utilized in medical imaging equipment, patient monitoring systems, and telemedicine applications.
The market for AI-enhanced ULED displays is characterized by intense competition and rapid technological advancements. Key players in this space include major electronics manufacturers, display technology companies, and AI software developers. Collaborations and partnerships between these entities are becoming increasingly common as they seek to combine their expertise in hardware and software to create innovative solutions.
Consumer demand for AI-enhanced displays is driven by the desire for more intuitive and personalized user experiences. Features such as gesture control, facial recognition, and adaptive content display are becoming increasingly important selling points. Additionally, the integration of AI can lead to improved energy efficiency and extended lifespan of ULED displays, addressing sustainability concerns and potentially reducing total cost of ownership for consumers and businesses alike.
However, the market also faces challenges, including high initial costs, concerns about data privacy and security, and the need for standardization in AI-display interfaces. Overcoming these hurdles will be crucial for widespread adoption and market growth. Despite these challenges, the overall market trajectory for AI-enhanced ULED displays remains highly positive, with significant potential for innovation and value creation across multiple industries.
The global market for AI-enhanced displays is projected to experience robust growth over the next decade. This growth is fueled by increasing adoption in various sectors, including consumer electronics, automotive, retail, and healthcare. In the consumer electronics segment, AI-enhanced ULED TVs and monitors are expected to gain traction, offering features such as automatic picture optimization, content recommendation, and voice control.
The automotive industry presents a particularly promising market for AI-enhanced ULED displays. As vehicles become more autonomous and connected, there is a growing need for intelligent in-car displays that can provide contextual information, enhance safety, and improve the overall driving experience. The integration of AI with ULED technology in automotive displays is anticipated to drive significant market value in this sector.
In the retail sector, AI-enhanced ULED displays are poised to revolutionize digital signage and interactive kiosks. These displays can offer personalized advertising, real-time analytics, and improved customer engagement. The healthcare industry is another key market, where AI-enhanced ULED displays can be utilized in medical imaging equipment, patient monitoring systems, and telemedicine applications.
The market for AI-enhanced ULED displays is characterized by intense competition and rapid technological advancements. Key players in this space include major electronics manufacturers, display technology companies, and AI software developers. Collaborations and partnerships between these entities are becoming increasingly common as they seek to combine their expertise in hardware and software to create innovative solutions.
Consumer demand for AI-enhanced displays is driven by the desire for more intuitive and personalized user experiences. Features such as gesture control, facial recognition, and adaptive content display are becoming increasingly important selling points. Additionally, the integration of AI can lead to improved energy efficiency and extended lifespan of ULED displays, addressing sustainability concerns and potentially reducing total cost of ownership for consumers and businesses alike.
However, the market also faces challenges, including high initial costs, concerns about data privacy and security, and the need for standardization in AI-display interfaces. Overcoming these hurdles will be crucial for widespread adoption and market growth. Despite these challenges, the overall market trajectory for AI-enhanced ULED displays remains highly positive, with significant potential for innovation and value creation across multiple industries.
Current AI-ULED Integration Challenges
The integration of AI with ULED (Ultra Light Emitting Diode) displays presents several significant challenges that need to be addressed for successful implementation. One of the primary obstacles is the computational complexity required for real-time AI processing on ULED displays. The high resolution and refresh rates of ULED technology demand substantial processing power, which can lead to latency issues and increased energy consumption.
Another challenge lies in the development of efficient algorithms that can optimize AI-driven content for ULED displays. These algorithms must be capable of adapting to the unique characteristics of ULED technology, such as its wide color gamut and high dynamic range, while maintaining the integrity of AI-generated or AI-enhanced visuals.
The integration of AI hardware components with ULED display modules poses physical design challenges. Engineers must find ways to incorporate AI processors and memory units without compromising the slim profile and lightweight nature of ULED displays. This integration also raises thermal management concerns, as both AI processing and ULED operation generate heat that needs to be effectively dissipated.
Data management and privacy issues present another set of challenges. As AI-integrated ULED displays may collect and process user data to provide personalized experiences, ensuring data security and compliance with privacy regulations becomes crucial. This requires the development of robust encryption methods and secure data handling protocols specifically tailored for AI-ULED systems.
Standardization and interoperability pose significant hurdles in the AI-ULED integration landscape. The lack of universal standards for AI integration in display technologies makes it difficult for different systems to communicate and work seamlessly together. This challenge is further compounded by the rapid evolution of both AI and ULED technologies, necessitating frequent updates and adaptations.
Power efficiency remains a critical concern in AI-ULED integration. While ULED displays are known for their energy efficiency, the addition of AI processing can significantly increase power consumption. Balancing the power requirements of AI components with the energy-saving benefits of ULED technology is a complex task that requires innovative power management solutions.
Lastly, the cost of integrating advanced AI capabilities into ULED displays presents a commercial challenge. The high costs associated with cutting-edge AI hardware and software development may limit the widespread adoption of AI-integrated ULED displays, particularly in consumer markets. Finding cost-effective solutions without compromising on performance is a key challenge that manufacturers and researchers must address to make this technology more accessible.
Another challenge lies in the development of efficient algorithms that can optimize AI-driven content for ULED displays. These algorithms must be capable of adapting to the unique characteristics of ULED technology, such as its wide color gamut and high dynamic range, while maintaining the integrity of AI-generated or AI-enhanced visuals.
The integration of AI hardware components with ULED display modules poses physical design challenges. Engineers must find ways to incorporate AI processors and memory units without compromising the slim profile and lightweight nature of ULED displays. This integration also raises thermal management concerns, as both AI processing and ULED operation generate heat that needs to be effectively dissipated.
Data management and privacy issues present another set of challenges. As AI-integrated ULED displays may collect and process user data to provide personalized experiences, ensuring data security and compliance with privacy regulations becomes crucial. This requires the development of robust encryption methods and secure data handling protocols specifically tailored for AI-ULED systems.
Standardization and interoperability pose significant hurdles in the AI-ULED integration landscape. The lack of universal standards for AI integration in display technologies makes it difficult for different systems to communicate and work seamlessly together. This challenge is further compounded by the rapid evolution of both AI and ULED technologies, necessitating frequent updates and adaptations.
Power efficiency remains a critical concern in AI-ULED integration. While ULED displays are known for their energy efficiency, the addition of AI processing can significantly increase power consumption. Balancing the power requirements of AI components with the energy-saving benefits of ULED technology is a complex task that requires innovative power management solutions.
Lastly, the cost of integrating advanced AI capabilities into ULED displays presents a commercial challenge. The high costs associated with cutting-edge AI hardware and software development may limit the widespread adoption of AI-integrated ULED displays, particularly in consumer markets. Finding cost-effective solutions without compromising on performance is a key challenge that manufacturers and researchers must address to make this technology more accessible.
Existing AI-ULED Integration Solutions
01 ULED display structure and manufacturing
ULED displays incorporate advanced structural designs and manufacturing techniques to enhance performance. This includes innovations in pixel arrangements, substrate materials, and fabrication processes to improve efficiency, brightness, and color accuracy. The technology often involves miniaturized LED components and specialized driving circuits to achieve high-resolution displays with superior image quality.- ULED display structure and manufacturing: ULED displays incorporate advanced structural designs and manufacturing techniques to enhance performance. This includes innovations in pixel arrangements, substrate materials, and fabrication processes to improve efficiency, brightness, and color accuracy. The technology often involves miniaturized LED components and specialized driving circuits to achieve high-resolution displays with superior image quality.
- Optical and color management in ULED displays: ULED displays employ sophisticated optical and color management systems to optimize visual output. This includes the use of advanced light-guiding structures, color filters, and quantum dot technologies to enhance color gamut, contrast, and viewing angles. Innovations in this area focus on improving color accuracy, reducing light leakage, and increasing overall display efficiency.
- Power efficiency and heat management: ULED display technology emphasizes power efficiency and effective heat management. This involves the development of energy-efficient LED drivers, intelligent power distribution systems, and advanced thermal management solutions. These innovations aim to reduce power consumption, extend display lifespan, and maintain consistent performance under various operating conditions.
- Integration with other display technologies: ULED technology is often integrated with other display innovations to create hybrid solutions. This includes combining ULED with OLED, LCD, or other display technologies to leverage the strengths of each. Such integrations aim to achieve optimal balance between image quality, energy efficiency, and manufacturing cost, leading to versatile display solutions for various applications.
- Control systems and user interface for ULED displays: Advanced control systems and user interfaces are developed for ULED displays to enhance functionality and user experience. This includes innovations in touch control integration, gesture recognition, and smart display features. These systems aim to provide intuitive interaction, customizable display settings, and seamless integration with various devices and platforms.
02 Optical and color management in ULED displays
ULED displays employ sophisticated optical and color management systems to optimize visual output. This includes the use of advanced light-guiding structures, color filters, and phosphor materials to enhance color gamut, contrast, and viewing angles. Techniques for reducing light leakage and improving color consistency across the display are also implemented.Expand Specific Solutions03 Power efficiency and heat management
ULED displays focus on improving power efficiency and managing heat generation. This involves the development of energy-efficient driving schemes, low-power backplanes, and advanced thermal management solutions. These innovations help to reduce power consumption, extend battery life in portable devices, and maintain optimal performance under various operating conditions.Expand Specific Solutions04 Integration with other display technologies
ULED technology is often integrated with other display technologies to create hybrid solutions. This includes combinations with OLED, quantum dot, and micro-LED technologies to leverage the strengths of each approach. Such integrations aim to achieve superior image quality, energy efficiency, and form factor advantages in various display applications.Expand Specific Solutions05 ULED display control and driving methods
Advanced control and driving methods are crucial for ULED displays to achieve high performance. This includes the development of specialized driver ICs, pulse width modulation techniques, and dynamic refresh rate technologies. These methods aim to improve display responsiveness, reduce motion blur, and enhance overall visual quality while optimizing power consumption.Expand Specific Solutions
Key Players in AI and ULED Industries
The integration of AI with ULED displays is an emerging field in the early stages of development, with significant growth potential. The market size is expanding rapidly as display manufacturers seek to enhance user experiences and product differentiation. Technologically, it's still evolving, with varying levels of maturity among key players. Companies like Samsung Electronics, LG Electronics, and BOE Technology Group are at the forefront, leveraging their display expertise to incorporate AI features. Tech giants such as Apple, Microsoft, and Meta Platforms are also investing heavily in this area, focusing on AI-enhanced visual technologies for their devices and platforms. The competition is intensifying as both established display manufacturers and tech companies race to develop more sophisticated AI-integrated ULED solutions.
Samsung Electronics Co., Ltd.
Technical Solution: Samsung has developed an AI-enhanced ULED display technology that utilizes deep learning algorithms to optimize image quality in real-time. Their system employs neural networks to analyze incoming video signals, adjusting brightness, contrast, and color saturation on a per-pixel basis. This AI-driven approach allows for dynamic scene recognition and adaptive HDR processing, resulting in more vivid and lifelike visuals. Additionally, Samsung has integrated AI-powered upscaling capabilities, enabling lower resolution content to be displayed at near-native quality on high-resolution ULED panels.
Strengths: Superior image quality, advanced AI algorithms for real-time optimization, and efficient upscaling. Weaknesses: Potential for high computational requirements and increased power consumption.
Intel Corp.
Technical Solution: Intel has developed an AI-accelerated ULED display solution that leverages their expertise in computer vision and deep learning. Their approach utilizes Intel's neural compute engines to process and optimize display signals in real-time. The system employs convolutional neural networks for tasks such as image enhancement, noise reduction, and adaptive refresh rate control. Intel's technology also includes AI-driven local dimming algorithms that analyze content frame-by-frame to achieve optimal contrast and black levels. Furthermore, they have implemented an AI-based color management system that ensures accurate and consistent color reproduction across different viewing environments.
Strengths: High-performance AI processing capabilities, scalable solution for various display sizes, and potential for integration with other Intel technologies. Weaknesses: May require specialized hardware for optimal performance and potential for increased system complexity.
Core AI Technologies for ULED Displays
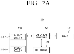
Display device and method for driving same
PatentWO2024106744A1
Innovation
- A display device with a learned artificial intelligence model that identifies dynamic peaking targets and controls driving modules to set individual peak luminance levels for each display area based on current information, using current gain values for R/G/B LED subpixels, and adjusts power consumption according to grayscale values to maximize contrast and efficiency.
Display device and method for driving same
PatentPendingEP4560615A1
Innovation
- A display device with a driving part that includes multiple driving modules connected to display areas, memory for storing current information, and processors to control the display. The processors use a trained AI model to identify images suitable for dynamic peaking, calculate peak luminance levels for each display area, and adjust the driving modules accordingly based on current information.
Energy Efficiency Considerations
The integration of AI with ULED displays presents significant opportunities for energy efficiency improvements. ULED (Ultra Light Emitting Diode) technology already offers superior energy efficiency compared to traditional LED displays, but the incorporation of AI can further optimize power consumption and enhance overall system performance.
AI algorithms can dynamically adjust display brightness and contrast based on ambient lighting conditions and content being displayed. This adaptive approach ensures optimal visibility while minimizing unnecessary power usage. Machine learning models can analyze historical usage patterns and user preferences to predict optimal display settings, reducing energy waste during periods of inactivity or low attention.
Intelligent power management systems driven by AI can selectively activate or deactivate specific display zones, concentrating energy consumption on areas of user focus. This granular control over individual pixels or display segments can lead to substantial energy savings, especially in large-format displays or video walls.
AI-powered image processing techniques can enhance image quality while reducing the power required for display rendering. Advanced algorithms can upscale lower-resolution content, allowing the display to operate at lower refresh rates or reduced brightness levels without compromising visual quality. This approach is particularly beneficial for mobile devices and battery-powered applications.
Predictive maintenance enabled by AI can optimize the long-term energy efficiency of ULED displays. By monitoring system performance and identifying potential issues before they escalate, AI can prevent energy-wasting malfunctions and extend the operational lifespan of display components.
The integration of AI with ULED displays also opens up possibilities for energy harvesting and recycling. Intelligent systems can capture and repurpose ambient light or heat generated by the display, converting it back into usable energy. This circular approach to energy management can significantly reduce the overall power consumption of display systems in various applications.
As AI continues to evolve, its integration with ULED technology is expected to yield even greater energy efficiency gains. Future developments may include advanced materials that respond to AI-driven signals, further optimizing power distribution and light emission at the molecular level. The synergy between AI and ULED displays holds promise for creating ultra-efficient visual interfaces that meet the growing demand for sustainable technology solutions across industries.
AI algorithms can dynamically adjust display brightness and contrast based on ambient lighting conditions and content being displayed. This adaptive approach ensures optimal visibility while minimizing unnecessary power usage. Machine learning models can analyze historical usage patterns and user preferences to predict optimal display settings, reducing energy waste during periods of inactivity or low attention.
Intelligent power management systems driven by AI can selectively activate or deactivate specific display zones, concentrating energy consumption on areas of user focus. This granular control over individual pixels or display segments can lead to substantial energy savings, especially in large-format displays or video walls.
AI-powered image processing techniques can enhance image quality while reducing the power required for display rendering. Advanced algorithms can upscale lower-resolution content, allowing the display to operate at lower refresh rates or reduced brightness levels without compromising visual quality. This approach is particularly beneficial for mobile devices and battery-powered applications.
Predictive maintenance enabled by AI can optimize the long-term energy efficiency of ULED displays. By monitoring system performance and identifying potential issues before they escalate, AI can prevent energy-wasting malfunctions and extend the operational lifespan of display components.
The integration of AI with ULED displays also opens up possibilities for energy harvesting and recycling. Intelligent systems can capture and repurpose ambient light or heat generated by the display, converting it back into usable energy. This circular approach to energy management can significantly reduce the overall power consumption of display systems in various applications.
As AI continues to evolve, its integration with ULED technology is expected to yield even greater energy efficiency gains. Future developments may include advanced materials that respond to AI-driven signals, further optimizing power distribution and light emission at the molecular level. The synergy between AI and ULED displays holds promise for creating ultra-efficient visual interfaces that meet the growing demand for sustainable technology solutions across industries.
User Experience and Interface Design
The integration of AI with ULED displays presents a unique opportunity to revolutionize user experience and interface design. As ULED technology continues to advance, offering superior image quality and energy efficiency, the incorporation of AI can further enhance the overall user interaction with these displays.
AI-powered adaptive interfaces can dynamically adjust to user preferences and environmental conditions. By analyzing user behavior patterns and ambient lighting, the display can automatically optimize brightness, contrast, and color settings to provide the best viewing experience. This personalization extends beyond visual aspects, as AI can learn and predict user preferences for content layout and accessibility features.
Natural language processing and computer vision capabilities can be leveraged to create more intuitive and responsive interfaces. Voice commands and gesture recognition can be seamlessly integrated, allowing users to control the display without physical input devices. This hands-free interaction is particularly valuable in public spaces or professional environments where touch-based interfaces may be impractical or unhygienic.
AI algorithms can also enhance content delivery and organization on ULED displays. By understanding user preferences and contextual information, the system can prioritize and present relevant information more effectively. This intelligent content curation can be especially beneficial in digital signage applications, where the display can adapt its messaging based on audience demographics or real-time data.
The integration of AI can also improve the accessibility of ULED displays for users with disabilities. Advanced text-to-speech, speech-to-text, and image recognition capabilities can provide alternative ways to interact with the display, ensuring a more inclusive user experience. Additionally, AI can assist in real-time language translation, making multilingual interfaces more seamless and accurate.
In the realm of augmented reality (AR) applications, AI-enhanced ULED displays can offer more immersive and context-aware experiences. By combining computer vision with the high-quality visual output of ULED technology, these displays can overlay digital information onto the physical world with greater precision and realism. This opens up new possibilities for interactive advertising, educational displays, and industrial applications.
As AI and ULED technologies continue to evolve, we can expect to see even more innovative approaches to user experience and interface design. The key to successful integration lies in creating interfaces that are not only technologically advanced but also intuitive, accessible, and adaptable to diverse user needs and environments.
AI-powered adaptive interfaces can dynamically adjust to user preferences and environmental conditions. By analyzing user behavior patterns and ambient lighting, the display can automatically optimize brightness, contrast, and color settings to provide the best viewing experience. This personalization extends beyond visual aspects, as AI can learn and predict user preferences for content layout and accessibility features.
Natural language processing and computer vision capabilities can be leveraged to create more intuitive and responsive interfaces. Voice commands and gesture recognition can be seamlessly integrated, allowing users to control the display without physical input devices. This hands-free interaction is particularly valuable in public spaces or professional environments where touch-based interfaces may be impractical or unhygienic.
AI algorithms can also enhance content delivery and organization on ULED displays. By understanding user preferences and contextual information, the system can prioritize and present relevant information more effectively. This intelligent content curation can be especially beneficial in digital signage applications, where the display can adapt its messaging based on audience demographics or real-time data.
The integration of AI can also improve the accessibility of ULED displays for users with disabilities. Advanced text-to-speech, speech-to-text, and image recognition capabilities can provide alternative ways to interact with the display, ensuring a more inclusive user experience. Additionally, AI can assist in real-time language translation, making multilingual interfaces more seamless and accurate.
In the realm of augmented reality (AR) applications, AI-enhanced ULED displays can offer more immersive and context-aware experiences. By combining computer vision with the high-quality visual output of ULED technology, these displays can overlay digital information onto the physical world with greater precision and realism. This opens up new possibilities for interactive advertising, educational displays, and industrial applications.
As AI and ULED technologies continue to evolve, we can expect to see even more innovative approaches to user experience and interface design. The key to successful integration lies in creating interfaces that are not only technologically advanced but also intuitive, accessible, and adaptable to diverse user needs and environments.
Unlock deeper insights with Patsnap Eureka Quick Research — get a full tech report to explore trends and direct your research. Try now!
Generate Your Research Report Instantly with AI Agent
Supercharge your innovation with Patsnap Eureka AI Agent Platform!







