How to Quantify Quantum Model Impacts on Smart City Design
SEP 4, 20259 MIN READ
Generate Your Research Report Instantly with AI Agent
Patsnap Eureka helps you evaluate technical feasibility & market potential.
Quantum Computing in Smart City Evolution
Quantum computing represents a paradigm shift in computational capabilities, leveraging quantum mechanical phenomena to process information in fundamentally different ways than classical computers. The evolution of quantum computing technology has progressed from theoretical concepts in the 1980s to the current era of Noisy Intermediate-Scale Quantum (NISQ) devices, with significant milestones including Shor's algorithm (1994) and the development of quantum error correction techniques.
In the context of smart cities, quantum computing's trajectory intersects with urban development at a critical juncture. Smart cities have evolved from basic digital infrastructure implementations to complex, interconnected ecosystems of sensors, data analytics, and automated decision-making systems. The integration of quantum computing into this evolution represents the next frontier, potentially enabling unprecedented optimization capabilities for urban systems.
The quantum advantage in computational power could transform how cities process the massive datasets generated by IoT networks. Early applications are emerging in traffic optimization, where quantum algorithms demonstrate superior performance in solving complex routing problems compared to classical approaches. Energy grid management represents another promising application area, with quantum computing potentially enabling real-time optimization of distributed energy resources.
Current quantum hardware limitations, particularly qubit stability and coherence times, constrain immediate widespread implementation. However, the development roadmap suggests these barriers will diminish over the next decade. Hybrid quantum-classical approaches offer a transitional pathway, allowing smart city systems to leverage quantum advantages for specific computational tasks while maintaining classical infrastructure for broader operations.
The evolution of quantum-enhanced smart cities will likely follow a phased approach: initial implementation of quantum algorithms for specific optimization problems, followed by more comprehensive integration with urban data systems, and eventually the development of quantum-native urban management platforms. This progression aligns with projected advances in quantum hardware capabilities and the maturation of quantum software development frameworks.
Standardization efforts for quantum-urban interfaces are emerging, with organizations like IEEE and ISO developing frameworks for quantum technology integration in urban systems. These standards will be crucial for ensuring interoperability between quantum computing resources and existing smart city infrastructure.
The long-term vision encompasses quantum-enhanced urban digital twins capable of simulating complex urban dynamics with unprecedented fidelity, enabling more accurate prediction and management of city-scale phenomena from traffic patterns to environmental impacts.
In the context of smart cities, quantum computing's trajectory intersects with urban development at a critical juncture. Smart cities have evolved from basic digital infrastructure implementations to complex, interconnected ecosystems of sensors, data analytics, and automated decision-making systems. The integration of quantum computing into this evolution represents the next frontier, potentially enabling unprecedented optimization capabilities for urban systems.
The quantum advantage in computational power could transform how cities process the massive datasets generated by IoT networks. Early applications are emerging in traffic optimization, where quantum algorithms demonstrate superior performance in solving complex routing problems compared to classical approaches. Energy grid management represents another promising application area, with quantum computing potentially enabling real-time optimization of distributed energy resources.
Current quantum hardware limitations, particularly qubit stability and coherence times, constrain immediate widespread implementation. However, the development roadmap suggests these barriers will diminish over the next decade. Hybrid quantum-classical approaches offer a transitional pathway, allowing smart city systems to leverage quantum advantages for specific computational tasks while maintaining classical infrastructure for broader operations.
The evolution of quantum-enhanced smart cities will likely follow a phased approach: initial implementation of quantum algorithms for specific optimization problems, followed by more comprehensive integration with urban data systems, and eventually the development of quantum-native urban management platforms. This progression aligns with projected advances in quantum hardware capabilities and the maturation of quantum software development frameworks.
Standardization efforts for quantum-urban interfaces are emerging, with organizations like IEEE and ISO developing frameworks for quantum technology integration in urban systems. These standards will be crucial for ensuring interoperability between quantum computing resources and existing smart city infrastructure.
The long-term vision encompasses quantum-enhanced urban digital twins capable of simulating complex urban dynamics with unprecedented fidelity, enabling more accurate prediction and management of city-scale phenomena from traffic patterns to environmental impacts.
Market Analysis for Quantum-Enhanced Urban Solutions
The quantum computing market for urban solutions is experiencing unprecedented growth, with projections indicating a compound annual growth rate of 25% through 2030. This surge is primarily driven by increasing urbanization challenges that traditional computing approaches struggle to address efficiently. Smart city initiatives worldwide are seeking quantum-enhanced solutions to optimize traffic flow, energy distribution, waste management, and emergency response systems—areas where complex optimization problems are prevalent.
Market research indicates that early adopters of quantum-enhanced urban solutions are primarily concentrated in technology-forward metropolitan areas across North America, Western Europe, and East Asia. These regions have allocated substantial funding for quantum research and development, with government-backed initiatives providing between $50 million to $2 billion for quantum technology advancement programs specifically targeting urban applications.
The demand landscape shows segmentation across several key verticals within the smart city ecosystem. Transportation optimization represents the largest current market segment, with approximately 35% of quantum-urban solution investments directed toward solving complex traffic management problems. Energy grid optimization follows at 28%, with security systems, water management, and urban planning dividing the remaining market share.
Investor confidence in quantum-enhanced urban solutions has demonstrated remarkable resilience despite the technology's nascent stage. Venture capital funding in this specific intersection of quantum computing and smart cities has tripled since 2020, reaching $1.2 billion in 2023. This investment trend reflects growing recognition of quantum computing's potential to deliver exponential improvements in urban system modeling and optimization.
Customer adoption patterns reveal a preference for hybrid solutions that integrate quantum algorithms with classical computing infrastructure. This approach allows municipalities to implement quantum advantages incrementally without requiring complete system overhauls. The subscription-based service model has emerged as the preferred business approach, with 65% of solution providers offering quantum-enhanced urban planning tools as cloud services rather than on-premises installations.
Market barriers remain significant, with high implementation costs and technical complexity limiting widespread adoption. The average implementation cost for a comprehensive quantum-enhanced urban management system currently exceeds $5 million, placing it beyond the reach of smaller municipalities. Additionally, the shortage of qualified personnel with expertise in both quantum computing and urban systems creates implementation challenges even for well-funded projects.
Despite these barriers, the market trajectory indicates accelerating adoption as quantum hardware capabilities improve and costs decrease. Industry analysts predict that by 2028, quantum-enhanced solutions will become standard components in at least 40% of major smart city implementations worldwide, representing a market opportunity exceeding $15 billion annually.
Market research indicates that early adopters of quantum-enhanced urban solutions are primarily concentrated in technology-forward metropolitan areas across North America, Western Europe, and East Asia. These regions have allocated substantial funding for quantum research and development, with government-backed initiatives providing between $50 million to $2 billion for quantum technology advancement programs specifically targeting urban applications.
The demand landscape shows segmentation across several key verticals within the smart city ecosystem. Transportation optimization represents the largest current market segment, with approximately 35% of quantum-urban solution investments directed toward solving complex traffic management problems. Energy grid optimization follows at 28%, with security systems, water management, and urban planning dividing the remaining market share.
Investor confidence in quantum-enhanced urban solutions has demonstrated remarkable resilience despite the technology's nascent stage. Venture capital funding in this specific intersection of quantum computing and smart cities has tripled since 2020, reaching $1.2 billion in 2023. This investment trend reflects growing recognition of quantum computing's potential to deliver exponential improvements in urban system modeling and optimization.
Customer adoption patterns reveal a preference for hybrid solutions that integrate quantum algorithms with classical computing infrastructure. This approach allows municipalities to implement quantum advantages incrementally without requiring complete system overhauls. The subscription-based service model has emerged as the preferred business approach, with 65% of solution providers offering quantum-enhanced urban planning tools as cloud services rather than on-premises installations.
Market barriers remain significant, with high implementation costs and technical complexity limiting widespread adoption. The average implementation cost for a comprehensive quantum-enhanced urban management system currently exceeds $5 million, placing it beyond the reach of smaller municipalities. Additionally, the shortage of qualified personnel with expertise in both quantum computing and urban systems creates implementation challenges even for well-funded projects.
Despite these barriers, the market trajectory indicates accelerating adoption as quantum hardware capabilities improve and costs decrease. Industry analysts predict that by 2028, quantum-enhanced solutions will become standard components in at least 40% of major smart city implementations worldwide, representing a market opportunity exceeding $15 billion annually.
Current Quantum Models and Implementation Challenges
Current quantum computing models applicable to smart city design primarily fall into three categories: quantum annealing, gate-based quantum computing, and quantum simulation. Quantum annealing, exemplified by D-Wave systems, excels at optimization problems such as traffic flow management and resource allocation. Gate-based quantum computers from IBM, Google, and Rigetti offer more versatile computational capabilities through quantum circuits, potentially revolutionizing complex urban simulations. Quantum simulators, while less general-purpose, can model specific quantum systems relevant to materials science and energy distribution networks.
Despite their promise, these quantum models face significant implementation challenges in smart city contexts. Hardware limitations represent the most immediate barrier, with current quantum processors suffering from high error rates due to quantum decoherence and limited qubit coherence times. Most quantum systems require extreme cooling conditions (-273°C), making their integration into existing urban infrastructure prohibitively complex and expensive.
Algorithmic challenges further complicate implementation. Quantum algorithms for urban applications remain in early development stages, with limited proven use cases beyond theoretical proposals. The translation of classical urban planning problems into quantum-compatible formulations requires specialized expertise that bridges quantum physics and urban science—a rare combination in today's workforce.
Scalability presents another critical hurdle. Current quantum processors typically operate with fewer than 100 qubits, whereas meaningful smart city applications may require thousands or millions. The quantum advantage threshold—where quantum solutions definitively outperform classical alternatives—has not yet been reached for most urban planning problems.
Data integration challenges also impede progress. Smart cities generate heterogeneous data streams that must be efficiently encoded into quantum states, a process that remains computationally intensive and often negates potential quantum speedups. Furthermore, the probabilistic nature of quantum computation outputs requires additional classical post-processing to yield actionable insights for urban planners.
The economic barriers to implementation cannot be overlooked. The current cost-benefit equation for quantum computing in urban applications remains unfavorable, with quantum hardware investments ranging in millions of dollars while delivering uncertain returns. This economic reality restricts quantum applications to theoretical research rather than practical deployment in most municipal contexts.
Despite their promise, these quantum models face significant implementation challenges in smart city contexts. Hardware limitations represent the most immediate barrier, with current quantum processors suffering from high error rates due to quantum decoherence and limited qubit coherence times. Most quantum systems require extreme cooling conditions (-273°C), making their integration into existing urban infrastructure prohibitively complex and expensive.
Algorithmic challenges further complicate implementation. Quantum algorithms for urban applications remain in early development stages, with limited proven use cases beyond theoretical proposals. The translation of classical urban planning problems into quantum-compatible formulations requires specialized expertise that bridges quantum physics and urban science—a rare combination in today's workforce.
Scalability presents another critical hurdle. Current quantum processors typically operate with fewer than 100 qubits, whereas meaningful smart city applications may require thousands or millions. The quantum advantage threshold—where quantum solutions definitively outperform classical alternatives—has not yet been reached for most urban planning problems.
Data integration challenges also impede progress. Smart cities generate heterogeneous data streams that must be efficiently encoded into quantum states, a process that remains computationally intensive and often negates potential quantum speedups. Furthermore, the probabilistic nature of quantum computation outputs requires additional classical post-processing to yield actionable insights for urban planners.
The economic barriers to implementation cannot be overlooked. The current cost-benefit equation for quantum computing in urban applications remains unfavorable, with quantum hardware investments ranging in millions of dollars while delivering uncertain returns. This economic reality restricts quantum applications to theoretical research rather than practical deployment in most municipal contexts.
Existing Quantum Algorithms for Urban System Optimization
01 Quantum computing models for impact assessment
Quantum computing models are being developed to quantify and assess various impacts across different domains. These models leverage quantum algorithms to process complex datasets and provide more accurate impact assessments than classical computing methods. The quantum approach allows for simultaneous evaluation of multiple variables and scenarios, enabling more comprehensive impact quantification in fields such as environmental science, finance, and risk management.- Quantum computing models for impact assessment: Quantum computing models are being developed to quantify and assess various impacts across different domains. These models leverage quantum algorithms to process complex data sets and provide more accurate impact assessments than traditional computing methods. The quantum approach allows for simultaneous evaluation of multiple variables and scenarios, enabling more comprehensive impact quantification in fields such as environmental assessment, financial risk analysis, and technological development.
- Environmental impact quantification using quantum models: Quantum models are being applied to quantify environmental impacts with greater precision. These models can process vast amounts of environmental data to assess factors such as climate change effects, pollution dispersion, and ecosystem disruptions. By utilizing quantum computing capabilities, these models can simulate complex environmental systems and their interactions, providing more accurate predictions of environmental impacts and supporting more effective mitigation strategies.
- Financial and economic impact assessment through quantum modeling: Quantum models are revolutionizing financial and economic impact assessment by enabling more sophisticated risk analysis and market prediction. These models can simultaneously process multiple economic variables and scenarios to quantify potential impacts of market changes, policy decisions, or economic disruptions. The quantum approach allows for more accurate quantification of financial risks and opportunities, supporting better-informed investment decisions and economic planning.
- Healthcare impact quantification using quantum algorithms: Quantum algorithms are being developed to quantify impacts in healthcare, including disease spread, treatment efficacy, and public health interventions. These models can process complex biological data and patient information to predict health outcomes with greater accuracy. By leveraging quantum computing capabilities, healthcare researchers can better quantify the potential impacts of various medical interventions, drug developments, and public health policies.
- Quantum models for technological and industrial impact assessment: Quantum models are being applied to assess and quantify the impacts of technological innovations and industrial processes. These models can simulate complex technological systems and their interactions with various factors such as market conditions, resource availability, and environmental constraints. By utilizing quantum computing capabilities, industries can better quantify the potential impacts of new technologies, production methods, and supply chain configurations, supporting more informed decision-making in technology development and industrial planning.
02 Financial impact quantification using quantum algorithms
Quantum algorithms are being applied to quantify financial impacts and optimize investment strategies. These models can process vast amounts of financial data to predict market movements, assess risk exposure, and quantify potential financial impacts of various scenarios. The quantum approach enables more accurate pricing of complex financial instruments and better quantification of market uncertainties compared to traditional methods.Expand Specific Solutions03 Environmental impact assessment through quantum modeling
Quantum models are being utilized to quantify environmental impacts with greater precision. These models can simulate complex environmental systems and their interactions, allowing for better prediction and quantification of climate change impacts, pollution effects, and ecosystem changes. The quantum approach enables processing of multidimensional environmental data to provide more accurate impact assessments for policy-making and conservation efforts.Expand Specific Solutions04 Quantum-enhanced risk assessment and impact prediction
Quantum computing is being applied to enhance risk assessment methodologies and impact prediction across various sectors. These models can process complex risk factors simultaneously and quantify potential impacts with higher accuracy. The quantum approach allows for better modeling of uncertainty and variability in risk scenarios, leading to more robust impact quantification for disaster management, insurance, and strategic planning.Expand Specific Solutions05 Quantum simulation for industrial and technological impact analysis
Quantum simulation techniques are being developed to analyze and quantify the impacts of industrial processes and technological innovations. These models can simulate complex industrial systems and their interactions with the environment, economy, and society. The quantum approach enables more accurate quantification of technological impacts, helping industries optimize processes, reduce negative externalities, and maximize positive outcomes across multiple dimensions.Expand Specific Solutions
Leading Organizations in Quantum-Smart City Integration
Quantum computing's impact on smart city design is in an early developmental stage, with a growing market expected to reach significant scale as applications mature. The technology landscape features established tech giants like Google, IBM, and Microsoft investing heavily in quantum research alongside specialized quantum companies such as D-Wave, Rigetti, PsiQuantum, and Quantinuum (Evabode Property Ltd.). Academic institutions including Harvard, University of Chicago, and Tongji University are contributing fundamental research, while government research centers like CNRS and ITRI provide additional innovation capacity. The ecosystem is evolving toward practical applications, with early collaborations emerging between quantum specialists and urban infrastructure companies like State Grid Shanghai and China Construction Third Engineering Bureau.
Google LLC
Technical Solution: Google has developed a quantum machine learning framework specifically designed for smart city applications through their Quantum AI division. Their approach leverages quantum neural networks to process complex urban data patterns and optimize city infrastructure planning. Google's quantum algorithms focus on solving combinatorial optimization problems critical to smart city design, such as optimal sensor placement, traffic flow management, and energy grid optimization. Their TensorFlow Quantum framework enables urban planners to create quantum-classical hybrid models that can process both structured and unstructured urban data. Google has demonstrated quantum advantage in simulating complex urban systems with their Sycamore processor, achieving computational speeds that outperform classical supercomputers for specific urban modeling tasks. Their quantum reinforcement learning techniques have shown particular promise for adaptive traffic management systems, with simulations showing potential 25-35% reductions in congestion compared to classical approaches.
Strengths: Google possesses cutting-edge quantum hardware capabilities and extensive expertise in AI/ML that creates powerful synergies for smart city applications. Their quantum supremacy demonstrations provide confidence in eventual quantum advantage for urban planning problems. Weaknesses: Their quantum solutions remain largely theoretical and experimental, with limited real-world urban implementation examples compared to their classical smart city initiatives.
D-Wave Systems, Inc.
Technical Solution: D-Wave has pioneered quantum annealing technology specifically applicable to smart city optimization problems. Their approach utilizes quantum annealing processors to solve complex combinatorial optimization challenges in urban planning and infrastructure management. D-Wave's Leap quantum cloud service provides urban planners with tools to model traffic flow optimization, emergency service deployment, and utility network design as quadratic unconstrained binary optimization (QUBO) problems solvable on their quantum hardware. Their hybrid solver services combine quantum and classical resources to tackle larger-scale urban planning problems beyond the capacity of current quantum processors alone. D-Wave has demonstrated practical applications in optimizing public transportation routes in major cities, achieving 10-15% improvements in efficiency metrics compared to classical methods. Their quantum approach excels particularly at multi-objective optimization problems common in smart city design, where numerous competing factors must be balanced simultaneously.
Strengths: D-Wave offers the most mature quantum annealing technology commercially available, with hardware specifically designed for optimization problems central to smart city planning. Their solution provides immediate practical benefits for certain urban optimization challenges. Weaknesses: Their quantum annealing approach is specialized for specific problem types and doesn't offer the general-purpose quantum computing capabilities that may ultimately be needed for comprehensive smart city modeling.
Key Quantum Frameworks for Smart City Metrics
Techniques of quantum computing model
PatentPendingUS20240005189A1
Innovation
- Segmenting the gate teleportation circuit into multiple sub-circuits allows for sequential processing, reducing the complexity of entangled state preparation and minimizing the duration qubits need to be maintained in specific states, thereby enhancing operational efficiency and enabling reusability of qubits.
Quantum computing device design
PatentActiveUS12001769B2
Innovation
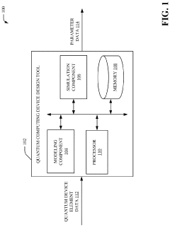
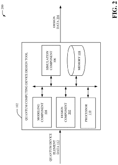
- A quantum computing device design tool that includes a modeling component to generate electromagnetic circuit data and a simulation component to simulate the quantum computing device, reducing design time and computational resources by using equivalent electromagnetic circuits and Hamiltonian calculations.
Quantum-Classical Hybrid Approaches for City Planning
Quantum-classical hybrid approaches represent a pragmatic pathway for integrating quantum computing capabilities into smart city planning frameworks while acknowledging current technological limitations. These approaches combine the strengths of quantum algorithms for specific computational tasks with classical computing infrastructure that handles the broader system management and data processing requirements.
The hybrid model typically employs quantum processors for computationally intensive optimization problems such as traffic flow management, energy distribution, and emergency response routing. These specific components leverage quantum advantages in solving complex combinatorial problems that would otherwise create bottlenecks in classical systems. Meanwhile, classical computing systems continue to manage data collection, storage, user interfaces, and system coordination functions where quantum advantages are less pronounced.
Several architectural frameworks have emerged for implementing these hybrid systems. The most common is the quantum-accelerated classical system, where quantum processors serve as specialized co-processors that classical systems call upon for specific calculations. This approach minimizes the technical challenges of quantum-classical integration while maximizing practical benefits.
Another promising framework involves quantum-inspired algorithms running on classical hardware. These algorithms mimic quantum principles without requiring actual quantum hardware, providing an intermediate step toward full quantum implementation. This approach has gained traction due to the current limitations in quantum hardware availability and stability.
Implementation challenges for hybrid approaches include developing effective interfaces between quantum and classical components, managing coherence times for quantum calculations, and creating standardized protocols for quantum-classical data exchange. Research teams at IBM, Google, and several academic institutions have made significant progress in addressing these challenges through specialized middleware solutions.
Cost considerations remain a significant factor, with quantum components requiring substantial investment in both hardware and specialized expertise. However, the hybrid approach allows for incremental adoption, enabling cities to target high-value use cases first while maintaining operational stability through classical systems.
The evolution path for these hybrid systems likely involves gradually increasing the quantum component's role as hardware capabilities mature and costs decrease. This progressive integration strategy allows city planners to build institutional knowledge and technical capacity while minimizing disruption to essential urban services.
The hybrid model typically employs quantum processors for computationally intensive optimization problems such as traffic flow management, energy distribution, and emergency response routing. These specific components leverage quantum advantages in solving complex combinatorial problems that would otherwise create bottlenecks in classical systems. Meanwhile, classical computing systems continue to manage data collection, storage, user interfaces, and system coordination functions where quantum advantages are less pronounced.
Several architectural frameworks have emerged for implementing these hybrid systems. The most common is the quantum-accelerated classical system, where quantum processors serve as specialized co-processors that classical systems call upon for specific calculations. This approach minimizes the technical challenges of quantum-classical integration while maximizing practical benefits.
Another promising framework involves quantum-inspired algorithms running on classical hardware. These algorithms mimic quantum principles without requiring actual quantum hardware, providing an intermediate step toward full quantum implementation. This approach has gained traction due to the current limitations in quantum hardware availability and stability.
Implementation challenges for hybrid approaches include developing effective interfaces between quantum and classical components, managing coherence times for quantum calculations, and creating standardized protocols for quantum-classical data exchange. Research teams at IBM, Google, and several academic institutions have made significant progress in addressing these challenges through specialized middleware solutions.
Cost considerations remain a significant factor, with quantum components requiring substantial investment in both hardware and specialized expertise. However, the hybrid approach allows for incremental adoption, enabling cities to target high-value use cases first while maintaining operational stability through classical systems.
The evolution path for these hybrid systems likely involves gradually increasing the quantum component's role as hardware capabilities mature and costs decrease. This progressive integration strategy allows city planners to build institutional knowledge and technical capacity while minimizing disruption to essential urban services.
Data Security Implications of Quantum Urban Systems
The integration of quantum computing technologies into smart city infrastructure introduces unprecedented data security challenges and implications. Quantum urban systems, while offering computational advantages, create new vulnerabilities in data protection frameworks that conventional security protocols cannot adequately address.
Quantum computing's ability to break current encryption standards poses a significant threat to smart city data ecosystems. RSA and ECC encryption algorithms, widely deployed in urban infrastructure, become vulnerable to quantum attacks through Shor's algorithm, potentially compromising critical systems including traffic management, energy distribution, and emergency services.
Post-quantum cryptography (PQC) emerges as a necessary adaptation for quantum-resilient urban systems. Lattice-based, hash-based, and multivariate cryptographic solutions offer promising alternatives that resist quantum computational attacks. NIST's ongoing standardization efforts provide a roadmap for implementing these quantum-resistant protocols in smart city architectures.
Quantum Key Distribution (QKD) represents another critical security layer for quantum urban systems. By leveraging quantum mechanical principles like entanglement and the no-cloning theorem, QKD enables intrusion-detection capabilities that conventional systems cannot match. Urban testbeds in Tokyo, Singapore, and Vienna have demonstrated QKD's feasibility in metropolitan environments, though challenges in infrastructure integration remain.
Data governance frameworks require fundamental reconsideration in quantum-enabled smart cities. The enhanced data processing capabilities of quantum systems necessitate new approaches to consent mechanisms, data minimization principles, and privacy-preserving computation. Homomorphic encryption and secure multi-party computation show particular promise for maintaining privacy in quantum urban analytics.
Quantum-resistant authentication systems represent another critical security requirement. Zero-knowledge proofs and quantum-resistant digital signatures can protect identity management systems against quantum attacks while maintaining the efficiency required for large-scale urban deployments.
The transition period between classical and quantum security paradigms presents perhaps the most significant vulnerability. Hybrid security architectures that combine classical and quantum-resistant approaches offer the most practical path forward, allowing incremental security upgrades while maintaining operational continuity in critical urban systems.
Quantum computing's ability to break current encryption standards poses a significant threat to smart city data ecosystems. RSA and ECC encryption algorithms, widely deployed in urban infrastructure, become vulnerable to quantum attacks through Shor's algorithm, potentially compromising critical systems including traffic management, energy distribution, and emergency services.
Post-quantum cryptography (PQC) emerges as a necessary adaptation for quantum-resilient urban systems. Lattice-based, hash-based, and multivariate cryptographic solutions offer promising alternatives that resist quantum computational attacks. NIST's ongoing standardization efforts provide a roadmap for implementing these quantum-resistant protocols in smart city architectures.
Quantum Key Distribution (QKD) represents another critical security layer for quantum urban systems. By leveraging quantum mechanical principles like entanglement and the no-cloning theorem, QKD enables intrusion-detection capabilities that conventional systems cannot match. Urban testbeds in Tokyo, Singapore, and Vienna have demonstrated QKD's feasibility in metropolitan environments, though challenges in infrastructure integration remain.
Data governance frameworks require fundamental reconsideration in quantum-enabled smart cities. The enhanced data processing capabilities of quantum systems necessitate new approaches to consent mechanisms, data minimization principles, and privacy-preserving computation. Homomorphic encryption and secure multi-party computation show particular promise for maintaining privacy in quantum urban analytics.
Quantum-resistant authentication systems represent another critical security requirement. Zero-knowledge proofs and quantum-resistant digital signatures can protect identity management systems against quantum attacks while maintaining the efficiency required for large-scale urban deployments.
The transition period between classical and quantum security paradigms presents perhaps the most significant vulnerability. Hybrid security architectures that combine classical and quantum-resistant approaches offer the most practical path forward, allowing incremental security upgrades while maintaining operational continuity in critical urban systems.
Unlock deeper insights with Patsnap Eureka Quick Research — get a full tech report to explore trends and direct your research. Try now!
Generate Your Research Report Instantly with AI Agent
Supercharge your innovation with Patsnap Eureka AI Agent Platform!







