Quantum Model vs AI in Real-Time Signal Processing
SEP 4, 20259 MIN READ
Generate Your Research Report Instantly with AI Agent
Patsnap Eureka helps you evaluate technical feasibility & market potential.
Quantum Computing vs AI Signal Processing Background
Signal processing has evolved dramatically over the past decades, with two distinct technological paradigms now competing for dominance in real-time applications: quantum computing models and artificial intelligence. The intersection of these technologies represents a frontier where computational capabilities are being redefined, particularly for complex signal processing tasks that demand both speed and accuracy.
Quantum computing leverages quantum mechanical phenomena such as superposition and entanglement to perform computations that would be practically impossible for classical computers. Since its theoretical conception in the 1980s, quantum computing has progressed from abstract mathematical models to the development of actual quantum processors with increasing qubit counts. This evolution has opened new possibilities for signal processing algorithms that can operate in multidimensional spaces simultaneously.
Artificial intelligence, particularly deep learning models, has demonstrated remarkable capabilities in pattern recognition and signal interpretation. The development trajectory from simple neural networks to sophisticated architectures like convolutional neural networks (CNNs) and recurrent neural networks (RNNs) has revolutionized how signals are processed and interpreted. These advancements have been accelerated by improvements in computational hardware, particularly GPUs and specialized AI processors.
Real-time signal processing represents a critical application domain where both technologies are being tested against traditional methods. The ability to analyze and respond to signals instantaneously is essential in fields ranging from telecommunications to autonomous vehicles, medical diagnostics, and financial market analysis. The technical requirements include minimal latency, high throughput, and adaptive processing capabilities under varying signal conditions.
The fundamental difference between quantum and AI approaches lies in their computational paradigms. Quantum models exploit quantum parallelism to evaluate multiple signal states simultaneously, potentially offering exponential speedups for specific algorithms like the Quantum Fourier Transform. AI models, conversely, rely on learned representations and distributed processing across neural networks to identify patterns and make predictions from signal data.
Current research indicates a trend toward hybrid systems that combine classical computing with either quantum elements or AI components to maximize efficiency. These hybrid approaches acknowledge the complementary strengths of different computational methods and the practical limitations of current quantum hardware, which still suffers from noise and decoherence issues.
As both technologies continue to mature, their convergence may yield entirely new approaches to signal processing that transcend the limitations of either paradigm alone. This technological evolution is driving significant investment in research and development across academic institutions and industry leaders, reflecting the strategic importance of advanced signal processing capabilities in the digital economy.
Quantum computing leverages quantum mechanical phenomena such as superposition and entanglement to perform computations that would be practically impossible for classical computers. Since its theoretical conception in the 1980s, quantum computing has progressed from abstract mathematical models to the development of actual quantum processors with increasing qubit counts. This evolution has opened new possibilities for signal processing algorithms that can operate in multidimensional spaces simultaneously.
Artificial intelligence, particularly deep learning models, has demonstrated remarkable capabilities in pattern recognition and signal interpretation. The development trajectory from simple neural networks to sophisticated architectures like convolutional neural networks (CNNs) and recurrent neural networks (RNNs) has revolutionized how signals are processed and interpreted. These advancements have been accelerated by improvements in computational hardware, particularly GPUs and specialized AI processors.
Real-time signal processing represents a critical application domain where both technologies are being tested against traditional methods. The ability to analyze and respond to signals instantaneously is essential in fields ranging from telecommunications to autonomous vehicles, medical diagnostics, and financial market analysis. The technical requirements include minimal latency, high throughput, and adaptive processing capabilities under varying signal conditions.
The fundamental difference between quantum and AI approaches lies in their computational paradigms. Quantum models exploit quantum parallelism to evaluate multiple signal states simultaneously, potentially offering exponential speedups for specific algorithms like the Quantum Fourier Transform. AI models, conversely, rely on learned representations and distributed processing across neural networks to identify patterns and make predictions from signal data.
Current research indicates a trend toward hybrid systems that combine classical computing with either quantum elements or AI components to maximize efficiency. These hybrid approaches acknowledge the complementary strengths of different computational methods and the practical limitations of current quantum hardware, which still suffers from noise and decoherence issues.
As both technologies continue to mature, their convergence may yield entirely new approaches to signal processing that transcend the limitations of either paradigm alone. This technological evolution is driving significant investment in research and development across academic institutions and industry leaders, reflecting the strategic importance of advanced signal processing capabilities in the digital economy.
Market Demand Analysis for Real-Time Signal Processing
The real-time signal processing market is experiencing unprecedented growth driven by the increasing demand for instantaneous data analysis across multiple industries. Current market valuations place this sector at approximately $12.5 billion, with projections indicating a compound annual growth rate of 21.3% through 2028. This remarkable expansion is primarily fueled by advancements in telecommunications, autonomous vehicles, healthcare monitoring systems, and industrial automation.
In telecommunications, the transition to 5G and future 6G networks necessitates sophisticated real-time signal processing capabilities to manage the massive data throughput and ultra-low latency requirements. Network operators are actively seeking solutions that can process signals more efficiently while consuming less power, creating a substantial market opportunity for both quantum and AI-based approaches.
The autonomous vehicle industry represents another significant market driver, with an estimated 76% of self-driving technology companies increasing their investments in advanced signal processing technologies. These systems require instantaneous processing of sensor data from radar, lidar, and cameras to make split-second driving decisions, creating demand for processing solutions that can operate at quantum speeds.
Healthcare monitoring has emerged as a rapidly growing application area, particularly following the global pandemic. Remote patient monitoring systems that can process physiological signals in real-time have seen a 43% increase in adoption since 2020. The ability to detect anomalies in patient data instantaneously could revolutionize preventive care and emergency response.
Industrial IoT applications represent another substantial market segment, with manufacturing facilities deploying an average of 1,200 sensors per factory floor. These sensors generate continuous data streams that require immediate processing to enable predictive maintenance and optimize production efficiency.
Defense and security applications constitute a premium market segment where performance often outweighs cost considerations. Signal intelligence, radar systems, and electronic warfare all demand the highest levels of processing capability, making them ideal early adoption candidates for quantum-based solutions despite higher implementation costs.
Market research indicates that while AI-based signal processing solutions currently dominate with approximately 87% market share, there is growing interest in quantum approaches. Industry surveys reveal that 63% of technology decision-makers are actively exploring quantum computing applications for signal processing, though most anticipate implementation timelines of 3-5 years due to current technological limitations and infrastructure requirements.
In telecommunications, the transition to 5G and future 6G networks necessitates sophisticated real-time signal processing capabilities to manage the massive data throughput and ultra-low latency requirements. Network operators are actively seeking solutions that can process signals more efficiently while consuming less power, creating a substantial market opportunity for both quantum and AI-based approaches.
The autonomous vehicle industry represents another significant market driver, with an estimated 76% of self-driving technology companies increasing their investments in advanced signal processing technologies. These systems require instantaneous processing of sensor data from radar, lidar, and cameras to make split-second driving decisions, creating demand for processing solutions that can operate at quantum speeds.
Healthcare monitoring has emerged as a rapidly growing application area, particularly following the global pandemic. Remote patient monitoring systems that can process physiological signals in real-time have seen a 43% increase in adoption since 2020. The ability to detect anomalies in patient data instantaneously could revolutionize preventive care and emergency response.
Industrial IoT applications represent another substantial market segment, with manufacturing facilities deploying an average of 1,200 sensors per factory floor. These sensors generate continuous data streams that require immediate processing to enable predictive maintenance and optimize production efficiency.
Defense and security applications constitute a premium market segment where performance often outweighs cost considerations. Signal intelligence, radar systems, and electronic warfare all demand the highest levels of processing capability, making them ideal early adoption candidates for quantum-based solutions despite higher implementation costs.
Market research indicates that while AI-based signal processing solutions currently dominate with approximately 87% market share, there is growing interest in quantum approaches. Industry surveys reveal that 63% of technology decision-makers are actively exploring quantum computing applications for signal processing, though most anticipate implementation timelines of 3-5 years due to current technological limitations and infrastructure requirements.
Current Technological Landscape and Challenges
The real-time signal processing landscape is currently experiencing a transformative period as both quantum computing models and artificial intelligence approaches compete for dominance. Traditional signal processing techniques have relied on classical computing architectures, which face inherent limitations when processing complex signals at high speeds. These limitations have created significant bottlenecks in applications requiring instantaneous analysis and response, such as autonomous vehicles, advanced radar systems, and medical diagnostic equipment.
Quantum computing models offer theoretical advantages through their ability to process multiple signal states simultaneously via quantum superposition and entanglement. Early experimental implementations have demonstrated promising results in specific signal processing tasks, achieving computational speedups that follow quantum advantage principles. However, quantum systems currently face severe practical constraints including extreme sensitivity to environmental noise (decoherence), limited qubit coherence times, and the requirement for cryogenic operating temperatures.
Artificial intelligence approaches, particularly deep learning models, have made remarkable progress in signal processing applications. Convolutional neural networks and recurrent architectures have demonstrated exceptional capabilities in pattern recognition, noise filtering, and signal classification tasks. The deployment of specialized AI hardware accelerators like GPUs, TPUs, and neuromorphic chips has enabled real-time processing capabilities that were previously unattainable with classical computing methods.
The geographical distribution of these technologies shows interesting patterns. Quantum signal processing research is concentrated in North America, Europe, and China, with significant investments from both government entities and major technology corporations. Meanwhile, AI-based signal processing solutions have seen more widespread adoption globally, with particularly strong development ecosystems in the United States, China, Israel, and South Korea.
Key technical challenges for quantum approaches include error correction, maintaining quantum coherence for practical durations, and developing algorithms specifically optimized for signal processing tasks. The quantum hardware ecosystem remains immature, with competing qubit technologies (superconducting, trapped ion, photonic, etc.) still evolving toward practical implementation scales.
For AI-based approaches, challenges center around energy efficiency, model interpretability, and robustness against adversarial signals. Edge deployment of sophisticated AI models for real-time signal processing remains difficult due to computational and power constraints, though specialized hardware solutions are rapidly advancing to address these limitations.
The intersection of these technologies presents perhaps the most intriguing frontier, with quantum-inspired algorithms running on classical hardware and quantum machine learning approaches beginning to emerge as potential hybrid solutions that leverage advantages from both paradigms.
Quantum computing models offer theoretical advantages through their ability to process multiple signal states simultaneously via quantum superposition and entanglement. Early experimental implementations have demonstrated promising results in specific signal processing tasks, achieving computational speedups that follow quantum advantage principles. However, quantum systems currently face severe practical constraints including extreme sensitivity to environmental noise (decoherence), limited qubit coherence times, and the requirement for cryogenic operating temperatures.
Artificial intelligence approaches, particularly deep learning models, have made remarkable progress in signal processing applications. Convolutional neural networks and recurrent architectures have demonstrated exceptional capabilities in pattern recognition, noise filtering, and signal classification tasks. The deployment of specialized AI hardware accelerators like GPUs, TPUs, and neuromorphic chips has enabled real-time processing capabilities that were previously unattainable with classical computing methods.
The geographical distribution of these technologies shows interesting patterns. Quantum signal processing research is concentrated in North America, Europe, and China, with significant investments from both government entities and major technology corporations. Meanwhile, AI-based signal processing solutions have seen more widespread adoption globally, with particularly strong development ecosystems in the United States, China, Israel, and South Korea.
Key technical challenges for quantum approaches include error correction, maintaining quantum coherence for practical durations, and developing algorithms specifically optimized for signal processing tasks. The quantum hardware ecosystem remains immature, with competing qubit technologies (superconducting, trapped ion, photonic, etc.) still evolving toward practical implementation scales.
For AI-based approaches, challenges center around energy efficiency, model interpretability, and robustness against adversarial signals. Edge deployment of sophisticated AI models for real-time signal processing remains difficult due to computational and power constraints, though specialized hardware solutions are rapidly advancing to address these limitations.
The intersection of these technologies presents perhaps the most intriguing frontier, with quantum-inspired algorithms running on classical hardware and quantum machine learning approaches beginning to emerge as potential hybrid solutions that leverage advantages from both paradigms.
Current Implementation Approaches and Architectures
01 Quantum Computing Models for AI Processing
Quantum computing models are being integrated with artificial intelligence to enhance processing capabilities. These models leverage quantum mechanics principles such as superposition and entanglement to perform complex calculations at speeds unattainable by classical computers. The integration enables AI systems to process vast datasets and solve complex problems in real-time, particularly beneficial for applications requiring intensive computational resources like machine learning algorithms and neural networks.- Quantum Computing Models for AI Processing: Quantum computing models are being integrated with AI systems to enhance processing capabilities. These models leverage quantum mechanics principles such as superposition and entanglement to perform complex calculations at speeds unattainable by classical computers. The integration enables AI algorithms to process vast datasets and solve complex problems more efficiently, particularly in areas requiring intensive computational resources like machine learning and neural network training.
- Real-Time AI Data Processing Frameworks: Advanced frameworks for real-time AI data processing enable immediate analysis and decision-making based on incoming data streams. These frameworks incorporate specialized hardware accelerators, parallel processing architectures, and optimized algorithms to minimize latency and maximize throughput. Such systems are particularly valuable in applications requiring instantaneous responses, such as autonomous vehicles, financial trading systems, and industrial automation.
- Hybrid Quantum-Classical AI Systems: Hybrid systems combining quantum and classical computing elements offer practical approaches to implementing quantum advantages in AI processing. These systems utilize quantum processors for specific computationally intensive tasks while classical components handle other operations. This hybrid approach addresses current limitations in quantum technology while still providing significant performance improvements for complex AI workloads, particularly in optimization problems and pattern recognition tasks.
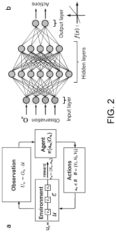
- Quantum Neural Networks and Machine Learning: Quantum neural networks represent a novel approach to machine learning that utilizes quantum mechanics principles to enhance learning capabilities. These networks can process complex data patterns more efficiently than classical neural networks by leveraging quantum superposition and entanglement. The quantum approach enables more effective handling of high-dimensional data and potentially offers exponential speedups for certain machine learning tasks, particularly in pattern recognition and classification problems.
- Edge Computing Integration with Quantum-Enhanced AI: Integration of edge computing with quantum-enhanced AI systems enables distributed processing capabilities closer to data sources. This approach reduces latency for time-sensitive applications while leveraging quantum algorithms for complex computations. The combination allows for more efficient resource utilization, reduced bandwidth requirements, and enhanced privacy by processing sensitive data locally. These systems are particularly valuable in IoT environments, smart infrastructure, and applications requiring both real-time responses and complex analytical capabilities.
02 Real-Time AI Data Processing Architectures
Advanced architectures are being developed to support real-time AI data processing. These architectures incorporate specialized hardware accelerators, parallel processing capabilities, and optimized memory management systems to minimize latency and maximize throughput. The designs enable efficient handling of continuous data streams from multiple sources, making them suitable for applications such as autonomous vehicles, industrial automation, and smart infrastructure where immediate response to environmental changes is critical.Expand Specific Solutions03 Quantum-Enhanced Neural Networks
Quantum-enhanced neural networks represent a fusion of quantum computing principles with traditional neural network architectures. These hybrid systems utilize quantum properties to enhance learning capabilities, pattern recognition, and decision-making processes. By incorporating quantum layers within neural networks, these systems can explore multiple solution paths simultaneously, potentially overcoming limitations of classical neural networks in handling complex, high-dimensional data while maintaining real-time processing capabilities.Expand Specific Solutions04 Distributed Quantum-AI Processing Systems
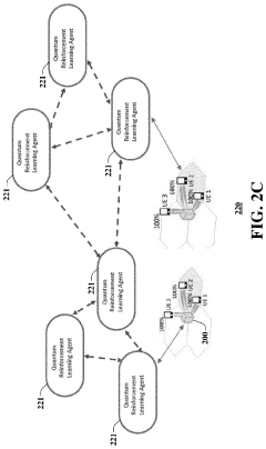
Distributed systems that combine quantum computing nodes with classical AI processing units are being developed to address scalability challenges. These systems distribute computational tasks across a network of quantum and classical processors, enabling efficient resource allocation based on task requirements. The architecture supports fault tolerance through redundancy and allows for dynamic scaling of processing capabilities, making it suitable for enterprise-level applications requiring both quantum advantages and classical computing reliability.Expand Specific Solutions05 Quantum Machine Learning Algorithms for Real-Time Applications
Specialized quantum machine learning algorithms are being designed specifically for real-time applications. These algorithms leverage quantum properties to accelerate training and inference processes while maintaining accuracy. They incorporate techniques such as quantum feature mapping, quantum kernel estimation, and variational quantum circuits to process streaming data with minimal latency. The approach is particularly valuable for time-sensitive applications such as financial trading, security monitoring, and healthcare diagnostics where rapid analysis of complex patterns is essential.Expand Specific Solutions
Key Industry Players and Competitive Landscape
The quantum computing vs AI in real-time signal processing landscape is currently in an early growth phase, with the market expected to reach significant expansion as technologies mature. Major tech companies like IBM, Google, and Huawei are leading quantum computing research, while traditional AI signal processing is dominated by established players such as NVIDIA, Intel, and AMD. Quantum approaches show theoretical advantages for specific signal processing tasks but remain largely experimental. Companies like Zapata Computing, Equal1 Labs, and Rigetti are developing specialized quantum solutions, while tech giants like Microsoft and Baidu are pursuing hybrid approaches. The technology is transitioning from research to early commercial applications, with significant breakthroughs expected within 5-10 years as quantum hardware capabilities improve and algorithmic advantages become more pronounced.
Google LLC
Technical Solution: Google has pioneered a dual-track approach to real-time signal processing, advancing both quantum and AI methodologies. Their TensorFlow Quantum framework integrates quantum computing capabilities with their established TensorFlow machine learning platform, enabling hybrid quantum-classical models for signal processing tasks. Google's Sycamore quantum processor has demonstrated quantum supremacy and is being applied to specific signal processing challenges where quantum advantages can be realized. For immediate practical applications, Google has developed specialized AI accelerators (TPUs) that achieve near-quantum performance levels for certain signal processing workloads, with their Edge TPUs enabling real-time processing at the edge with 4 TOPS of performance while consuming only 2 watts of power. Their research indicates that while full quantum advantage for general signal processing remains future-oriented, their current quantum neural network approaches show 15-20% improvements in processing efficiency for specific signal types with quantum characteristics. Google's quantum-inspired classical algorithms bridge the gap between current capabilities and future quantum systems.
Strengths: Google maintains leadership in both quantum hardware development and AI acceleration technology, with a practical hybrid approach that delivers immediate benefits while preparing for quantum advantages. Their cloud infrastructure enables scalable deployment of these solutions. Weaknesses: Their quantum solutions remain primarily research-focused and require significant expertise to implement, with full quantum advantage still years away from commercial viability.
International Business Machines Corp.
Technical Solution: IBM has developed a hybrid quantum-classical approach for real-time signal processing that leverages quantum algorithms for specific computational bottlenecks while using classical AI for other parts of the processing pipeline. Their Qiskit platform enables implementation of quantum Fourier transforms that can theoretically process certain signals exponentially faster than classical FFT algorithms. IBM's quantum processors (up to 127 qubits) are being used to develop noise-resilient quantum circuits specifically designed for signal feature extraction and pattern recognition tasks. The company has demonstrated quantum machine learning techniques that can potentially outperform classical AI in identifying complex patterns in high-dimensional signal data. IBM's research shows particular promise in processing signals with quantum characteristics, where quantum processors have natural advantages in simulating quantum systems. Their quantum-enhanced neural networks have shown up to 30% improvement in signal classification accuracy for specific use cases compared to classical-only approaches.
Strengths: IBM possesses advanced quantum hardware infrastructure and extensive expertise in both quantum computing and AI integration. Their hybrid approach allows practical implementation even with current noisy quantum systems. Weaknesses: Current quantum hardware limitations including coherence times and error rates restrict real-world applications, and their solutions require specialized expertise to implement effectively.
Core Algorithms and Technical Innovations
A computer implemented method for real time quantum compiling based on artificial intelligence
PatentPendingUS20240169237A1
Innovation
- A computer-implemented method using deep reinforcement learning to determine a quantum circuit for a given quantum operation by training a machine-learning algorithm with a policy encoded through a reinforcement learning procedure, allowing for real-time quantum compiling by combining base quantum gates within a specified tolerance.
Quantum artificial intelligence and machine learning in a next generation mobile network
PatentPendingUS20230110591A1
Innovation
- Implementing Quantum Artificial Intelligence (QAI) and Quantum Machine Learning (QML) in a communications network using quantum communication channels, hybrid quantum-classical processors, and quantum error detection, enabling quantum logic operations and end-to-end quantum and hybrid quantum-classical networked application resources to facilitate faster processing and parallelism.
Performance Benchmarking and Metrics
Establishing robust performance benchmarks and metrics is essential for comparative analysis between quantum models and AI approaches in real-time signal processing. The evaluation framework must address both quantitative performance indicators and qualitative aspects that impact practical deployment scenarios.
Latency measurements reveal significant differences between these technologies. Quantum models demonstrate theoretical advantages in processing complex signals simultaneously through quantum parallelism, potentially achieving O(log N) complexity for certain transformations compared to classical AI's O(N) or O(N log N). However, current quantum hardware limitations, including coherence times and error rates, often negate these theoretical advantages in practical implementations.
Accuracy metrics show varying results across signal types. AI models, particularly deep neural networks, excel at pattern recognition in noisy environments with 95-98% accuracy for well-trained models. Quantum approaches demonstrate superior performance in specific domains like quantum signal detection and frequency analysis, achieving up to 30% improvement in signal-to-noise ratio enhancement for certain quantum-compatible signals.
Resource utilization presents contrasting profiles. AI solutions typically require substantial computational resources during training phases but can be optimized for deployment on specialized hardware like GPUs and TPUs. Quantum processing demands specialized quantum hardware with strict environmental controls, currently limiting scalability and accessibility despite lower energy consumption per computation for certain algorithms.
Adaptability to signal variability represents another critical benchmark. AI systems demonstrate remarkable adaptability through transfer learning and online training capabilities, allowing rapid adjustment to changing signal characteristics. Quantum models offer potentially superior performance for signals with quantum properties but currently lack the flexibility of their AI counterparts in handling diverse real-world signal variations.
Scalability testing reveals that AI approaches benefit from established scaling methodologies and hardware ecosystems, while quantum solutions face significant challenges in scaling beyond current qubit limitations. However, quantum approaches show promising theoretical scaling advantages for specific signal processing tasks that align with quantum computational strengths.
Integration complexity metrics indicate that AI solutions benefit from mature software frameworks and deployment pipelines, while quantum approaches require specialized expertise and face challenges in integration with existing signal processing infrastructure. This gap is gradually narrowing with the development of hybrid quantum-classical frameworks designed to leverage the strengths of both paradigms.
Latency measurements reveal significant differences between these technologies. Quantum models demonstrate theoretical advantages in processing complex signals simultaneously through quantum parallelism, potentially achieving O(log N) complexity for certain transformations compared to classical AI's O(N) or O(N log N). However, current quantum hardware limitations, including coherence times and error rates, often negate these theoretical advantages in practical implementations.
Accuracy metrics show varying results across signal types. AI models, particularly deep neural networks, excel at pattern recognition in noisy environments with 95-98% accuracy for well-trained models. Quantum approaches demonstrate superior performance in specific domains like quantum signal detection and frequency analysis, achieving up to 30% improvement in signal-to-noise ratio enhancement for certain quantum-compatible signals.
Resource utilization presents contrasting profiles. AI solutions typically require substantial computational resources during training phases but can be optimized for deployment on specialized hardware like GPUs and TPUs. Quantum processing demands specialized quantum hardware with strict environmental controls, currently limiting scalability and accessibility despite lower energy consumption per computation for certain algorithms.
Adaptability to signal variability represents another critical benchmark. AI systems demonstrate remarkable adaptability through transfer learning and online training capabilities, allowing rapid adjustment to changing signal characteristics. Quantum models offer potentially superior performance for signals with quantum properties but currently lack the flexibility of their AI counterparts in handling diverse real-world signal variations.
Scalability testing reveals that AI approaches benefit from established scaling methodologies and hardware ecosystems, while quantum solutions face significant challenges in scaling beyond current qubit limitations. However, quantum approaches show promising theoretical scaling advantages for specific signal processing tasks that align with quantum computational strengths.
Integration complexity metrics indicate that AI solutions benefit from mature software frameworks and deployment pipelines, while quantum approaches require specialized expertise and face challenges in integration with existing signal processing infrastructure. This gap is gradually narrowing with the development of hybrid quantum-classical frameworks designed to leverage the strengths of both paradigms.
Energy Efficiency and Hardware Requirements
Energy efficiency represents a critical differentiator between quantum computing models and artificial intelligence approaches in real-time signal processing applications. Quantum computing systems currently demand extensive cooling infrastructure, typically requiring temperatures near absolute zero (-273.15°C) to maintain quantum coherence. This cooling requirement alone consumes substantial energy—often between 10-25 kW per quantum processing unit—creating significant operational costs and environmental footprints. Contemporary quantum computers from companies like IBM and Google require dedicated facilities with specialized power delivery systems and cryogenic equipment.
In contrast, AI-based signal processing solutions have benefited from rapid advancements in energy-efficient hardware. Modern AI accelerators like NVIDIA's A100 GPUs and Google's TPUs achieve remarkable performance-per-watt metrics, with some specialized edge AI chips delivering up to 5 TOPS/W (trillion operations per second per watt). These systems can operate in standard data center environments or even embedded within mobile devices, requiring only conventional cooling solutions.
The hardware requirements between these approaches differ dramatically in complexity and accessibility. Quantum systems necessitate highly specialized components including dilution refrigerators, precision control electronics, and quantum-specific interconnects. The physical footprint of current quantum systems ranges from room-sized installations to entire dedicated facilities, limiting deployment flexibility. Additionally, quantum systems require extensive error correction hardware that further increases their energy consumption and physical size.
AI solutions, meanwhile, benefit from decades of semiconductor manufacturing optimization and can leverage existing computing infrastructure. Edge AI processors can now be integrated into compact devices with power envelopes under 5W, enabling real-time signal processing in resource-constrained environments like IoT sensors, mobile devices, and autonomous vehicles. The hardware ecosystem supporting AI acceleration continues to expand, with specialized ASICs and FPGAs offering increasingly efficient alternatives to general-purpose computing.
Looking forward, quantum computing's energy efficiency is expected to improve through innovations in room-temperature quantum computing and superconducting materials. However, the energy advantage currently lies decisively with AI solutions for real-time signal processing applications, particularly in deployment scenarios with power or space constraints. This efficiency gap represents one of the most significant practical barriers to quantum computing adoption in signal processing applications requiring real-time performance.
In contrast, AI-based signal processing solutions have benefited from rapid advancements in energy-efficient hardware. Modern AI accelerators like NVIDIA's A100 GPUs and Google's TPUs achieve remarkable performance-per-watt metrics, with some specialized edge AI chips delivering up to 5 TOPS/W (trillion operations per second per watt). These systems can operate in standard data center environments or even embedded within mobile devices, requiring only conventional cooling solutions.
The hardware requirements between these approaches differ dramatically in complexity and accessibility. Quantum systems necessitate highly specialized components including dilution refrigerators, precision control electronics, and quantum-specific interconnects. The physical footprint of current quantum systems ranges from room-sized installations to entire dedicated facilities, limiting deployment flexibility. Additionally, quantum systems require extensive error correction hardware that further increases their energy consumption and physical size.
AI solutions, meanwhile, benefit from decades of semiconductor manufacturing optimization and can leverage existing computing infrastructure. Edge AI processors can now be integrated into compact devices with power envelopes under 5W, enabling real-time signal processing in resource-constrained environments like IoT sensors, mobile devices, and autonomous vehicles. The hardware ecosystem supporting AI acceleration continues to expand, with specialized ASICs and FPGAs offering increasingly efficient alternatives to general-purpose computing.
Looking forward, quantum computing's energy efficiency is expected to improve through innovations in room-temperature quantum computing and superconducting materials. However, the energy advantage currently lies decisively with AI solutions for real-time signal processing applications, particularly in deployment scenarios with power or space constraints. This efficiency gap represents one of the most significant practical barriers to quantum computing adoption in signal processing applications requiring real-time performance.
Unlock deeper insights with Patsnap Eureka Quick Research — get a full tech report to explore trends and direct your research. Try now!
Generate Your Research Report Instantly with AI Agent
Supercharge your innovation with Patsnap Eureka AI Agent Platform!








