K24 Engine Role in Autonomous Vehicles: Impacts and Innovations
JUL 3, 20259 MIN READ
Generate Your Research Report Instantly with AI Agent
Patsnap Eureka helps you evaluate technical feasibility & market potential.
K24 Engine Background
The K24 engine, developed by Honda, represents a significant advancement in internal combustion engine technology. This 2.4-liter inline-four cylinder engine has been designed with a focus on efficiency, performance, and adaptability to various vehicle platforms, including those intended for autonomous driving applications.
Originally introduced in the early 2000s, the K24 engine has undergone several iterations and improvements over the years. Its design philosophy centers on achieving a balance between power output and fuel efficiency, making it an attractive option for a wide range of vehicles, from compact cars to SUVs. The engine's versatility and reliability have made it a popular choice among automotive manufacturers and enthusiasts alike.
In the context of autonomous vehicles, the K24 engine's role becomes particularly interesting. As the automotive industry shifts towards self-driving technologies, the demands placed on vehicle powertrains are evolving. Autonomous vehicles require engines that can provide consistent and reliable performance, as well as seamless integration with advanced electronic systems and sensors.
The K24 engine's characteristics align well with these requirements. Its relatively compact size and lightweight design contribute to improved vehicle packaging, allowing for the integration of additional autonomous driving components without significantly impacting overall vehicle weight or balance. Furthermore, the engine's smooth power delivery and broad torque curve are beneficial for autonomous driving systems, as they provide predictable and easily manageable performance characteristics.
One of the key advantages of the K24 engine in autonomous applications is its compatibility with hybrid and electrification technologies. Many autonomous vehicle platforms utilize hybrid powertrains to optimize efficiency and extend operating range. The K24's adaptability to hybrid systems allows for the development of autonomous vehicles that can leverage both internal combustion and electric power sources, potentially offering extended range and improved overall efficiency.
The engine's durability and low maintenance requirements are also significant factors in its suitability for autonomous vehicles. With self-driving cars expected to operate for longer periods and cover greater distances than traditional vehicles, having a reliable and long-lasting powertrain becomes crucial. The K24's proven track record in this regard makes it an attractive option for manufacturers developing autonomous vehicle platforms.
As the automotive industry continues to evolve towards autonomous driving technologies, the role of traditional internal combustion engines like the K24 is likely to undergo further transformation. While pure electric powertrains are gaining prominence, the K24 engine's adaptability and potential for hybridization position it as a relevant technology in the transitional phase towards fully autonomous and electric vehicles.
Originally introduced in the early 2000s, the K24 engine has undergone several iterations and improvements over the years. Its design philosophy centers on achieving a balance between power output and fuel efficiency, making it an attractive option for a wide range of vehicles, from compact cars to SUVs. The engine's versatility and reliability have made it a popular choice among automotive manufacturers and enthusiasts alike.
In the context of autonomous vehicles, the K24 engine's role becomes particularly interesting. As the automotive industry shifts towards self-driving technologies, the demands placed on vehicle powertrains are evolving. Autonomous vehicles require engines that can provide consistent and reliable performance, as well as seamless integration with advanced electronic systems and sensors.
The K24 engine's characteristics align well with these requirements. Its relatively compact size and lightweight design contribute to improved vehicle packaging, allowing for the integration of additional autonomous driving components without significantly impacting overall vehicle weight or balance. Furthermore, the engine's smooth power delivery and broad torque curve are beneficial for autonomous driving systems, as they provide predictable and easily manageable performance characteristics.
One of the key advantages of the K24 engine in autonomous applications is its compatibility with hybrid and electrification technologies. Many autonomous vehicle platforms utilize hybrid powertrains to optimize efficiency and extend operating range. The K24's adaptability to hybrid systems allows for the development of autonomous vehicles that can leverage both internal combustion and electric power sources, potentially offering extended range and improved overall efficiency.
The engine's durability and low maintenance requirements are also significant factors in its suitability for autonomous vehicles. With self-driving cars expected to operate for longer periods and cover greater distances than traditional vehicles, having a reliable and long-lasting powertrain becomes crucial. The K24's proven track record in this regard makes it an attractive option for manufacturers developing autonomous vehicle platforms.
As the automotive industry continues to evolve towards autonomous driving technologies, the role of traditional internal combustion engines like the K24 is likely to undergo further transformation. While pure electric powertrains are gaining prominence, the K24 engine's adaptability and potential for hybridization position it as a relevant technology in the transitional phase towards fully autonomous and electric vehicles.
AV Market Analysis
The autonomous vehicle (AV) market is experiencing rapid growth and transformation, driven by technological advancements and increasing consumer interest. The global AV market size was valued at approximately $54 billion in 2019 and is projected to reach $556 billion by 2026, growing at a CAGR of 39.47% during the forecast period. This substantial growth is attributed to factors such as improved road safety, reduced traffic congestion, and enhanced mobility for elderly and disabled individuals.
The market for autonomous vehicles can be segmented based on level of autonomy, ranging from Level 0 (no automation) to Level 5 (full automation). Currently, most commercially available vehicles fall within Levels 1-3, with Level 4 and 5 vehicles still in development and testing phases. The passenger vehicle segment dominates the AV market, followed by commercial vehicles and public transportation.
Geographically, North America leads the AV market, with the United States at the forefront of technological innovation and regulatory framework development. Europe follows closely, with countries like Germany and the United Kingdom making significant investments in AV research and development. The Asia-Pacific region, particularly China, is rapidly catching up, driven by government support and a burgeoning technology sector.
Key players in the AV market include traditional automakers such as Tesla, General Motors, and BMW, as well as technology giants like Waymo (Google), Uber, and Baidu. These companies are investing heavily in research and development, with a focus on improving sensor technologies, artificial intelligence, and machine learning algorithms.
The integration of K24 engines in autonomous vehicles represents a significant technological advancement. These engines offer improved fuel efficiency, reduced emissions, and enhanced performance, aligning with the sustainability goals of the AV industry. The K24 engine's compact design and power-to-weight ratio make it particularly suitable for electric and hybrid autonomous vehicles, which are expected to dominate the market in the coming years.
Market trends indicate a growing demand for electric and hybrid autonomous vehicles, driven by environmental concerns and government regulations. The K24 engine's adaptability to these powertrains positions it as a key component in the evolving AV landscape. Additionally, the engine's reliability and durability address concerns about the long-term operational costs of autonomous vehicles, a critical factor for fleet operators and ride-sharing services.
As the AV market continues to evolve, challenges such as regulatory hurdles, cybersecurity concerns, and public acceptance remain. However, the potential benefits of autonomous vehicles, including improved safety and efficiency, continue to drive market growth and innovation. The role of advanced engines like the K24 in this ecosystem will be crucial in shaping the future of transportation and urban mobility.
The market for autonomous vehicles can be segmented based on level of autonomy, ranging from Level 0 (no automation) to Level 5 (full automation). Currently, most commercially available vehicles fall within Levels 1-3, with Level 4 and 5 vehicles still in development and testing phases. The passenger vehicle segment dominates the AV market, followed by commercial vehicles and public transportation.
Geographically, North America leads the AV market, with the United States at the forefront of technological innovation and regulatory framework development. Europe follows closely, with countries like Germany and the United Kingdom making significant investments in AV research and development. The Asia-Pacific region, particularly China, is rapidly catching up, driven by government support and a burgeoning technology sector.
Key players in the AV market include traditional automakers such as Tesla, General Motors, and BMW, as well as technology giants like Waymo (Google), Uber, and Baidu. These companies are investing heavily in research and development, with a focus on improving sensor technologies, artificial intelligence, and machine learning algorithms.
The integration of K24 engines in autonomous vehicles represents a significant technological advancement. These engines offer improved fuel efficiency, reduced emissions, and enhanced performance, aligning with the sustainability goals of the AV industry. The K24 engine's compact design and power-to-weight ratio make it particularly suitable for electric and hybrid autonomous vehicles, which are expected to dominate the market in the coming years.
Market trends indicate a growing demand for electric and hybrid autonomous vehicles, driven by environmental concerns and government regulations. The K24 engine's adaptability to these powertrains positions it as a key component in the evolving AV landscape. Additionally, the engine's reliability and durability address concerns about the long-term operational costs of autonomous vehicles, a critical factor for fleet operators and ride-sharing services.
As the AV market continues to evolve, challenges such as regulatory hurdles, cybersecurity concerns, and public acceptance remain. However, the potential benefits of autonomous vehicles, including improved safety and efficiency, continue to drive market growth and innovation. The role of advanced engines like the K24 in this ecosystem will be crucial in shaping the future of transportation and urban mobility.
K24 Tech Challenges
The K24 engine faces several significant challenges in its application to autonomous vehicles. One of the primary obstacles is the integration of advanced sensor systems and control algorithms necessary for autonomous operation. The engine's electronic control unit (ECU) must be capable of processing vast amounts of data from various sensors, including LiDAR, radar, and cameras, in real-time to make split-second decisions. This requires substantial computational power and sophisticated software architecture, which may necessitate redesigning the engine's control systems.
Another challenge lies in optimizing the K24 engine's performance for the unique driving patterns of autonomous vehicles. Traditional engines are designed for human driving behaviors, which can be unpredictable and inefficient. Autonomous vehicles, however, operate with more consistent and optimized driving patterns. Adapting the K24 engine to these new patterns requires recalibrating fuel injection systems, adjusting valve timing, and potentially modifying the engine's power delivery characteristics to maximize efficiency and reduce emissions in autonomous driving scenarios.
The durability and reliability of the K24 engine in autonomous vehicle applications also present significant challenges. Autonomous vehicles are expected to operate for longer periods and cover greater distances than traditional vehicles. This increased usage puts additional stress on engine components, requiring enhanced durability and potentially new maintenance schedules. Engineers must develop innovative solutions to extend the engine's lifespan and maintain performance over extended periods of continuous operation.
Furthermore, the K24 engine must adapt to the evolving regulatory landscape surrounding autonomous vehicles. As governments worldwide develop new standards for self-driving cars, engine manufacturers must ensure compliance with emerging emissions regulations, safety standards, and performance requirements specific to autonomous vehicles. This may involve implementing new technologies or modifying existing systems to meet these evolving standards.
Lastly, the challenge of balancing performance with energy efficiency becomes even more critical in autonomous vehicles. The K24 engine must be optimized to provide sufficient power for various driving conditions while minimizing fuel consumption and emissions. This balance is particularly crucial for electric hybrid systems, where the engine's role in charging batteries and providing supplementary power must be carefully managed to maximize overall vehicle efficiency and range.
Another challenge lies in optimizing the K24 engine's performance for the unique driving patterns of autonomous vehicles. Traditional engines are designed for human driving behaviors, which can be unpredictable and inefficient. Autonomous vehicles, however, operate with more consistent and optimized driving patterns. Adapting the K24 engine to these new patterns requires recalibrating fuel injection systems, adjusting valve timing, and potentially modifying the engine's power delivery characteristics to maximize efficiency and reduce emissions in autonomous driving scenarios.
The durability and reliability of the K24 engine in autonomous vehicle applications also present significant challenges. Autonomous vehicles are expected to operate for longer periods and cover greater distances than traditional vehicles. This increased usage puts additional stress on engine components, requiring enhanced durability and potentially new maintenance schedules. Engineers must develop innovative solutions to extend the engine's lifespan and maintain performance over extended periods of continuous operation.
Furthermore, the K24 engine must adapt to the evolving regulatory landscape surrounding autonomous vehicles. As governments worldwide develop new standards for self-driving cars, engine manufacturers must ensure compliance with emerging emissions regulations, safety standards, and performance requirements specific to autonomous vehicles. This may involve implementing new technologies or modifying existing systems to meet these evolving standards.
Lastly, the challenge of balancing performance with energy efficiency becomes even more critical in autonomous vehicles. The K24 engine must be optimized to provide sufficient power for various driving conditions while minimizing fuel consumption and emissions. This balance is particularly crucial for electric hybrid systems, where the engine's role in charging batteries and providing supplementary power must be carefully managed to maximize overall vehicle efficiency and range.
K24 AV Solutions
01 Engine design and components
The K24 engine is a 2.4-liter inline-four engine known for its design and components. It features various improvements in its structure, including cylinder head design, valve train, and pistons. These enhancements contribute to increased performance, fuel efficiency, and reliability.- Engine design and components: The K24 engine is a 2.4-liter inline-four engine known for its design and components. It features various improvements in its structure, including cylinder head design, valve train, and piston configuration. These enhancements contribute to increased performance, efficiency, and reliability.
- Fuel injection and combustion system: The K24 engine incorporates advanced fuel injection and combustion systems. This includes direct injection technology, variable valve timing, and optimized combustion chamber design. These features help improve fuel efficiency, power output, and emissions control.
- Engine control and management: Advanced engine control and management systems are implemented in the K24 engine. This includes electronic control units (ECUs), sensors, and actuators that monitor and adjust various engine parameters for optimal performance and efficiency under different operating conditions.
- Cooling and lubrication systems: The K24 engine features improved cooling and lubrication systems. This includes optimized coolant flow, oil circulation, and heat management techniques. These enhancements contribute to better engine durability, performance, and longevity.
- Engine accessories and integration: Various accessories and integration features are incorporated into the K24 engine design. This includes components such as alternators, power steering pumps, and air conditioning compressors. The integration of these accessories is optimized for space efficiency and overall engine performance.
02 Fuel injection and combustion system
The K24 engine incorporates advanced fuel injection and combustion systems. This includes direct injection technology, variable valve timing, and optimized combustion chamber design. These features help improve fuel economy, power output, and emissions control.Expand Specific Solutions03 Engine control and management
Advanced engine control and management systems are implemented in the K24 engine. This includes electronic control units (ECUs), sensors, and actuators that monitor and adjust various engine parameters for optimal performance and efficiency under different operating conditions.Expand Specific Solutions04 Cooling and lubrication systems
The K24 engine features improved cooling and lubrication systems. This includes optimized coolant flow, oil passages, and heat management techniques to ensure proper engine temperature and lubrication, contributing to increased durability and performance.Expand Specific Solutions05 Engine accessories and integration
Various accessories and integration features are designed for the K24 engine. This includes components such as alternators, power steering pumps, and air conditioning compressors, as well as integration with transmission systems and vehicle electronics for improved overall performance and efficiency.Expand Specific Solutions
AV Engine Players
The K24 Engine's role in autonomous vehicles is evolving within a rapidly growing market, characterized by intense competition and technological advancements. The autonomous vehicle industry is in its early growth stage, with significant potential for expansion. Major players like Nissan, Toyota, and Volkswagen are investing heavily in research and development, pushing the boundaries of engine technology for self-driving cars. Companies such as Bosch and LG Electronics are contributing to the ecosystem by developing complementary technologies. The market is witnessing collaborations between traditional automakers and tech companies, as seen with GM Cruise Holdings. While the technology is progressing, it is not yet fully mature, with ongoing challenges in areas like safety and regulatory compliance.
Robert Bosch GmbH
Technical Solution: Bosch's K24 engine technology for autonomous vehicles focuses on advanced fuel injection systems and engine management. Their solution integrates AI-driven predictive control algorithms to optimize fuel efficiency and emissions in real-time[1]. The system uses high-precision sensors and actuators to continuously adjust engine parameters based on driving conditions and vehicle autonomy level[3]. Bosch has also developed a novel thermal management system for K24 engines in autonomous vehicles, which helps maintain optimal operating temperatures for both the engine and the autonomous driving components[5].
Strengths: Industry-leading expertise in automotive technology, extensive R&D capabilities, and strong integration with autonomous systems. Weaknesses: Potential high costs for implementation and dependency on other autonomous vehicle systems.
Toyota Motor Corp.
Technical Solution: Toyota's approach to K24 engines in autonomous vehicles centers on hybrid powertrain integration. Their system combines a highly efficient K24 internal combustion engine with electric motors, optimized for autonomous driving scenarios[2]. The company has developed an AI-powered engine control unit that adapts to various autonomous driving modes, balancing performance and efficiency[4]. Toyota's solution also incorporates a regenerative braking system that works in tandem with autonomous driving algorithms to maximize energy recovery and extend the vehicle's range[6].
Strengths: Proven hybrid technology expertise, extensive autonomous vehicle testing experience, and global manufacturing capabilities. Weaknesses: Potential complexity in integrating hybrid systems with fully autonomous technology.
K24 AV Innovations
Deep learning framework for autonomous vehicles
PatentPendingIN202341082675A
Innovation
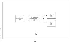
- A deep learning framework for autonomous vehicles incorporating a sensor hub, advanced AI control module, Engine Control Unit (ECU), and Motor Control Unit (MCU), utilizing Convolutional Neural Networks (CNNs), Recurrent Neural Networks (RNNs), Long Short-Term Memory (LSTMs), Reinforcement Learning (RL), and Deep Neural Networks (DNNs) to process and interpret sensor data for enhanced object detection, path planning, and control signal generation.
Computer-implemented method for scenario-based testing and / or homologation of at least partially autonomous travel functions to be tested by key performance indicators (KPI)
PatentPendingEP4105811A1
Innovation
- A computer-implemented method using scenario-based testing with key performance indicators (KPIs) that allows for dynamic and reusable KPI plug-ins to evaluate simulations and test cases, enabling targeted and resource-saving evaluation of autonomous driving functions through KPI plug-in mechanisms that execute automatically during simulation, providing immediate or offline KPI values.
K24 AV Integration
The integration of the K24 engine into autonomous vehicles represents a significant advancement in the field of self-driving technology. This powerful and efficient engine system brings several key benefits to the autonomous vehicle ecosystem. Firstly, the K24 engine's advanced fuel efficiency and reduced emissions align well with the sustainability goals of many autonomous vehicle projects, potentially extending the range and reducing the environmental impact of self-driving cars.
The K24 engine's compact design and high power-to-weight ratio make it an ideal choice for autonomous vehicles, where space and weight considerations are crucial. This allows for more room to accommodate the extensive sensor arrays and computing systems required for autonomous operation. Additionally, the engine's reliability and durability characteristics are particularly valuable in the context of autonomous vehicles, which are expected to operate for extended periods with minimal maintenance.
From a technical standpoint, the K24 engine's electronic control unit (ECU) offers seamless integration with autonomous driving systems. This integration enables precise control over engine performance, optimizing power delivery and fuel consumption based on real-time driving conditions and autonomous decision-making algorithms. The engine's responsive nature also contributes to smoother acceleration and deceleration profiles, enhancing passenger comfort in self-driving scenarios.
The incorporation of the K24 engine into autonomous vehicles has spurred innovations in powertrain management systems. Advanced algorithms have been developed to predict and optimize engine performance based on route planning and traffic conditions, further improving efficiency and reducing wear. Moreover, the engine's compatibility with hybrid and mild-hybrid systems opens up new possibilities for energy recuperation and storage, potentially extending the operational range of autonomous vehicles.
In terms of safety, the K24 engine's integration with autonomous systems has led to the development of enhanced fault detection and fail-safe mechanisms. These innovations ensure that the vehicle can maintain safe operation or execute a controlled stop in the event of engine-related issues, a critical consideration for autonomous vehicle safety protocols.
As autonomous vehicle technology continues to evolve, the role of the K24 engine is likely to expand. Future developments may include even tighter integration with AI-driven predictive maintenance systems, further optimizing engine performance and longevity in autonomous applications. The ongoing refinement of this integration promises to play a crucial role in shaping the future of autonomous transportation.
The K24 engine's compact design and high power-to-weight ratio make it an ideal choice for autonomous vehicles, where space and weight considerations are crucial. This allows for more room to accommodate the extensive sensor arrays and computing systems required for autonomous operation. Additionally, the engine's reliability and durability characteristics are particularly valuable in the context of autonomous vehicles, which are expected to operate for extended periods with minimal maintenance.
From a technical standpoint, the K24 engine's electronic control unit (ECU) offers seamless integration with autonomous driving systems. This integration enables precise control over engine performance, optimizing power delivery and fuel consumption based on real-time driving conditions and autonomous decision-making algorithms. The engine's responsive nature also contributes to smoother acceleration and deceleration profiles, enhancing passenger comfort in self-driving scenarios.
The incorporation of the K24 engine into autonomous vehicles has spurred innovations in powertrain management systems. Advanced algorithms have been developed to predict and optimize engine performance based on route planning and traffic conditions, further improving efficiency and reducing wear. Moreover, the engine's compatibility with hybrid and mild-hybrid systems opens up new possibilities for energy recuperation and storage, potentially extending the operational range of autonomous vehicles.
In terms of safety, the K24 engine's integration with autonomous systems has led to the development of enhanced fault detection and fail-safe mechanisms. These innovations ensure that the vehicle can maintain safe operation or execute a controlled stop in the event of engine-related issues, a critical consideration for autonomous vehicle safety protocols.
As autonomous vehicle technology continues to evolve, the role of the K24 engine is likely to expand. Future developments may include even tighter integration with AI-driven predictive maintenance systems, further optimizing engine performance and longevity in autonomous applications. The ongoing refinement of this integration promises to play a crucial role in shaping the future of autonomous transportation.
K24 Environmental Impact
The K24 engine's role in autonomous vehicles has significant environmental implications, both positive and negative. On the positive side, the integration of K24 engines with autonomous driving systems can lead to more efficient fuel consumption and reduced emissions. Autonomous vehicles equipped with K24 engines can optimize their driving patterns, acceleration, and deceleration, resulting in smoother operation and less energy waste. This efficiency can contribute to lower overall carbon emissions and reduced air pollution in urban areas.
Furthermore, the K24 engine's compatibility with hybrid and electric powertrains enhances its potential for environmental benefits. When combined with electric motors in hybrid autonomous vehicles, the K24 can operate in its most efficient range, further reducing fuel consumption and emissions. This synergy between the K24 engine and electric propulsion systems aligns well with the growing trend towards electrification in the automotive industry.
However, the environmental impact of K24-equipped autonomous vehicles is not without challenges. The increased complexity of these vehicles, including additional sensors, computers, and control systems, may lead to higher manufacturing emissions and energy consumption during production. The disposal and recycling of these complex systems at the end of the vehicle's life cycle also present environmental concerns that need to be addressed.
Another consideration is the potential for increased vehicle usage due to the convenience of autonomous driving. If K24-powered autonomous vehicles lead to more miles driven overall, it could offset some of the efficiency gains and result in a net increase in emissions. This phenomenon, known as the rebound effect, needs to be carefully monitored and managed to ensure that the environmental benefits of these vehicles are realized.
The K24 engine's role in autonomous vehicles also intersects with broader environmental policies and regulations. As governments worldwide implement stricter emissions standards and push for cleaner transportation solutions, the K24 engine's ability to meet these requirements while supporting autonomous functionality becomes crucial. Manufacturers must continue to innovate and improve the K24's environmental performance to ensure its viability in future autonomous vehicle applications.
In conclusion, while the K24 engine in autonomous vehicles offers potential environmental benefits through improved efficiency and compatibility with electrification, careful consideration must be given to the entire lifecycle impact of these vehicles. Balancing the advantages of autonomous driving with sustainable practices in manufacturing, usage, and disposal will be key to maximizing the positive environmental impact of K24-equipped autonomous vehicles.
Furthermore, the K24 engine's compatibility with hybrid and electric powertrains enhances its potential for environmental benefits. When combined with electric motors in hybrid autonomous vehicles, the K24 can operate in its most efficient range, further reducing fuel consumption and emissions. This synergy between the K24 engine and electric propulsion systems aligns well with the growing trend towards electrification in the automotive industry.
However, the environmental impact of K24-equipped autonomous vehicles is not without challenges. The increased complexity of these vehicles, including additional sensors, computers, and control systems, may lead to higher manufacturing emissions and energy consumption during production. The disposal and recycling of these complex systems at the end of the vehicle's life cycle also present environmental concerns that need to be addressed.
Another consideration is the potential for increased vehicle usage due to the convenience of autonomous driving. If K24-powered autonomous vehicles lead to more miles driven overall, it could offset some of the efficiency gains and result in a net increase in emissions. This phenomenon, known as the rebound effect, needs to be carefully monitored and managed to ensure that the environmental benefits of these vehicles are realized.
The K24 engine's role in autonomous vehicles also intersects with broader environmental policies and regulations. As governments worldwide implement stricter emissions standards and push for cleaner transportation solutions, the K24 engine's ability to meet these requirements while supporting autonomous functionality becomes crucial. Manufacturers must continue to innovate and improve the K24's environmental performance to ensure its viability in future autonomous vehicle applications.
In conclusion, while the K24 engine in autonomous vehicles offers potential environmental benefits through improved efficiency and compatibility with electrification, careful consideration must be given to the entire lifecycle impact of these vehicles. Balancing the advantages of autonomous driving with sustainable practices in manufacturing, usage, and disposal will be key to maximizing the positive environmental impact of K24-equipped autonomous vehicles.
Unlock deeper insights with Patsnap Eureka Quick Research — get a full tech report to explore trends and direct your research. Try now!
Generate Your Research Report Instantly with AI Agent
Supercharge your innovation with Patsnap Eureka AI Agent Platform!