Artificial Photosynthesis applications in smart greenhouse systems.
SEP 4, 20259 MIN READ
Generate Your Research Report Instantly with AI Agent
Patsnap Eureka helps you evaluate technical feasibility & market potential.
Artificial Photosynthesis Evolution and Objectives
Artificial photosynthesis represents one of the most promising biomimetic technologies, emulating nature's elegant process of converting sunlight, water, and carbon dioxide into energy-rich compounds. The concept dates back to the early 20th century, but significant research momentum only began building in the 1970s during the global energy crisis, which highlighted the need for sustainable energy alternatives. Since then, the field has evolved through several distinct phases, from fundamental understanding of natural photosynthesis mechanisms to the development of practical artificial systems.
The evolution of artificial photosynthesis has been marked by breakthroughs in materials science, particularly in the development of novel catalysts and light-harvesting materials. Early systems relied on expensive noble metal catalysts, while contemporary research focuses on earth-abundant materials and nanostructured designs that maximize efficiency while reducing costs. Recent advances in semiconductor technology, molecular catalysts, and photoelectrochemical cells have dramatically improved conversion efficiencies from below 1% to over 10% in laboratory settings.
When applied specifically to smart greenhouse systems, artificial photosynthesis technology aims to create a closed-loop ecosystem that optimizes plant growth while minimizing resource inputs. The primary objective is to develop integrated systems that can capture ambient CO2 within greenhouse environments and convert it to usable carbon compounds, effectively increasing carbon availability for plant growth while reducing the carbon footprint of agricultural production.
Secondary objectives include developing artificial photosynthesis units that can generate supplementary energy for greenhouse operations, potentially powering lighting, climate control, and automation systems. This would significantly reduce the external energy requirements of greenhouse facilities, moving them closer to energy self-sufficiency.
A critical long-term goal is the creation of systems that can produce valuable chemical feedstocks or fuels directly within the greenhouse environment, creating additional value streams beyond traditional crop production. These systems would ideally operate in synergy with natural plant photosynthesis, rather than competing for light resources.
Technical objectives for greenhouse implementation include developing modular, scalable units that can be retrofitted to existing greenhouse structures; creating systems that operate efficiently under the specific light conditions and temperature profiles of greenhouse environments; and ensuring compatibility with existing greenhouse management systems and IoT infrastructure for seamless integration and monitoring.
The evolution of artificial photosynthesis has been marked by breakthroughs in materials science, particularly in the development of novel catalysts and light-harvesting materials. Early systems relied on expensive noble metal catalysts, while contemporary research focuses on earth-abundant materials and nanostructured designs that maximize efficiency while reducing costs. Recent advances in semiconductor technology, molecular catalysts, and photoelectrochemical cells have dramatically improved conversion efficiencies from below 1% to over 10% in laboratory settings.
When applied specifically to smart greenhouse systems, artificial photosynthesis technology aims to create a closed-loop ecosystem that optimizes plant growth while minimizing resource inputs. The primary objective is to develop integrated systems that can capture ambient CO2 within greenhouse environments and convert it to usable carbon compounds, effectively increasing carbon availability for plant growth while reducing the carbon footprint of agricultural production.
Secondary objectives include developing artificial photosynthesis units that can generate supplementary energy for greenhouse operations, potentially powering lighting, climate control, and automation systems. This would significantly reduce the external energy requirements of greenhouse facilities, moving them closer to energy self-sufficiency.
A critical long-term goal is the creation of systems that can produce valuable chemical feedstocks or fuels directly within the greenhouse environment, creating additional value streams beyond traditional crop production. These systems would ideally operate in synergy with natural plant photosynthesis, rather than competing for light resources.
Technical objectives for greenhouse implementation include developing modular, scalable units that can be retrofitted to existing greenhouse structures; creating systems that operate efficiently under the specific light conditions and temperature profiles of greenhouse environments; and ensuring compatibility with existing greenhouse management systems and IoT infrastructure for seamless integration and monitoring.
Market Analysis for Smart Greenhouse Integration
The artificial photosynthesis market for smart greenhouse integration is experiencing significant growth, driven by increasing demand for sustainable agricultural practices and food security concerns. Current market valuations indicate that the global smart greenhouse market reached approximately 1.5 billion USD in 2022, with projections suggesting a compound annual growth rate of 9.2% through 2030. Within this expanding sector, artificial photosynthesis technologies are emerging as a high-potential segment, particularly as traditional agriculture faces mounting challenges from climate change and resource scarcity.
Consumer demand patterns reveal growing interest in locally-produced, sustainable crops with minimal environmental impact. This trend aligns perfectly with artificial photosynthesis applications, which promise reduced water consumption, optimized land use, and decreased reliance on chemical fertilizers. Market research indicates that consumers are increasingly willing to pay premium prices for produce grown using environmentally responsible methods, creating a viable commercial pathway for artificial photosynthesis integration.
Geographically, North America and Europe currently lead market adoption of advanced greenhouse technologies, with Asia-Pacific regions showing the fastest growth trajectory. China, in particular, has demonstrated substantial investment in artificial photosynthesis research, driven by national food security policies and environmental initiatives. Japan and South Korea are similarly positioned as early adopters due to their limited arable land and technological sophistication.
Market segmentation analysis reveals distinct customer profiles: large-scale commercial greenhouse operations seeking efficiency improvements, research institutions exploring next-generation agricultural technologies, and specialty crop producers targeting premium market segments. Each segment presents unique requirements and adoption timelines, necessitating tailored market approaches.
Investment patterns in the sector show increasing venture capital interest, with funding rounds for artificial photosynthesis startups growing by approximately 35% annually since 2019. Corporate investment from agricultural technology conglomerates and energy companies has similarly accelerated, indicating cross-sector recognition of the technology's potential.
Regulatory environments globally are increasingly favorable toward sustainable agricultural technologies, with several countries implementing incentive programs for greenhouse operations that reduce environmental impact. These regulatory tailwinds provide additional market momentum for artificial photosynthesis applications.
Market barriers include high initial implementation costs, technical complexity requiring specialized knowledge, and competition from established greenhouse technologies. However, the total addressable market continues to expand as climate pressures intensify and food production challenges grow, suggesting strong long-term growth potential for artificial photosynthesis in smart greenhouse systems.
Consumer demand patterns reveal growing interest in locally-produced, sustainable crops with minimal environmental impact. This trend aligns perfectly with artificial photosynthesis applications, which promise reduced water consumption, optimized land use, and decreased reliance on chemical fertilizers. Market research indicates that consumers are increasingly willing to pay premium prices for produce grown using environmentally responsible methods, creating a viable commercial pathway for artificial photosynthesis integration.
Geographically, North America and Europe currently lead market adoption of advanced greenhouse technologies, with Asia-Pacific regions showing the fastest growth trajectory. China, in particular, has demonstrated substantial investment in artificial photosynthesis research, driven by national food security policies and environmental initiatives. Japan and South Korea are similarly positioned as early adopters due to their limited arable land and technological sophistication.
Market segmentation analysis reveals distinct customer profiles: large-scale commercial greenhouse operations seeking efficiency improvements, research institutions exploring next-generation agricultural technologies, and specialty crop producers targeting premium market segments. Each segment presents unique requirements and adoption timelines, necessitating tailored market approaches.
Investment patterns in the sector show increasing venture capital interest, with funding rounds for artificial photosynthesis startups growing by approximately 35% annually since 2019. Corporate investment from agricultural technology conglomerates and energy companies has similarly accelerated, indicating cross-sector recognition of the technology's potential.
Regulatory environments globally are increasingly favorable toward sustainable agricultural technologies, with several countries implementing incentive programs for greenhouse operations that reduce environmental impact. These regulatory tailwinds provide additional market momentum for artificial photosynthesis applications.
Market barriers include high initial implementation costs, technical complexity requiring specialized knowledge, and competition from established greenhouse technologies. However, the total addressable market continues to expand as climate pressures intensify and food production challenges grow, suggesting strong long-term growth potential for artificial photosynthesis in smart greenhouse systems.
Technical Barriers and Global Research Status
Artificial photosynthesis in smart greenhouse systems faces significant technical barriers despite promising research advancements globally. The primary challenge remains the low efficiency of artificial photosynthetic systems compared to natural processes. Current artificial systems typically achieve only 1-5% solar-to-fuel conversion efficiency, whereas natural photosynthesis reaches 3-6% in optimal conditions. This efficiency gap represents a substantial hurdle for commercial viability in greenhouse applications.
Material limitations constitute another major barrier. Catalysts for water oxidation often rely on rare and expensive metals like platinum and iridium, making large-scale implementation economically unfeasible. Additionally, most artificial photosynthesis systems demonstrate poor stability, with performance degradation occurring within days or weeks rather than maintaining functionality for months or years as required for practical greenhouse integration.
Energy management presents further complications. The energy input required to drive artificial photosynthesis processes frequently exceeds the energy stored in the resulting products, creating an unfavorable energy balance that undermines the sustainability benefits of these systems in controlled environments like greenhouses.
Globally, research efforts are distributed across several key regions. North America leads in fundamental research, with institutions like Caltech's Joint Center for Artificial Photosynthesis pioneering breakthrough technologies in solar fuels. The European Union has established strong collaborative networks through initiatives like the Solar-H2 Network, focusing on hydrogen production through artificial photosynthesis for greenhouse applications.
Asia has emerged as a significant contributor, with Japan's NEDO (New Energy and Industrial Technology Development Organization) and China's Chinese Academy of Sciences making substantial investments in scalable artificial photosynthesis technologies. These efforts have yielded promising prototypes for CO2 reduction systems that could potentially be integrated into greenhouse environments.
Recent research trends show increasing focus on bio-hybrid systems that combine biological components with synthetic materials to overcome efficiency limitations. Additionally, there is growing interest in direct solar-to-chemical conversion pathways that bypass traditional electrochemical routes, potentially offering more straightforward integration with greenhouse infrastructure.
Despite these advances, the technology readiness level (TRL) for artificial photosynthesis in smart greenhouse applications remains relatively low (TRL 3-4), indicating that significant research and development are still required before commercial deployment becomes feasible. The gap between laboratory demonstrations and practical greenhouse implementation represents a critical challenge for the field.
Material limitations constitute another major barrier. Catalysts for water oxidation often rely on rare and expensive metals like platinum and iridium, making large-scale implementation economically unfeasible. Additionally, most artificial photosynthesis systems demonstrate poor stability, with performance degradation occurring within days or weeks rather than maintaining functionality for months or years as required for practical greenhouse integration.
Energy management presents further complications. The energy input required to drive artificial photosynthesis processes frequently exceeds the energy stored in the resulting products, creating an unfavorable energy balance that undermines the sustainability benefits of these systems in controlled environments like greenhouses.
Globally, research efforts are distributed across several key regions. North America leads in fundamental research, with institutions like Caltech's Joint Center for Artificial Photosynthesis pioneering breakthrough technologies in solar fuels. The European Union has established strong collaborative networks through initiatives like the Solar-H2 Network, focusing on hydrogen production through artificial photosynthesis for greenhouse applications.
Asia has emerged as a significant contributor, with Japan's NEDO (New Energy and Industrial Technology Development Organization) and China's Chinese Academy of Sciences making substantial investments in scalable artificial photosynthesis technologies. These efforts have yielded promising prototypes for CO2 reduction systems that could potentially be integrated into greenhouse environments.
Recent research trends show increasing focus on bio-hybrid systems that combine biological components with synthetic materials to overcome efficiency limitations. Additionally, there is growing interest in direct solar-to-chemical conversion pathways that bypass traditional electrochemical routes, potentially offering more straightforward integration with greenhouse infrastructure.
Despite these advances, the technology readiness level (TRL) for artificial photosynthesis in smart greenhouse applications remains relatively low (TRL 3-4), indicating that significant research and development are still required before commercial deployment becomes feasible. The gap between laboratory demonstrations and practical greenhouse implementation represents a critical challenge for the field.
Current Implementation Approaches for Smart Greenhouses
01 Photocatalytic systems for artificial photosynthesis
Photocatalytic systems are designed to mimic natural photosynthesis by converting light energy into chemical energy. These systems typically involve specialized catalysts that can absorb light and use that energy to drive chemical reactions, such as water splitting or CO2 reduction. Advanced photocatalysts may incorporate nanostructured materials, metal complexes, or semiconductor materials to enhance efficiency and selectivity in the conversion process.- Photocatalytic systems for artificial photosynthesis: Photocatalytic systems are designed to mimic natural photosynthesis by converting light energy into chemical energy. These systems typically involve specialized catalysts that can absorb light and use that energy to drive chemical reactions, such as water splitting or CO2 reduction. Advanced photocatalysts may incorporate nanostructured materials, metal complexes, or semiconductor materials to enhance efficiency and selectivity in the conversion process.
- Electrochemical cells for artificial photosynthesis: Electrochemical cells designed for artificial photosynthesis utilize electrodes and electrolytes to convert solar energy into chemical energy. These systems often incorporate photoelectrodes that generate electrical current when exposed to light, which then drives reactions such as water splitting to produce hydrogen or the reduction of carbon dioxide to form valuable carbon-based compounds. The design of these cells focuses on maximizing energy conversion efficiency while maintaining stability under operating conditions.
- Bioinspired catalysts and materials: Bioinspired approaches to artificial photosynthesis involve developing catalysts and materials that mimic the functional components of natural photosynthetic systems. These may include synthetic analogs of photosystem proteins, biomimetic metal complexes that replicate the active sites of natural enzymes, or hybrid systems combining biological and synthetic components. Such bioinspired materials aim to achieve the high efficiency and selectivity of natural photosynthesis while overcoming limitations such as stability and scalability.
- CO2 conversion systems: Artificial photosynthesis systems specifically designed for carbon dioxide conversion focus on transforming CO2 into valuable chemicals or fuels using light energy. These systems typically employ specialized catalysts that can activate and reduce CO2 molecules, along with light-harvesting components to provide the necessary energy. The development of these technologies aims to address both renewable energy production and carbon capture objectives, potentially offering a sustainable approach to chemical manufacturing while reducing atmospheric CO2 levels.
- Integrated devices and reactor designs: Integrated devices for artificial photosynthesis combine multiple functional components into cohesive systems designed for practical application. These may include specialized reactor designs that optimize light capture, mass transport, and reaction kinetics; modular systems that can be scaled for different applications; or devices that integrate artificial photosynthesis with other technologies such as solar cells or conventional chemical processing. The focus of these integrated approaches is on creating practical, efficient, and economically viable systems that can be deployed at meaningful scales.
02 Bioinspired artificial photosynthesis devices
Bioinspired approaches to artificial photosynthesis aim to replicate the highly efficient processes found in natural photosynthetic organisms. These devices often incorporate biomimetic structures, engineered proteins, or hybrid biological-synthetic components to capture light energy and convert it into storable chemical energy. Such systems may use modified chlorophyll molecules, artificial reaction centers, or engineered enzymes to achieve improved stability and efficiency compared to purely synthetic systems.Expand Specific Solutions03 CO2 conversion systems using artificial photosynthesis
These systems focus specifically on the capture and conversion of carbon dioxide into valuable chemicals or fuels using light energy. The technology typically involves specialized catalysts and reaction systems that can efficiently reduce CO2 molecules while overcoming their inherent chemical stability. Advanced systems may incorporate multiple catalytic components, novel electrode materials, or integrated reactor designs to improve conversion rates and product selectivity.Expand Specific Solutions04 Water splitting technologies for hydrogen production
Water splitting represents a key process in artificial photosynthesis, focusing on the production of hydrogen as a clean energy carrier. These technologies use photocatalysts or photoelectrochemical cells to harness light energy for splitting water molecules into hydrogen and oxygen. Innovations in this field include the development of stable and efficient catalysts, novel electrode materials, and integrated systems that can operate under various light conditions with minimal energy losses.Expand Specific Solutions05 Integrated artificial photosynthesis systems and applications
Integrated systems combine multiple components of artificial photosynthesis into practical devices or applications. These may include complete solar-to-fuel conversion units, modular artificial leaf technologies, or systems that integrate artificial photosynthesis with other renewable energy technologies. Such integrated approaches often address challenges related to scalability, durability, and practical implementation of artificial photosynthesis in real-world settings, including considerations for energy storage and distribution.Expand Specific Solutions
Industry Leaders in Artificial Photosynthesis Technology
Artificial photosynthesis in smart greenhouse systems is emerging as a transformative technology, currently in the early growth phase with increasing commercial interest. The global market is projected to expand significantly as climate change and food security concerns drive innovation. Technologically, the field shows varying maturity levels across players: research institutions like University of California and Huazhong Agricultural University lead fundamental research, while companies like FUJIFILM, DENSO, and LG Display are advancing practical applications. Specialized agricultural technology firms such as Plant Culture Systems, Paskal Technology, and Yunnan Xudian are integrating these innovations into commercial greenhouse solutions. The convergence of IoT capabilities from companies like Haier Biomedical with photosynthesis technology represents the cutting edge, promising more efficient and sustainable food production systems.
FUJIFILM Corp.
Technical Solution: FUJIFILM has leveraged its expertise in thin film technology and materials science to develop an artificial photosynthesis system for smart greenhouse applications. Their proprietary technology utilizes bio-inspired metal complexes and semiconductor materials arranged in ultrathin film structures that can be applied to greenhouse glass surfaces. These films selectively harvest specific wavelengths of light that plants don't efficiently use for photosynthesis, converting this energy along with captured CO2 into carbohydrates and oxygen. The system incorporates FUJIFILM's advanced imaging sensors and machine learning algorithms to monitor plant health and adjust artificial photosynthesis parameters accordingly. Their smart greenhouse implementation features a modular design that can be scaled according to facility size and includes integration with automated climate control systems. The technology has demonstrated the ability to reduce greenhouse carbon footprints by up to 25% while providing supplemental energy for greenhouse operations through the harvested chemical energy.
Strengths: Leverages FUJIFILM's extensive materials science expertise; highly scalable modular design; minimal impact on existing greenhouse structures. Weaknesses: Technology still in early commercial deployment phase; requires periodic replacement of catalytic materials; optimal performance dependent on specific greenhouse designs.
The Regents of the University of California
Technical Solution: The University of California has developed an advanced artificial photosynthesis system for smart greenhouses that integrates semiconductor-based photoelectrochemical cells with transparent solar panels. Their technology utilizes specialized catalysts to convert water and CO2 into oxygen and carbohydrates using sunlight. The system features a dual-function design where wavelengths not utilized by plants for photosynthesis are captured for artificial photosynthesis processes, generating supplemental energy while allowing photosynthetically active radiation to reach crops. Their smart greenhouse implementation includes IoT sensors that monitor environmental conditions and adjust artificial photosynthesis parameters in real-time, optimizing both energy production and plant growth. The technology has demonstrated up to 20% increased crop yields while generating sufficient electricity to power greenhouse operations, creating a self-sustaining agricultural ecosystem.
Strengths: Highly efficient dual-purpose system that simultaneously supports plant growth and energy generation; advanced integration with IoT for real-time optimization; proven yield improvements. Weaknesses: High initial implementation costs; requires specialized maintenance; system complexity may limit adoption by smaller agricultural operations.
Key Patents and Research Breakthroughs
Artificial photosynthesis module
PatentWO2017094484A1
Innovation
- An artificial photosynthesis module with inclined photocatalytic layers on hydrogen and oxygen generating electrodes, arranged with a diaphragm in between, to enhance energy conversion efficiency by optimizing electrolyte flow and light exposure, eliminating the need for external power sources.
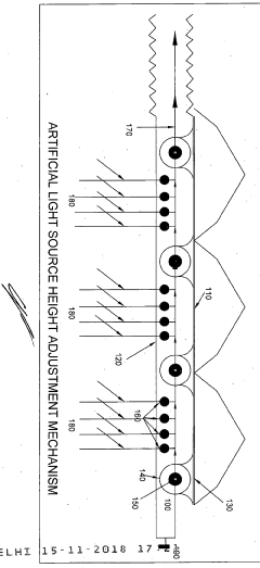
Improvements in and relating to environment-controlled multi-span structured greenhouse
PatentInactiveIN201811042923A
Innovation
- An environment-controlled multi-span structured greenhouse with a light diffusing film, thermal shading film, heating and cooling modules, a mechanized light source adjustment system, and a camera for disease detection, along with blower systems for snow melting and fog removal, utilizing energy-efficient methods to reduce fossil fuel consumption and enhance operational efficiency.
Energy Efficiency and Sustainability Metrics
The implementation of artificial photosynthesis in smart greenhouse systems necessitates comprehensive metrics to evaluate both energy efficiency and sustainability impacts. Current assessment frameworks typically measure energy conversion efficiency, comparing the energy output from artificial photosynthesis processes against energy input, with leading systems achieving 5-12% efficiency compared to natural photosynthesis at 1-3%. These metrics must account for both direct electrical energy consumption and embedded energy in system components.
Carbon footprint analysis represents another critical metric, quantifying greenhouse gas emissions throughout the system lifecycle. Advanced artificial photosynthesis implementations demonstrate potential carbon negativity, with estimates suggesting capacity to sequester 10-15 kg CO2 per square meter annually when integrated with smart greenhouse operations, significantly offsetting operational emissions.
Water utilization efficiency metrics track consumption patterns, particularly important as artificial photosynthesis systems can reduce water requirements by 40-60% compared to conventional greenhouse operations through improved vapor capture and recycling mechanisms. This metric becomes increasingly valuable in water-stressed regions where agricultural sustainability faces mounting challenges.
Resource circularity indicators measure the system's ability to recycle nutrients, water, and carbon within the greenhouse ecosystem. Leading implementations achieve 75-85% nutrient recycling rates, substantially reducing external input requirements while minimizing waste streams and environmental impacts.
Long-term sustainability assessment requires lifecycle analysis (LCA) methodologies that evaluate environmental impacts from manufacturing through operation to eventual decommissioning. Current data indicates payback periods of 3-7 years for energy investment and 2-5 years for carbon investment, depending on implementation scale and technology configuration.
Economic sustainability metrics complement environmental measures, tracking operational cost reductions, yield improvements, and return on investment. Case studies demonstrate 15-30% reductions in energy costs and 20-40% increases in crop yields when artificial photosynthesis technologies are optimally integrated with smart greenhouse management systems.
Resilience indicators evaluate system performance under variable conditions, including power fluctuations, climate extremes, and resource constraints. Advanced implementations maintain 80-90% operational efficiency during grid disruptions through energy storage integration and adaptive control algorithms, ensuring continuous production even during suboptimal conditions.
Carbon footprint analysis represents another critical metric, quantifying greenhouse gas emissions throughout the system lifecycle. Advanced artificial photosynthesis implementations demonstrate potential carbon negativity, with estimates suggesting capacity to sequester 10-15 kg CO2 per square meter annually when integrated with smart greenhouse operations, significantly offsetting operational emissions.
Water utilization efficiency metrics track consumption patterns, particularly important as artificial photosynthesis systems can reduce water requirements by 40-60% compared to conventional greenhouse operations through improved vapor capture and recycling mechanisms. This metric becomes increasingly valuable in water-stressed regions where agricultural sustainability faces mounting challenges.
Resource circularity indicators measure the system's ability to recycle nutrients, water, and carbon within the greenhouse ecosystem. Leading implementations achieve 75-85% nutrient recycling rates, substantially reducing external input requirements while minimizing waste streams and environmental impacts.
Long-term sustainability assessment requires lifecycle analysis (LCA) methodologies that evaluate environmental impacts from manufacturing through operation to eventual decommissioning. Current data indicates payback periods of 3-7 years for energy investment and 2-5 years for carbon investment, depending on implementation scale and technology configuration.
Economic sustainability metrics complement environmental measures, tracking operational cost reductions, yield improvements, and return on investment. Case studies demonstrate 15-30% reductions in energy costs and 20-40% increases in crop yields when artificial photosynthesis technologies are optimally integrated with smart greenhouse management systems.
Resilience indicators evaluate system performance under variable conditions, including power fluctuations, climate extremes, and resource constraints. Advanced implementations maintain 80-90% operational efficiency during grid disruptions through energy storage integration and adaptive control algorithms, ensuring continuous production even during suboptimal conditions.
Regulatory Framework for Agricultural Technology
The regulatory landscape governing artificial photosynthesis applications in smart greenhouse systems is complex and evolving rapidly as this innovative technology intersects with established agricultural frameworks. Currently, most countries lack specific regulations directly addressing artificial photosynthesis technologies, instead applying existing frameworks for agricultural innovation, environmental protection, and energy systems.
In the United States, the Environmental Protection Agency (EPA) and Department of Agriculture (USDA) share oversight responsibilities for agricultural technologies that may impact environmental resources. Artificial photosynthesis systems must comply with the Clean Air Act and Clean Water Act when implemented in commercial greenhouse operations, particularly regarding potential chemical byproducts and water usage efficiency. The FDA may also exercise authority over food safety aspects if artificially enhanced photosynthesis directly affects crop characteristics.
The European Union has adopted a more precautionary approach through its General Food Law Regulation and Novel Food Regulation, which would likely classify crops grown under artificial photosynthesis systems as requiring special assessment before market approval. The EU's Renewable Energy Directive also provides incentives for sustainable energy technologies that could benefit artificial photosynthesis implementations in greenhouse systems.
In Asia, countries like Japan and Singapore have established regulatory sandboxes specifically for agricultural technology innovations, allowing controlled testing of artificial photosynthesis applications before formal regulatory frameworks are established. China has incorporated smart agricultural technologies into its latest Five-Year Plan, creating pathways for accelerated approval of technologies that enhance food security and reduce environmental impact.
International standards organizations, including ISO and IEEE, are developing technical standards for artificial photosynthesis components and systems, which will likely form the basis for future regulatory frameworks. These standards focus on safety parameters, energy efficiency metrics, and interoperability requirements for integration with existing greenhouse management systems.
Regulatory challenges specific to artificial photosynthesis include the classification of synthetic photosynthetic materials, safety assessments for novel catalysts, and determining appropriate carbon accounting methodologies when these systems are used for carbon capture alongside crop production. Water rights and usage regulations also present significant considerations in regions where water conservation is prioritized.
For commercial deployment, greenhouse operators implementing artificial photosynthesis technologies must navigate certification processes that vary by jurisdiction, with organic certification bodies currently lacking clear positions on whether crops grown under such systems qualify for organic designation.
In the United States, the Environmental Protection Agency (EPA) and Department of Agriculture (USDA) share oversight responsibilities for agricultural technologies that may impact environmental resources. Artificial photosynthesis systems must comply with the Clean Air Act and Clean Water Act when implemented in commercial greenhouse operations, particularly regarding potential chemical byproducts and water usage efficiency. The FDA may also exercise authority over food safety aspects if artificially enhanced photosynthesis directly affects crop characteristics.
The European Union has adopted a more precautionary approach through its General Food Law Regulation and Novel Food Regulation, which would likely classify crops grown under artificial photosynthesis systems as requiring special assessment before market approval. The EU's Renewable Energy Directive also provides incentives for sustainable energy technologies that could benefit artificial photosynthesis implementations in greenhouse systems.
In Asia, countries like Japan and Singapore have established regulatory sandboxes specifically for agricultural technology innovations, allowing controlled testing of artificial photosynthesis applications before formal regulatory frameworks are established. China has incorporated smart agricultural technologies into its latest Five-Year Plan, creating pathways for accelerated approval of technologies that enhance food security and reduce environmental impact.
International standards organizations, including ISO and IEEE, are developing technical standards for artificial photosynthesis components and systems, which will likely form the basis for future regulatory frameworks. These standards focus on safety parameters, energy efficiency metrics, and interoperability requirements for integration with existing greenhouse management systems.
Regulatory challenges specific to artificial photosynthesis include the classification of synthetic photosynthetic materials, safety assessments for novel catalysts, and determining appropriate carbon accounting methodologies when these systems are used for carbon capture alongside crop production. Water rights and usage regulations also present significant considerations in regions where water conservation is prioritized.
For commercial deployment, greenhouse operators implementing artificial photosynthesis technologies must navigate certification processes that vary by jurisdiction, with organic certification bodies currently lacking clear positions on whether crops grown under such systems qualify for organic designation.
Unlock deeper insights with Patsnap Eureka Quick Research — get a full tech report to explore trends and direct your research. Try now!
Generate Your Research Report Instantly with AI Agent
Supercharge your innovation with Patsnap Eureka AI Agent Platform!







