Battery Management Systems in Telecommunications Infrastructure: Reliability Analysis
AUG 8, 20259 MIN READ
Generate Your Research Report Instantly with AI Agent
Patsnap Eureka helps you evaluate technical feasibility & market potential.
BMS Evolution and Objectives
Battery Management Systems (BMS) have undergone significant evolution in the telecommunications infrastructure sector, driven by the increasing demand for reliable and efficient power management solutions. The journey of BMS began with simple voltage monitoring and basic protection circuits, gradually progressing to more sophisticated systems capable of advanced diagnostics and predictive maintenance.
In the early stages, BMS primarily focused on ensuring basic battery safety and preventing catastrophic failures. As telecommunications networks expanded and became more critical, the objectives of BMS shifted towards optimizing battery performance and extending operational life. This evolution was marked by the integration of more sensors, improved data processing capabilities, and the development of algorithms for accurate state-of-charge and state-of-health estimations.
The advent of smart grids and renewable energy integration in telecom infrastructure further propelled BMS development. Modern systems now aim to balance power loads, manage energy storage efficiently, and seamlessly integrate with various power sources. The objectives have expanded to include real-time monitoring, remote management capabilities, and adaptive control strategies to optimize energy usage and reduce operational costs.
Reliability has always been a cornerstone of BMS evolution in telecommunications. As networks became more complex and geographically dispersed, the need for highly reliable power management systems intensified. This led to the development of redundant architectures, fault-tolerant designs, and self-diagnostic capabilities within BMS. The goal shifted from merely preventing failures to predicting and preemptively addressing potential issues before they impact network operations.
Current objectives of BMS in telecommunications infrastructure focus on enhancing system intelligence and autonomy. Machine learning and artificial intelligence are being incorporated to improve predictive maintenance, optimize charging cycles, and adapt to varying environmental conditions. There is also a growing emphasis on scalability and flexibility, allowing BMS to efficiently manage diverse battery technologies and capacities across different network tiers.
Looking forward, the evolution of BMS is expected to continue towards more integrated and holistic energy management solutions. Objectives include seamless integration with edge computing systems, enhanced cybersecurity features to protect critical infrastructure, and improved interoperability with emerging telecommunications technologies such as 5G and beyond. The ultimate aim is to create a robust, intelligent, and self-optimizing power management ecosystem that ensures uninterrupted operation of telecommunications networks while maximizing energy efficiency and minimizing environmental impact.
In the early stages, BMS primarily focused on ensuring basic battery safety and preventing catastrophic failures. As telecommunications networks expanded and became more critical, the objectives of BMS shifted towards optimizing battery performance and extending operational life. This evolution was marked by the integration of more sensors, improved data processing capabilities, and the development of algorithms for accurate state-of-charge and state-of-health estimations.
The advent of smart grids and renewable energy integration in telecom infrastructure further propelled BMS development. Modern systems now aim to balance power loads, manage energy storage efficiently, and seamlessly integrate with various power sources. The objectives have expanded to include real-time monitoring, remote management capabilities, and adaptive control strategies to optimize energy usage and reduce operational costs.
Reliability has always been a cornerstone of BMS evolution in telecommunications. As networks became more complex and geographically dispersed, the need for highly reliable power management systems intensified. This led to the development of redundant architectures, fault-tolerant designs, and self-diagnostic capabilities within BMS. The goal shifted from merely preventing failures to predicting and preemptively addressing potential issues before they impact network operations.
Current objectives of BMS in telecommunications infrastructure focus on enhancing system intelligence and autonomy. Machine learning and artificial intelligence are being incorporated to improve predictive maintenance, optimize charging cycles, and adapt to varying environmental conditions. There is also a growing emphasis on scalability and flexibility, allowing BMS to efficiently manage diverse battery technologies and capacities across different network tiers.
Looking forward, the evolution of BMS is expected to continue towards more integrated and holistic energy management solutions. Objectives include seamless integration with edge computing systems, enhanced cybersecurity features to protect critical infrastructure, and improved interoperability with emerging telecommunications technologies such as 5G and beyond. The ultimate aim is to create a robust, intelligent, and self-optimizing power management ecosystem that ensures uninterrupted operation of telecommunications networks while maximizing energy efficiency and minimizing environmental impact.
Telecom Infrastructure Power Demands
The telecommunications industry has experienced a significant surge in power demands over the past decade, driven by the rapid expansion of network infrastructure and the increasing reliance on digital technologies. As the backbone of modern communication systems, telecom infrastructure requires a robust and reliable power supply to ensure uninterrupted service delivery. This growing power demand is primarily attributed to the proliferation of data centers, cell towers, and network equipment necessary to support the ever-increasing data traffic and connectivity requirements.
The advent of 5G technology has further intensified the power demands of telecom infrastructure. 5G networks require a higher density of small cells and advanced radio equipment, leading to a substantial increase in energy consumption. These networks are designed to handle massive amounts of data at high speeds, necessitating more powerful and energy-intensive hardware. Additionally, the implementation of edge computing solutions to reduce latency and improve network performance has introduced new power-hungry elements into the telecom ecosystem.
Another factor contributing to the rising power demands is the need for redundancy and backup systems. Telecom operators must ensure continuous service availability, even during power outages or equipment failures. This requirement leads to the deployment of multiple power sources, including grid power, backup generators, and energy storage systems, all of which contribute to the overall power consumption of the infrastructure.
The increasing focus on sustainability and energy efficiency has prompted telecom companies to explore innovative solutions to manage their power demands. This includes the adoption of renewable energy sources, such as solar and wind power, to offset grid electricity consumption. Many operators are also implementing advanced power management systems and energy-efficient equipment to optimize power usage and reduce operational costs.
As the Internet of Things (IoT) continues to expand, the power demands of telecom infrastructure are expected to grow further. The massive number of connected devices and sensors will require additional network capacity and processing power, placing even greater strain on the power infrastructure. This trend underscores the critical importance of developing sustainable and efficient power solutions to support the future growth of telecommunications networks.
The advent of 5G technology has further intensified the power demands of telecom infrastructure. 5G networks require a higher density of small cells and advanced radio equipment, leading to a substantial increase in energy consumption. These networks are designed to handle massive amounts of data at high speeds, necessitating more powerful and energy-intensive hardware. Additionally, the implementation of edge computing solutions to reduce latency and improve network performance has introduced new power-hungry elements into the telecom ecosystem.
Another factor contributing to the rising power demands is the need for redundancy and backup systems. Telecom operators must ensure continuous service availability, even during power outages or equipment failures. This requirement leads to the deployment of multiple power sources, including grid power, backup generators, and energy storage systems, all of which contribute to the overall power consumption of the infrastructure.
The increasing focus on sustainability and energy efficiency has prompted telecom companies to explore innovative solutions to manage their power demands. This includes the adoption of renewable energy sources, such as solar and wind power, to offset grid electricity consumption. Many operators are also implementing advanced power management systems and energy-efficient equipment to optimize power usage and reduce operational costs.
As the Internet of Things (IoT) continues to expand, the power demands of telecom infrastructure are expected to grow further. The massive number of connected devices and sensors will require additional network capacity and processing power, placing even greater strain on the power infrastructure. This trend underscores the critical importance of developing sustainable and efficient power solutions to support the future growth of telecommunications networks.
BMS Challenges in Telecom
Battery Management Systems (BMS) in telecommunications infrastructure face unique challenges due to the critical nature of telecom operations and the demanding environmental conditions in which they operate. One of the primary challenges is ensuring uninterrupted power supply to maintain network reliability. Telecom sites often rely on batteries as backup power sources during grid outages, making the performance and reliability of BMS crucial for maintaining network uptime.
The complexity of telecom BMS is further compounded by the diverse range of battery technologies used, including lead-acid, lithium-ion, and emerging alternatives. Each technology requires specific management strategies to optimize performance and longevity. BMS must accurately monitor and control various parameters such as voltage, current, temperature, and state of charge across different battery chemistries, often in real-time and under varying load conditions.
Environmental factors pose significant challenges for BMS in telecom applications. Many telecom sites are located in remote or harsh environments, exposing batteries and BMS components to extreme temperatures, humidity, and dust. These conditions can accelerate battery degradation and affect BMS sensor accuracy, necessitating robust design and adaptive algorithms to maintain system reliability.
Scalability and remote management capabilities are essential for telecom BMS. With thousands of sites spread across vast geographical areas, telecom operators require BMS solutions that can be centrally monitored and controlled. This demand for remote diagnostics and predictive maintenance capabilities adds layers of complexity to BMS design, including the need for secure communication protocols and integration with network management systems.
Energy efficiency and sustainability concerns present additional challenges for telecom BMS. As the industry moves towards greener operations, BMS must optimize battery usage to reduce energy consumption and extend battery life. This includes implementing advanced charging algorithms, load balancing between multiple battery strings, and integrating with renewable energy sources like solar panels.
The rapid evolution of telecom technologies, such as the rollout of 5G networks, introduces new power demands and reliability requirements. BMS must adapt to support higher power densities and faster response times while maintaining long-term reliability. This technological progression necessitates continuous innovation in BMS hardware and software to keep pace with evolving network infrastructure needs.
Regulatory compliance and safety standards add another layer of complexity to telecom BMS design. Stringent requirements for fire safety, electromagnetic compatibility, and environmental protection must be met, often varying across different regions and countries. BMS developers must navigate this complex regulatory landscape while delivering cost-effective solutions that meet the industry's performance demands.
The complexity of telecom BMS is further compounded by the diverse range of battery technologies used, including lead-acid, lithium-ion, and emerging alternatives. Each technology requires specific management strategies to optimize performance and longevity. BMS must accurately monitor and control various parameters such as voltage, current, temperature, and state of charge across different battery chemistries, often in real-time and under varying load conditions.
Environmental factors pose significant challenges for BMS in telecom applications. Many telecom sites are located in remote or harsh environments, exposing batteries and BMS components to extreme temperatures, humidity, and dust. These conditions can accelerate battery degradation and affect BMS sensor accuracy, necessitating robust design and adaptive algorithms to maintain system reliability.
Scalability and remote management capabilities are essential for telecom BMS. With thousands of sites spread across vast geographical areas, telecom operators require BMS solutions that can be centrally monitored and controlled. This demand for remote diagnostics and predictive maintenance capabilities adds layers of complexity to BMS design, including the need for secure communication protocols and integration with network management systems.
Energy efficiency and sustainability concerns present additional challenges for telecom BMS. As the industry moves towards greener operations, BMS must optimize battery usage to reduce energy consumption and extend battery life. This includes implementing advanced charging algorithms, load balancing between multiple battery strings, and integrating with renewable energy sources like solar panels.
The rapid evolution of telecom technologies, such as the rollout of 5G networks, introduces new power demands and reliability requirements. BMS must adapt to support higher power densities and faster response times while maintaining long-term reliability. This technological progression necessitates continuous innovation in BMS hardware and software to keep pace with evolving network infrastructure needs.
Regulatory compliance and safety standards add another layer of complexity to telecom BMS design. Stringent requirements for fire safety, electromagnetic compatibility, and environmental protection must be met, often varying across different regions and countries. BMS developers must navigate this complex regulatory landscape while delivering cost-effective solutions that meet the industry's performance demands.
Current BMS Solutions
01 Fault detection and diagnosis in battery management systems
Advanced algorithms and techniques are employed to detect and diagnose faults in battery management systems. These methods improve system reliability by identifying potential issues early, allowing for preventive maintenance and reducing the risk of system failures. The approaches may include machine learning, data analytics, and real-time monitoring of battery parameters.- Fault detection and diagnosis in battery management systems: Advanced algorithms and techniques are employed to detect and diagnose faults in battery management systems. These methods improve system reliability by identifying potential issues early, allowing for preventive maintenance and reducing the risk of system failures. The approaches may include machine learning, data analytics, and real-time monitoring of battery parameters.
- Thermal management for enhanced reliability: Effective thermal management strategies are crucial for maintaining battery management system reliability. These may include advanced cooling systems, temperature monitoring, and thermal runaway prevention techniques. Proper thermal management helps extend battery life, improve performance, and enhance overall system reliability.
- Redundancy and fail-safe mechanisms: Implementing redundancy and fail-safe mechanisms in battery management systems significantly improves reliability. This may involve redundant sensors, controllers, or communication channels, as well as fail-safe modes that ensure safe operation even in the event of component failures. These strategies help maintain system functionality and prevent catastrophic failures.
- Advanced cell balancing techniques: Sophisticated cell balancing techniques are employed to enhance the reliability of battery management systems. These methods ensure uniform charge distribution across battery cells, preventing overcharging or undercharging of individual cells. Advanced balancing algorithms and hardware implementations contribute to extended battery life and improved system reliability.
- Predictive maintenance and health monitoring: Predictive maintenance and health monitoring strategies are implemented to improve the reliability of battery management systems. These approaches use data analytics, machine learning, and real-time monitoring to predict potential failures and schedule maintenance activities proactively. By addressing issues before they become critical, system reliability and longevity are significantly enhanced.
02 Thermal management for improved reliability
Effective thermal management is crucial for maintaining battery system reliability. This involves implementing cooling systems, temperature monitoring, and control strategies to prevent overheating and ensure optimal operating conditions. Advanced thermal management techniques can significantly extend battery life and improve overall system performance.Expand Specific Solutions03 Redundancy and fail-safe mechanisms
Incorporating redundancy and fail-safe mechanisms into battery management systems enhances reliability. This may include redundant sensors, backup power supplies, and failover systems to ensure continuous operation even in the event of component failures. These measures help prevent catastrophic system failures and improve overall system resilience.Expand Specific Solutions04 Predictive maintenance and health monitoring
Implementing predictive maintenance strategies and continuous health monitoring improves the reliability of battery management systems. This involves using advanced analytics to predict potential failures before they occur, allowing for proactive maintenance and reducing downtime. Real-time monitoring of battery health parameters enables timely interventions and optimizes system performance.Expand Specific Solutions05 Software reliability and cybersecurity measures
Ensuring software reliability and implementing robust cybersecurity measures are essential for maintaining the overall reliability of battery management systems. This includes secure firmware updates, encryption protocols, and protection against cyber threats. Regular software testing and validation processes help identify and address potential vulnerabilities, enhancing system reliability and security.Expand Specific Solutions
Key BMS Manufacturers
The Battery Management Systems (BMS) market in telecommunications infrastructure is in a growth phase, driven by increasing demand for reliable power solutions. The market size is expanding due to the rapid deployment of 5G networks and edge computing facilities. Technologically, BMS is maturing, with key players like Huawei Digital Power, LG Energy Solution, and Samsung SDI leading innovation. These companies are developing advanced BMS solutions that enhance reliability, efficiency, and longevity of battery systems. Emerging players such as Sunwoda Power Technology and Cypress Semiconductor are also contributing to the competitive landscape, focusing on specialized BMS applications for telecom infrastructure. The market is characterized by a mix of established electronics giants and specialized battery technology firms, indicating a diverse and dynamic competitive environment.
Huawei Digital Power Technologies Co Ltd
Technical Solution: Huawei's Battery Management System (BMS) for telecommunications infrastructure employs advanced AI algorithms and big data analytics to enhance reliability. Their system utilizes real-time monitoring and predictive maintenance techniques to optimize battery performance and longevity. The BMS incorporates smart charging strategies that adapt to environmental conditions and usage patterns, reducing energy waste and extending battery life[1]. Huawei's solution also features a modular design, allowing for easy scalability and maintenance in diverse telecom environments[2]. The system integrates with their broader energy management platform, providing comprehensive insights into power consumption and efficiency across the entire telecommunications network[3].
Strengths: Advanced AI integration, predictive maintenance capabilities, and seamless integration with broader telecom infrastructure. Weaknesses: Potential over-reliance on proprietary technology, which may limit interoperability with third-party systems.
Texas Instruments Incorporated
Technical Solution: Texas Instruments' BMS solution for telecommunications infrastructure focuses on high-precision analog front-end (AFE) devices and microcontrollers optimized for battery management. Their system utilizes advanced cell balancing techniques to maximize battery pack efficiency and lifespan. TI's BMS incorporates sophisticated temperature monitoring and thermal management features to ensure safe operation in varying environmental conditions[4]. The company's solution also includes robust communication protocols for seamless integration with existing telecom systems. TI's BMS leverages their expertise in power management ICs to provide highly efficient power conversion and distribution within the battery system[5].
Strengths: High-precision analog components, efficient power management, and strong integration capabilities. Weaknesses: May require more customization for specific telecom applications compared to some industry-specific solutions.
BMS Reliability Innovations
Battery management system
PatentWO2023210648A1
Innovation
- The system employs multiple monitoring circuits with different wireless communication circuits and antennas, using distinct modulation methods and channels to enhance communication robustness, including spread spectrum, OFDM, and UWB methods, and allocates specific channels based on identification information to prevent interference.
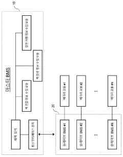
Battery management system having hierarchical structure and method for operating same
PatentWO2024063262A1
Innovation
- A hierarchical battery management system with a master BMS and slave BMSs connected through a serial communication network, where the master BMS collects synchronized status information from slave BMSs using a group status information collection device, enabling simultaneous data reception and diagnosis of abnormalities.
Regulatory Compliance
Regulatory compliance is a critical aspect of Battery Management Systems (BMS) in telecommunications infrastructure, particularly concerning reliability analysis. The telecommunications industry is subject to stringent regulations and standards to ensure the safety, reliability, and performance of its infrastructure, including power systems and battery management.
In the context of BMS reliability analysis, compliance with international standards such as IEC 62133 for safety requirements of portable batteries and IEEE 1725 for rechargeable batteries in cellular applications is essential. These standards outline specific requirements for battery design, testing, and performance, which directly impact the reliability of BMS in telecommunications infrastructure.
Telecommunications operators must also adhere to regional and national regulations. For instance, in the United States, the Federal Communications Commission (FCC) mandates specific requirements for backup power systems in telecommunications facilities. These regulations often stipulate minimum backup power duration and reliability metrics, directly influencing BMS design and implementation.
Environmental regulations play a significant role in BMS compliance. The European Union's Restriction of Hazardous Substances (RoHS) directive and the Waste Electrical and Electronic Equipment (WEEE) directive impact battery and BMS manufacturing processes, material selection, and end-of-life management. Compliance with these regulations ensures that BMS components are environmentally friendly and can be properly recycled or disposed of.
Safety standards such as UL 1642 for lithium batteries and UL 2054 for household and commercial batteries are crucial for BMS reliability analysis. These standards define safety requirements for batteries under normal use and foreseeable misuse conditions, directly affecting BMS design and operational parameters.
Electromagnetic compatibility (EMC) regulations, including FCC Part 15 and the EU's EMC Directive, are vital for BMS in telecommunications infrastructure. These regulations ensure that BMS do not cause electromagnetic interference with other equipment and can operate reliably in the presence of electromagnetic disturbances.
Compliance with cybersecurity regulations is increasingly important for BMS reliability analysis. Standards such as IEC 62443 for industrial communication networks and the NIST Cybersecurity Framework provide guidelines for securing BMS against cyber threats, ensuring the reliability and integrity of telecommunications power systems.
Regulatory compliance also extends to data protection and privacy laws, such as the General Data Protection Regulation (GDPR) in the EU. BMS often collect and process data related to battery performance and usage, necessitating compliance with data protection regulations to ensure the security and privacy of this information.
In the context of BMS reliability analysis, compliance with international standards such as IEC 62133 for safety requirements of portable batteries and IEEE 1725 for rechargeable batteries in cellular applications is essential. These standards outline specific requirements for battery design, testing, and performance, which directly impact the reliability of BMS in telecommunications infrastructure.
Telecommunications operators must also adhere to regional and national regulations. For instance, in the United States, the Federal Communications Commission (FCC) mandates specific requirements for backup power systems in telecommunications facilities. These regulations often stipulate minimum backup power duration and reliability metrics, directly influencing BMS design and implementation.
Environmental regulations play a significant role in BMS compliance. The European Union's Restriction of Hazardous Substances (RoHS) directive and the Waste Electrical and Electronic Equipment (WEEE) directive impact battery and BMS manufacturing processes, material selection, and end-of-life management. Compliance with these regulations ensures that BMS components are environmentally friendly and can be properly recycled or disposed of.
Safety standards such as UL 1642 for lithium batteries and UL 2054 for household and commercial batteries are crucial for BMS reliability analysis. These standards define safety requirements for batteries under normal use and foreseeable misuse conditions, directly affecting BMS design and operational parameters.
Electromagnetic compatibility (EMC) regulations, including FCC Part 15 and the EU's EMC Directive, are vital for BMS in telecommunications infrastructure. These regulations ensure that BMS do not cause electromagnetic interference with other equipment and can operate reliably in the presence of electromagnetic disturbances.
Compliance with cybersecurity regulations is increasingly important for BMS reliability analysis. Standards such as IEC 62443 for industrial communication networks and the NIST Cybersecurity Framework provide guidelines for securing BMS against cyber threats, ensuring the reliability and integrity of telecommunications power systems.
Regulatory compliance also extends to data protection and privacy laws, such as the General Data Protection Regulation (GDPR) in the EU. BMS often collect and process data related to battery performance and usage, necessitating compliance with data protection regulations to ensure the security and privacy of this information.
Environmental Impact
The environmental impact of Battery Management Systems (BMS) in telecommunications infrastructure is a critical consideration in the context of reliability analysis. As the telecommunications sector continues to expand, the demand for reliable power sources grows, leading to an increased deployment of battery systems. These systems, while essential for maintaining network uptime, have significant environmental implications throughout their lifecycle.
The production phase of batteries used in telecommunications infrastructure involves the extraction and processing of raw materials, including lithium, cobalt, and nickel. This process can lead to habitat destruction, water pollution, and greenhouse gas emissions. Additionally, the manufacturing of BMS components requires energy-intensive processes, contributing to the overall carbon footprint of the telecommunications industry.
During the operational phase, BMS play a crucial role in optimizing battery performance and extending their lifespan. By efficiently managing charge and discharge cycles, BMS help reduce the frequency of battery replacements, thereby minimizing waste generation. However, the energy consumption of BMS themselves, although relatively small, contributes to the overall power demand of telecommunications sites.
The end-of-life management of batteries and BMS components presents another environmental challenge. Improper disposal can lead to soil and water contamination due to the leaching of toxic materials. Recycling processes for batteries and electronic components, while beneficial, also consume energy and may produce emissions if not properly managed.
On the positive side, advancements in BMS technology are driving improvements in energy efficiency and battery longevity. This not only reduces the environmental impact associated with battery production and disposal but also supports the integration of renewable energy sources into telecommunications infrastructure. By enabling more efficient use of solar and wind power, BMS contribute to reducing the sector's reliance on fossil fuels.
The reliability analysis of BMS must therefore consider not only their technical performance but also their environmental sustainability. This includes assessing the potential for reducing e-waste through improved battery life management, optimizing energy consumption, and facilitating the transition to cleaner energy sources. As telecommunications companies strive for carbon neutrality, the role of environmentally conscious BMS design and implementation becomes increasingly important in achieving these sustainability goals.
The production phase of batteries used in telecommunications infrastructure involves the extraction and processing of raw materials, including lithium, cobalt, and nickel. This process can lead to habitat destruction, water pollution, and greenhouse gas emissions. Additionally, the manufacturing of BMS components requires energy-intensive processes, contributing to the overall carbon footprint of the telecommunications industry.
During the operational phase, BMS play a crucial role in optimizing battery performance and extending their lifespan. By efficiently managing charge and discharge cycles, BMS help reduce the frequency of battery replacements, thereby minimizing waste generation. However, the energy consumption of BMS themselves, although relatively small, contributes to the overall power demand of telecommunications sites.
The end-of-life management of batteries and BMS components presents another environmental challenge. Improper disposal can lead to soil and water contamination due to the leaching of toxic materials. Recycling processes for batteries and electronic components, while beneficial, also consume energy and may produce emissions if not properly managed.
On the positive side, advancements in BMS technology are driving improvements in energy efficiency and battery longevity. This not only reduces the environmental impact associated with battery production and disposal but also supports the integration of renewable energy sources into telecommunications infrastructure. By enabling more efficient use of solar and wind power, BMS contribute to reducing the sector's reliance on fossil fuels.
The reliability analysis of BMS must therefore consider not only their technical performance but also their environmental sustainability. This includes assessing the potential for reducing e-waste through improved battery life management, optimizing energy consumption, and facilitating the transition to cleaner energy sources. As telecommunications companies strive for carbon neutrality, the role of environmentally conscious BMS design and implementation becomes increasingly important in achieving these sustainability goals.
Unlock deeper insights with Patsnap Eureka Quick Research — get a full tech report to explore trends and direct your research. Try now!
Generate Your Research Report Instantly with AI Agent
Supercharge your innovation with Patsnap Eureka AI Agent Platform!







