DisplayPort 2.1 Alt Mode Over USB-C: Lane Mapping, Retimer Behavior And Compliance
SEP 24, 20259 MIN READ
Generate Your Research Report Instantly with AI Agent
Patsnap Eureka helps you evaluate technical feasibility & market potential.
DisplayPort 2.1 Alt Mode Evolution and Objectives
DisplayPort technology has undergone significant evolution since its introduction by VESA in 2006. The journey from the initial standard to DisplayPort 2.1 Alt Mode represents a continuous pursuit of higher bandwidth, improved performance, and enhanced user experience in display connectivity solutions. The original DisplayPort standard was designed as a digital display interface specifically created to replace older technologies like VGA and DVI, offering superior resolution support and refresh rates.
The integration of DisplayPort with USB-C began with Alt Mode in 2014, allowing DisplayPort signals to be carried over USB-C cables. This convergence marked a pivotal moment in display connectivity, enabling a single connector solution for both data transfer and high-resolution video output. The subsequent iterations—DisplayPort 1.4 Alt Mode and now 2.1—have progressively enhanced this capability, addressing the growing demands of modern display technologies.
DisplayPort 2.1 Alt Mode represents the latest milestone in this evolutionary path, introduced in late 2022 as part of the broader DisplayPort 2.1 specification. This version builds upon the foundation of DisplayPort 2.0, which itself brought a substantial increase in bandwidth capacity—up to 80 Gbps using UHBR (Ultra High Bit Rate) signaling—nearly three times the bandwidth of DisplayPort 1.4.
The primary objective of DisplayPort 2.1 Alt Mode is to maintain compatibility with the latest USB4 specification while delivering the enhanced capabilities of DisplayPort 2.1. This includes support for higher resolutions (up to 16K), increased refresh rates, improved HDR performance, and enhanced color depth. The standard aims to future-proof display connectivity for emerging technologies such as augmented reality, virtual reality, and advanced professional applications requiring unprecedented visual fidelity.
A key technical goal of DisplayPort 2.1 Alt Mode is optimizing lane mapping over USB-C, ensuring efficient utilization of the available high-speed lanes while maintaining compatibility with USB data transfer when needed. This involves sophisticated lane negotiation protocols and dynamic bandwidth allocation to maximize performance across various use cases.
Another critical objective is standardizing retimer behavior, which addresses signal integrity challenges in longer cable runs. By establishing clear compliance requirements for retimers, DisplayPort 2.1 Alt Mode aims to ensure consistent performance across different implementations and cable lengths, a crucial factor for maintaining signal quality at the higher data rates supported by the standard.
The evolution toward DisplayPort 2.1 Alt Mode also reflects broader industry trends toward connector consolidation and simplification of the user experience, aligning with the vision of USB-C as a universal connector for multiple protocols and applications.
The integration of DisplayPort with USB-C began with Alt Mode in 2014, allowing DisplayPort signals to be carried over USB-C cables. This convergence marked a pivotal moment in display connectivity, enabling a single connector solution for both data transfer and high-resolution video output. The subsequent iterations—DisplayPort 1.4 Alt Mode and now 2.1—have progressively enhanced this capability, addressing the growing demands of modern display technologies.
DisplayPort 2.1 Alt Mode represents the latest milestone in this evolutionary path, introduced in late 2022 as part of the broader DisplayPort 2.1 specification. This version builds upon the foundation of DisplayPort 2.0, which itself brought a substantial increase in bandwidth capacity—up to 80 Gbps using UHBR (Ultra High Bit Rate) signaling—nearly three times the bandwidth of DisplayPort 1.4.
The primary objective of DisplayPort 2.1 Alt Mode is to maintain compatibility with the latest USB4 specification while delivering the enhanced capabilities of DisplayPort 2.1. This includes support for higher resolutions (up to 16K), increased refresh rates, improved HDR performance, and enhanced color depth. The standard aims to future-proof display connectivity for emerging technologies such as augmented reality, virtual reality, and advanced professional applications requiring unprecedented visual fidelity.
A key technical goal of DisplayPort 2.1 Alt Mode is optimizing lane mapping over USB-C, ensuring efficient utilization of the available high-speed lanes while maintaining compatibility with USB data transfer when needed. This involves sophisticated lane negotiation protocols and dynamic bandwidth allocation to maximize performance across various use cases.
Another critical objective is standardizing retimer behavior, which addresses signal integrity challenges in longer cable runs. By establishing clear compliance requirements for retimers, DisplayPort 2.1 Alt Mode aims to ensure consistent performance across different implementations and cable lengths, a crucial factor for maintaining signal quality at the higher data rates supported by the standard.
The evolution toward DisplayPort 2.1 Alt Mode also reflects broader industry trends toward connector consolidation and simplification of the user experience, aligning with the vision of USB-C as a universal connector for multiple protocols and applications.
Market Demand Analysis for USB-C Display Connectivity
The USB-C display connectivity market has witnessed substantial growth driven by increasing demand for versatile, high-performance display solutions across multiple device categories. Current market analysis indicates that the global USB-C connector market reached approximately $7 billion in 2022, with display connectivity representing a significant segment of this market.
Consumer electronics, particularly laptops, smartphones, and tablets, constitute the primary demand drivers for USB-C display connectivity. The transition toward thinner, lighter devices with fewer ports has accelerated adoption, with over 85% of new premium laptops now featuring USB-C ports capable of video output. This trend is expected to continue as manufacturers prioritize port consolidation and multi-functionality.
Professional markets show particularly strong demand growth, with content creators, designers, and enterprise users requiring high-resolution, color-accurate external displays connected via a single cable solution. The ability to simultaneously transfer power, data, and video signals through one connection represents a compelling value proposition that has resonated strongly with these segments.
The gaming sector presents another significant growth opportunity, as gamers increasingly demand higher refresh rates and resolutions that the DisplayPort 2.1 Alt Mode can deliver. Market research indicates gaming monitor sales with USB-C connectivity have grown at 24% annually since 2020, outpacing the broader monitor market.
Regionally, North America and Asia-Pacific lead in adoption rates, with Europe following closely. China represents both a major manufacturing hub and growing consumer market for USB-C display connectivity solutions, with domestic brands rapidly integrating the technology across product lines.
Industry forecasts project the USB-C display connectivity market to grow at a CAGR of 18% through 2027, driven by increasing adoption in mainstream consumer electronics and expansion into new application areas such as automotive infotainment systems, medical displays, and industrial equipment.
Customer pain points identified through market research include compatibility issues between devices, inconsistent implementation of standards, and confusion regarding cable capabilities. These challenges highlight the need for improved standardization and compliance testing for DisplayPort 2.1 Alt Mode over USB-C, particularly regarding lane mapping and retimer behavior.
The market increasingly demands solutions that can support higher resolutions (8K and beyond), faster refresh rates, and enhanced color depth while maintaining backward compatibility with existing hardware. This creates significant opportunities for manufacturers who can deliver reliable, high-performance implementations of DisplayPort 2.1 Alt Mode over USB-C.
Consumer electronics, particularly laptops, smartphones, and tablets, constitute the primary demand drivers for USB-C display connectivity. The transition toward thinner, lighter devices with fewer ports has accelerated adoption, with over 85% of new premium laptops now featuring USB-C ports capable of video output. This trend is expected to continue as manufacturers prioritize port consolidation and multi-functionality.
Professional markets show particularly strong demand growth, with content creators, designers, and enterprise users requiring high-resolution, color-accurate external displays connected via a single cable solution. The ability to simultaneously transfer power, data, and video signals through one connection represents a compelling value proposition that has resonated strongly with these segments.
The gaming sector presents another significant growth opportunity, as gamers increasingly demand higher refresh rates and resolutions that the DisplayPort 2.1 Alt Mode can deliver. Market research indicates gaming monitor sales with USB-C connectivity have grown at 24% annually since 2020, outpacing the broader monitor market.
Regionally, North America and Asia-Pacific lead in adoption rates, with Europe following closely. China represents both a major manufacturing hub and growing consumer market for USB-C display connectivity solutions, with domestic brands rapidly integrating the technology across product lines.
Industry forecasts project the USB-C display connectivity market to grow at a CAGR of 18% through 2027, driven by increasing adoption in mainstream consumer electronics and expansion into new application areas such as automotive infotainment systems, medical displays, and industrial equipment.
Customer pain points identified through market research include compatibility issues between devices, inconsistent implementation of standards, and confusion regarding cable capabilities. These challenges highlight the need for improved standardization and compliance testing for DisplayPort 2.1 Alt Mode over USB-C, particularly regarding lane mapping and retimer behavior.
The market increasingly demands solutions that can support higher resolutions (8K and beyond), faster refresh rates, and enhanced color depth while maintaining backward compatibility with existing hardware. This creates significant opportunities for manufacturers who can deliver reliable, high-performance implementations of DisplayPort 2.1 Alt Mode over USB-C.
Technical Challenges in DisplayPort 2.1 Alt Mode Implementation
The implementation of DisplayPort 2.1 Alt Mode over USB-C presents several significant technical challenges that require innovative solutions. One of the primary obstacles is the lane mapping complexity between DisplayPort and USB-C architectures. While DisplayPort traditionally uses dedicated lanes for video transmission, USB-C's multipurpose design requires dynamic allocation of lanes between video, data, and power delivery functions. This creates intricate signal routing challenges, especially when attempting to achieve the full 80 Gbps bandwidth potential of DisplayPort 2.1.
Signal integrity becomes increasingly problematic at higher data rates, with issues such as crosstalk, electromagnetic interference (EMI), and signal attenuation becoming more pronounced. The compact form factor of USB-C connectors exacerbates these challenges, as signals must maintain integrity while traveling through miniaturized components and traces with minimal separation distances.
Retimer behavior presents another layer of complexity. These active components are essential for maintaining signal quality over longer cable runs, but their implementation in the DisplayPort 2.1 Alt Mode context introduces latency concerns and potential compatibility issues. The retimers must properly handle the complex signaling protocols while maintaining compliance with both USB-C and DisplayPort specifications.
Power management represents a significant challenge, as DisplayPort 2.1 Alt Mode must coexist with USB Power Delivery protocols. Balancing the power requirements of high-resolution displays with other USB-C functions requires sophisticated power negotiation and management systems. This becomes particularly challenging when considering variable refresh rates and dynamic resolution changes that affect power consumption patterns.
Backward compatibility requirements further complicate implementation. Systems must support legacy DisplayPort versions while enabling the advanced features of DisplayPort 2.1, creating a complex matrix of fallback mechanisms and negotiation protocols. This backward compatibility must be maintained without compromising the performance benefits of the newer standard.
Compliance testing for DisplayPort 2.1 Alt Mode introduces additional challenges due to the complex interplay between USB-C and DisplayPort specifications. Test equipment must verify proper operation across numerous configuration scenarios, including various lane allocations, resolution settings, and refresh rates. The test methodologies must account for both electrical and protocol-level compliance, ensuring interoperability across the ecosystem of devices.
Thermal management becomes critical as higher data rates generate more heat within the compact USB-C connector and cable assemblies. Engineers must implement effective thermal dissipation strategies to prevent performance degradation and ensure long-term reliability of the connection.
Signal integrity becomes increasingly problematic at higher data rates, with issues such as crosstalk, electromagnetic interference (EMI), and signal attenuation becoming more pronounced. The compact form factor of USB-C connectors exacerbates these challenges, as signals must maintain integrity while traveling through miniaturized components and traces with minimal separation distances.
Retimer behavior presents another layer of complexity. These active components are essential for maintaining signal quality over longer cable runs, but their implementation in the DisplayPort 2.1 Alt Mode context introduces latency concerns and potential compatibility issues. The retimers must properly handle the complex signaling protocols while maintaining compliance with both USB-C and DisplayPort specifications.
Power management represents a significant challenge, as DisplayPort 2.1 Alt Mode must coexist with USB Power Delivery protocols. Balancing the power requirements of high-resolution displays with other USB-C functions requires sophisticated power negotiation and management systems. This becomes particularly challenging when considering variable refresh rates and dynamic resolution changes that affect power consumption patterns.
Backward compatibility requirements further complicate implementation. Systems must support legacy DisplayPort versions while enabling the advanced features of DisplayPort 2.1, creating a complex matrix of fallback mechanisms and negotiation protocols. This backward compatibility must be maintained without compromising the performance benefits of the newer standard.
Compliance testing for DisplayPort 2.1 Alt Mode introduces additional challenges due to the complex interplay between USB-C and DisplayPort specifications. Test equipment must verify proper operation across numerous configuration scenarios, including various lane allocations, resolution settings, and refresh rates. The test methodologies must account for both electrical and protocol-level compliance, ensuring interoperability across the ecosystem of devices.
Thermal management becomes critical as higher data rates generate more heat within the compact USB-C connector and cable assemblies. Engineers must implement effective thermal dissipation strategies to prevent performance degradation and ensure long-term reliability of the connection.
Current Lane Mapping and Retimer Solutions
01 USB-C Alt Mode for DisplayPort 2.1
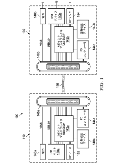
DisplayPort Alt Mode allows DisplayPort signals to be transmitted over USB-C cables. In DisplayPort 2.1 Alt Mode, the USB-C connector's high-speed lanes are reconfigured to carry DisplayPort signals instead of USB data. This enables high-resolution video transmission while potentially maintaining USB functionality on other lanes. The implementation includes specific pin assignments and signaling protocols to ensure compatibility between USB-C and DisplayPort technologies.- USB-C Alt Mode for DisplayPort 2.1 implementation: DisplayPort Alt Mode allows DisplayPort signals to be transmitted over USB-C cables by repurposing some or all of the high-speed data lanes. This implementation enables DisplayPort 2.1 to utilize USB-C's physical layer while maintaining compatibility with the DisplayPort protocol. The lane mapping configuration determines how the DisplayPort signals are allocated across the available USB-C lanes, allowing for flexible bandwidth allocation depending on the display requirements.
- Retimer functionality in high-speed data transmission: Retimers are active components that regenerate signals in high-speed data transmission paths, helping to maintain signal integrity over longer distances. In DisplayPort 2.1 over USB-C implementations, retimers play a crucial role in ensuring reliable data transmission at the higher bandwidths required. They compensate for channel loss, reduce jitter, and re-establish proper signal levels, enabling the system to achieve the full data rates specified by the DisplayPort 2.1 standard.
- Lane configuration and bandwidth allocation: DisplayPort 2.1 Alt Mode over USB-C supports dynamic lane configuration to optimize bandwidth allocation. The system can allocate lanes between DisplayPort and USB data based on bandwidth requirements, allowing for configurations such as 2 or 4 lanes for DisplayPort while maintaining USB functionality. This flexible lane mapping enables support for various display resolutions and refresh rates while preserving other USB-C functionalities when needed.
- Protocol negotiation and mode switching: The implementation of DisplayPort 2.1 Alt Mode over USB-C requires sophisticated protocol negotiation mechanisms to establish the appropriate operating mode. This involves communication between the source and sink devices to determine capabilities, negotiate lane allocation, and configure the connection parameters. The system must handle mode switching between standard USB operation and DisplayPort Alt Mode, ensuring proper handshaking and configuration of all components in the signal path.
- Power management and signal integrity: Maintaining signal integrity while managing power consumption is critical for DisplayPort 2.1 Alt Mode over USB-C implementations. The system must balance the higher power requirements of high-bandwidth display connections with the power delivery capabilities of USB-C. Advanced techniques for signal conditioning, equalization, and power state management are employed to ensure reliable operation while minimizing energy consumption, particularly important for mobile devices where battery life is a concern.
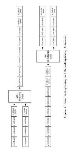
02 Lane Mapping Configuration in DisplayPort over USB-C
Lane mapping in DisplayPort over USB-C involves the allocation of physical lanes in the USB-C connector to carry DisplayPort signals. Different configurations are possible depending on bandwidth requirements, with options ranging from 2-lane to 4-lane modes. The lane mapping process includes negotiation between source and sink devices to determine the optimal configuration based on available lanes and desired display resolution and refresh rate. This dynamic allocation allows for flexible implementations across various device types.Expand Specific Solutions03 Retimer Functionality in DisplayPort 2.1 Signal Path
Retimers in the DisplayPort 2.1 signal path serve to regenerate and clean up signals that may degrade over longer cable runs. These active components sample incoming signals, recover the clock, and retransmit fresh signals with restored integrity. In USB-C implementations, retimers help maintain signal quality across the complex routing paths required for Alt Mode operation. They compensate for channel loss and ensure reliable high-bandwidth data transmission necessary for DisplayPort 2.1's increased performance requirements.Expand Specific Solutions04 Protocol Negotiation and Mode Switching
The process of switching between USB and DisplayPort modes in a USB-C connection involves complex protocol negotiation. This includes the discovery of supported alternate modes, capability exchange, and configuration of the connection. The USB Power Delivery (PD) protocol facilitates this negotiation, allowing devices to communicate their DisplayPort capabilities and establish the appropriate lane configuration. The system must handle transitions between modes while maintaining connection stability and ensuring proper resource allocation.Expand Specific Solutions05 Power Management and Signal Integrity
Maintaining signal integrity while efficiently managing power is crucial for DisplayPort 2.1 Alt Mode over USB-C. This involves techniques for power state transitions, voltage level adjustments, and electromagnetic interference mitigation. Advanced equalization techniques compensate for signal degradation across different cable lengths and qualities. Power management features ensure that devices operate within thermal constraints while delivering the high bandwidth required for DisplayPort 2.1 signals, particularly important for mobile and battery-powered devices.Expand Specific Solutions
Key Industry Players in DisplayPort and USB-C Ecosystem
DisplayPort 2.1 Alt Mode Over USB-C technology is currently in the growth phase of its industry development, with an expanding market driven by increasing demand for high-resolution displays and versatile connectivity solutions. The market is projected to grow significantly as USB-C adoption continues across consumer electronics. Technologically, this standard is approaching maturity with major players like Intel, Qualcomm, and NXP Semiconductors leading development efforts. Companies such as VIA Labs and Realtek Semiconductor are advancing retimer solutions critical for signal integrity, while device manufacturers including Dell, HP, and LG Display are implementing the technology in their product ecosystems. The competitive landscape shows semiconductor leaders focusing on compliance and interoperability, with particular emphasis on lane mapping optimization and retimer behavior standardization to ensure consistent performance across the ecosystem.
QUALCOMM, Inc.
Technical Solution: Qualcomm's approach to DisplayPort 2.1 Alt Mode over USB-C centers on their mobile and automotive platforms. Their implementation leverages their Snapdragon display processors with dedicated hardware accelerators for handling the high-bandwidth requirements of DisplayPort 2.1. Qualcomm's solution features adaptive lane mapping that can dynamically allocate lanes between USB data and DisplayPort signals based on bandwidth needs, optimizing for either display quality or data transfer speeds. Their retimer architecture employs advanced signal processing techniques to maintain signal integrity across varying cable qualities and lengths, with particular focus on mobile device constraints. Qualcomm has developed power-efficient implementations that minimize battery impact while still supporting features like HDR10+ and 4K/8K resolutions. Their compliance testing includes mobile-specific validation for varying power states and thermal conditions, ensuring reliable operation across different usage scenarios. Qualcomm's implementation also includes specialized DSP algorithms for handling the complex timing requirements of DisplayPort 2.1 while maintaining backward compatibility.
Strengths: Highly power-efficient implementation ideal for mobile devices; integrated solution reduces component count and board space requirements. Weaknesses: Mobile-focused approach may not address all use cases for desktop/workstation implementations; some advanced features may be limited on lower-tier Snapdragon platforms.
Huawei Technologies Co., Ltd.
Technical Solution: Huawei's DisplayPort 2.1 Alt Mode over USB-C solution is built around their custom Kirin chipsets and HiSilicon display controllers. Their implementation features an intelligent lane management system that can dynamically reconfigure the USB-C port between full DisplayPort bandwidth and mixed data/display modes. Huawei has developed specialized signal integrity solutions that address the challenges of high-speed signal transmission in compact mobile devices, including custom retimer designs that compensate for signal degradation across different cable qualities. Their approach includes adaptive power management that scales processing resources based on display resolution and refresh rate requirements, optimizing battery life while maintaining display performance. Huawei's lane mapping strategy prioritizes display traffic during high-bandwidth visual tasks while ensuring USB data channels remain available for peripheral connectivity. Their compliance testing framework includes comprehensive electromagnetic interference (EMI) validation to ensure their implementation meets global regulatory standards while maintaining signal integrity. Huawei has also implemented enhanced error detection and recovery mechanisms to handle connection instability scenarios common in mobile usage.
Strengths: Tight integration with their mobile ecosystem allows for optimized power and performance characteristics; custom silicon enables unique features not available in standard implementations. Weaknesses: Limited availability outside their own ecosystem; potential interoperability challenges with non-Huawei devices due to custom implementations of certain specification elements.
Critical Patents and Technical Specifications Analysis
Detection of displayport alternate mode communication
PatentPendingJP2024095801A
Innovation
- A device automatically detects the DisplayPort mode and the orientation of the USB Type-C connector plug, allowing the multiplexer to multiplex transmissions based on this information, reducing the reliance on configuration pins and minimizing the need for long cable runs.
Data Transmission System and Data Transmission Method
PatentActiveUS20190108148A1
Innovation
- The implementation of switching re-timers on both the transmitter and receiver sides, which enable DP link rate doubling and halving capabilities, allowing for the concurrent transport of USB and DP traffic over USB Type-C without the need for complex signal multiplexing or captive cables, by multiplexing and de-multiplexing DP Main Link data across differential pairs, thereby freeing up pins for USB3.x SS traffic.
Compliance Testing Methodologies and Standards
Compliance testing for DisplayPort 2.1 Alt Mode over USB-C requires rigorous methodologies to ensure interoperability across devices. The Video Electronics Standards Association (VESA) has established comprehensive compliance test specifications that manufacturers must adhere to before receiving certification for their products.
The compliance testing framework for DisplayPort 2.1 Alt Mode encompasses several critical areas. Physical layer testing verifies signal integrity across the USB-C connector, with particular attention to the lane mapping configurations unique to Alt Mode. This includes eye diagram analysis, jitter measurements, and voltage level verification across different data rates up to the maximum 80 Gbps supported by DisplayPort 2.1.
Protocol compliance testing examines the proper implementation of the DisplayPort protocol over USB-C, including the Alt Mode discovery and configuration process. This involves validating the correct exchange of UCSI (USB Type-C Connector System Software Interface) commands and responses, as well as proper handling of DisplayPort-specific packets when operating in Alt Mode.
Retimer behavior testing forms a critical component of compliance verification, as retimers must properly handle the transition between USB and DisplayPort signaling. Tests verify that retimers correctly implement signal conditioning, maintain timing parameters, and properly manage lane mapping configurations across different operating modes.
Interoperability testing ensures that DisplayPort 2.1 Alt Mode devices function correctly with a wide range of existing products. This includes backward compatibility testing with DisplayPort 1.4 devices and various USB-C implementations, ensuring seamless operation across the ecosystem.
The Compliance Test Suite (CTS) provided by VESA includes automated test procedures, reference measurement equipment specifications, and pass/fail criteria for each test case. Manufacturers must submit their products to authorized test centers for official certification, where standardized test fixtures and procedures ensure consistent evaluation across all devices.
Power management compliance testing verifies that devices correctly implement power state transitions and respond appropriately to power management commands when operating in DisplayPort Alt Mode. This includes validation of proper handling of Hot Plug Detect (HPD) signals and power state negotiations specific to the USB-C interface.
Electromagnetic compatibility (EMC) testing ensures that DisplayPort 2.1 Alt Mode implementations do not cause electromagnetic interference with other devices and can operate reliably in environments with electromagnetic noise. These tests follow international standards such as FCC and CE requirements, with additional specifications tailored to the high-speed signaling used in DisplayPort 2.1.
The compliance testing framework for DisplayPort 2.1 Alt Mode encompasses several critical areas. Physical layer testing verifies signal integrity across the USB-C connector, with particular attention to the lane mapping configurations unique to Alt Mode. This includes eye diagram analysis, jitter measurements, and voltage level verification across different data rates up to the maximum 80 Gbps supported by DisplayPort 2.1.
Protocol compliance testing examines the proper implementation of the DisplayPort protocol over USB-C, including the Alt Mode discovery and configuration process. This involves validating the correct exchange of UCSI (USB Type-C Connector System Software Interface) commands and responses, as well as proper handling of DisplayPort-specific packets when operating in Alt Mode.
Retimer behavior testing forms a critical component of compliance verification, as retimers must properly handle the transition between USB and DisplayPort signaling. Tests verify that retimers correctly implement signal conditioning, maintain timing parameters, and properly manage lane mapping configurations across different operating modes.
Interoperability testing ensures that DisplayPort 2.1 Alt Mode devices function correctly with a wide range of existing products. This includes backward compatibility testing with DisplayPort 1.4 devices and various USB-C implementations, ensuring seamless operation across the ecosystem.
The Compliance Test Suite (CTS) provided by VESA includes automated test procedures, reference measurement equipment specifications, and pass/fail criteria for each test case. Manufacturers must submit their products to authorized test centers for official certification, where standardized test fixtures and procedures ensure consistent evaluation across all devices.
Power management compliance testing verifies that devices correctly implement power state transitions and respond appropriately to power management commands when operating in DisplayPort Alt Mode. This includes validation of proper handling of Hot Plug Detect (HPD) signals and power state negotiations specific to the USB-C interface.
Electromagnetic compatibility (EMC) testing ensures that DisplayPort 2.1 Alt Mode implementations do not cause electromagnetic interference with other devices and can operate reliably in environments with electromagnetic noise. These tests follow international standards such as FCC and CE requirements, with additional specifications tailored to the high-speed signaling used in DisplayPort 2.1.
Interoperability Challenges Across Device Ecosystems
The interoperability landscape for DisplayPort 2.1 Alt Mode over USB-C presents significant challenges across diverse device ecosystems. The fundamental issue stems from the complex lane mapping requirements when transitioning from the native DisplayPort interface to the USB-C form factor, creating inconsistent implementations across manufacturers.
Device manufacturers interpret the DisplayPort 2.1 Alt Mode specifications differently, resulting in compatibility issues when connecting products from various ecosystems. This fragmentation is particularly evident in how different vendors handle lane allocation during high-bandwidth display scenarios, with some prioritizing display traffic while others maintain USB data functionality.
Retimer behavior compounds these challenges, as these signal conditioning components must properly interpret and process DisplayPort signals while maintaining compliance with both USB-C and DisplayPort 2.1 specifications. The variance in retimer implementations across device ecosystems creates unpredictable connection experiences, especially when mixing devices from different manufacturers or product generations.
Testing methodologies also differ significantly across ecosystems. While the USB-IF and VESA provide compliance test specifications, their implementation and interpretation vary between device manufacturers. Some ecosystems emphasize electrical compliance, while others focus on functional testing, leading to devices that pass certification but still exhibit interoperability issues when connected to products from different ecosystems.
Power management presents another critical interoperability challenge. DisplayPort 2.1 Alt Mode's high-bandwidth capabilities demand substantial power, which must be negotiated through USB Power Delivery protocols. Different device ecosystems implement power management strategies with varying priorities, causing inconsistent performance when connecting across ecosystem boundaries.
The software and driver stack further complicates interoperability. Operating systems handle DisplayPort Alt Mode connections differently, with Windows, macOS, Linux, and mobile operating systems each implementing their own approaches to mode negotiation and fallback mechanisms. This creates scenarios where connections work flawlessly within one ecosystem but fail when crossing ecosystem boundaries.
Consumer electronics, professional equipment, and industrial systems each maintain distinct requirements for DisplayPort implementations, creating siloed ecosystems with limited cross-compatibility. This segmentation is particularly problematic for users who operate across multiple environments, such as creative professionals using both consumer and professional-grade equipment.
Device manufacturers interpret the DisplayPort 2.1 Alt Mode specifications differently, resulting in compatibility issues when connecting products from various ecosystems. This fragmentation is particularly evident in how different vendors handle lane allocation during high-bandwidth display scenarios, with some prioritizing display traffic while others maintain USB data functionality.
Retimer behavior compounds these challenges, as these signal conditioning components must properly interpret and process DisplayPort signals while maintaining compliance with both USB-C and DisplayPort 2.1 specifications. The variance in retimer implementations across device ecosystems creates unpredictable connection experiences, especially when mixing devices from different manufacturers or product generations.
Testing methodologies also differ significantly across ecosystems. While the USB-IF and VESA provide compliance test specifications, their implementation and interpretation vary between device manufacturers. Some ecosystems emphasize electrical compliance, while others focus on functional testing, leading to devices that pass certification but still exhibit interoperability issues when connected to products from different ecosystems.
Power management presents another critical interoperability challenge. DisplayPort 2.1 Alt Mode's high-bandwidth capabilities demand substantial power, which must be negotiated through USB Power Delivery protocols. Different device ecosystems implement power management strategies with varying priorities, causing inconsistent performance when connecting across ecosystem boundaries.
The software and driver stack further complicates interoperability. Operating systems handle DisplayPort Alt Mode connections differently, with Windows, macOS, Linux, and mobile operating systems each implementing their own approaches to mode negotiation and fallback mechanisms. This creates scenarios where connections work flawlessly within one ecosystem but fail when crossing ecosystem boundaries.
Consumer electronics, professional equipment, and industrial systems each maintain distinct requirements for DisplayPort implementations, creating siloed ecosystems with limited cross-compatibility. This segmentation is particularly problematic for users who operate across multiple environments, such as creative professionals using both consumer and professional-grade equipment.
Unlock deeper insights with Patsnap Eureka Quick Research — get a full tech report to explore trends and direct your research. Try now!
Generate Your Research Report Instantly with AI Agent
Supercharge your innovation with Patsnap Eureka AI Agent Platform!







