DisplayPort 2.1 System Validation: Fixtures, Patterns And Margin Acceptance
SEP 24, 20259 MIN READ
Generate Your Research Report Instantly with AI Agent
Patsnap Eureka helps you evaluate technical feasibility & market potential.
DisplayPort 2.1 Evolution and Validation Objectives
DisplayPort technology has evolved significantly since its introduction by VESA in 2006, progressing through multiple iterations to meet the growing demands of high-resolution displays and complex multimedia systems. The evolution from DisplayPort 1.0 to the current 2.1 standard represents a journey of increasing bandwidth capabilities, enhanced feature sets, and improved interoperability with other display technologies. DisplayPort 2.1, released in late 2022, builds upon the foundation of DisplayPort 2.0 while introducing critical refinements for system stability and performance consistency.
The primary objective of DisplayPort 2.1 validation is to ensure reliable operation at unprecedented data rates of up to 80 Gbps, which enables support for 8K resolution displays at 60Hz with full color depth and HDR capabilities. This represents a fourfold increase over DisplayPort 1.4, creating significant validation challenges that must be addressed through comprehensive testing methodologies.
System validation for DisplayPort 2.1 focuses on three critical areas: signal integrity across the entire transmission path, protocol compliance with the VESA specification, and interoperability between various source and sink devices. These validation efforts are essential to guarantee that consumers experience consistent performance regardless of their specific hardware configuration.
The technical goals of DisplayPort 2.1 validation include establishing standardized test fixtures that accurately represent real-world usage scenarios while providing repeatable measurement conditions. These fixtures must accommodate both the physical layer testing requirements and the higher-level protocol verification needs, creating a comprehensive validation environment.
Another key objective is the development of specialized test patterns designed to stress specific aspects of the DisplayPort 2.1 interface. These patterns must exercise the full bandwidth capabilities while also targeting potential weak points in the transmission system, such as transitions between different bit rates or handling of specific encoding schemes.
Margin acceptance criteria represent perhaps the most critical validation objective, as they define the operational boundaries within which DisplayPort 2.1 implementations must function reliably. These margins must account for manufacturing variations, environmental factors, and aging effects while still ensuring consistent performance across the ecosystem.
The validation process must also address backward compatibility with previous DisplayPort versions and alternative modes such as USB-C Alt Mode, ensuring that the technology remains versatile across different deployment scenarios. This compatibility testing is essential for market adoption and user satisfaction.
Looking forward, DisplayPort 2.1 validation objectives also include establishing a foundation for future iterations of the standard, creating test methodologies that can scale with increasing performance requirements while maintaining consistency in measurement approaches and acceptance criteria.
The primary objective of DisplayPort 2.1 validation is to ensure reliable operation at unprecedented data rates of up to 80 Gbps, which enables support for 8K resolution displays at 60Hz with full color depth and HDR capabilities. This represents a fourfold increase over DisplayPort 1.4, creating significant validation challenges that must be addressed through comprehensive testing methodologies.
System validation for DisplayPort 2.1 focuses on three critical areas: signal integrity across the entire transmission path, protocol compliance with the VESA specification, and interoperability between various source and sink devices. These validation efforts are essential to guarantee that consumers experience consistent performance regardless of their specific hardware configuration.
The technical goals of DisplayPort 2.1 validation include establishing standardized test fixtures that accurately represent real-world usage scenarios while providing repeatable measurement conditions. These fixtures must accommodate both the physical layer testing requirements and the higher-level protocol verification needs, creating a comprehensive validation environment.
Another key objective is the development of specialized test patterns designed to stress specific aspects of the DisplayPort 2.1 interface. These patterns must exercise the full bandwidth capabilities while also targeting potential weak points in the transmission system, such as transitions between different bit rates or handling of specific encoding schemes.
Margin acceptance criteria represent perhaps the most critical validation objective, as they define the operational boundaries within which DisplayPort 2.1 implementations must function reliably. These margins must account for manufacturing variations, environmental factors, and aging effects while still ensuring consistent performance across the ecosystem.
The validation process must also address backward compatibility with previous DisplayPort versions and alternative modes such as USB-C Alt Mode, ensuring that the technology remains versatile across different deployment scenarios. This compatibility testing is essential for market adoption and user satisfaction.
Looking forward, DisplayPort 2.1 validation objectives also include establishing a foundation for future iterations of the standard, creating test methodologies that can scale with increasing performance requirements while maintaining consistency in measurement approaches and acceptance criteria.
Market Demand for High-Speed Display Interfaces
The demand for high-speed display interfaces has experienced exponential growth over the past decade, driven primarily by the increasing resolution and refresh rates of modern displays. As 4K and 8K displays become mainstream in both consumer and professional markets, the bandwidth requirements have surged dramatically. Market research indicates that the global high-speed interface market reached approximately $5.2 billion in 2022, with projections showing a compound annual growth rate of 14.3% through 2028.
DisplayPort technology, particularly the latest 2.1 standard, addresses critical market needs across multiple segments. In the consumer electronics sector, gaming enthusiasts demand higher refresh rates (144Hz, 240Hz, and beyond) at 4K resolution, which older interface standards cannot adequately support. Professional markets, including content creation, medical imaging, and financial trading, require multi-monitor setups with color accuracy and zero latency, creating substantial demand for robust validation solutions.
The emergence of virtual reality and augmented reality applications has further accelerated market demand for high-bandwidth display interfaces. These applications require dual high-resolution displays with extremely low latency, pushing existing technologies to their limits. Industry analysts report that VR/AR hardware shipments increased by 28.7% in 2022, with display interface capabilities frequently cited as a limiting factor in device performance.
Enterprise customers represent another significant market segment, with data visualization, control rooms, and collaborative environments requiring multiple synchronized high-resolution displays. The corporate adoption of video conferencing solutions during the global pandemic has permanently altered workplace dynamics, with 76% of enterprises reporting plans to upgrade their display infrastructure to support hybrid work environments.
Automotive applications present a rapidly expanding market opportunity, with modern vehicles incorporating multiple high-resolution displays for infotainment, driver assistance, and passenger entertainment. The automotive display market is projected to grow at 19.3% annually through 2027, with increasing requirements for validated high-speed interfaces that can withstand harsh environmental conditions.
The geographical distribution of market demand shows concentration in North America and Asia-Pacific regions, with the latter experiencing the fastest growth rate. China's domestic display manufacturing capacity has expanded significantly, creating substantial demand for advanced testing and validation equipment. European markets show particular strength in automotive and industrial applications, where reliability and certification requirements are especially stringent.
DisplayPort technology, particularly the latest 2.1 standard, addresses critical market needs across multiple segments. In the consumer electronics sector, gaming enthusiasts demand higher refresh rates (144Hz, 240Hz, and beyond) at 4K resolution, which older interface standards cannot adequately support. Professional markets, including content creation, medical imaging, and financial trading, require multi-monitor setups with color accuracy and zero latency, creating substantial demand for robust validation solutions.
The emergence of virtual reality and augmented reality applications has further accelerated market demand for high-bandwidth display interfaces. These applications require dual high-resolution displays with extremely low latency, pushing existing technologies to their limits. Industry analysts report that VR/AR hardware shipments increased by 28.7% in 2022, with display interface capabilities frequently cited as a limiting factor in device performance.
Enterprise customers represent another significant market segment, with data visualization, control rooms, and collaborative environments requiring multiple synchronized high-resolution displays. The corporate adoption of video conferencing solutions during the global pandemic has permanently altered workplace dynamics, with 76% of enterprises reporting plans to upgrade their display infrastructure to support hybrid work environments.
Automotive applications present a rapidly expanding market opportunity, with modern vehicles incorporating multiple high-resolution displays for infotainment, driver assistance, and passenger entertainment. The automotive display market is projected to grow at 19.3% annually through 2027, with increasing requirements for validated high-speed interfaces that can withstand harsh environmental conditions.
The geographical distribution of market demand shows concentration in North America and Asia-Pacific regions, with the latter experiencing the fastest growth rate. China's domestic display manufacturing capacity has expanded significantly, creating substantial demand for advanced testing and validation equipment. European markets show particular strength in automotive and industrial applications, where reliability and certification requirements are especially stringent.
Technical Challenges in DisplayPort 2.1 Validation
DisplayPort 2.1 validation presents significant technical challenges that require sophisticated approaches to ensure compliance and interoperability. The increased data rates of up to 20 Gbps per lane in DisplayPort 2.1 create substantial signal integrity challenges, making traditional testing methodologies insufficient. High-frequency signal degradation, crosstalk, and electromagnetic interference become more pronounced at these speeds, necessitating advanced test equipment and methodologies.
Channel loss represents a critical challenge, with DisplayPort 2.1 links experiencing up to 43dB of insertion loss at the Nyquist frequency. This severe attenuation requires sophisticated equalization techniques and precise calibration of test fixtures to accurately measure and validate signal integrity parameters. The margin testing becomes particularly complex as the signal-to-noise ratio decreases with higher data rates.
The implementation of UHBR (Ultra High Bit Rate) modes in DisplayPort 2.1 introduces new technical hurdles in validation. These modes employ PAM-3 (Pulse Amplitude Modulation with 3 levels) signaling rather than the traditional NRZ (Non-Return to Zero) encoding used in previous versions. This fundamental change in signaling methodology requires entirely new test patterns, measurement techniques, and compliance criteria.
Test fixture design presents another significant challenge. At DisplayPort 2.1 speeds, even minor impedance discontinuities or material variations can significantly impact measurement accuracy. Fixtures must maintain consistent impedance profiles while accommodating various connector types and form factors. De-embedding techniques become essential but increasingly complex at higher frequencies.
The Forward Error Correction (FEC) mechanisms in DisplayPort 2.1 complicate validation by masking certain types of signal integrity issues. While FEC improves link robustness, it creates challenges in identifying underlying physical layer problems that might cause performance degradation over time or under varying environmental conditions.
Interoperability testing between different manufacturers' implementations presents additional complexity. The DisplayPort 2.1 specification allows for various optional features and implementation-specific optimizations, creating a matrix of possible configurations that must be validated for cross-compatibility.
Environmental testing adds another dimension of difficulty, as DisplayPort 2.1 links must maintain performance across temperature variations, voltage fluctuations, and in the presence of external interference. Validating margin requirements under these varied conditions requires sophisticated environmental chambers and long-duration testing protocols.
The development of automated validation tools faces significant challenges due to the complexity of measurements required. Traditional oscilloscope-based measurements must be supplemented with specialized equipment capable of analyzing PAM-3 signaling characteristics, jitter decomposition, and link training sequences at unprecedented speeds.
Channel loss represents a critical challenge, with DisplayPort 2.1 links experiencing up to 43dB of insertion loss at the Nyquist frequency. This severe attenuation requires sophisticated equalization techniques and precise calibration of test fixtures to accurately measure and validate signal integrity parameters. The margin testing becomes particularly complex as the signal-to-noise ratio decreases with higher data rates.
The implementation of UHBR (Ultra High Bit Rate) modes in DisplayPort 2.1 introduces new technical hurdles in validation. These modes employ PAM-3 (Pulse Amplitude Modulation with 3 levels) signaling rather than the traditional NRZ (Non-Return to Zero) encoding used in previous versions. This fundamental change in signaling methodology requires entirely new test patterns, measurement techniques, and compliance criteria.
Test fixture design presents another significant challenge. At DisplayPort 2.1 speeds, even minor impedance discontinuities or material variations can significantly impact measurement accuracy. Fixtures must maintain consistent impedance profiles while accommodating various connector types and form factors. De-embedding techniques become essential but increasingly complex at higher frequencies.
The Forward Error Correction (FEC) mechanisms in DisplayPort 2.1 complicate validation by masking certain types of signal integrity issues. While FEC improves link robustness, it creates challenges in identifying underlying physical layer problems that might cause performance degradation over time or under varying environmental conditions.
Interoperability testing between different manufacturers' implementations presents additional complexity. The DisplayPort 2.1 specification allows for various optional features and implementation-specific optimizations, creating a matrix of possible configurations that must be validated for cross-compatibility.
Environmental testing adds another dimension of difficulty, as DisplayPort 2.1 links must maintain performance across temperature variations, voltage fluctuations, and in the presence of external interference. Validating margin requirements under these varied conditions requires sophisticated environmental chambers and long-duration testing protocols.
The development of automated validation tools faces significant challenges due to the complexity of measurements required. Traditional oscilloscope-based measurements must be supplemented with specialized equipment capable of analyzing PAM-3 signaling characteristics, jitter decomposition, and link training sequences at unprecedented speeds.
Current Validation Methodologies and Test Fixtures
01 DisplayPort compliance testing and validation methodologies
Various methodologies and systems for validating DisplayPort 2.1 compliance, including automated test procedures, verification protocols, and certification processes. These validation systems ensure that DisplayPort implementations meet the required specifications and standards for signal integrity, data transfer rates, and protocol compatibility. The validation process typically involves specialized test equipment and software tools that can measure and analyze the electrical and protocol characteristics of DisplayPort interfaces.- DisplayPort compliance testing and validation methodologies: Various methodologies and systems for validating DisplayPort 2.1 compliance, including automated test procedures, validation frameworks, and certification processes. These systems verify that DisplayPort implementations meet the required specifications for data transmission rates, signal integrity, and protocol compliance. The validation process typically involves specialized test equipment and software tools that can simulate various operating conditions and measure performance against established standards.
- Interface compatibility and interoperability testing: Testing methodologies focused on ensuring compatibility between DisplayPort 2.1 interfaces and various devices. This includes verification of proper handshaking protocols, feature negotiation, and interoperability across different hardware implementations. The testing procedures validate that DisplayPort connections can successfully establish and maintain connections across different manufacturer implementations, ensuring consistent user experience regardless of the specific hardware combination being used.
- Signal integrity and performance validation: Techniques for validating the signal integrity and performance characteristics of DisplayPort 2.1 implementations. This includes testing for proper voltage levels, timing parameters, jitter tolerance, and error rates under various operating conditions. Advanced testing methodologies may employ eye diagram analysis, bit error rate testing, and stress testing to ensure reliable operation at the high data rates supported by DisplayPort 2.1 specifications.
- Protocol and feature verification systems: Systems designed to verify the correct implementation of DisplayPort 2.1 protocol features, including link training, stream management, and auxiliary channel operations. These validation systems ensure that all mandatory and optional features of the DisplayPort 2.1 specification are properly implemented and function as expected. The verification process typically includes testing of power management features, content protection mechanisms, and multi-stream transport capabilities.
- Automated validation tools and equipment: Specialized tools, equipment, and software solutions developed specifically for automating the DisplayPort 2.1 validation process. These tools can perform comprehensive testing suites, generate detailed reports, and identify potential compliance issues. Automated validation systems often include programmable pattern generators, protocol analyzers, and specialized measurement equipment that can accurately characterize the electrical and functional aspects of DisplayPort implementations.
02 Interface compatibility and interoperability testing
Testing methods focused on ensuring compatibility and interoperability between different DisplayPort 2.1 implementations and devices. These methods verify that DisplayPort interfaces can successfully establish connections and communicate with various display devices, computers, and other peripherals. The testing includes verification of handshaking protocols, feature negotiation, and backward compatibility with previous DisplayPort versions, ensuring seamless operation across the ecosystem of DisplayPort-enabled devices.Expand Specific Solutions03 Signal integrity and performance validation
Techniques for validating the signal integrity and performance characteristics of DisplayPort 2.1 interfaces, including bandwidth testing, error rate measurement, and timing analysis. These validation methods ensure that DisplayPort connections can maintain reliable data transmission at high speeds while minimizing errors and signal degradation. The testing involves measuring parameters such as jitter, eye diagrams, voltage levels, and other electrical characteristics that affect the quality and reliability of the DisplayPort signal.Expand Specific Solutions04 Video and audio quality verification systems
Systems and methods for verifying the quality of video and audio transmission over DisplayPort 2.1 connections. These validation techniques ensure that the DisplayPort interface can accurately transmit high-resolution video and multi-channel audio without degradation or artifacts. The testing includes verification of color accuracy, resolution support, refresh rates, HDR capabilities, and audio synchronization, ensuring that the DisplayPort implementation meets the expected quality standards for multimedia content delivery.Expand Specific Solutions05 Automated validation and certification platforms
Comprehensive platforms and frameworks for automating the validation and certification process of DisplayPort 2.1 implementations. These platforms integrate various test cases, measurement tools, and analysis capabilities into unified systems that can efficiently validate DisplayPort compliance. The automated systems can perform a series of standardized tests, collect and analyze results, generate reports, and provide certification status, streamlining the validation process and ensuring consistent application of test standards across different implementations.Expand Specific Solutions
Key Industry Players in DisplayPort Ecosystem
DisplayPort 2.1 system validation is currently in a growth phase within the high-performance display connectivity market, with increasing adoption across consumer electronics and professional applications. The market is expanding rapidly as demand for higher resolution displays and faster data transfer rates grows, estimated to reach several billion dollars by 2025. Technologically, the ecosystem shows varying maturity levels among key players. Apple, Samsung, and Intel demonstrate advanced implementation capabilities, while companies like Analogix, MediaTek, and BOE Technology are making significant progress in DisplayPort 2.1 validation technologies. Emerging players such as xFusion and Fibocom are entering the space with specialized validation solutions. The competitive landscape features established electronics giants alongside specialized testing equipment providers, with cross-industry collaboration becoming essential for comprehensive system validation.
Apple, Inc.
Technical Solution: Apple has implemented a comprehensive DisplayPort 2.1 validation framework focused on ensuring seamless integration across their ecosystem of devices. Their approach centers on custom-designed validation hardware that incorporates precision signal integrity measurement capabilities with automated software testing. Apple's validation fixtures include specialized adapters that can simulate various cable qualities and lengths while maintaining precise impedance matching and signal integrity. Their test pattern suite is particularly focused on validating the Display Stream Compression (DSC) aspects of DP 2.1, ensuring visually lossless performance even at the highest resolutions and color depths required by their Pro Display XDR and other high-end displays[5]. Apple's margin acceptance methodology employs statistical analysis across thousands of test runs to establish confidence intervals for various operating parameters, ensuring reliable performance even at the specification boundaries. Their validation process also includes extensive interoperability testing with third-party displays and adapters to verify compatibility beyond their own ecosystem[6].
Strengths: Apple's validation solution provides exceptional coverage of high-resolution, high-color-depth scenarios critical for professional creative workflows. Their statistical approach to margin testing delivers highly reliable results with clear confidence intervals. Weaknesses: Their validation methodology is somewhat tailored to their own hardware ecosystem, potentially overlooking some edge cases with non-Apple hardware. The solution also requires specialized equipment that represents a significant investment.
Analogix International Co., Ltd.
Technical Solution: Analogix has developed a specialized DisplayPort 2.1 validation platform focused on semiconductor and embedded system applications. Their ANX Test Suite combines hardware test fixtures with comprehensive software analysis tools specifically designed for validating both source and sink implementations of the DP 2.1 standard. The hardware component includes precision signal generators and analyzers capable of producing and measuring the full range of UHBR (Ultra High Bit Rate) signals up to 80 Gbps. Their test pattern library includes specialized patterns for validating Forward Error Correction (FEC) functionality, link training sequences, and DSC compression performance[7]. Analogix's validation methodology places particular emphasis on power consumption optimization during high-bandwidth transfers, with specialized test patterns designed to stress power management features while maintaining signal integrity. Their margin acceptance criteria incorporate both electrical parameter measurements and protocol compliance verification, with automated regression testing to ensure consistent performance across firmware and hardware revisions[8].
Strengths: Analogix's solution provides exceptional coverage of semiconductor-level validation requirements, making it ideal for chip designers and embedded system manufacturers. Their power optimization testing is particularly valuable for mobile and battery-powered implementations. Weaknesses: Their validation approach is somewhat specialized toward semiconductor applications and may require additional components for complete end-product validation. The solution also demands significant technical expertise to properly configure and interpret results.
Critical Test Patterns and Signal Integrity Analysis
Receiving apparatus and clock signal rate calibration method
PatentActiveCN101354878B
Innovation
- Using a receiving device including a buffer unit and a clock generation unit, the rate of the pixel clock signal is adjusted by decoding the water level value and other information of the data to achieve the stability of the pixel clock signal, and the phase detector and clock generation unit are used to jointly calibrate the pixel clock signal rate.
Methods and apparatus for the intelligent association of control symbols
PatentWO2012087973A1
Innovation
- The method involves scrambling control symbols based on their frequency of occurrence and EMI impact, using techniques like exclusive OR (XOR) functions and 8B10B encoding, to reduce EMI and improve DC-balance on the transmission medium without increasing communication bandwidth.
Compliance Testing Requirements and Certification
DisplayPort 2.1 compliance testing follows a rigorous certification process established by VESA (Video Electronics Standards Association) to ensure interoperability across different devices and implementations. The certification program requires manufacturers to submit their products to authorized test centers where standardized test procedures validate conformance to the DisplayPort 2.1 specification.
The compliance testing process encompasses several critical components. Physical layer testing verifies signal integrity, including amplitude, timing, and jitter measurements across the full range of supported link rates up to 80 Gbps. Protocol layer testing ensures proper implementation of the DisplayPort communication protocol, including handshaking, authentication, and content protection mechanisms.
Test fixtures play a crucial role in the compliance testing ecosystem. These specialized hardware components simulate real-world connection scenarios while providing precise measurement points for test equipment. The DisplayPort 2.1 specification mandates the use of calibrated fixtures that maintain controlled impedance and minimize signal degradation. These fixtures must be certified by VESA to ensure measurement consistency across different test facilities.
Test patterns represent another fundamental element of the compliance testing framework. DisplayPort 2.1 certification requires the use of standardized test patterns designed to stress specific aspects of the interface. These include pseudo-random bit sequences (PRBS) for jitter testing, frequency sweep patterns for channel characterization, and specialized patterns for evaluating link training and adaptive equalization performance.
Margin acceptance criteria define the quantitative thresholds that determine pass/fail results. DisplayPort 2.1 introduces more stringent margin requirements compared to previous versions, reflecting the higher data rates and reduced timing budgets. Eye diagram measurements must demonstrate sufficient horizontal and vertical opening to ensure reliable operation across temperature variations and component aging.
The certification process also includes interoperability testing with a range of reference devices. Products must demonstrate compatibility with both legacy DisplayPort implementations and the latest features introduced in version 2.1. This includes proper negotiation of link capabilities, fallback mechanisms, and support for optional features like Display Stream Compression.
Manufacturers seeking certification must submit comprehensive test reports documenting compliance with all mandatory requirements. VESA reviews these reports and may request additional testing for edge cases or specific configurations. Successful certification grants the manufacturer the right to use the DisplayPort 2.1 logo and ensures customers that the product meets industry standards for performance and compatibility.
The compliance testing process encompasses several critical components. Physical layer testing verifies signal integrity, including amplitude, timing, and jitter measurements across the full range of supported link rates up to 80 Gbps. Protocol layer testing ensures proper implementation of the DisplayPort communication protocol, including handshaking, authentication, and content protection mechanisms.
Test fixtures play a crucial role in the compliance testing ecosystem. These specialized hardware components simulate real-world connection scenarios while providing precise measurement points for test equipment. The DisplayPort 2.1 specification mandates the use of calibrated fixtures that maintain controlled impedance and minimize signal degradation. These fixtures must be certified by VESA to ensure measurement consistency across different test facilities.
Test patterns represent another fundamental element of the compliance testing framework. DisplayPort 2.1 certification requires the use of standardized test patterns designed to stress specific aspects of the interface. These include pseudo-random bit sequences (PRBS) for jitter testing, frequency sweep patterns for channel characterization, and specialized patterns for evaluating link training and adaptive equalization performance.
Margin acceptance criteria define the quantitative thresholds that determine pass/fail results. DisplayPort 2.1 introduces more stringent margin requirements compared to previous versions, reflecting the higher data rates and reduced timing budgets. Eye diagram measurements must demonstrate sufficient horizontal and vertical opening to ensure reliable operation across temperature variations and component aging.
The certification process also includes interoperability testing with a range of reference devices. Products must demonstrate compatibility with both legacy DisplayPort implementations and the latest features introduced in version 2.1. This includes proper negotiation of link capabilities, fallback mechanisms, and support for optional features like Display Stream Compression.
Manufacturers seeking certification must submit comprehensive test reports documenting compliance with all mandatory requirements. VESA reviews these reports and may request additional testing for edge cases or specific configurations. Successful certification grants the manufacturer the right to use the DisplayPort 2.1 logo and ensures customers that the product meets industry standards for performance and compatibility.
Interoperability Considerations Across Devices
Interoperability across diverse devices represents a critical challenge in DisplayPort 2.1 system validation. The ecosystem encompasses a wide range of products including monitors, laptops, graphics cards, docking stations, and adapters from numerous manufacturers, each with unique implementations of the DisplayPort 2.1 specification. This heterogeneity necessitates comprehensive validation strategies to ensure seamless connectivity regardless of device combinations.
Cross-vendor compatibility testing forms the cornerstone of interoperability validation. Manufacturers must verify that their DisplayPort 2.1 implementations function correctly with devices from other vendors across various configurations. This includes testing different cable lengths, resolutions, refresh rates, and feature sets to identify potential compatibility issues before products reach consumers.
Protocol negotiation represents a particularly sensitive area for interoperability. DisplayPort 2.1 devices must properly negotiate link training, bandwidth allocation, and feature support. Testing must verify that devices gracefully handle situations where capabilities don't match, defaulting to mutually supported configurations rather than connection failures. This includes proper fallback mechanisms when encountering devices supporting different DisplayPort versions.
Feature compatibility testing is equally important, particularly for advanced capabilities like Display Stream Compression (DSC), Panel Replay, and VESA Adaptive-Sync. Validation must confirm that optional features are properly negotiated and that devices maintain stability when connecting to products with different feature implementations or limitations.
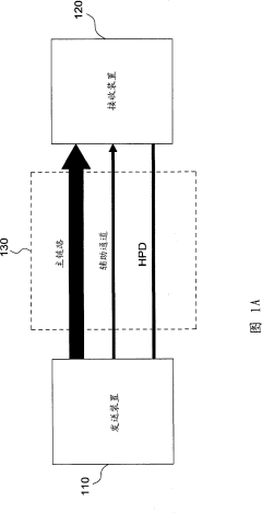
Hot-plug detection and link recovery mechanisms require thorough validation across diverse device ecosystems. Systems must reliably detect connection changes and re-establish links without user intervention. This includes testing scenarios like sleep/wake cycles, resolution changes, and recovery from intermittent connection issues across different device combinations.
Timing variations between implementations present another interoperability challenge. While the DisplayPort 2.1 specification defines timing parameters, actual implementations may operate at different points within the allowed ranges. Validation must verify that devices can accommodate these variations without compromising connection stability or performance.
Legacy support testing ensures backward compatibility with previous DisplayPort versions and alternative display interfaces through adapters. This includes validating that DisplayPort 2.1 devices properly identify and adapt to older equipment, maintaining the highest possible performance level supported by both devices while ensuring reliable connections.
Cross-vendor compatibility testing forms the cornerstone of interoperability validation. Manufacturers must verify that their DisplayPort 2.1 implementations function correctly with devices from other vendors across various configurations. This includes testing different cable lengths, resolutions, refresh rates, and feature sets to identify potential compatibility issues before products reach consumers.
Protocol negotiation represents a particularly sensitive area for interoperability. DisplayPort 2.1 devices must properly negotiate link training, bandwidth allocation, and feature support. Testing must verify that devices gracefully handle situations where capabilities don't match, defaulting to mutually supported configurations rather than connection failures. This includes proper fallback mechanisms when encountering devices supporting different DisplayPort versions.
Feature compatibility testing is equally important, particularly for advanced capabilities like Display Stream Compression (DSC), Panel Replay, and VESA Adaptive-Sync. Validation must confirm that optional features are properly negotiated and that devices maintain stability when connecting to products with different feature implementations or limitations.
Hot-plug detection and link recovery mechanisms require thorough validation across diverse device ecosystems. Systems must reliably detect connection changes and re-establish links without user intervention. This includes testing scenarios like sleep/wake cycles, resolution changes, and recovery from intermittent connection issues across different device combinations.
Timing variations between implementations present another interoperability challenge. While the DisplayPort 2.1 specification defines timing parameters, actual implementations may operate at different points within the allowed ranges. Validation must verify that devices can accommodate these variations without compromising connection stability or performance.
Legacy support testing ensures backward compatibility with previous DisplayPort versions and alternative display interfaces through adapters. This includes validating that DisplayPort 2.1 devices properly identify and adapt to older equipment, maintaining the highest possible performance level supported by both devices while ensuring reliable connections.
Unlock deeper insights with Patsnap Eureka Quick Research — get a full tech report to explore trends and direct your research. Try now!
Generate Your Research Report Instantly with AI Agent
Supercharge your innovation with Patsnap Eureka AI Agent Platform!