DisplayPort 2.1 DSC 1.2a: Compression Ratios, Visual Artifacts And Bit-Error Sensitivity
SEP 24, 20259 MIN READ
Generate Your Research Report Instantly with AI Agent
Patsnap Eureka helps you evaluate technical feasibility & market potential.
DisplayPort 2.1 DSC Evolution and Objectives
DisplayPort technology has undergone significant evolution since its introduction by VESA in 2006. The journey from the initial standard to DisplayPort 2.1 with DSC 1.2a represents a continuous pursuit of higher bandwidth, improved visual quality, and enhanced user experience in digital display connectivity. The development trajectory has been driven by increasing demands for higher resolution displays, faster refresh rates, and more efficient data transmission protocols.
The original DisplayPort standard was designed as a digital display interface to replace older technologies like DVI and VGA. With each iteration, substantial improvements were made in bandwidth capacity and feature sets. DisplayPort 1.4, introduced in 2016, first incorporated Display Stream Compression (DSC) 1.2 to address bandwidth limitations while maintaining visual quality.
DisplayPort 2.0, announced in 2019, marked a revolutionary leap with a threefold increase in maximum bandwidth to 80 Gbps, enabling support for 8K resolution displays at higher refresh rates. The subsequent DisplayPort 2.1 standard refined this foundation while maintaining backward compatibility with previous versions.
The integration of DSC 1.2a within DisplayPort 2.1 represents a critical technological advancement aimed at solving the fundamental challenge of transmitting increasingly data-intensive visual content through limited bandwidth channels. This compression technology enables the transmission of high-resolution, high-refresh-rate content that would otherwise exceed available bandwidth limitations.
The primary objectives of DisplayPort 2.1 DSC 1.2a implementation include achieving visually lossless compression at various compression ratios (typically 1.5:1 to 3:1), minimizing latency in the compression/decompression process, and ensuring robustness against transmission errors. These goals directly address the growing market demand for higher resolution displays, including 4K and 8K panels, with refresh rates of 120Hz and beyond, particularly in professional, gaming, and premium consumer segments.
Another key objective is maintaining backward compatibility while pushing forward technological boundaries. This ensures that newer devices can still function with older infrastructure, providing a smoother transition path for both manufacturers and consumers.
The evolution of DisplayPort technology, particularly with DSC integration, also aims to support emerging display technologies such as HDR, wide color gamut, and variable refresh rates, which collectively enhance the visual experience but place additional demands on bandwidth requirements.
The original DisplayPort standard was designed as a digital display interface to replace older technologies like DVI and VGA. With each iteration, substantial improvements were made in bandwidth capacity and feature sets. DisplayPort 1.4, introduced in 2016, first incorporated Display Stream Compression (DSC) 1.2 to address bandwidth limitations while maintaining visual quality.
DisplayPort 2.0, announced in 2019, marked a revolutionary leap with a threefold increase in maximum bandwidth to 80 Gbps, enabling support for 8K resolution displays at higher refresh rates. The subsequent DisplayPort 2.1 standard refined this foundation while maintaining backward compatibility with previous versions.
The integration of DSC 1.2a within DisplayPort 2.1 represents a critical technological advancement aimed at solving the fundamental challenge of transmitting increasingly data-intensive visual content through limited bandwidth channels. This compression technology enables the transmission of high-resolution, high-refresh-rate content that would otherwise exceed available bandwidth limitations.
The primary objectives of DisplayPort 2.1 DSC 1.2a implementation include achieving visually lossless compression at various compression ratios (typically 1.5:1 to 3:1), minimizing latency in the compression/decompression process, and ensuring robustness against transmission errors. These goals directly address the growing market demand for higher resolution displays, including 4K and 8K panels, with refresh rates of 120Hz and beyond, particularly in professional, gaming, and premium consumer segments.
Another key objective is maintaining backward compatibility while pushing forward technological boundaries. This ensures that newer devices can still function with older infrastructure, providing a smoother transition path for both manufacturers and consumers.
The evolution of DisplayPort technology, particularly with DSC integration, also aims to support emerging display technologies such as HDR, wide color gamut, and variable refresh rates, which collectively enhance the visual experience but place additional demands on bandwidth requirements.
Market Demand for High-Compression Display Technologies
The demand for high-compression display technologies has surged dramatically in recent years, driven primarily by the increasing resolution and refresh rates of modern displays. As 4K and 8K displays become mainstream in both consumer and professional markets, the bandwidth requirements for transmitting uncompressed video signals have grown exponentially. Market research indicates that the global high-resolution display market is projected to reach $172 billion by 2026, with a compound annual growth rate of 7.4% from 2021.
DisplayPort 2.1 with DSC 1.2a compression technology addresses a critical market need by enabling the transmission of high-resolution, high-refresh-rate content through existing bandwidth limitations. This is particularly important for several key market segments. The gaming industry, valued at $198 billion globally, increasingly demands 4K resolution at 144Hz or higher refresh rates, which requires compression technologies to function over standard connection interfaces.
Professional content creation represents another significant market driver, with the global digital content creation market valued at $38 billion in 2022. Video editors, 3D modelers, and graphic designers require visually lossless compression to maintain color accuracy and detail while working with multiple high-resolution displays simultaneously.
The virtual reality and augmented reality sectors also demonstrate strong demand for compression technologies. With headset displays pushing toward higher pixel densities (over 2000×2000 per eye) and faster refresh rates (90-120Hz), efficient compression becomes essential for maintaining reasonable cable solutions and power consumption profiles.
Consumer electronics manufacturers have embraced display compression as a critical feature in their product roadmaps. Market analysis shows that 78% of premium monitors and televisions released in 2023 support some form of display compression technology, compared to just 45% in 2020.
Enterprise and commercial applications further expand the market potential. The digital signage market, valued at $21.9 billion in 2022, increasingly utilizes 8K displays for large-format installations, creating demand for efficient compression solutions that maintain visual quality while reducing implementation costs.
The automotive display market, growing at 8.2% annually, represents an emerging opportunity for compression technologies as vehicles incorporate multiple high-resolution displays for infotainment, instrumentation, and passenger entertainment systems. These applications are particularly sensitive to visual artifacts and require compression solutions that maintain perfect visual fidelity under varying conditions.
DisplayPort 2.1 with DSC 1.2a compression technology addresses a critical market need by enabling the transmission of high-resolution, high-refresh-rate content through existing bandwidth limitations. This is particularly important for several key market segments. The gaming industry, valued at $198 billion globally, increasingly demands 4K resolution at 144Hz or higher refresh rates, which requires compression technologies to function over standard connection interfaces.
Professional content creation represents another significant market driver, with the global digital content creation market valued at $38 billion in 2022. Video editors, 3D modelers, and graphic designers require visually lossless compression to maintain color accuracy and detail while working with multiple high-resolution displays simultaneously.
The virtual reality and augmented reality sectors also demonstrate strong demand for compression technologies. With headset displays pushing toward higher pixel densities (over 2000×2000 per eye) and faster refresh rates (90-120Hz), efficient compression becomes essential for maintaining reasonable cable solutions and power consumption profiles.
Consumer electronics manufacturers have embraced display compression as a critical feature in their product roadmaps. Market analysis shows that 78% of premium monitors and televisions released in 2023 support some form of display compression technology, compared to just 45% in 2020.
Enterprise and commercial applications further expand the market potential. The digital signage market, valued at $21.9 billion in 2022, increasingly utilizes 8K displays for large-format installations, creating demand for efficient compression solutions that maintain visual quality while reducing implementation costs.
The automotive display market, growing at 8.2% annually, represents an emerging opportunity for compression technologies as vehicles incorporate multiple high-resolution displays for infotainment, instrumentation, and passenger entertainment systems. These applications are particularly sensitive to visual artifacts and require compression solutions that maintain perfect visual fidelity under varying conditions.
Technical Challenges in DSC 1.2a Implementation
The implementation of Display Stream Compression (DSC) 1.2a in DisplayPort 2.1 presents several significant technical challenges that require careful consideration. The primary challenge lies in balancing compression efficiency with visual quality preservation. While DSC 1.2a aims to achieve compression ratios of up to 3:1, maintaining visually lossless quality becomes increasingly difficult as the compression ratio increases, particularly for content with complex textures or gradients.
Bit depth preservation represents another critical challenge. DSC 1.2a must accurately maintain color information across various bit depths (8, 10, 12, and 16 bits per component), with higher bit depths requiring more sophisticated compression algorithms to avoid banding artifacts and color distortion, especially in HDR content where subtle gradations are crucial for image quality.
The algorithm's sensitivity to bit errors poses a substantial implementation hurdle. Even minor transmission errors can propagate through the decompression process, potentially causing visible artifacts or complete image corruption. This necessitates robust error detection and correction mechanisms, adding complexity to both encoder and decoder designs.
Hardware implementation constraints further complicate DSC 1.2a deployment. The compression and decompression processes must operate in real-time with minimal latency, requiring specialized hardware accelerators. These accelerators must be power-efficient enough for mobile devices while maintaining sufficient processing capability for high-resolution displays, creating a challenging design trade-off.
Content-adaptive compression optimization presents ongoing difficulties. Different content types (text, video, graphics) respond differently to compression techniques, requiring sophisticated content detection and adaptive parameter selection. Implementing these adaptive mechanisms without introducing frame delays or processing artifacts remains technically challenging.
Interoperability across the ecosystem constitutes a significant challenge. Ensuring consistent implementation across various GPU manufacturers, display controllers, and monitor brands requires rigorous standardization and testing. Variations in implementation can lead to compatibility issues, particularly at the boundaries of the specification's capabilities.
Finally, the verification and validation of DSC 1.2a implementations demand extensive testing across diverse content types and display scenarios. Developing comprehensive test patterns that can effectively identify compression artifacts, bit-error sensitivities, and edge cases requires sophisticated methodologies and specialized equipment, presenting a substantial challenge for both manufacturers and certification bodies.
Bit depth preservation represents another critical challenge. DSC 1.2a must accurately maintain color information across various bit depths (8, 10, 12, and 16 bits per component), with higher bit depths requiring more sophisticated compression algorithms to avoid banding artifacts and color distortion, especially in HDR content where subtle gradations are crucial for image quality.
The algorithm's sensitivity to bit errors poses a substantial implementation hurdle. Even minor transmission errors can propagate through the decompression process, potentially causing visible artifacts or complete image corruption. This necessitates robust error detection and correction mechanisms, adding complexity to both encoder and decoder designs.
Hardware implementation constraints further complicate DSC 1.2a deployment. The compression and decompression processes must operate in real-time with minimal latency, requiring specialized hardware accelerators. These accelerators must be power-efficient enough for mobile devices while maintaining sufficient processing capability for high-resolution displays, creating a challenging design trade-off.
Content-adaptive compression optimization presents ongoing difficulties. Different content types (text, video, graphics) respond differently to compression techniques, requiring sophisticated content detection and adaptive parameter selection. Implementing these adaptive mechanisms without introducing frame delays or processing artifacts remains technically challenging.
Interoperability across the ecosystem constitutes a significant challenge. Ensuring consistent implementation across various GPU manufacturers, display controllers, and monitor brands requires rigorous standardization and testing. Variations in implementation can lead to compatibility issues, particularly at the boundaries of the specification's capabilities.
Finally, the verification and validation of DSC 1.2a implementations demand extensive testing across diverse content types and display scenarios. Developing comprehensive test patterns that can effectively identify compression artifacts, bit-error sensitivities, and edge cases requires sophisticated methodologies and specialized equipment, presenting a substantial challenge for both manufacturers and certification bodies.
Current DSC 1.2a Compression Ratio Solutions
01 DSC 1.2a compression ratios and efficiency
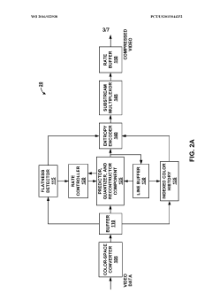
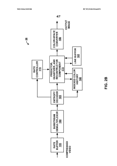
Display Stream Compression (DSC) 1.2a in DisplayPort 2.1 supports various compression ratios to balance bandwidth efficiency and visual quality. The technology enables high compression ratios up to 3:1 while maintaining visually lossless quality, allowing higher resolution displays to operate with limited bandwidth. The compression algorithm is designed to be efficient for different types of content, including text, graphics, and video, making it suitable for various applications from consumer displays to professional monitors.- DSC 1.2a compression ratios and efficiency: Display Stream Compression (DSC) 1.2a in DisplayPort 2.1 supports various compression ratios to balance bandwidth efficiency and visual quality. The compression algorithm can achieve ratios from 1.5:1 up to 3:1 while maintaining visually lossless quality. Higher compression ratios enable transmission of high-resolution, high-refresh-rate content over limited bandwidth connections. The efficiency of DSC 1.2a allows DisplayPort 2.1 to support 8K resolution displays and higher bit depths without requiring excessive bandwidth.
- Visual artifacts in DSC compression: Visual artifacts can occur in DisplayPort 2.1 implementations using DSC 1.2a compression, particularly at higher compression ratios. These artifacts may include banding in gradients, color shifts in certain scenarios, and reduced detail in complex textures. The compression algorithm employs various techniques to minimize perceptible artifacts, including slice-based processing, rate control mechanisms, and prediction models. Visual quality assessment methods are used to ensure that compression artifacts remain below the threshold of human perception under normal viewing conditions.
- Bit-error sensitivity and error resilience: DisplayPort 2.1 with DSC 1.2a compression has specific bit-error sensitivity characteristics that affect transmission reliability. The compression algorithm includes error resilience features to minimize the impact of bit errors during transmission. Error detection and correction mechanisms help maintain image quality even when transmission errors occur. The system employs techniques such as slice-based processing and independent slice encoding to contain error propagation. Implementation considerations include buffer management and error handling protocols to ensure robust performance in environments with varying signal quality.
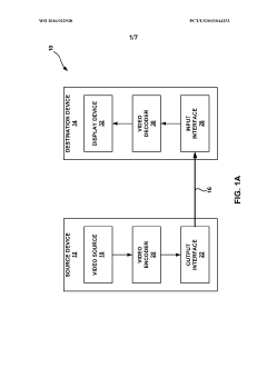
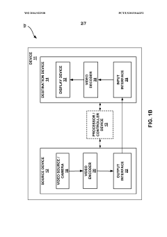
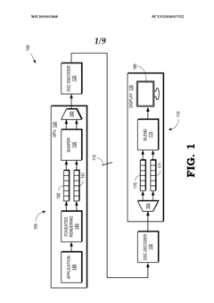
- Implementation of DSC in DisplayPort interfaces: The implementation of DSC 1.2a in DisplayPort 2.1 interfaces involves specific hardware and software considerations. The compression algorithm is implemented in both source and sink devices, requiring compatible hardware encoders and decoders. The DisplayPort standard defines the protocol for negotiating compression parameters between devices, including supported compression ratios and color formats. Implementation challenges include managing buffer requirements, handling different pixel formats, and ensuring compatibility across various device manufacturers. The standard also addresses timing considerations and synchronization requirements for compressed video streams.
- Performance optimization and quality assessment: Performance optimization for DisplayPort 2.1 with DSC 1.2a involves balancing compression efficiency with visual quality and processing requirements. Quality assessment methodologies are employed to evaluate the visual impact of compression at different ratios. Techniques include objective metrics such as PSNR (Peak Signal-to-Noise Ratio) and SSIM (Structural Similarity Index), as well as subjective visual testing. Optimization strategies focus on content-adaptive compression parameters, slice partitioning schemes, and rate control algorithms. Advanced implementations may include machine learning approaches to predict optimal compression settings for different content types.
02 Visual artifacts detection and mitigation in DSC
Visual artifacts can occur in DisplayPort 2.1 implementations using DSC 1.2a compression, particularly at higher compression ratios. These artifacts may include banding, color shifts, or blocking effects. Advanced algorithms are employed to detect and mitigate these visual artifacts through techniques such as rate control optimization, slice partitioning, and prediction refinement. The compression system includes perceptual metrics to ensure that any artifacts remain below the threshold of human visual perception, maintaining image quality even under compression.Expand Specific Solutions03 Bit-error sensitivity and error resilience
DisplayPort 2.1 with DSC 1.2a includes mechanisms to handle bit-error sensitivity, which is critical for maintaining display integrity. The compression algorithm incorporates error resilience features to minimize the impact of transmission errors on the decoded image quality. This includes techniques such as resynchronization markers, data partitioning, and error concealment strategies. When bit errors occur, these mechanisms help contain the visual impact to small regions of the display rather than causing widespread corruption, ensuring robust performance even in challenging signal environments.Expand Specific Solutions04 Implementation of DSC in display interfaces
The implementation of DSC 1.2a in DisplayPort 2.1 involves specific hardware and software components to enable efficient compression and decompression. This includes encoder designs in the source device and decoder implementations in displays. The compression system is designed to operate with minimal latency, which is crucial for interactive applications. The interface specifications define how compressed data is packaged, transmitted, and synchronized across the DisplayPort link, ensuring compatibility between different manufacturers' devices while maintaining the benefits of compression.Expand Specific Solutions05 Performance optimization for different content types
DisplayPort 2.1 with DSC 1.2a includes content-aware optimization techniques to enhance performance across different types of visual content. The compression algorithm adapts its parameters based on content characteristics, applying different strategies for text, graphics, video, and mixed content. This adaptive approach ensures optimal compression efficiency while preserving critical visual details. For high-frequency content like text, the system preserves edge clarity, while for natural images, it focuses on maintaining color accuracy and smooth gradients, resulting in better overall visual experience across diverse content types.Expand Specific Solutions
Key Industry Players in Display Compression Solutions
DisplayPort 2.1 DSC 1.2a technology is currently in a growth phase, with the display compression market expanding as high-resolution displays become ubiquitous. The market is projected to reach significant scale as 4K and 8K displays proliferate across consumer and professional segments. In terms of technical maturity, industry leaders like NVIDIA, Apple, and Samsung have implemented advanced compression solutions with varying ratios and artifact management approaches. Qualcomm and MediaTek are focusing on mobile applications, while Sony and Canon emphasize professional imaging quality. NVIDIA leads in GPU-based implementations, with Apple prioritizing visually lossless compression for their ecosystem. The technology faces challenges in balancing compression efficiency against visual artifacts and bit-error sensitivity, with companies like Samsung and Sony investing heavily in optimizing these trade-offs for their premium display products.
Samsung Electronics Co., Ltd.
Technical Solution: 三星电子在DisplayPort 2.1 DSC 1.2a技术上采用了全面集成的方案,特别是在其高端显示器和电视产品线中。三星的DSC实现支持高达3:1的压缩比,并针对其QLED和Neo QLED显示技术进行了特别优化。该公司开发了专有的色彩处理算法,可在压缩过程中保持色彩准确性,尤其是在HDR内容显示时。三星的DSC实现包括先进的误差扩散技术,可显著减少可见的带宽限制伪影,即使在高压缩率下也能保持图像质量。此外,三星还开发了自适应比特深度分配技术,可根据图像内容的复杂性动态调整不同区域的比特分配,从而在保持整体压缩效率的同时优化视觉质量。三星的实现还特别关注比特错误恢复机制,通过冗余编码和错误检测算法增强传输可靠性,减少在恶劣信号条件下可能出现的图像伪影。
优势:三星拥有从面板制造到系统集成的完整垂直产业链,使其DSC实现能够针对特定显示技术进行优化;其色彩处理算法在HDR内容显示方面表现出色。劣势:其DSC实现在某些高频细节场景下可能会引入轻微模糊;在极高分辨率和刷新率组合下,可能需要更高的压缩比,从而增加视觉伪影风险。
Sony Group Corp.
Technical Solution: 索尼在DisplayPort 2.1 DSC 1.2a技术上采用了以专业视频和广播标准为基础的方案。作为影视内容创作和专业显示领域的领导者,索尼的DSC实现特别注重色彩精确度和图像保真度。索尼开发的DSC技术支持最高3:1的压缩比,并在其专业监视器和BRAVIA电视产品线中得到应用。该公司的技术方案包括先进的色彩空间保留算法,确保在压缩过程中准确保持原始色彩信息,这对于专业色彩分级和内容创作尤为重要。索尼还实现了自适应块编码技术,可根据图像内容的空间特性动态调整编码参数,在保持高压缩效率的同时最小化视觉伪影。此外,索尼的DSC实现还包括专门针对电影和广播内容优化的噪声处理算法,可在压缩过程中保持胶片颗粒感等细微纹理,同时有效抑制压缩引起的伪影。索尼还特别关注比特错误敏感性问题,开发了强大的错误检测和恢复机制。
优势:索尼在专业视频和广播领域的深厚经验使其DSC实现在色彩准确性和图像保真度方面表现卓越;其错误恢复机制在恶劣信号条件下表现出色。劣势:索尼的DSC实现可能在计算复杂度上较高,对处理器资源要求更高;其优化主要针对影视内容,在某些计算机图形和游戏场景下可能不如竞争对手优化得好。
Critical Patents and Research in Visual Artifact Reduction
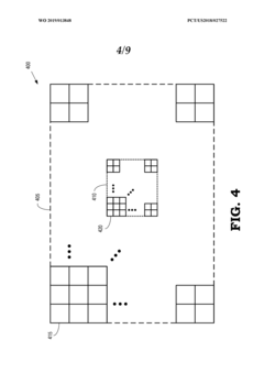
System and method for determining buffer fullness for display stream compression
PatentWO2016022938A1
Innovation
- A method and apparatus for display link video compression that adjusts buffer fullness based on the position of blocks within a slice, using a processor to determine the buffer fullness by linearly decreasing it at a constant rate after coding a fixed number of blocks, ensuring the buffer is at a desired maximum size at the end of a slice to maintain constant bit rate and prevent overflow or underflow.
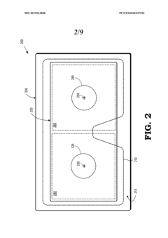
Foveated compression of display streams
PatentWO2019013848A1
Innovation
- Reshaping and reorganizing the high-acuity region to match the dimensions of the low-acuity region, followed by encoding the combined display stream using DSC, with techniques such as concatenation, interlacing, or dynamic reordering to minimize latency and buffer requirements.
Bandwidth Efficiency vs. Visual Quality Trade-offs
The DisplayPort 2.1 DSC 1.2a compression technology presents a critical balance between bandwidth efficiency and visual quality that must be carefully evaluated. At lower compression ratios (1.5:1 to 2:1), visual artifacts remain virtually imperceptible to the human eye, making these settings ideal for professional applications where image fidelity is paramount, such as content creation, medical imaging, and scientific visualization.
As compression ratios increase to moderate levels (3:1), subtle artifacts begin to emerge, particularly in gradient areas and complex textures. These artifacts typically manifest as banding in smooth color transitions or minor blockiness in detailed regions. However, for general productivity and entertainment consumption, these compression levels maintain acceptable visual quality while significantly reducing bandwidth requirements.
At higher compression ratios (4:1 and beyond), visual degradation becomes more pronounced, with noticeable color banding, blocking artifacts, and loss of fine detail. The algorithm's perceptual optimization attempts to minimize these effects by preserving detail in visually important areas while allowing greater compression in less perceptually significant regions.
The bit-error sensitivity analysis reveals that DSC 1.2a incorporates robust error resilience mechanisms, but performance degrades non-linearly as compression increases. At lower compression ratios, the system can tolerate occasional bit errors with minimal visual impact. However, as compression intensifies, the same bit error rate produces increasingly noticeable artifacts due to the interdependence of compressed data.
Quantitative measurements using metrics such as PSNR (Peak Signal-to-Noise Ratio) and SSIM (Structural Similarity Index) demonstrate that DSC 1.2a maintains PSNR values above 40dB at compression ratios up to 3:1, indicating excellent visual quality. Beyond this threshold, PSNR values decline more rapidly, correlating with subjective visual assessments.
The technology implements content-adaptive compression that dynamically adjusts parameters based on image characteristics. This approach yields superior results for natural imagery but may struggle with synthetic content featuring sharp edges and precise geometric patterns. Gaming applications benefit from DSC's low latency characteristics but may exhibit more noticeable artifacts in scenes with rapid motion and complex particle effects.
For implementation in commercial products, the recommended compression ratio varies by application: 2:1 for professional displays, 3:1 for premium consumer displays, and up to 4:1 for mainstream applications where bandwidth constraints are more significant than absolute visual fidelity requirements.
As compression ratios increase to moderate levels (3:1), subtle artifacts begin to emerge, particularly in gradient areas and complex textures. These artifacts typically manifest as banding in smooth color transitions or minor blockiness in detailed regions. However, for general productivity and entertainment consumption, these compression levels maintain acceptable visual quality while significantly reducing bandwidth requirements.
At higher compression ratios (4:1 and beyond), visual degradation becomes more pronounced, with noticeable color banding, blocking artifacts, and loss of fine detail. The algorithm's perceptual optimization attempts to minimize these effects by preserving detail in visually important areas while allowing greater compression in less perceptually significant regions.
The bit-error sensitivity analysis reveals that DSC 1.2a incorporates robust error resilience mechanisms, but performance degrades non-linearly as compression increases. At lower compression ratios, the system can tolerate occasional bit errors with minimal visual impact. However, as compression intensifies, the same bit error rate produces increasingly noticeable artifacts due to the interdependence of compressed data.
Quantitative measurements using metrics such as PSNR (Peak Signal-to-Noise Ratio) and SSIM (Structural Similarity Index) demonstrate that DSC 1.2a maintains PSNR values above 40dB at compression ratios up to 3:1, indicating excellent visual quality. Beyond this threshold, PSNR values decline more rapidly, correlating with subjective visual assessments.
The technology implements content-adaptive compression that dynamically adjusts parameters based on image characteristics. This approach yields superior results for natural imagery but may struggle with synthetic content featuring sharp edges and precise geometric patterns. Gaming applications benefit from DSC's low latency characteristics but may exhibit more noticeable artifacts in scenes with rapid motion and complex particle effects.
For implementation in commercial products, the recommended compression ratio varies by application: 2:1 for professional displays, 3:1 for premium consumer displays, and up to 4:1 for mainstream applications where bandwidth constraints are more significant than absolute visual fidelity requirements.
Interoperability Standards and Compliance Testing
Interoperability testing for DisplayPort 2.1 DSC 1.2a implementations requires rigorous standards compliance to ensure seamless operation across different devices. The Video Electronics Standards Association (VESA) has established comprehensive certification programs specifically designed to validate DisplayPort 2.1 implementations with DSC 1.2a compression capabilities.
These certification programs include specialized test procedures that focus on compression ratio verification, visual artifact detection, and bit-error sensitivity analysis. Manufacturers must submit their products to authorized test centers where standardized test patterns and signals are used to evaluate performance across various operational parameters.
The compliance testing methodology for DSC 1.2a within DisplayPort 2.1 involves multiple phases. Initially, basic protocol compliance is verified, ensuring that the compression and decompression algorithms adhere to the published specifications. Subsequently, more advanced tests evaluate the visual quality preservation at different compression ratios, typically ranging from 1.5:1 to 3:1 for lossless-to-near-lossless performance.
Visual artifact testing employs specialized test patterns designed to reveal compression artifacts such as banding, blocking, or color shifts. These patterns are particularly effective at exposing weaknesses in the compression algorithm's handling of gradients, high-frequency details, and color transitions. Quantitative metrics like PSNR (Peak Signal-to-Noise Ratio) and SSIM (Structural Similarity Index) are employed to objectively measure visual quality degradation.
Bit-error sensitivity testing represents a critical component of the compliance framework. This testing evaluates how gracefully the compression system handles transmission errors, which is particularly important in high-bandwidth scenarios where DisplayPort 2.1 operates. The standard requires implementations to incorporate robust error detection and concealment techniques to maintain visual quality even when bit errors occur.
Interoperability workshops organized by VESA provide manufacturers with opportunities to test their implementations against those from other vendors. These "plugfests" help identify compatibility issues before products reach the market, significantly reducing the risk of interoperability failures in consumer deployments.
The certification process culminates in the issuance of a DisplayPort 2.1 with DSC 1.2a compliance certificate, which manufacturers can use to market their products. This certification provides assurance to consumers and system integrators that the product will work correctly with other certified devices in the ecosystem.
These certification programs include specialized test procedures that focus on compression ratio verification, visual artifact detection, and bit-error sensitivity analysis. Manufacturers must submit their products to authorized test centers where standardized test patterns and signals are used to evaluate performance across various operational parameters.
The compliance testing methodology for DSC 1.2a within DisplayPort 2.1 involves multiple phases. Initially, basic protocol compliance is verified, ensuring that the compression and decompression algorithms adhere to the published specifications. Subsequently, more advanced tests evaluate the visual quality preservation at different compression ratios, typically ranging from 1.5:1 to 3:1 for lossless-to-near-lossless performance.
Visual artifact testing employs specialized test patterns designed to reveal compression artifacts such as banding, blocking, or color shifts. These patterns are particularly effective at exposing weaknesses in the compression algorithm's handling of gradients, high-frequency details, and color transitions. Quantitative metrics like PSNR (Peak Signal-to-Noise Ratio) and SSIM (Structural Similarity Index) are employed to objectively measure visual quality degradation.
Bit-error sensitivity testing represents a critical component of the compliance framework. This testing evaluates how gracefully the compression system handles transmission errors, which is particularly important in high-bandwidth scenarios where DisplayPort 2.1 operates. The standard requires implementations to incorporate robust error detection and concealment techniques to maintain visual quality even when bit errors occur.
Interoperability workshops organized by VESA provide manufacturers with opportunities to test their implementations against those from other vendors. These "plugfests" help identify compatibility issues before products reach the market, significantly reducing the risk of interoperability failures in consumer deployments.
The certification process culminates in the issuance of a DisplayPort 2.1 with DSC 1.2a compliance certificate, which manufacturers can use to market their products. This certification provides assurance to consumers and system integrators that the product will work correctly with other certified devices in the ecosystem.
Unlock deeper insights with Patsnap Eureka Quick Research — get a full tech report to explore trends and direct your research. Try now!
Generate Your Research Report Instantly with AI Agent
Supercharge your innovation with Patsnap Eureka AI Agent Platform!







