HDR10 vs Dolby Vision: Advances in Digital Signal Processing
OCT 24, 20259 MIN READ
 Generate Your Research Report Instantly with AI Agent 
 Patsnap Eureka helps you evaluate technical feasibility & market potential. 
HDR Technology Evolution and Objectives
High Dynamic Range (HDR) imaging technology has evolved significantly since its inception in the early 2000s, transforming from a theoretical concept to a mainstream feature in modern display technologies. The fundamental principle behind HDR is to expand the range of luminance and color that can be reproduced, more closely mimicking the human visual experience. Traditional Standard Dynamic Range (SDR) content typically operates within a limited brightness range of 0-100 nits, whereas contemporary HDR technologies can display content with brightness levels exceeding 1,000 nits, with some premium displays reaching up to 4,000 nits.
The evolution of HDR technology can be traced through several key milestones. The initial research phase in the early 2000s focused on theoretical frameworks for expanded dynamic range in digital imaging. By 2012, the first commercial HDR displays began to emerge, though with limited content availability. The watershed moment came in 2014-2015 with the establishment of the HDR10 standard, which provided an open format for content creators and device manufacturers.
Dolby Vision, introduced around the same time, represented a proprietary alternative with more advanced technical capabilities, including dynamic metadata that allows for frame-by-frame optimization. This technological divergence has shaped the subsequent development landscape, with HDR10+ emerging as an open standard competitor to Dolby Vision's capabilities.
The primary objective of HDR technology development has been to bridge the gap between human visual perception and digital display capabilities. The human eye can perceive approximately 14 stops of dynamic range simultaneously, while traditional displays could reproduce only about 6-8 stops. Modern HDR technologies aim to narrow this disparity, providing viewers with a more immersive and realistic visual experience.
Current technical objectives in the HDR space focus on several key areas: increasing peak brightness capabilities while maintaining energy efficiency; expanding color gamut coverage to encompass more of the visible spectrum; improving tone mapping algorithms for optimal content display across diverse hardware; and enhancing metadata processing for more precise content rendering. Additionally, there is significant emphasis on backward compatibility, ensuring that HDR content can degrade gracefully on SDR displays.
The competitive landscape between HDR10 and Dolby Vision represents two distinct philosophical approaches to digital signal processing. HDR10 employs static metadata applied uniformly across an entire piece of content, while Dolby Vision utilizes dynamic metadata that can adjust parameters on a scene-by-scene or even frame-by-frame basis. This fundamental difference in signal processing methodology has far-reaching implications for content creation workflows, display hardware requirements, and ultimately, the viewer experience.
The evolution of HDR technology can be traced through several key milestones. The initial research phase in the early 2000s focused on theoretical frameworks for expanded dynamic range in digital imaging. By 2012, the first commercial HDR displays began to emerge, though with limited content availability. The watershed moment came in 2014-2015 with the establishment of the HDR10 standard, which provided an open format for content creators and device manufacturers.
Dolby Vision, introduced around the same time, represented a proprietary alternative with more advanced technical capabilities, including dynamic metadata that allows for frame-by-frame optimization. This technological divergence has shaped the subsequent development landscape, with HDR10+ emerging as an open standard competitor to Dolby Vision's capabilities.
The primary objective of HDR technology development has been to bridge the gap between human visual perception and digital display capabilities. The human eye can perceive approximately 14 stops of dynamic range simultaneously, while traditional displays could reproduce only about 6-8 stops. Modern HDR technologies aim to narrow this disparity, providing viewers with a more immersive and realistic visual experience.
Current technical objectives in the HDR space focus on several key areas: increasing peak brightness capabilities while maintaining energy efficiency; expanding color gamut coverage to encompass more of the visible spectrum; improving tone mapping algorithms for optimal content display across diverse hardware; and enhancing metadata processing for more precise content rendering. Additionally, there is significant emphasis on backward compatibility, ensuring that HDR content can degrade gracefully on SDR displays.
The competitive landscape between HDR10 and Dolby Vision represents two distinct philosophical approaches to digital signal processing. HDR10 employs static metadata applied uniformly across an entire piece of content, while Dolby Vision utilizes dynamic metadata that can adjust parameters on a scene-by-scene or even frame-by-frame basis. This fundamental difference in signal processing methodology has far-reaching implications for content creation workflows, display hardware requirements, and ultimately, the viewer experience.
Market Demand Analysis for Advanced Display Technologies
The demand for advanced display technologies featuring HDR (High Dynamic Range) capabilities has witnessed substantial growth in recent years, driven by consumers' increasing appetite for premium visual experiences across various platforms. Market research indicates that the global HDR TV market reached approximately $25 billion in 2022, with projections suggesting growth to $40 billion by 2027, representing a compound annual growth rate of 9.8%.
Consumer electronics retailers report that HDR-capable devices command price premiums of 15-30% compared to standard dynamic range alternatives, demonstrating strong market willingness to pay for enhanced visual experiences. This premium pricing has created significant revenue opportunities for manufacturers and content providers alike, spurring further investment in the ecosystem.
Content availability has emerged as a critical driver of HDR technology adoption. Major streaming platforms including Netflix, Amazon Prime, and Disney+ have expanded their HDR content libraries substantially, with Netflix alone offering over 2,000 hours of HDR content as of 2023. The gaming industry has similarly embraced HDR technology, with next-generation consoles and PC graphics cards featuring HDR support as standard specifications.
Between the competing HDR formats, market research indicates Dolby Vision currently holds approximately 35% market share in premium television segments, while HDR10 and HDR10+ collectively account for 60%. The remaining 5% consists of niche formats and hybrid implementations. This fragmentation presents challenges for content creators who must often master content in multiple formats to ensure broad compatibility.
Regional analysis reveals varying adoption patterns, with North America and Western Europe leading in HDR technology penetration at 45% and 38% of new display purchases respectively. Asia-Pacific markets are experiencing the fastest growth rates, particularly in China, South Korea, and Japan, where domestic manufacturers have aggressively promoted HDR technologies.
Industry forecasts suggest that by 2025, over 70% of all new televisions sold globally will support at least one HDR format, with premium models increasingly supporting multiple formats. The commercial display sector is also beginning to adopt HDR technology, particularly in digital signage, medical imaging, and professional creative workflows, expanding the total addressable market beyond consumer applications.
The emergence of advanced display technologies like microLED and QD-OLED is further accelerating HDR adoption, as these technologies inherently support the wider color gamuts and higher brightness levels required for optimal HDR performance. This technological convergence is expected to drive the next wave of premium display purchases as consumers seek to future-proof their investments.
Consumer electronics retailers report that HDR-capable devices command price premiums of 15-30% compared to standard dynamic range alternatives, demonstrating strong market willingness to pay for enhanced visual experiences. This premium pricing has created significant revenue opportunities for manufacturers and content providers alike, spurring further investment in the ecosystem.
Content availability has emerged as a critical driver of HDR technology adoption. Major streaming platforms including Netflix, Amazon Prime, and Disney+ have expanded their HDR content libraries substantially, with Netflix alone offering over 2,000 hours of HDR content as of 2023. The gaming industry has similarly embraced HDR technology, with next-generation consoles and PC graphics cards featuring HDR support as standard specifications.
Between the competing HDR formats, market research indicates Dolby Vision currently holds approximately 35% market share in premium television segments, while HDR10 and HDR10+ collectively account for 60%. The remaining 5% consists of niche formats and hybrid implementations. This fragmentation presents challenges for content creators who must often master content in multiple formats to ensure broad compatibility.
Regional analysis reveals varying adoption patterns, with North America and Western Europe leading in HDR technology penetration at 45% and 38% of new display purchases respectively. Asia-Pacific markets are experiencing the fastest growth rates, particularly in China, South Korea, and Japan, where domestic manufacturers have aggressively promoted HDR technologies.
Industry forecasts suggest that by 2025, over 70% of all new televisions sold globally will support at least one HDR format, with premium models increasingly supporting multiple formats. The commercial display sector is also beginning to adopt HDR technology, particularly in digital signage, medical imaging, and professional creative workflows, expanding the total addressable market beyond consumer applications.
The emergence of advanced display technologies like microLED and QD-OLED is further accelerating HDR adoption, as these technologies inherently support the wider color gamuts and higher brightness levels required for optimal HDR performance. This technological convergence is expected to drive the next wave of premium display purchases as consumers seek to future-proof their investments.
Current HDR Standards and Technical Limitations
The current HDR (High Dynamic Range) landscape is characterized by several competing standards, each with distinct technical specifications and limitations. HDR10, as the most widely adopted standard, utilizes static metadata and supports 10-bit color depth, allowing for approximately 1.07 billion colors. However, its static metadata approach means that brightness parameters are set once for the entire content, preventing scene-by-scene optimization and potentially compromising visual quality in mixed brightness content.
Dolby Vision addresses this limitation through dynamic metadata implementation, enabling frame-by-frame or scene-by-scene brightness adjustments. Supporting 12-bit color depth (68.7 billion colors), Dolby Vision theoretically offers superior color gradation and reduced banding effects. Nevertheless, this advanced capability requires specialized hardware encoding/decoding solutions, increasing implementation costs for manufacturers and content creators.
HDR10+ emerged as Samsung's response to Dolby Vision, incorporating dynamic metadata while maintaining HDR10's 10-bit color depth. While this represents an improvement over standard HDR10, it still falls short of Dolby Vision's color precision capabilities. Additionally, HDR10+ faces adoption challenges due to its later market entry and more limited content ecosystem.
HLG (Hybrid Log-Gamma), developed by BBC and NHK, offers backward compatibility with SDR displays but sacrifices some peak brightness capabilities compared to other standards. Its primary advantage lies in broadcast applications, though it lacks the precision of metadata-driven approaches for optimized content presentation.
Technical limitations span across all current HDR standards. Display technology constraints remain significant, with consumer displays typically achieving 1,000-4,000 nits brightness, far below the theoretical HDR capability of 10,000 nits. This creates a mastering dilemma where content optimized for professional reference monitors may not translate effectively to consumer displays.
Color volume mapping presents another critical challenge, particularly when translating wide color gamut content to displays with more limited capabilities. Current tone mapping algorithms often struggle to preserve creative intent while adapting to display limitations, resulting in potential detail loss in highlight and shadow regions.
Metadata handling inconsistencies across the playback chain further complicate HDR implementation. Signal processing variations between different display manufacturers can lead to inconsistent viewing experiences despite identical source content. This interoperability issue remains particularly problematic in multi-vendor environments and streaming platforms where end-to-end control is limited.
Dolby Vision addresses this limitation through dynamic metadata implementation, enabling frame-by-frame or scene-by-scene brightness adjustments. Supporting 12-bit color depth (68.7 billion colors), Dolby Vision theoretically offers superior color gradation and reduced banding effects. Nevertheless, this advanced capability requires specialized hardware encoding/decoding solutions, increasing implementation costs for manufacturers and content creators.
HDR10+ emerged as Samsung's response to Dolby Vision, incorporating dynamic metadata while maintaining HDR10's 10-bit color depth. While this represents an improvement over standard HDR10, it still falls short of Dolby Vision's color precision capabilities. Additionally, HDR10+ faces adoption challenges due to its later market entry and more limited content ecosystem.
HLG (Hybrid Log-Gamma), developed by BBC and NHK, offers backward compatibility with SDR displays but sacrifices some peak brightness capabilities compared to other standards. Its primary advantage lies in broadcast applications, though it lacks the precision of metadata-driven approaches for optimized content presentation.
Technical limitations span across all current HDR standards. Display technology constraints remain significant, with consumer displays typically achieving 1,000-4,000 nits brightness, far below the theoretical HDR capability of 10,000 nits. This creates a mastering dilemma where content optimized for professional reference monitors may not translate effectively to consumer displays.
Color volume mapping presents another critical challenge, particularly when translating wide color gamut content to displays with more limited capabilities. Current tone mapping algorithms often struggle to preserve creative intent while adapting to display limitations, resulting in potential detail loss in highlight and shadow regions.
Metadata handling inconsistencies across the playback chain further complicate HDR implementation. Signal processing variations between different display manufacturers can lead to inconsistent viewing experiences despite identical source content. This interoperability issue remains particularly problematic in multi-vendor environments and streaming platforms where end-to-end control is limited.
Technical Comparison of HDR10 and Dolby Vision
- 01 HDR10 and Dolby Vision signal processing techniquesDigital signal processing techniques specific to HDR10 and Dolby Vision formats involve specialized algorithms for handling high dynamic range content. These techniques include tone mapping, color space conversion, and brightness adjustment to properly display HDR content across different devices. The processing ensures optimal visual quality while maintaining compatibility with various display technologies.- HDR10 and Dolby Vision signal processing techniques: Digital signal processing techniques specific to HDR10 and Dolby Vision formats involve specialized algorithms for handling high dynamic range content. These techniques include tone mapping, color space conversion, and brightness adjustment to properly display HDR content across different devices. The processing ensures optimal visual quality while maintaining compatibility with various display technologies.
- Color processing and enhancement for HDR formats: Advanced color processing methods are essential for HDR10 and Dolby Vision to achieve wider color gamuts and more accurate color reproduction. These methods include color grading, gamut mapping, and color enhancement algorithms that process digital signals to deliver more vibrant and realistic colors while maintaining the creator's intent across different display capabilities.
- Signal compression and transmission for HDR content: Specialized compression algorithms and transmission protocols are used to efficiently handle the increased data requirements of HDR10 and Dolby Vision content. These digital signal processing techniques optimize bandwidth usage while preserving the high dynamic range and wide color gamut information essential for HDR viewing experiences.
- Display adaptation and device-specific processing: Signal processing methods that adapt HDR10 and Dolby Vision content to different display capabilities and viewing environments. These techniques include dynamic range adaptation, display-specific tone mapping, and brightness adjustment to ensure optimal viewing experience across various devices with different peak brightness levels and color reproduction capabilities.
- Audio-visual synchronization and integration: Digital signal processing techniques for synchronizing and integrating high-quality audio with HDR10 and Dolby Vision video content. These methods ensure proper timing between audio and visual elements while handling the complex metadata associated with both HDR formats, creating a cohesive and immersive viewing experience.
 
- 02 Color processing and enhancement in HDR formatsColor processing methods for HDR formats involve advanced algorithms for wide color gamut handling, color volume mapping, and enhancement. These techniques ensure accurate color reproduction across different display capabilities while preserving the creator's intent. The processing includes color transformation matrices, gamut mapping, and color enhancement specific to HDR10 and Dolby Vision standards.Expand Specific Solutions
- 03 Audio-visual synchronization in HDR content deliveryMethods for maintaining synchronization between audio and visual components in HDR content delivery systems. These techniques address the additional processing time required for HDR video rendering while ensuring that audio remains perfectly synchronized. The solutions include buffer management, timing reference signals, and adaptive delay mechanisms specific to high dynamic range content delivery systems.Expand Specific Solutions
- 04 Metadata processing for dynamic range adaptationProcessing techniques for handling metadata in HDR formats that enable dynamic adaptation of content to different display capabilities. These methods involve parsing, interpreting, and applying scene-by-scene or frame-by-frame metadata to optimize content rendering. The processing includes dynamic tone mapping based on content characteristics and display capabilities to preserve creative intent across various viewing environments.Expand Specific Solutions
- 05 Compression and bandwidth optimization for HDR contentSpecialized compression algorithms and bandwidth optimization techniques for HDR10 and Dolby Vision content. These methods address the increased data requirements of HDR formats while maintaining visual quality. The techniques include adaptive bit allocation, perceptual quantization, and efficient encoding of HDR-specific metadata to enable transmission over limited bandwidth channels while preserving the enhanced dynamic range and color information.Expand Specific Solutions
Key Industry Players in HDR Ecosystem
The HDR10 vs Dolby Vision competition represents a maturing market in digital signal processing for enhanced video experiences, currently in a growth phase with increasing adoption across consumer electronics. The market is expanding rapidly as content creators and device manufacturers embrace high dynamic range technologies. Samsung Electronics and Sony lead HDR10 implementation with open standard advantages, while Dolby Laboratories drives Dolby Vision's premium positioning through proprietary technology offering superior color depth and dynamic metadata. Other significant players include LG Electronics, Panasonic, and TCL, who are diversifying their support across both standards. Chinese manufacturers like Huawei are increasingly influential, particularly in emerging markets, while content providers and streaming platforms continue to shape technology adoption through their implementation choices.
Samsung Electronics Co., Ltd.
Technical Solution:  Samsung has pioneered HDR10+ technology as an evolution of the open HDR10 standard, implementing dynamic metadata capabilities while maintaining an open, royalty-free ecosystem. Their approach utilizes scene-by-scene optimization through dynamic tone mapping that adjusts brightness levels up to 4,000 nits. Samsung's implementation incorporates advanced local dimming algorithms that precisely control backlight zones to enhance contrast ratios while minimizing blooming effects. Their Quantum Processor leverages AI-based machine learning to analyze content and optimize HDR rendering in real-time, upscaling lower resolution content to near-HDR quality. Samsung has also developed specialized color volume mapping techniques that maintain color accuracy across their wide color gamut displays, particularly in their QLED technology which achieves up to 100% color volume in the DCI-P3 space[2][5].
Strengths: Royalty-free implementation; wide industry adoption; compatible with existing HDR10 content; optimized for Samsung's display technologies. Weaknesses: Lower peak brightness capabilities than Dolby Vision; less granular metadata; not as widely supported in professional content creation; variable implementation quality across different manufacturers.
Dolby Laboratories Licensing Corp.
Technical Solution:  Dolby Vision employs a sophisticated dynamic metadata approach that optimizes content on a frame-by-frame basis, utilizing a 12-bit color depth system capable of displaying up to 68.7 billion colors. The technology implements perceptual quantization (PQ) EOTF (Electro-Optical Transfer Function) which more closely matches human visual perception than traditional gamma curves. Dolby's proprietary algorithm analyzes each frame to determine optimal brightness, contrast, and color settings, with metadata carrying precise instructions for how each scene should be displayed. This dynamic mapping allows content to be optimized for the specific capabilities of each display device, maintaining creative intent across various hardware specifications. Dolby Vision IQ further enhances this capability by incorporating ambient light sensors to adjust HDR performance based on viewing environment conditions[1][3].
Strengths: Superior dynamic range (up to 10,000 nits peak brightness); frame-by-frame optimization; backward compatibility with HDR10; preserves creative intent across devices. Weaknesses: Requires licensing fees; more complex implementation; higher processing requirements; needs compatible hardware throughout the production and display chain.
Core DSP Innovations in HDR Implementation
Frame-rate scalable video coding 
PatentActiveUS20240179328A1
 Innovation 
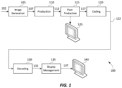
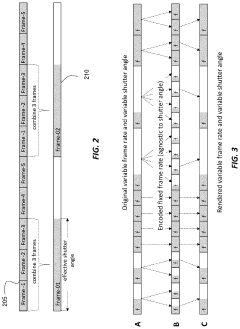
- The development of a system that allows for frame-rate scalability in video coding, enabling the decoding of video frames at different frame rates and shutter angles by combining original frames and using metadata to signal the original frame rate and shutter angle, thereby supporting variable frame rates within a fixed frame rate container.
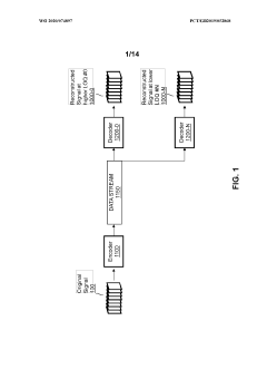
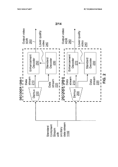
Dynamic range support within a multi-layer hierarchical coding scheme 
PatentWO2020074897A1
 Innovation 
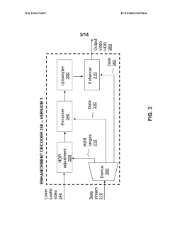
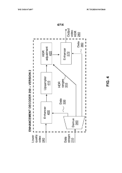
- A method for encoding and decoding that converts HDR signals to Standard Dynamic Range (SDR) and back, allowing for flexible streaming of HDR information and mitigating codec inaccuracies and artefacts, while ensuring backwards compatibility and reducing bandwidth requirements through hierarchical coding schemes.
Content Creation Pipeline for HDR Technologies
The HDR content creation pipeline represents a sophisticated workflow that transforms standard dynamic range (SDR) content into high dynamic range formats, specifically tailored for HDR10 and Dolby Vision technologies. This process begins with acquisition, where cinematographers utilize specialized cameras capable of capturing wider brightness ranges and color gamuts, such as ARRI Alexa, RED Digital Cinema, or Sony Venice cameras that can record in log formats preserving highlight and shadow details.
Following acquisition, the color grading stage becomes critical in the HDR pipeline. Colorists work with professional-grade monitors that support at least 1,000 nits peak brightness for HDR10 and potentially higher for Dolby Vision content. This stage involves precise manipulation of luminance values, with particular attention to specular highlights that can now be rendered with greater realism rather than being clipped as in SDR workflows.
For HDR10 implementation, content creators establish static metadata including MaxCLL (Maximum Content Light Level) and MaxFALL (Maximum Frame-Average Light Level), which guide display devices on how to present the content. Conversely, Dolby Vision employs a more sophisticated approach with dynamic metadata that can adjust brightness levels on a scene-by-scene or even frame-by-frame basis, requiring additional processing during post-production.
The mastering process differs significantly between these technologies. HDR10 content is typically mastered at 1,000 nits peak brightness with a fixed PQ (Perceptual Quantizer) curve, while Dolby Vision offers greater flexibility with mastering capabilities up to 10,000 nits. Dolby Vision's workflow also includes the creation of a content mapping unit (CMU) that contains instructions for optimal rendering across various display capabilities.
Quality control represents another crucial pipeline component, where specialized tools verify compliance with format specifications. Engineers check for proper implementation of metadata, color volume utilization, and appropriate handling of transitions between scenes with dramatically different brightness levels to prevent viewer discomfort.
The final encoding stage incorporates the appropriate metadata packages into the video stream. For distribution, HDR10 content utilizes standard 10-bit HEVC encoding with static metadata, while Dolby Vision requires additional layers containing the dynamic metadata that enables its enhanced adaptation capabilities. This fundamental difference in metadata handling represents one of the most significant technical distinctions in the processing pipelines of these competing HDR technologies.
Following acquisition, the color grading stage becomes critical in the HDR pipeline. Colorists work with professional-grade monitors that support at least 1,000 nits peak brightness for HDR10 and potentially higher for Dolby Vision content. This stage involves precise manipulation of luminance values, with particular attention to specular highlights that can now be rendered with greater realism rather than being clipped as in SDR workflows.
For HDR10 implementation, content creators establish static metadata including MaxCLL (Maximum Content Light Level) and MaxFALL (Maximum Frame-Average Light Level), which guide display devices on how to present the content. Conversely, Dolby Vision employs a more sophisticated approach with dynamic metadata that can adjust brightness levels on a scene-by-scene or even frame-by-frame basis, requiring additional processing during post-production.
The mastering process differs significantly between these technologies. HDR10 content is typically mastered at 1,000 nits peak brightness with a fixed PQ (Perceptual Quantizer) curve, while Dolby Vision offers greater flexibility with mastering capabilities up to 10,000 nits. Dolby Vision's workflow also includes the creation of a content mapping unit (CMU) that contains instructions for optimal rendering across various display capabilities.
Quality control represents another crucial pipeline component, where specialized tools verify compliance with format specifications. Engineers check for proper implementation of metadata, color volume utilization, and appropriate handling of transitions between scenes with dramatically different brightness levels to prevent viewer discomfort.
The final encoding stage incorporates the appropriate metadata packages into the video stream. For distribution, HDR10 content utilizes standard 10-bit HEVC encoding with static metadata, while Dolby Vision requires additional layers containing the dynamic metadata that enables its enhanced adaptation capabilities. This fundamental difference in metadata handling represents one of the most significant technical distinctions in the processing pipelines of these competing HDR technologies.
Display Hardware Requirements and Compatibility
The implementation of HDR10 and Dolby Vision technologies necessitates specific hardware requirements that significantly impact display compatibility and performance. Modern displays must support a minimum of 10-bit color depth to properly render HDR10 content, while Dolby Vision's dynamic metadata approach typically requires more sophisticated processing capabilities.
For HDR10 compatibility, displays need to achieve a peak brightness of at least 1,000 nits, though many consumer-grade displays operate in the 600-700 nit range. The BT.2020 color gamut support is also essential, although most current displays achieve approximately 90% of DCI-P3 coverage, which represents about 70% of the BT.2020 specification.
Dolby Vision raises these hardware requirements further, with professional reference monitors supporting up to 12-bit color depth and peak brightness levels exceeding 4,000 nits. The technology's frame-by-frame metadata processing demands more powerful system-on-chip (SoC) solutions and dedicated image processing units.
Display panel technologies also factor significantly into HDR compatibility. OLED displays excel in contrast ratio capabilities due to their ability to produce perfect blacks, but typically offer lower peak brightness than their LCD counterparts. Conversely, quantum dot-enhanced LCD displays (QLED) can achieve higher brightness levels but struggle with localized dimming precision.
The signal processing pipeline represents another critical hardware consideration. Both technologies require HDMI 2.0a or newer for proper transmission, with Dolby Vision often benefiting from HDMI 2.1's increased bandwidth. Additionally, displays must incorporate specialized tone-mapping processors to adapt content to the specific capabilities of each display.
Backward compatibility presents varying challenges between the two standards. HDR10 displays cannot properly render Dolby Vision content without significant quality loss, while Dolby Vision-capable displays can process HDR10 signals through built-in conversion algorithms. This asymmetric compatibility situation has significant implications for consumer purchasing decisions and content distribution strategies.
Manufacturing complexity and associated costs represent the final major hardware consideration. Dolby Vision's licensing requirements and more demanding specifications typically increase production expenses by 15-30% compared to HDR10-only displays, creating distinct market segmentation between premium and mid-range display options.
For HDR10 compatibility, displays need to achieve a peak brightness of at least 1,000 nits, though many consumer-grade displays operate in the 600-700 nit range. The BT.2020 color gamut support is also essential, although most current displays achieve approximately 90% of DCI-P3 coverage, which represents about 70% of the BT.2020 specification.
Dolby Vision raises these hardware requirements further, with professional reference monitors supporting up to 12-bit color depth and peak brightness levels exceeding 4,000 nits. The technology's frame-by-frame metadata processing demands more powerful system-on-chip (SoC) solutions and dedicated image processing units.
Display panel technologies also factor significantly into HDR compatibility. OLED displays excel in contrast ratio capabilities due to their ability to produce perfect blacks, but typically offer lower peak brightness than their LCD counterparts. Conversely, quantum dot-enhanced LCD displays (QLED) can achieve higher brightness levels but struggle with localized dimming precision.
The signal processing pipeline represents another critical hardware consideration. Both technologies require HDMI 2.0a or newer for proper transmission, with Dolby Vision often benefiting from HDMI 2.1's increased bandwidth. Additionally, displays must incorporate specialized tone-mapping processors to adapt content to the specific capabilities of each display.
Backward compatibility presents varying challenges between the two standards. HDR10 displays cannot properly render Dolby Vision content without significant quality loss, while Dolby Vision-capable displays can process HDR10 signals through built-in conversion algorithms. This asymmetric compatibility situation has significant implications for consumer purchasing decisions and content distribution strategies.
Manufacturing complexity and associated costs represent the final major hardware consideration. Dolby Vision's licensing requirements and more demanding specifications typically increase production expenses by 15-30% compared to HDR10-only displays, creating distinct market segmentation between premium and mid-range display options.
 Unlock deeper insights with  Patsnap Eureka Quick Research — get a full tech report to explore trends and direct your research. Try now! 
 Generate Your Research Report Instantly with AI Agent 
 Supercharge your innovation with Patsnap Eureka AI Agent Platform! 






