The Catalyst Role in HDR10 vs Dolby Vision Film Processing
OCT 24, 20258 MIN READ
 Generate Your Research Report Instantly with AI Agent 
 Patsnap Eureka helps you evaluate technical feasibility & market potential. 
HDR Technology Evolution and Objectives
High Dynamic Range (HDR) technology represents a significant advancement in visual media, evolving from its conceptual origins in the early 2000s to becoming a mainstream feature in modern displays. The fundamental objective of HDR is to expand the dynamic range of visual content, allowing for greater contrast between the brightest highlights and darkest shadows, thus creating a more realistic and immersive viewing experience that more closely resembles human visual perception.
The evolution of HDR technology can be traced through several key milestones. Initially, display limitations constrained the implementation of true HDR capabilities. Traditional Standard Dynamic Range (SDR) content typically operated within a luminance range of 0.1 to 100 nits, severely limiting the representation of real-world lighting conditions. The breakthrough came with the development of displays capable of higher peak brightness and improved black levels, enabling the practical application of HDR principles.
HDR10, introduced in 2015, emerged as the first widely adopted HDR standard, establishing a foundation for the industry with its open-source nature and compatibility across various platforms. It utilizes static metadata to guide display processing, providing consistent parameters throughout content playback. Concurrently, Dolby Vision developed as a proprietary alternative, offering enhanced capabilities through dynamic metadata that adjusts parameters scene-by-scene or even frame-by-frame.
The technical objectives of HDR technology extend beyond mere brightness enhancement. Key goals include achieving wider color gamut coverage (particularly Rec. 2020), implementing more efficient bit depth utilization through perceptual quantization (PQ) or hybrid log-gamma (HLG) transfer functions, and ensuring backward compatibility with existing SDR infrastructure while maximizing visual quality on HDR-capable displays.
In the specific context of HDR10 versus Dolby Vision film processing, the catalyst role refers to the transformative processing elements that convert raw camera data into optimized HDR content. These catalysts include color grading tools, tone mapping algorithms, and metadata generation systems that fundamentally determine how the final content will appear across different display capabilities.
The industry continues to pursue technical objectives focused on standardization, interoperability, and enhanced creative control. Efforts are underway to develop more efficient encoding methods, reduce bandwidth requirements for HDR content delivery, and create more sophisticated automatic adaptation systems that can optimize viewing experiences across diverse viewing environments and display capabilities.
The evolution of HDR technology can be traced through several key milestones. Initially, display limitations constrained the implementation of true HDR capabilities. Traditional Standard Dynamic Range (SDR) content typically operated within a luminance range of 0.1 to 100 nits, severely limiting the representation of real-world lighting conditions. The breakthrough came with the development of displays capable of higher peak brightness and improved black levels, enabling the practical application of HDR principles.
HDR10, introduced in 2015, emerged as the first widely adopted HDR standard, establishing a foundation for the industry with its open-source nature and compatibility across various platforms. It utilizes static metadata to guide display processing, providing consistent parameters throughout content playback. Concurrently, Dolby Vision developed as a proprietary alternative, offering enhanced capabilities through dynamic metadata that adjusts parameters scene-by-scene or even frame-by-frame.
The technical objectives of HDR technology extend beyond mere brightness enhancement. Key goals include achieving wider color gamut coverage (particularly Rec. 2020), implementing more efficient bit depth utilization through perceptual quantization (PQ) or hybrid log-gamma (HLG) transfer functions, and ensuring backward compatibility with existing SDR infrastructure while maximizing visual quality on HDR-capable displays.
In the specific context of HDR10 versus Dolby Vision film processing, the catalyst role refers to the transformative processing elements that convert raw camera data into optimized HDR content. These catalysts include color grading tools, tone mapping algorithms, and metadata generation systems that fundamentally determine how the final content will appear across different display capabilities.
The industry continues to pursue technical objectives focused on standardization, interoperability, and enhanced creative control. Efforts are underway to develop more efficient encoding methods, reduce bandwidth requirements for HDR content delivery, and create more sophisticated automatic adaptation systems that can optimize viewing experiences across diverse viewing environments and display capabilities.
Market Analysis of HDR Content Demand
The global demand for HDR (High Dynamic Range) content has experienced significant growth over the past five years, driven by increasing consumer expectations for premium viewing experiences. Market research indicates that HDR-capable device adoption has reached critical mass in developed markets, with over 250 million HDR-compatible TVs sold worldwide by the end of 2022. This hardware penetration has created a robust foundation for HDR content consumption.
Consumer preference studies demonstrate that viewers consistently rate HDR content higher in quality perception tests compared to standard dynamic range (SDR) offerings. When presented with side-by-side comparisons, approximately 85% of consumers prefer HDR content, citing improved color vibrancy, contrast, and overall visual impact as key factors in their preference.
The streaming sector has emerged as the primary driver of HDR content demand. Major platforms including Netflix, Amazon Prime Video, Disney+, and Apple TV+ have made substantial investments in HDR content libraries. Netflix alone reported that HDR titles generate 27% higher engagement metrics compared to their SDR counterparts, translating to longer viewing sessions and higher subscriber retention rates.
From a format perspective, the market currently demonstrates a bifurcation between HDR10 and Dolby Vision adoption. HDR10, as an open standard, has achieved broader implementation across device manufacturers and content platforms due to its royalty-free status. However, Dolby Vision's superior technical capabilities have secured its position as the premium offering, particularly for flagship content and high-budget productions.
The theatrical exhibition market has also begun embracing HDR technology, with approximately 15,000 HDR-capable screens deployed globally. This segment shows particular promise in emerging markets like China and India, where new theater construction often incorporates advanced projection technologies from the outset.
Content creation economics reveal that while HDR production introduces additional costs—typically adding 5-8% to post-production budgets—these investments are increasingly viewed as essential rather than optional by major studios and content producers. The return on investment manifests through enhanced content longevity, improved licensing values, and stronger audience engagement metrics.
Looking forward, market forecasts project the global HDR content market to maintain a compound annual growth rate of 18% through 2027, outpacing overall video content market growth. This trajectory is supported by accelerating hardware adoption curves and the strategic prioritization of HDR content by major streaming platforms and content producers seeking differentiation in an increasingly competitive landscape.
Consumer preference studies demonstrate that viewers consistently rate HDR content higher in quality perception tests compared to standard dynamic range (SDR) offerings. When presented with side-by-side comparisons, approximately 85% of consumers prefer HDR content, citing improved color vibrancy, contrast, and overall visual impact as key factors in their preference.
The streaming sector has emerged as the primary driver of HDR content demand. Major platforms including Netflix, Amazon Prime Video, Disney+, and Apple TV+ have made substantial investments in HDR content libraries. Netflix alone reported that HDR titles generate 27% higher engagement metrics compared to their SDR counterparts, translating to longer viewing sessions and higher subscriber retention rates.
From a format perspective, the market currently demonstrates a bifurcation between HDR10 and Dolby Vision adoption. HDR10, as an open standard, has achieved broader implementation across device manufacturers and content platforms due to its royalty-free status. However, Dolby Vision's superior technical capabilities have secured its position as the premium offering, particularly for flagship content and high-budget productions.
The theatrical exhibition market has also begun embracing HDR technology, with approximately 15,000 HDR-capable screens deployed globally. This segment shows particular promise in emerging markets like China and India, where new theater construction often incorporates advanced projection technologies from the outset.
Content creation economics reveal that while HDR production introduces additional costs—typically adding 5-8% to post-production budgets—these investments are increasingly viewed as essential rather than optional by major studios and content producers. The return on investment manifests through enhanced content longevity, improved licensing values, and stronger audience engagement metrics.
Looking forward, market forecasts project the global HDR content market to maintain a compound annual growth rate of 18% through 2027, outpacing overall video content market growth. This trajectory is supported by accelerating hardware adoption curves and the strategic prioritization of HDR content by major streaming platforms and content producers seeking differentiation in an increasingly competitive landscape.
Current Catalyst Challenges in HDR Processing
Despite significant advancements in HDR processing technologies, several critical challenges persist in the catalyst components that enable HDR10 and Dolby Vision processing workflows. The primary technical bottleneck remains the computational intensity required for real-time tone mapping and color volume transformation, particularly when processing high-resolution content at 4K or 8K. Current hardware accelerators struggle to maintain consistent performance without significant power consumption, creating heat management issues in compact processing units.
Color accuracy preservation presents another substantial challenge, as the catalyst algorithms must maintain creative intent across different display capabilities. The mathematical models currently employed often introduce subtle artifacts during extreme luminance transitions, particularly noticeable in scenes with both bright highlights and deep shadows. This becomes especially problematic when processing legacy content originally mastered in SDR for HDR display environments.
Metadata handling differences between HDR10 and Dolby Vision create significant complexity in catalyst design. While HDR10 utilizes static metadata applied uniformly across an entire piece of content, Dolby Vision's dynamic frame-by-frame metadata requires more sophisticated processing pipelines with higher bandwidth requirements and more complex buffer management. The catalyst components must efficiently handle both approaches without introducing latency or artifacts.
Interoperability issues persist between different HDR standards, with catalyst components often requiring multiple processing paths to accommodate various input and output formats. This redundancy increases silicon area requirements and power consumption while complicating firmware development and maintenance. The lack of unified standards for HDR processing creates significant fragmentation in implementation approaches.
Content-aware processing remains underdeveloped in current catalyst designs. While basic scene detection exists, truly intelligent content analysis that can dynamically adjust processing parameters based on scene characteristics is still emerging. This limitation results in suboptimal quality for certain content types, particularly animation, computer-generated imagery, and mixed media content that combines live action with visual effects.
Backward compatibility requirements further complicate catalyst design, as processors must gracefully handle both HDR and SDR content while maintaining optimal quality for each. The tone mapping algorithms for downconversion from HDR to SDR often introduce color shifts and detail loss in challenging scenes, particularly those with specular highlights or saturated colors near the boundaries of the SDR color volume.
Color accuracy preservation presents another substantial challenge, as the catalyst algorithms must maintain creative intent across different display capabilities. The mathematical models currently employed often introduce subtle artifacts during extreme luminance transitions, particularly noticeable in scenes with both bright highlights and deep shadows. This becomes especially problematic when processing legacy content originally mastered in SDR for HDR display environments.
Metadata handling differences between HDR10 and Dolby Vision create significant complexity in catalyst design. While HDR10 utilizes static metadata applied uniformly across an entire piece of content, Dolby Vision's dynamic frame-by-frame metadata requires more sophisticated processing pipelines with higher bandwidth requirements and more complex buffer management. The catalyst components must efficiently handle both approaches without introducing latency or artifacts.
Interoperability issues persist between different HDR standards, with catalyst components often requiring multiple processing paths to accommodate various input and output formats. This redundancy increases silicon area requirements and power consumption while complicating firmware development and maintenance. The lack of unified standards for HDR processing creates significant fragmentation in implementation approaches.
Content-aware processing remains underdeveloped in current catalyst designs. While basic scene detection exists, truly intelligent content analysis that can dynamically adjust processing parameters based on scene characteristics is still emerging. This limitation results in suboptimal quality for certain content types, particularly animation, computer-generated imagery, and mixed media content that combines live action with visual effects.
Backward compatibility requirements further complicate catalyst design, as processors must gracefully handle both HDR and SDR content while maintaining optimal quality for each. The tone mapping algorithms for downconversion from HDR to SDR often introduce color shifts and detail loss in challenging scenes, particularly those with specular highlights or saturated colors near the boundaries of the SDR color volume.
Technical Comparison of HDR10 vs Dolby Vision
- 01 HDR10 and Dolby Vision display technology integrationIntegration of HDR10 and Dolby Vision technologies in display devices enables enhanced dynamic range and color accuracy. These technologies serve as catalysts for improved visual experiences by supporting wider color gamuts and higher brightness levels. The implementation allows for better contrast ratios and more detailed imagery in both bright and dark scenes, creating more immersive viewing experiences across various display platforms.- HDR10 and Dolby Vision implementation in display technologies: High Dynamic Range (HDR) technologies like HDR10 and Dolby Vision enhance display capabilities by providing wider color gamut and improved contrast ratios. These technologies serve as catalysts for next-generation visual experiences by enabling displays to show more vibrant colors and deeper blacks. The implementation involves specific hardware and software configurations that process HDR metadata to optimize content rendering on compatible screens.
- Content creation and processing for HDR formats: The creation and processing of content for HDR formats involves specialized workflows that capture, grade, and encode visual information with expanded dynamic range. These processes serve as catalysts for content creators to deliver more immersive viewing experiences. The technologies include tools for color grading, tone mapping, and metadata generation that ensure compatibility across different HDR standards while preserving creative intent.
- Compatibility solutions between HDR standards: Compatibility solutions enable interoperability between different HDR standards like HDR10 and Dolby Vision. These solutions act as catalysts for wider adoption by allowing content to be displayed optimally across various devices regardless of their native HDR support. The technologies include dynamic metadata conversion, adaptive tone mapping, and display management systems that translate between formats while maintaining visual quality.
- HDR signal transmission and distribution systems: HDR signal transmission and distribution systems facilitate the delivery of high dynamic range content from source to display. These systems serve as catalysts in the content delivery chain by ensuring that the enhanced visual information reaches end users without degradation. The technologies include specialized encoding methods, bandwidth optimization techniques, and signal processing algorithms that maintain HDR quality across broadcast, streaming, and physical media platforms.
- User experience enhancement through HDR technologies: HDR technologies significantly enhance user experience by delivering more realistic and immersive visual content. These technologies act as catalysts for consumer adoption of premium display products by providing noticeable improvements in picture quality. The implementations include viewer preference adaptations, ambient light compensation, and personalized display settings that optimize HDR content presentation based on viewing conditions and individual preferences.
 
- 02 Content optimization for HDR formatsContent creation and optimization processes specifically designed for HDR10 and Dolby Vision formats enable content producers to fully leverage these advanced technologies. These processes include color grading, metadata management, and dynamic tone mapping that serve as catalysts for delivering superior visual content. The optimization techniques ensure that content maintains its intended visual quality across different display capabilities and viewing environments.Expand Specific Solutions
- 03 Compatibility and conversion solutionsTechnologies that enable compatibility between HDR10 and Dolby Vision formats, as well as conversion from standard dynamic range to high dynamic range content. These solutions act as catalysts for broader adoption by allowing content to be displayed optimally across different devices and standards. The conversion mechanisms include intelligent algorithms that analyze content characteristics to enhance brightness, contrast, and color information without introducing artifacts.Expand Specific Solutions
- 04 Hardware acceleration for HDR processingSpecialized hardware components and acceleration technologies designed to efficiently process HDR10 and Dolby Vision content. These hardware solutions serve as catalysts for real-time processing of high dynamic range content without compromising performance. The acceleration technologies include dedicated processors, optimized memory architectures, and specialized rendering engines that enable smooth playback of HDR content while minimizing power consumption.Expand Specific Solutions
- 05 User experience enhancement through HDR technologiesImplementation of HDR10 and Dolby Vision technologies to enhance user experience across various applications including gaming, streaming, and professional content creation. These technologies act as catalysts for improved user engagement through more realistic and visually appealing content. The enhancements include better perception of depth, more natural colors, and improved detail visibility in both highlights and shadows, leading to more immersive and satisfying viewing experiences.Expand Specific Solutions
Key Industry Players in HDR Technology
The HDR10 vs Dolby Vision film processing landscape is currently in a mature growth phase, with the global HDR market expected to reach $36.7 billion by 2026. Dolby Laboratories maintains market leadership with its proprietary Dolby Vision technology, offering dynamic metadata and scene-by-scene optimization, while HDR10 remains the open-source standard widely adopted by manufacturers. Major players including Samsung, Sony, and Sharp have committed to HDR10+, while Dolby Vision has secured partnerships with content providers and device manufacturers like Philips, OPPO, and Huawei. The technology ecosystem is increasingly competitive as companies like V-Nova International develop complementary compression technologies to enhance both formats, while semiconductor firms like Realtek and Spreadtrum focus on enabling hardware implementation across consumer electronics.
Dolby Laboratories Licensing Corp.
Technical Solution:  Dolby Laboratories has pioneered Dolby Vision as a premium HDR format that offers dynamic metadata capabilities, allowing frame-by-frame optimization of brightness, contrast, and color. Their proprietary technology processes film content at up to 12-bit color depth with a theoretical maximum brightness of 10,000 nits, significantly exceeding HDR10's static 10-bit implementation. Dolby's processing pipeline incorporates advanced tone mapping algorithms that preserve creative intent across different display capabilities. The company has developed specialized image processing units (IPUs) that serve as catalysts in the conversion chain, enabling real-time analysis and adjustment of content parameters. Dolby Vision IQ further enhances this by incorporating ambient light sensors to dynamically adjust HDR presentation based on viewing conditions, maintaining optimal image quality regardless of environment.
Strengths: Superior dynamic range with frame-by-frame metadata optimization; preservation of creative intent across diverse displays; comprehensive ecosystem from content creation to playback. Weaknesses: Higher licensing costs; proprietary technology requiring specific hardware implementation; greater processing power requirements compared to HDR10.
Sony Group Corp.
Technical Solution:  Sony has developed advanced HDR processing technologies that work with both HDR10 and Dolby Vision formats. Their X1 Ultimate and Cognitive Processors serve as sophisticated catalysts in the HDR processing chain, employing object-based analysis to enhance contrast and color accuracy. Sony's approach includes proprietary algorithms that analyze scenes in real-time to optimize HDR presentation based on content characteristics. For HDR10 content, Sony implements dynamic tone mapping that attempts to approximate some benefits of dynamic metadata despite HDR10's static limitations. In professional environments, Sony's VENICE cinema cameras and production monitors incorporate specialized color science that preserves wide color gamut information throughout the production pipeline, ensuring optimal results in both HDR10 and Dolby Vision mastering workflows. Their BVM-HX series professional monitors support both formats with precise calibration capabilities.
Strengths: Comprehensive end-to-end solutions from capture to display; sophisticated processing algorithms that enhance even static HDR10 content; strong presence in both consumer and professional markets. Weaknesses: Premium pricing across product lines; some proprietary technologies limited to Sony ecosystem; varying implementation quality across different product tiers.
Catalyst Innovation Patents in HDR Processing
Signal processing with overlay regions 
PatentWO2023187307A1
 Innovation 
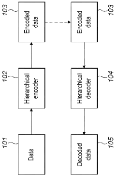
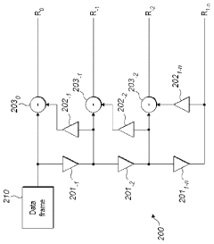
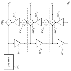
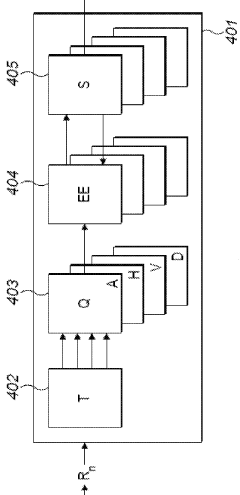
- A hierarchical coding scheme that uses residual data to efficiently encode and decode signals, allowing for the overlay of HDR content onto SDR content by generating residuals indicative of differences between HDR and SDR signals, which are then encoded using a method like LCEVC, enabling flexible and efficient distribution across various devices.
Colour conversion within a hierarchical coding scheme 
PatentActiveUS12120305B2
 Innovation 
- A hierarchical coding scheme that allows for the encoding and decoding of HDR-type signals in a way that enables compatibility with both HDR and SDR displays, using a method that involves converting input signals between color spaces, down-sampling, and adding ancillary data for reconstruction, thereby providing backwards compatibility and reduced bandwidth requirements.
Content Creator Adoption Strategies
Content creators face significant strategic decisions when choosing between HDR10 and Dolby Vision for their productions. The adoption pathway typically begins with an assessment of target audience and distribution channels, as streaming platforms like Netflix and Amazon Prime have different technical requirements and viewer demographics that influence format selection.
Budget considerations play a crucial role in format adoption decisions. While HDR10 implementation requires lower licensing fees and less specialized equipment, Dolby Vision demands higher investment in both production tools and post-production workflows. Studios must evaluate whether the premium visual experience justifies the additional expenditure, particularly for projects with limited distribution scope.
Workflow integration represents another critical factor. Content creators already established with HDR10 pipelines may hesitate to adopt Dolby Vision due to the learning curve and workflow disruption. Conversely, those seeking competitive differentiation through superior visual quality often view Dolby Vision's investment as worthwhile despite implementation challenges.
Technical expertise availability significantly impacts adoption strategies. Dolby Vision requires specialized color grading skills and understanding of dynamic metadata implementation, creating potential bottlenecks for smaller production houses. Many studios address this through phased adoption approaches, beginning with HDR10 while gradually building Dolby Vision capabilities.
Market positioning considerations also drive format selection. Premium content producers targeting high-end consumers frequently leverage Dolby Vision as a quality differentiator, while mass-market content may prioritize HDR10's broader compatibility. This segmentation strategy allows studios to allocate technical resources according to content value and audience expectations.
Future-proofing strategies increasingly favor dual-format approaches. Forward-thinking content creators now develop master files that support both formats, creating Dolby Vision versions for premium distribution channels while maintaining HDR10 compatibility for broader reach. This hybrid strategy maximizes content longevity and distribution flexibility while managing production costs.
Budget considerations play a crucial role in format adoption decisions. While HDR10 implementation requires lower licensing fees and less specialized equipment, Dolby Vision demands higher investment in both production tools and post-production workflows. Studios must evaluate whether the premium visual experience justifies the additional expenditure, particularly for projects with limited distribution scope.
Workflow integration represents another critical factor. Content creators already established with HDR10 pipelines may hesitate to adopt Dolby Vision due to the learning curve and workflow disruption. Conversely, those seeking competitive differentiation through superior visual quality often view Dolby Vision's investment as worthwhile despite implementation challenges.
Technical expertise availability significantly impacts adoption strategies. Dolby Vision requires specialized color grading skills and understanding of dynamic metadata implementation, creating potential bottlenecks for smaller production houses. Many studios address this through phased adoption approaches, beginning with HDR10 while gradually building Dolby Vision capabilities.
Market positioning considerations also drive format selection. Premium content producers targeting high-end consumers frequently leverage Dolby Vision as a quality differentiator, while mass-market content may prioritize HDR10's broader compatibility. This segmentation strategy allows studios to allocate technical resources according to content value and audience expectations.
Future-proofing strategies increasingly favor dual-format approaches. Forward-thinking content creators now develop master files that support both formats, creating Dolby Vision versions for premium distribution channels while maintaining HDR10 compatibility for broader reach. This hybrid strategy maximizes content longevity and distribution flexibility while managing production costs.
Display Hardware Requirements
The implementation of HDR10 and Dolby Vision technologies requires specific hardware capabilities to properly render their enhanced visual experiences. For HDR10, displays must support a minimum peak brightness of 1,000 nits, though many premium models now reach 2,000-4,000 nits. Additionally, HDR10 displays need to reproduce at least 90% of the DCI-P3 color gamut and process 10-bit color depth, allowing for over 1 billion possible colors compared to the 16.7 million colors in standard 8-bit displays.
Dolby Vision imposes more stringent hardware requirements, with displays needing to support peak brightness levels of up to 4,000 nits (with future specifications targeting 10,000 nits). These displays must also handle 12-bit color depth, enabling a theoretical 68.7 billion colors, and support dynamic metadata processing capabilities. The specialized Dolby Vision chipset or firmware is essential for decoding the proprietary format's frame-by-frame instructions.
Both technologies necessitate high-quality LCD panels with full-array local dimming (FALD) or OLED technology to achieve the required contrast ratios. FALD displays utilize numerous independently controlled backlight zones to enhance contrast, while OLED panels can turn individual pixels completely off for perfect blacks. The minimum contrast ratio requirement for HDR10 is typically 20,000:1, while Dolby Vision often targets 100,000:1 or higher.
Connection interfaces also play a crucial role, with HDMI 2.0 supporting HDR10 at 4K/60Hz, while the full capabilities of Dolby Vision (especially at 12-bit color depth) may require HDMI 2.1. Both technologies benefit from displays with advanced tone mapping processors that can intelligently adapt content to the specific capabilities of the display.
For professional mastering environments, specialized reference monitors with even higher specifications are required. These include precise calibration capabilities, consistent performance across the entire screen, and validation against industry standards. Sony's BVM-X300 and Dolby's PRM series have become industry standards for HDR mastering, featuring exceptional color accuracy and brightness stability.
The hardware requirements for both formats continue to evolve as display technology advances, with manufacturers increasingly developing dual-compatible displays that can process both HDR10 and Dolby Vision content through hybrid hardware solutions and sophisticated image processing algorithms.
Dolby Vision imposes more stringent hardware requirements, with displays needing to support peak brightness levels of up to 4,000 nits (with future specifications targeting 10,000 nits). These displays must also handle 12-bit color depth, enabling a theoretical 68.7 billion colors, and support dynamic metadata processing capabilities. The specialized Dolby Vision chipset or firmware is essential for decoding the proprietary format's frame-by-frame instructions.
Both technologies necessitate high-quality LCD panels with full-array local dimming (FALD) or OLED technology to achieve the required contrast ratios. FALD displays utilize numerous independently controlled backlight zones to enhance contrast, while OLED panels can turn individual pixels completely off for perfect blacks. The minimum contrast ratio requirement for HDR10 is typically 20,000:1, while Dolby Vision often targets 100,000:1 or higher.
Connection interfaces also play a crucial role, with HDMI 2.0 supporting HDR10 at 4K/60Hz, while the full capabilities of Dolby Vision (especially at 12-bit color depth) may require HDMI 2.1. Both technologies benefit from displays with advanced tone mapping processors that can intelligently adapt content to the specific capabilities of the display.
For professional mastering environments, specialized reference monitors with even higher specifications are required. These include precise calibration capabilities, consistent performance across the entire screen, and validation against industry standards. Sony's BVM-X300 and Dolby's PRM series have become industry standards for HDR mastering, featuring exceptional color accuracy and brightness stability.
The hardware requirements for both formats continue to evolve as display technology advances, with manufacturers increasingly developing dual-compatible displays that can process both HDR10 and Dolby Vision content through hybrid hardware solutions and sophisticated image processing algorithms.
 Unlock deeper insights with  Patsnap Eureka Quick Research — get a full tech report to explore trends and direct your research. Try now! 
 Generate Your Research Report Instantly with AI Agent 
 Supercharge your innovation with Patsnap Eureka AI Agent Platform! 







