How to Engineer High Dynamic Range in QLED Solutions?
JUN 19, 20259 MIN READ
Generate Your Research Report Instantly with AI Agent
Patsnap Eureka helps you evaluate technical feasibility & market potential.
QLED HDR Background
Quantum Dot Light-Emitting Diode (QLED) technology has emerged as a promising solution for next-generation displays, offering superior color performance and energy efficiency compared to traditional LED and OLED technologies. High Dynamic Range (HDR) is a critical feature in modern display systems, enabling a wider range of luminance and color reproduction that more closely mimics the human visual experience.
The development of HDR in QLED solutions has its roots in the broader evolution of display technologies. Traditional LCD displays struggled to achieve the contrast ratios and peak brightness levels necessary for true HDR performance. OLED technology made significant strides in this area but faced challenges with longevity and manufacturing costs. QLED technology, leveraging the unique properties of quantum dots, presented an opportunity to overcome these limitations and push the boundaries of HDR capabilities.
The quest for HDR in QLED displays is driven by the increasing demand for more immersive and lifelike visual experiences across various applications, including entertainment, professional content creation, and scientific visualization. As content creators and distributors continue to produce HDR content, there is a growing need for display technologies that can accurately reproduce this expanded range of colors and brightness levels.
Key technological advancements that have contributed to the development of HDR in QLED solutions include improvements in quantum dot synthesis, enhanced color conversion efficiency, and innovative backlight designs. These advancements have allowed QLED displays to achieve higher peak brightness levels, deeper blacks, and a wider color gamut, all of which are essential components of HDR performance.
The evolution of HDR standards, such as HDR10, HDR10+, and Dolby Vision, has also played a crucial role in shaping the development of QLED HDR solutions. These standards define the parameters for HDR content creation and playback, influencing the technical specifications that QLED displays must meet to deliver a true HDR experience.
As the technology continues to mature, researchers and engineers are focusing on several key areas to further enhance HDR performance in QLED displays. These include improving the quantum yield of quantum dots, developing more sophisticated local dimming algorithms, and exploring new materials and structures to increase the overall efficiency and dynamic range of QLED panels.
The ongoing pursuit of HDR excellence in QLED technology is not only driving advancements in display quality but also contributing to broader innovations in areas such as energy efficiency, manufacturing processes, and content delivery systems. As such, the development of HDR in QLED solutions represents a significant frontier in display technology, with far-reaching implications for the future of visual media and communication.
The development of HDR in QLED solutions has its roots in the broader evolution of display technologies. Traditional LCD displays struggled to achieve the contrast ratios and peak brightness levels necessary for true HDR performance. OLED technology made significant strides in this area but faced challenges with longevity and manufacturing costs. QLED technology, leveraging the unique properties of quantum dots, presented an opportunity to overcome these limitations and push the boundaries of HDR capabilities.
The quest for HDR in QLED displays is driven by the increasing demand for more immersive and lifelike visual experiences across various applications, including entertainment, professional content creation, and scientific visualization. As content creators and distributors continue to produce HDR content, there is a growing need for display technologies that can accurately reproduce this expanded range of colors and brightness levels.
Key technological advancements that have contributed to the development of HDR in QLED solutions include improvements in quantum dot synthesis, enhanced color conversion efficiency, and innovative backlight designs. These advancements have allowed QLED displays to achieve higher peak brightness levels, deeper blacks, and a wider color gamut, all of which are essential components of HDR performance.
The evolution of HDR standards, such as HDR10, HDR10+, and Dolby Vision, has also played a crucial role in shaping the development of QLED HDR solutions. These standards define the parameters for HDR content creation and playback, influencing the technical specifications that QLED displays must meet to deliver a true HDR experience.
As the technology continues to mature, researchers and engineers are focusing on several key areas to further enhance HDR performance in QLED displays. These include improving the quantum yield of quantum dots, developing more sophisticated local dimming algorithms, and exploring new materials and structures to increase the overall efficiency and dynamic range of QLED panels.
The ongoing pursuit of HDR excellence in QLED technology is not only driving advancements in display quality but also contributing to broader innovations in areas such as energy efficiency, manufacturing processes, and content delivery systems. As such, the development of HDR in QLED solutions represents a significant frontier in display technology, with far-reaching implications for the future of visual media and communication.
Market Demand Analysis
The market demand for high dynamic range (HDR) in QLED solutions has been steadily increasing, driven by the growing consumer appetite for superior visual experiences across various display applications. As consumers become more discerning, there is a notable shift towards displays that can offer a wider range of colors, deeper blacks, and brighter highlights, all of which are hallmarks of HDR technology.
In the television sector, HDR-capable QLED displays have gained significant traction. Market research indicates that HDR-enabled TVs are expected to dominate the premium segment, with a projected compound annual growth rate (CAGR) of over 15% in the next five years. This growth is fueled by the increasing availability of HDR content from streaming platforms and the gaming industry, which are pushing the boundaries of visual fidelity.
The automotive industry is another key driver for HDR QLED solutions. As vehicles become more technologically advanced, there is a rising demand for high-quality in-car displays that can provide clear visibility in varying light conditions. HDR QLED displays are particularly well-suited for this application due to their ability to maintain image quality even in bright sunlight, a critical factor for driver safety and comfort.
In the professional and prosumer markets, HDR QLED monitors are gaining popularity among content creators, video editors, and graphic designers. These professionals require displays that can accurately represent a wide color gamut and high contrast ratios, making HDR QLED solutions increasingly essential tools in their workflows.
The mobile device market is also showing interest in HDR QLED technology. While OLED has been dominant in high-end smartphones, QLED with HDR capabilities is emerging as a competitive alternative, offering improved brightness and potentially longer display lifespans. This segment is expected to see significant growth as manufacturers seek to differentiate their products in a saturated market.
The demand for HDR in QLED solutions is not limited to consumer electronics. There is a growing market in commercial and industrial applications, such as digital signage, where the ability to display vivid, high-contrast images is crucial for capturing attention in bright environments. This sector is projected to expand as businesses invest in more engaging visual communication tools.
As the technology matures and production costs decrease, the market for HDR QLED solutions is expected to expand into mid-range product categories, further driving demand. This democratization of HDR technology will likely lead to increased consumer expectations for display quality across all price points, creating a positive feedback loop that will continue to push the boundaries of what is possible in display technology.
In the television sector, HDR-capable QLED displays have gained significant traction. Market research indicates that HDR-enabled TVs are expected to dominate the premium segment, with a projected compound annual growth rate (CAGR) of over 15% in the next five years. This growth is fueled by the increasing availability of HDR content from streaming platforms and the gaming industry, which are pushing the boundaries of visual fidelity.
The automotive industry is another key driver for HDR QLED solutions. As vehicles become more technologically advanced, there is a rising demand for high-quality in-car displays that can provide clear visibility in varying light conditions. HDR QLED displays are particularly well-suited for this application due to their ability to maintain image quality even in bright sunlight, a critical factor for driver safety and comfort.
In the professional and prosumer markets, HDR QLED monitors are gaining popularity among content creators, video editors, and graphic designers. These professionals require displays that can accurately represent a wide color gamut and high contrast ratios, making HDR QLED solutions increasingly essential tools in their workflows.
The mobile device market is also showing interest in HDR QLED technology. While OLED has been dominant in high-end smartphones, QLED with HDR capabilities is emerging as a competitive alternative, offering improved brightness and potentially longer display lifespans. This segment is expected to see significant growth as manufacturers seek to differentiate their products in a saturated market.
The demand for HDR in QLED solutions is not limited to consumer electronics. There is a growing market in commercial and industrial applications, such as digital signage, where the ability to display vivid, high-contrast images is crucial for capturing attention in bright environments. This sector is projected to expand as businesses invest in more engaging visual communication tools.
As the technology matures and production costs decrease, the market for HDR QLED solutions is expected to expand into mid-range product categories, further driving demand. This democratization of HDR technology will likely lead to increased consumer expectations for display quality across all price points, creating a positive feedback loop that will continue to push the boundaries of what is possible in display technology.
HDR Challenges in QLED
High Dynamic Range (HDR) technology presents significant challenges in Quantum Dot Light-Emitting Diode (QLED) solutions, primarily due to the inherent limitations of current display technologies and the complexities of accurately reproducing a wide range of luminance and color. One of the main hurdles is achieving sufficient peak brightness while maintaining deep black levels, which is crucial for creating the contrast necessary for a true HDR experience.
QLED displays struggle to produce the extreme brightness levels required for HDR content without compromising the overall picture quality. The quantum dots used in QLED technology, while excellent at color reproduction, have limitations in terms of maximum luminance output. This constraint makes it challenging to display the full range of brightness levels present in HDR content, particularly in scenes that contain both very bright highlights and deep shadows.
Another significant challenge lies in the color volume representation. HDR content often contains a much wider color gamut than standard dynamic range (SDR) content. QLED displays must accurately reproduce this expanded color space while maintaining color accuracy across different brightness levels. This becomes particularly challenging at high brightness levels, where color shifting can occur due to the physical properties of the quantum dots.
Local dimming, a technique used to improve contrast ratios in LED-backlit displays, presents its own set of challenges in QLED HDR implementations. While local dimming can enhance contrast, it can also lead to blooming or haloing effects around bright objects on dark backgrounds. Achieving precise control over numerous dimming zones while minimizing these artifacts is a complex engineering task.
The processing power required to handle HDR content in real-time is another significant challenge. QLED displays need sophisticated image processing algorithms to map HDR content to the display's capabilities, considering factors such as tone mapping, color management, and dynamic range compression. This processing must be done with minimal latency to maintain a smooth viewing experience, especially for interactive content like video games.
Lastly, the variability in HDR standards and content mastering presents challenges in ensuring consistent performance across different sources. QLED displays must be capable of interpreting and accurately displaying content mastered in various HDR formats, such as HDR10, HDR10+, Dolby Vision, and HLG, each with its own specific requirements and metadata.
Addressing these challenges requires innovative approaches in quantum dot technology, backlight design, local dimming algorithms, and image processing techniques. As the demand for HDR content continues to grow, overcoming these hurdles will be crucial for the future development and success of QLED technology in the high-end display market.
QLED displays struggle to produce the extreme brightness levels required for HDR content without compromising the overall picture quality. The quantum dots used in QLED technology, while excellent at color reproduction, have limitations in terms of maximum luminance output. This constraint makes it challenging to display the full range of brightness levels present in HDR content, particularly in scenes that contain both very bright highlights and deep shadows.
Another significant challenge lies in the color volume representation. HDR content often contains a much wider color gamut than standard dynamic range (SDR) content. QLED displays must accurately reproduce this expanded color space while maintaining color accuracy across different brightness levels. This becomes particularly challenging at high brightness levels, where color shifting can occur due to the physical properties of the quantum dots.
Local dimming, a technique used to improve contrast ratios in LED-backlit displays, presents its own set of challenges in QLED HDR implementations. While local dimming can enhance contrast, it can also lead to blooming or haloing effects around bright objects on dark backgrounds. Achieving precise control over numerous dimming zones while minimizing these artifacts is a complex engineering task.
The processing power required to handle HDR content in real-time is another significant challenge. QLED displays need sophisticated image processing algorithms to map HDR content to the display's capabilities, considering factors such as tone mapping, color management, and dynamic range compression. This processing must be done with minimal latency to maintain a smooth viewing experience, especially for interactive content like video games.
Lastly, the variability in HDR standards and content mastering presents challenges in ensuring consistent performance across different sources. QLED displays must be capable of interpreting and accurately displaying content mastered in various HDR formats, such as HDR10, HDR10+, Dolby Vision, and HLG, each with its own specific requirements and metadata.
Addressing these challenges requires innovative approaches in quantum dot technology, backlight design, local dimming algorithms, and image processing techniques. As the demand for HDR content continues to grow, overcoming these hurdles will be crucial for the future development and success of QLED technology in the high-end display market.
Current HDR Solutions
01 QLED display technology for enhanced dynamic range
QLED (Quantum Dot Light Emitting Diode) technology is utilized to improve the dynamic range of displays. This technology enhances color accuracy, brightness, and contrast ratios, resulting in a wider dynamic range and more vibrant images. The quantum dots in QLED displays emit light at specific wavelengths, allowing for precise color control and improved HDR performance.- QLED display technology for enhanced dynamic range: QLED (Quantum Dot Light Emitting Diode) technology is utilized to improve the dynamic range of displays. This technology enhances color accuracy, brightness, and contrast, resulting in a wider dynamic range and more vibrant images. The quantum dots in QLED displays can produce more precise and saturated colors, contributing to an expanded color gamut and improved HDR performance.
- Image processing techniques for dynamic range optimization: Various image processing algorithms and techniques are employed to optimize the dynamic range of QLED displays. These methods may include local dimming, tone mapping, and contrast enhancement. By analyzing and adjusting the image data, these techniques can maximize the display's capabilities, resulting in improved contrast ratios and more detailed representations of both bright and dark areas in the image.
- Color management and calibration for wide dynamic range: Advanced color management systems and calibration techniques are implemented to ensure accurate color reproduction across the entire dynamic range of QLED displays. These methods involve precise control of the quantum dot emission, color gamut mapping, and white point adjustment. By maintaining color accuracy and consistency, the display can fully utilize its wide dynamic range capabilities.
- HDR content processing and display adaptation: Specialized processing techniques are developed to handle High Dynamic Range (HDR) content on QLED displays. These methods involve adapting the content to the display's specific capabilities, including peak brightness, black levels, and color gamut. The processing may include dynamic metadata interpretation, content-adaptive tone mapping, and intelligent brightness control to maximize the perceived dynamic range of the displayed image.
- Backlight control and local dimming for improved contrast: Advanced backlight control systems and local dimming techniques are implemented in QLED displays to enhance contrast and expand the effective dynamic range. These methods involve selectively adjusting the backlight intensity in different screen areas based on the image content. By precisely controlling the light output, the display can achieve deeper blacks and brighter highlights, resulting in an improved overall dynamic range.
02 Image processing techniques for dynamic range optimization
Various image processing algorithms and techniques are employed to optimize the dynamic range of QLED displays. These methods include local dimming, tone mapping, and contrast enhancement. By analyzing and adjusting the image data, these techniques can expand the perceived dynamic range, improve shadow details, and enhance overall picture quality.Expand Specific Solutions03 Color gamut expansion for improved dynamic range
QLED displays utilize advanced color management systems to expand the color gamut, contributing to an enhanced dynamic range. By increasing the range of displayable colors, these systems allow for more accurate representation of HDR content. This expansion of the color space results in more lifelike and immersive visuals with improved contrast and depth.Expand Specific Solutions04 Backlight control for dynamic range enhancement
Sophisticated backlight control mechanisms are implemented in QLED displays to improve dynamic range. These systems can selectively dim or brighten different areas of the screen, allowing for deeper blacks and brighter highlights. Advanced local dimming algorithms and hardware designs contribute to achieving higher contrast ratios and a wider dynamic range.Expand Specific Solutions05 HDR content processing for QLED displays
Specialized processing techniques are developed for handling High Dynamic Range (HDR) content on QLED displays. These methods involve tone mapping, color volume processing, and brightness adaptation to fully utilize the display's capabilities. By optimizing HDR content for QLED technology, these techniques ensure that the full dynamic range potential of the display is realized, resulting in more impactful and realistic visuals.Expand Specific Solutions
Key QLED Manufacturers
The engineering of High Dynamic Range (HDR) in QLED solutions is currently in a competitive and rapidly evolving phase. The market is experiencing significant growth, driven by increasing demand for superior display technologies in various sectors. The technology maturity varies among key players, with companies like Samsung Display, BOE Technology Group, and Sharp Corp. leading the way in QLED HDR advancements. Other notable contributors include Hisense Visual Technology, TCL Digital Technology, and Tianma Microelectronics. The competition is fierce, with both established display manufacturers and emerging tech companies like Honor Device and Huawei Technologies entering the fray, pushing the boundaries of HDR capabilities in QLED displays.
BOE Technology Group Co., Ltd.
Technical Solution: BOE has developed advanced QLED technology with high dynamic range (HDR) capabilities. Their solution incorporates quantum dot materials with precise size control and uniform distribution to achieve a wider color gamut. BOE's QLED panels use local dimming technology with thousands of independently controlled mini-LED backlight zones to enhance contrast and dynamic range. They have also implemented advanced color management algorithms to optimize HDR performance across different content types.
Strengths: Wide color gamut, high peak brightness, and excellent contrast ratios. Weaknesses: Higher production costs compared to traditional LCD, potential for color shift over time.
Dolby Laboratories Licensing Corp.
Technical Solution: While not a direct manufacturer of QLED displays, Dolby has developed the Dolby Vision HDR standard, which is widely used in QLED and other display technologies. Their approach focuses on dynamic metadata that adjusts HDR parameters on a scene-by-scene or even frame-by-frame basis. Dolby Vision supports up to 12-bit color depth and a peak brightness of 10,000 nits, far exceeding current display capabilities. This future-proofing ensures that as QLED technology advances, it can take full advantage of Dolby Vision's capabilities.
Strengths: Wide industry adoption, future-proof specifications, and consistent HDR experience across devices. Weaknesses: Requires licensing, which can increase costs for manufacturers and consumers.
Core HDR Innovations
Backlight module, and display device using backlight module
PatentActiveUS20200271280A1
Innovation
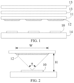
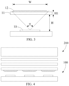
- A backlight module incorporating LED light-emitting chips with a quantum dot film and diffusion blocks, where each diffusion block corresponds to an LED chip, with a particle size greater than 15 micrometers and haze greater than 80%, optimally positioned to diffuse light and fill air gaps between adjacent LEDs without increasing module thickness.
Method and apparatus in various embodiments for HDR implementation in display devices
PatentInactiveUS20090322800A1
Innovation
- The implementation of Dolby HDR technology, which replaces uniform backlights with an actively modulated array of LEDs, allowing for precise control of light intensity and local dimming, thereby enhancing the dynamic range and realism of displayed images.
QLED Material Advances
Recent advancements in QLED materials have significantly contributed to enhancing the dynamic range capabilities of quantum dot displays. The development of more efficient and stable quantum dot emitters has been a key focus area for researchers and manufacturers alike. These improvements have led to wider color gamuts, higher peak brightness, and deeper black levels, all crucial components for achieving high dynamic range (HDR) performance.
One of the most notable material advances has been in the realm of quantum dot composition. Traditional cadmium-based quantum dots are being phased out in favor of more environmentally friendly and equally efficient alternatives. Indium phosphide (InP) quantum dots have emerged as a promising candidate, offering comparable color performance while addressing regulatory concerns associated with cadmium-based materials.
The size control and uniformity of quantum dots have also seen significant improvements. Precise control over quantum dot size distribution allows for narrower emission spectra, resulting in purer and more saturated colors. This enhanced color purity directly contributes to the expansion of the color gamut, a critical factor in HDR display technology.
Advancements in quantum dot synthesis techniques have led to increased quantum yield and improved stability. Higher quantum yield translates to greater energy efficiency, allowing for brighter displays without increased power consumption. Improved stability ensures consistent performance over time, addressing concerns about color shift and degradation that have historically plagued quantum dot displays.
The development of on-chip quantum dots represents another significant leap forward. This approach involves directly integrating quantum dots into the LED chip, rather than using them in a separate color conversion layer. On-chip quantum dots offer potential advantages in terms of efficiency, color purity, and manufacturing simplicity.
Researchers have also made progress in developing quantum dots that can be used in electroluminescent devices, potentially paving the way for self-emissive QLED displays. This technology could combine the color performance of quantum dots with the pixel-level light control of OLED displays, offering unprecedented HDR capabilities.
The ongoing exploration of perovskite quantum dots presents another exciting avenue for QLED material advancement. These materials show promise for achieving even higher color purity and efficiency than traditional semiconductor quantum dots, potentially pushing the boundaries of what's possible in HDR display technology.
One of the most notable material advances has been in the realm of quantum dot composition. Traditional cadmium-based quantum dots are being phased out in favor of more environmentally friendly and equally efficient alternatives. Indium phosphide (InP) quantum dots have emerged as a promising candidate, offering comparable color performance while addressing regulatory concerns associated with cadmium-based materials.
The size control and uniformity of quantum dots have also seen significant improvements. Precise control over quantum dot size distribution allows for narrower emission spectra, resulting in purer and more saturated colors. This enhanced color purity directly contributes to the expansion of the color gamut, a critical factor in HDR display technology.
Advancements in quantum dot synthesis techniques have led to increased quantum yield and improved stability. Higher quantum yield translates to greater energy efficiency, allowing for brighter displays without increased power consumption. Improved stability ensures consistent performance over time, addressing concerns about color shift and degradation that have historically plagued quantum dot displays.
The development of on-chip quantum dots represents another significant leap forward. This approach involves directly integrating quantum dots into the LED chip, rather than using them in a separate color conversion layer. On-chip quantum dots offer potential advantages in terms of efficiency, color purity, and manufacturing simplicity.
Researchers have also made progress in developing quantum dots that can be used in electroluminescent devices, potentially paving the way for self-emissive QLED displays. This technology could combine the color performance of quantum dots with the pixel-level light control of OLED displays, offering unprecedented HDR capabilities.
The ongoing exploration of perovskite quantum dots presents another exciting avenue for QLED material advancement. These materials show promise for achieving even higher color purity and efficiency than traditional semiconductor quantum dots, potentially pushing the boundaries of what's possible in HDR display technology.
Energy Efficiency Impact
The energy efficiency impact of engineering high dynamic range (HDR) in QLED solutions is a critical consideration in the development and implementation of this technology. QLED displays with HDR capabilities typically consume more power than their standard dynamic range counterparts due to the increased brightness and contrast requirements. However, advancements in QLED technology have led to significant improvements in energy efficiency while maintaining high dynamic range performance.
One of the primary factors contributing to the energy efficiency of HDR QLED displays is the use of quantum dots. These nanocrystals are highly efficient at converting blue light into other colors, resulting in improved color accuracy and brightness without excessive power consumption. The precise control over quantum dot emission allows for optimized energy usage across different brightness levels and color ranges.
The implementation of local dimming techniques in QLED displays further enhances energy efficiency in HDR content reproduction. By selectively dimming or turning off individual LED zones, the display can achieve deep blacks and high contrast while reducing overall power consumption. This approach is particularly effective in HDR scenarios where certain areas of the screen require high brightness while others remain dark.
Advanced power management systems play a crucial role in balancing HDR performance with energy efficiency. These systems dynamically adjust the power allocation to different parts of the display based on the content being shown, ensuring that energy is used efficiently without compromising the visual quality of HDR content.
The development of more efficient LED backlighting systems has also contributed to improved energy efficiency in HDR QLED displays. New designs incorporate advanced optical films and light guide plates that maximize light output while minimizing power input, resulting in brighter displays that consume less energy.
Furthermore, the integration of artificial intelligence and machine learning algorithms in QLED display systems has led to more sophisticated power management. These algorithms can analyze content in real-time and optimize power distribution across the display, ensuring that HDR performance is maintained while minimizing unnecessary energy consumption.
As QLED technology continues to evolve, researchers are exploring new materials and manufacturing processes to further enhance energy efficiency. This includes the development of more efficient quantum dots, improved color filters, and advanced backlight designs that can deliver HDR performance with even lower power requirements.
In conclusion, while engineering high dynamic range in QLED solutions does present challenges in terms of energy consumption, ongoing technological advancements are continuously improving the balance between HDR performance and energy efficiency. The combination of quantum dot technology, local dimming techniques, advanced power management systems, and AI-driven optimizations is paving the way for QLED displays that offer stunning HDR visuals with increasingly modest energy footprints.
One of the primary factors contributing to the energy efficiency of HDR QLED displays is the use of quantum dots. These nanocrystals are highly efficient at converting blue light into other colors, resulting in improved color accuracy and brightness without excessive power consumption. The precise control over quantum dot emission allows for optimized energy usage across different brightness levels and color ranges.
The implementation of local dimming techniques in QLED displays further enhances energy efficiency in HDR content reproduction. By selectively dimming or turning off individual LED zones, the display can achieve deep blacks and high contrast while reducing overall power consumption. This approach is particularly effective in HDR scenarios where certain areas of the screen require high brightness while others remain dark.
Advanced power management systems play a crucial role in balancing HDR performance with energy efficiency. These systems dynamically adjust the power allocation to different parts of the display based on the content being shown, ensuring that energy is used efficiently without compromising the visual quality of HDR content.
The development of more efficient LED backlighting systems has also contributed to improved energy efficiency in HDR QLED displays. New designs incorporate advanced optical films and light guide plates that maximize light output while minimizing power input, resulting in brighter displays that consume less energy.
Furthermore, the integration of artificial intelligence and machine learning algorithms in QLED display systems has led to more sophisticated power management. These algorithms can analyze content in real-time and optimize power distribution across the display, ensuring that HDR performance is maintained while minimizing unnecessary energy consumption.
As QLED technology continues to evolve, researchers are exploring new materials and manufacturing processes to further enhance energy efficiency. This includes the development of more efficient quantum dots, improved color filters, and advanced backlight designs that can deliver HDR performance with even lower power requirements.
In conclusion, while engineering high dynamic range in QLED solutions does present challenges in terms of energy consumption, ongoing technological advancements are continuously improving the balance between HDR performance and energy efficiency. The combination of quantum dot technology, local dimming techniques, advanced power management systems, and AI-driven optimizations is paving the way for QLED displays that offer stunning HDR visuals with increasingly modest energy footprints.
Unlock deeper insights with Patsnap Eureka Quick Research — get a full tech report to explore trends and direct your research. Try now!
Generate Your Research Report Instantly with AI Agent
Supercharge your innovation with Patsnap Eureka AI Agent Platform!





