How to Implement Seamless User Interfaces with QLED?
JUN 19, 20259 MIN READ
 Generate Your Research Report Instantly with AI Agent 
 Patsnap Eureka helps you evaluate technical feasibility & market potential. 
QLED UI Evolution
The evolution of QLED (Quantum Dot Light-Emitting Diode) user interfaces represents a significant leap in display technology, offering unprecedented color accuracy, brightness, and energy efficiency. This progression has been driven by the continuous refinement of quantum dot technology and its integration into display systems.
In the early stages of QLED development, the focus was primarily on enhancing color reproduction and brightness. Initial implementations faced challenges in achieving uniform light distribution and maintaining color consistency across the display. As the technology matured, manufacturers began to address these issues through improved quantum dot formulations and more precise manufacturing processes.
A key milestone in QLED UI evolution was the introduction of local dimming techniques. This advancement allowed for better contrast ratios and deeper blacks, significantly enhancing the overall visual experience. The integration of local dimming with QLED technology marked a turning point in creating more immersive and responsive user interfaces.
The next phase of evolution saw the development of thinner and more flexible QLED displays. This breakthrough opened up new possibilities for curved and bendable screens, enabling designers to create more ergonomic and visually striking user interfaces. The ability to conform QLED displays to various shapes and forms factor has been instrumental in pushing the boundaries of UI design, particularly in automotive and wearable technology sectors.
Recent advancements have focused on improving the responsiveness and refresh rates of QLED displays. This has been crucial for implementing seamless user interfaces, especially in applications requiring high frame rates and low latency, such as gaming and interactive digital signage. The reduction in response times has significantly enhanced the fluidity of animations and transitions in UI elements.
The integration of touch sensitivity directly into QLED panels has been another significant step in UI evolution. This development has eliminated the need for separate touch layers, resulting in thinner displays with improved optical performance. The seamless integration of touch functionality has enabled more intuitive and responsive user interactions, blurring the line between the digital interface and physical interaction.
Looking towards the future, the evolution of QLED UI is likely to focus on further miniaturization of quantum dots, enabling even higher pixel densities and potentially leading to the development of micro-LED QLED hybrids. This could result in displays with unparalleled clarity and energy efficiency, opening new avenues for UI design in augmented and virtual reality applications.
In the early stages of QLED development, the focus was primarily on enhancing color reproduction and brightness. Initial implementations faced challenges in achieving uniform light distribution and maintaining color consistency across the display. As the technology matured, manufacturers began to address these issues through improved quantum dot formulations and more precise manufacturing processes.
A key milestone in QLED UI evolution was the introduction of local dimming techniques. This advancement allowed for better contrast ratios and deeper blacks, significantly enhancing the overall visual experience. The integration of local dimming with QLED technology marked a turning point in creating more immersive and responsive user interfaces.
The next phase of evolution saw the development of thinner and more flexible QLED displays. This breakthrough opened up new possibilities for curved and bendable screens, enabling designers to create more ergonomic and visually striking user interfaces. The ability to conform QLED displays to various shapes and forms factor has been instrumental in pushing the boundaries of UI design, particularly in automotive and wearable technology sectors.
Recent advancements have focused on improving the responsiveness and refresh rates of QLED displays. This has been crucial for implementing seamless user interfaces, especially in applications requiring high frame rates and low latency, such as gaming and interactive digital signage. The reduction in response times has significantly enhanced the fluidity of animations and transitions in UI elements.
The integration of touch sensitivity directly into QLED panels has been another significant step in UI evolution. This development has eliminated the need for separate touch layers, resulting in thinner displays with improved optical performance. The seamless integration of touch functionality has enabled more intuitive and responsive user interactions, blurring the line between the digital interface and physical interaction.
Looking towards the future, the evolution of QLED UI is likely to focus on further miniaturization of quantum dots, enabling even higher pixel densities and potentially leading to the development of micro-LED QLED hybrids. This could result in displays with unparalleled clarity and energy efficiency, opening new avenues for UI design in augmented and virtual reality applications.
Market Demand Analysis
The market demand for seamless user interfaces implemented with QLED technology has been steadily growing in recent years, driven by the increasing consumer expectations for high-quality, immersive display experiences. QLED (Quantum Dot Light Emitting Diode) technology has emerged as a promising solution for creating vibrant, responsive, and seamless user interfaces across various devices and applications.
In the consumer electronics sector, there is a strong demand for QLED-based seamless interfaces in smart TVs, monitors, and mobile devices. The superior color reproduction, high contrast ratios, and energy efficiency of QLED displays have made them increasingly popular among consumers seeking premium visual experiences. Market research indicates that the global QLED TV market is expected to grow significantly over the next five years, with a compound annual growth rate (CAGR) exceeding 20%.
The automotive industry has also shown considerable interest in QLED technology for implementing seamless user interfaces in vehicle infotainment systems and digital dashboards. As cars become more connected and autonomous, the demand for high-quality, intuitive displays that can seamlessly integrate various functions and information is on the rise. Major automotive manufacturers are investing in QLED-based solutions to enhance the in-vehicle user experience and differentiate their products in a competitive market.
In the commercial and industrial sectors, there is a growing demand for large-format displays and video walls that can deliver seamless, high-resolution content for digital signage, control rooms, and collaborative workspaces. QLED technology's ability to produce bright, uniform images with wide viewing angles makes it particularly suitable for these applications. The digital signage market, in particular, is projected to see substantial growth, with QLED-based solutions playing a significant role in this expansion.
The gaming industry represents another key market for seamless QLED user interfaces. Gamers are increasingly demanding displays with high refresh rates, low input lag, and superior color accuracy – all attributes that QLED technology can deliver. The gaming monitor market has been experiencing rapid growth, with QLED models gaining traction among enthusiasts and professional gamers alike.
As the Internet of Things (IoT) and smart home ecosystems continue to evolve, there is an emerging demand for seamless user interfaces in various connected devices. From smart appliances to home automation systems, QLED technology has the potential to enhance the user experience by providing vibrant, responsive displays that can effectively communicate information and facilitate user interaction.
The healthcare sector is also showing interest in QLED-based seamless interfaces for medical imaging and diagnostic equipment. The technology's ability to produce accurate colors and high contrast ratios is particularly valuable in applications where precise visual information is critical for diagnosis and treatment planning.
In the consumer electronics sector, there is a strong demand for QLED-based seamless interfaces in smart TVs, monitors, and mobile devices. The superior color reproduction, high contrast ratios, and energy efficiency of QLED displays have made them increasingly popular among consumers seeking premium visual experiences. Market research indicates that the global QLED TV market is expected to grow significantly over the next five years, with a compound annual growth rate (CAGR) exceeding 20%.
The automotive industry has also shown considerable interest in QLED technology for implementing seamless user interfaces in vehicle infotainment systems and digital dashboards. As cars become more connected and autonomous, the demand for high-quality, intuitive displays that can seamlessly integrate various functions and information is on the rise. Major automotive manufacturers are investing in QLED-based solutions to enhance the in-vehicle user experience and differentiate their products in a competitive market.
In the commercial and industrial sectors, there is a growing demand for large-format displays and video walls that can deliver seamless, high-resolution content for digital signage, control rooms, and collaborative workspaces. QLED technology's ability to produce bright, uniform images with wide viewing angles makes it particularly suitable for these applications. The digital signage market, in particular, is projected to see substantial growth, with QLED-based solutions playing a significant role in this expansion.
The gaming industry represents another key market for seamless QLED user interfaces. Gamers are increasingly demanding displays with high refresh rates, low input lag, and superior color accuracy – all attributes that QLED technology can deliver. The gaming monitor market has been experiencing rapid growth, with QLED models gaining traction among enthusiasts and professional gamers alike.
As the Internet of Things (IoT) and smart home ecosystems continue to evolve, there is an emerging demand for seamless user interfaces in various connected devices. From smart appliances to home automation systems, QLED technology has the potential to enhance the user experience by providing vibrant, responsive displays that can effectively communicate information and facilitate user interaction.
The healthcare sector is also showing interest in QLED-based seamless interfaces for medical imaging and diagnostic equipment. The technology's ability to produce accurate colors and high contrast ratios is particularly valuable in applications where precise visual information is critical for diagnosis and treatment planning.
QLED UI Challenges
Implementing seamless user interfaces with QLED technology presents several significant challenges that developers and designers must address. One of the primary obstacles is achieving consistent brightness and color accuracy across the entire display. QLED panels, while offering superior color reproduction and contrast ratios, can exhibit variations in luminance and color uniformity, especially at different viewing angles. This inconsistency can disrupt the seamless experience users expect from high-end displays.
Another challenge lies in managing power consumption while maintaining optimal display performance. QLED displays, particularly those with high refresh rates and resolutions, require substantial power to operate at peak efficiency. Balancing power usage with visual quality is crucial for creating interfaces that are both visually stunning and energy-efficient, especially in mobile or battery-powered devices.
The response time of QLED displays also poses a challenge for creating fluid, lag-free interfaces. While QLED technology has made significant strides in reducing response times, achieving the near-instantaneous pixel transitions required for ultra-smooth animations and touch responsiveness remains an ongoing area of development. This is particularly critical for applications requiring real-time interaction, such as gaming or augmented reality interfaces.
Integration of touch functionality with QLED displays presents another hurdle. The complex structure of QLED panels can interfere with the accuracy and sensitivity of touch sensors, potentially leading to decreased touch responsiveness or precision. Developing solutions that seamlessly combine QLED display technology with advanced touch sensing capabilities is essential for creating intuitive, interactive user interfaces.
Addressing burn-in and image retention issues is also crucial for long-term usability. Although QLED displays are less susceptible to burn-in compared to OLED technology, they are not entirely immune. Designing interfaces and implementing software solutions to mitigate these effects without compromising the user experience is a delicate balance that developers must strike.
Finally, the challenge of cost-effective production and scalability cannot be overlooked. While QLED technology offers numerous advantages, the manufacturing processes and materials required can lead to higher production costs. Finding ways to implement QLED-based interfaces in a wider range of devices while keeping costs manageable is crucial for widespread adoption and accessibility of this technology in user interface design.
Another challenge lies in managing power consumption while maintaining optimal display performance. QLED displays, particularly those with high refresh rates and resolutions, require substantial power to operate at peak efficiency. Balancing power usage with visual quality is crucial for creating interfaces that are both visually stunning and energy-efficient, especially in mobile or battery-powered devices.
The response time of QLED displays also poses a challenge for creating fluid, lag-free interfaces. While QLED technology has made significant strides in reducing response times, achieving the near-instantaneous pixel transitions required for ultra-smooth animations and touch responsiveness remains an ongoing area of development. This is particularly critical for applications requiring real-time interaction, such as gaming or augmented reality interfaces.
Integration of touch functionality with QLED displays presents another hurdle. The complex structure of QLED panels can interfere with the accuracy and sensitivity of touch sensors, potentially leading to decreased touch responsiveness or precision. Developing solutions that seamlessly combine QLED display technology with advanced touch sensing capabilities is essential for creating intuitive, interactive user interfaces.
Addressing burn-in and image retention issues is also crucial for long-term usability. Although QLED displays are less susceptible to burn-in compared to OLED technology, they are not entirely immune. Designing interfaces and implementing software solutions to mitigate these effects without compromising the user experience is a delicate balance that developers must strike.
Finally, the challenge of cost-effective production and scalability cannot be overlooked. While QLED technology offers numerous advantages, the manufacturing processes and materials required can lead to higher production costs. Finding ways to implement QLED-based interfaces in a wider range of devices while keeping costs manageable is crucial for widespread adoption and accessibility of this technology in user interface design.
Current QLED UI Solutions
01 QLED display structure and fabrication
This category focuses on the structural design and manufacturing processes of QLED displays. It includes innovations in quantum dot layer composition, electrode configurations, and substrate materials. These advancements aim to improve display performance, efficiency, and durability for user interface applications.- QLED display structure and fabrication: This category focuses on the structural design and manufacturing processes of QLED displays. It includes innovations in quantum dot layers, light-emitting layers, and electrode configurations to enhance display performance and efficiency. The fabrication methods aim to improve color purity, brightness, and overall display quality for user interfaces.
 - User interface design for QLED devices: This point covers the development of user-friendly interfaces specifically designed for QLED displays. It includes touch-sensitive controls, gesture recognition, and adaptive brightness features that enhance user interaction with QLED devices. The focus is on creating intuitive and responsive interfaces that take advantage of QLED's unique display characteristics.
 - Color management and image processing for QLED displays: This category addresses techniques for optimizing color reproduction and image quality on QLED displays. It includes algorithms for color calibration, gamut mapping, and high dynamic range (HDR) processing. These innovations aim to provide more accurate and vibrant color representation in user interfaces, enhancing the overall visual experience.
 - Energy efficiency and power management in QLED user interfaces: This point focuses on improving the energy efficiency of QLED displays in user interface applications. It includes power-saving modes, adaptive brightness control, and intelligent pixel management techniques. These innovations aim to extend battery life in portable devices and reduce power consumption in larger QLED displays while maintaining optimal user experience.
 - Integration of QLED technology with other display and sensing technologies: This category explores the combination of QLED technology with other advanced display and sensing technologies to create more versatile and interactive user interfaces. It includes the integration of QLED with touch sensors, ambient light sensors, and even flexible or transparent display elements. These innovations aim to expand the capabilities and applications of QLED-based user interfaces in various devices and environments.
 
02 User interface integration with QLED technology
This point addresses the integration of QLED displays into user interface systems. It covers techniques for incorporating touch sensitivity, gesture recognition, and other interactive features into QLED-based screens. The focus is on creating responsive and intuitive user experiences with QLED technology.Expand Specific Solutions03 Color management and image quality enhancement
This category encompasses methods for optimizing color reproduction and image quality in QLED user interfaces. It includes techniques for color calibration, gamut expansion, and contrast enhancement. These innovations aim to provide more vibrant, accurate, and visually appealing displays for user interaction.Expand Specific Solutions04 Energy efficiency and power management
This point focuses on improving the energy efficiency of QLED displays in user interface applications. It covers innovations in power management, low-power operation modes, and adaptive brightness control. These advancements aim to extend battery life and reduce energy consumption in QLED-based devices.Expand Specific Solutions05 Flexible and foldable QLED interfaces
This category addresses the development of flexible and foldable QLED displays for user interfaces. It includes innovations in substrate materials, encapsulation techniques, and stress-resistant structures. These advancements enable the creation of bendable, rollable, or foldable screens for more versatile and adaptable user interface designs.Expand Specific Solutions
QLED UI Key Players
The implementation of seamless user interfaces with QLED technology is currently in a growth phase, with the market expanding rapidly due to increasing demand for high-quality displays. Major players like Samsung Electronics, LG Electronics, and BOE Technology Group are leading the innovation in this field, leveraging their extensive R&D capabilities. The technology's maturity is advancing, with companies such as TCL China Star Optoelectronics and Hisense Visual Technology also making significant contributions. As QLED technology continues to evolve, we're seeing a competitive landscape where established electronics giants are being challenged by emerging specialists like Yiwu QingYue Optoelectronics and Suzhou QingYue Optoelectronics, driving further innovation and market expansion.
BOE Technology Group Co., Ltd.
Technical Solution:  BOE's approach to seamless user interfaces with QLED technology focuses on integrating touch functionality directly into their QLED displays. Their solution involves using in-cell touch technology, which embeds touch sensors within the display panel itself, eliminating the need for a separate touch layer. This results in a thinner overall display with improved touch responsiveness. BOE also implements their proprietary AI-driven image processing algorithms to enhance picture quality and reduce latency in touch interactions. Their QLED displays feature high refresh rates and low response times, contributing to a smooth and responsive user interface experience.
Strengths: Integrated touch functionality, thin form factor, high refresh rates for smooth interactions. Weaknesses: Potential for higher manufacturing costs, may require specialized software integration for full functionality.
LG Electronics, Inc.
Technical Solution:  LG's approach to seamless user interfaces with QLED involves their ThinQ AI platform, which integrates with their QLED displays. This system uses natural language processing to allow users to control their TV and connected smart home devices through voice commands. LG's webOS platform, specifically designed for their QLED TVs, offers a intuitive and responsive interface. The Magic Remote, with its point-and-click functionality, further enhances the user experience by allowing for easy navigation through the interface. LG also implements Auto Calibration technology, which automatically adjusts picture settings for optimal viewing in different lighting conditions.
Strengths: Advanced AI integration, intuitive webOS platform, Magic Remote for easy navigation. Weaknesses: Potential learning curve for users unfamiliar with AI-driven interfaces, reliance on internet connectivity for full functionality.
QLED UI Innovations
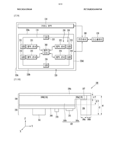
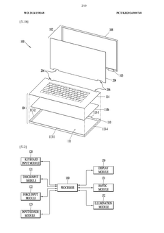
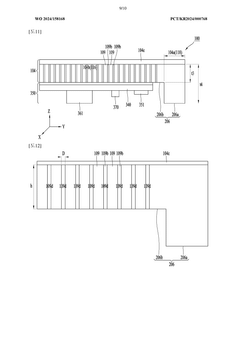
Electronic device having touch pad area and keyboard 
PatentWO2024158168A1
 Innovation 
- An electronic device design that integrates a touch pad area with the surrounding keyboard area using a metal case with a dielectric mold and a coating layer, along with a haptic module for feedback, to create a seamless interface and confirm user input through light emission and vibration.
 
Operator interface for communications terminals 
PatentWO2000028514A2
 Innovation 
- A lighting and display film integrated with a membrane keyboard, utilizing electroluminescent films for illumination, which allows for easy character display and reduces manufacturing complexity by eliminating separate keyboard and display components, enabling the implementation of complex user interfaces with simpler production methods.
 
QLED Display Standards
QLED display standards play a crucial role in ensuring consistency, quality, and interoperability across different manufacturers and devices. These standards encompass various aspects of QLED technology, including color gamut, brightness, contrast ratio, and power efficiency.
One of the primary QLED display standards is the BT.2020 color space, which defines a wider color gamut than previous standards. This allows QLED displays to reproduce a more extensive range of colors, resulting in more vibrant and lifelike images. The BT.2020 standard specifies the precise chromaticity coordinates for red, green, and blue primary colors, enabling accurate color reproduction across different QLED displays.
Another important standard is the High Dynamic Range (HDR) specification, which defines the requirements for displaying content with a wider range of brightness and contrast. QLED displays often adhere to HDR10 or HDR10+ standards, which specify the metadata format for HDR content and the display capabilities required to reproduce it accurately. These standards ensure that QLED displays can deliver enhanced contrast and brightness levels, resulting in more immersive viewing experiences.
The VESA DisplayHDR standard is also relevant to QLED displays, providing a standardized way to measure and certify HDR performance. This standard defines different tiers of HDR capabilities, such as DisplayHDR 400, 600, and 1000, based on factors like peak brightness, black level, and color gamut coverage. QLED displays often aim to meet or exceed these certification levels to demonstrate their HDR capabilities.
Power efficiency is another area addressed by QLED display standards. The ENERGY STAR program, for instance, sets guidelines for energy consumption in electronic devices, including QLED displays. Manufacturers strive to meet these standards to ensure their displays are energy-efficient while maintaining high performance.
Uniformity standards are also crucial for QLED displays, especially in implementing seamless user interfaces. These standards define acceptable levels of brightness and color uniformity across the display surface, ensuring consistent image quality and preventing distracting variations that could impact the user experience.
In terms of connectivity, QLED displays often adhere to standards such as HDMI 2.1 or DisplayPort 1.4, which define the protocols for transmitting high-resolution, high-refresh-rate content. These standards are essential for ensuring compatibility between QLED displays and various source devices, enabling seamless integration into different user interface scenarios.
One of the primary QLED display standards is the BT.2020 color space, which defines a wider color gamut than previous standards. This allows QLED displays to reproduce a more extensive range of colors, resulting in more vibrant and lifelike images. The BT.2020 standard specifies the precise chromaticity coordinates for red, green, and blue primary colors, enabling accurate color reproduction across different QLED displays.
Another important standard is the High Dynamic Range (HDR) specification, which defines the requirements for displaying content with a wider range of brightness and contrast. QLED displays often adhere to HDR10 or HDR10+ standards, which specify the metadata format for HDR content and the display capabilities required to reproduce it accurately. These standards ensure that QLED displays can deliver enhanced contrast and brightness levels, resulting in more immersive viewing experiences.
The VESA DisplayHDR standard is also relevant to QLED displays, providing a standardized way to measure and certify HDR performance. This standard defines different tiers of HDR capabilities, such as DisplayHDR 400, 600, and 1000, based on factors like peak brightness, black level, and color gamut coverage. QLED displays often aim to meet or exceed these certification levels to demonstrate their HDR capabilities.
Power efficiency is another area addressed by QLED display standards. The ENERGY STAR program, for instance, sets guidelines for energy consumption in electronic devices, including QLED displays. Manufacturers strive to meet these standards to ensure their displays are energy-efficient while maintaining high performance.
Uniformity standards are also crucial for QLED displays, especially in implementing seamless user interfaces. These standards define acceptable levels of brightness and color uniformity across the display surface, ensuring consistent image quality and preventing distracting variations that could impact the user experience.
In terms of connectivity, QLED displays often adhere to standards such as HDMI 2.1 or DisplayPort 1.4, which define the protocols for transmitting high-resolution, high-refresh-rate content. These standards are essential for ensuring compatibility between QLED displays and various source devices, enabling seamless integration into different user interface scenarios.
User Experience Research
User experience research is a critical component in implementing seamless user interfaces with QLED technology. This research focuses on understanding user behaviors, needs, and preferences when interacting with QLED displays, ensuring that the resulting interfaces are intuitive, efficient, and enjoyable to use.
One key aspect of user experience research for QLED interfaces is evaluating the visual quality and perception of content displayed on these screens. QLED technology offers superior color accuracy, brightness, and contrast compared to traditional LCD displays. Researchers must investigate how users perceive these enhanced visual characteristics and how they impact the overall user experience.
Another important area of study is the responsiveness and fluidity of QLED interfaces. The high refresh rates and low input lag of QLED displays can significantly improve the user experience, particularly in applications requiring real-time interaction. User experience researchers must assess how these technical advantages translate into improved usability and user satisfaction.
Ergonomics and visual comfort are also crucial considerations in QLED interface design. Studies should examine factors such as eye strain, viewing angles, and optimal screen sizes for different use cases. This research can inform the development of interfaces that minimize user fatigue and maximize comfort during extended use periods.
User experience researchers must also investigate the impact of QLED's wide color gamut on interface design. The ability to display a broader range of colors opens up new possibilities for visual communication and aesthetics. However, it also presents challenges in ensuring color consistency across different devices and viewing conditions.
Accessibility is another critical area of focus in user experience research for QLED interfaces. Researchers must explore how the enhanced visual capabilities of QLED technology can be leveraged to improve the user experience for individuals with visual impairments or other disabilities.
Finally, user experience research should examine the integration of QLED interfaces with emerging technologies such as touch controls, voice commands, and gesture recognition. Understanding how users interact with these combined technologies can lead to the development of more intuitive and seamless user interfaces.
By conducting comprehensive user experience research, developers can create QLED interfaces that not only showcase the technology's visual capabilities but also provide users with intuitive, efficient, and enjoyable interactions. This research-driven approach ensures that the resulting interfaces meet user needs and expectations, ultimately driving adoption and satisfaction with QLED-based products.
One key aspect of user experience research for QLED interfaces is evaluating the visual quality and perception of content displayed on these screens. QLED technology offers superior color accuracy, brightness, and contrast compared to traditional LCD displays. Researchers must investigate how users perceive these enhanced visual characteristics and how they impact the overall user experience.
Another important area of study is the responsiveness and fluidity of QLED interfaces. The high refresh rates and low input lag of QLED displays can significantly improve the user experience, particularly in applications requiring real-time interaction. User experience researchers must assess how these technical advantages translate into improved usability and user satisfaction.
Ergonomics and visual comfort are also crucial considerations in QLED interface design. Studies should examine factors such as eye strain, viewing angles, and optimal screen sizes for different use cases. This research can inform the development of interfaces that minimize user fatigue and maximize comfort during extended use periods.
User experience researchers must also investigate the impact of QLED's wide color gamut on interface design. The ability to display a broader range of colors opens up new possibilities for visual communication and aesthetics. However, it also presents challenges in ensuring color consistency across different devices and viewing conditions.
Accessibility is another critical area of focus in user experience research for QLED interfaces. Researchers must explore how the enhanced visual capabilities of QLED technology can be leveraged to improve the user experience for individuals with visual impairments or other disabilities.
Finally, user experience research should examine the integration of QLED interfaces with emerging technologies such as touch controls, voice commands, and gesture recognition. Understanding how users interact with these combined technologies can lead to the development of more intuitive and seamless user interfaces.
By conducting comprehensive user experience research, developers can create QLED interfaces that not only showcase the technology's visual capabilities but also provide users with intuitive, efficient, and enjoyable interactions. This research-driven approach ensures that the resulting interfaces meet user needs and expectations, ultimately driving adoption and satisfaction with QLED-based products.
 Unlock deeper insights with  Patsnap Eureka Quick Research — get a full tech report to explore trends and direct your research. Try now! 
 Generate Your Research Report Instantly with AI Agent 
 Supercharge your innovation with Patsnap Eureka AI Agent Platform! 







