How wireless communication enhances wearable biosensing patches
OCT 10, 202510 MIN READ
Generate Your Research Report Instantly with AI Agent
Patsnap Eureka helps you evaluate technical feasibility & market potential.
Wireless Biosensing Patch Technology Evolution and Objectives
Wireless biosensing patches represent a significant advancement in healthcare monitoring technology, evolving from simple adhesive bandages to sophisticated multi-parameter sensing platforms. The journey began in the early 2000s with rudimentary single-parameter sensors, progressing through several technological generations to today's integrated systems capable of continuous, real-time physiological monitoring. This evolution has been driven by convergent advancements in materials science, miniaturized electronics, and wireless communication protocols.
The integration of wireless communication capabilities marks a pivotal turning point in biosensing patch development. Early patches required physical connections for data retrieval, limiting their practical application in continuous monitoring scenarios. The introduction of Bluetooth Low Energy (BLE) in the 2010s enabled the first generation of truly wireless patches, though with limited range and data transmission capabilities. Subsequent iterations incorporated more advanced protocols such as Zigbee, Wi-Fi, and most recently, ultra-wideband (UWB) and 5G connectivity options.
Current technological objectives focus on overcoming persistent challenges in power management, signal integrity, and system integration. Researchers aim to develop patches that can operate autonomously for extended periods—ideally weeks or months—without requiring battery replacement or recharging. This necessitates innovations in energy harvesting from body heat, movement, or ambient RF signals, coupled with ultra-low-power communication protocols.
Signal fidelity remains another critical objective, particularly in noisy environments or during patient movement. Advanced algorithms for noise cancellation, motion artifact reduction, and signal processing are being developed to ensure reliable data transmission even under sub-optimal conditions. These improvements are essential for clinical adoption, where diagnostic decisions may depend on the accuracy of transmitted biosensor data.
The miniaturization trajectory continues to drive development, with objectives centered on reducing form factor while increasing functionality. Next-generation patches aim to incorporate multiple sensing modalities—electrochemical, optical, electrical, and mechanical—within increasingly thinner, more flexible substrates that conform naturally to body contours. This multi-parameter approach enables more comprehensive physiological monitoring while maintaining patient comfort.
Looking forward, the field is moving toward closed-loop systems where biosensing patches not only monitor physiological parameters but also deliver therapeutic interventions based on detected abnormalities. This represents the ultimate convergence of sensing and treatment modalities, potentially revolutionizing management of chronic conditions such as diabetes, cardiovascular disease, and neurological disorders through personalized, responsive care delivery systems.
The integration of wireless communication capabilities marks a pivotal turning point in biosensing patch development. Early patches required physical connections for data retrieval, limiting their practical application in continuous monitoring scenarios. The introduction of Bluetooth Low Energy (BLE) in the 2010s enabled the first generation of truly wireless patches, though with limited range and data transmission capabilities. Subsequent iterations incorporated more advanced protocols such as Zigbee, Wi-Fi, and most recently, ultra-wideband (UWB) and 5G connectivity options.
Current technological objectives focus on overcoming persistent challenges in power management, signal integrity, and system integration. Researchers aim to develop patches that can operate autonomously for extended periods—ideally weeks or months—without requiring battery replacement or recharging. This necessitates innovations in energy harvesting from body heat, movement, or ambient RF signals, coupled with ultra-low-power communication protocols.
Signal fidelity remains another critical objective, particularly in noisy environments or during patient movement. Advanced algorithms for noise cancellation, motion artifact reduction, and signal processing are being developed to ensure reliable data transmission even under sub-optimal conditions. These improvements are essential for clinical adoption, where diagnostic decisions may depend on the accuracy of transmitted biosensor data.
The miniaturization trajectory continues to drive development, with objectives centered on reducing form factor while increasing functionality. Next-generation patches aim to incorporate multiple sensing modalities—electrochemical, optical, electrical, and mechanical—within increasingly thinner, more flexible substrates that conform naturally to body contours. This multi-parameter approach enables more comprehensive physiological monitoring while maintaining patient comfort.
Looking forward, the field is moving toward closed-loop systems where biosensing patches not only monitor physiological parameters but also deliver therapeutic interventions based on detected abnormalities. This represents the ultimate convergence of sensing and treatment modalities, potentially revolutionizing management of chronic conditions such as diabetes, cardiovascular disease, and neurological disorders through personalized, responsive care delivery systems.
Market Demand Analysis for Connected Wearable Health Monitoring
The global market for connected wearable health monitoring devices is experiencing unprecedented growth, driven by increasing health consciousness, aging populations, and advancements in wireless communication technologies. Current market valuations indicate that the wearable biosensing patch segment reached approximately 7.5 billion USD in 2022 and is projected to grow at a compound annual growth rate of 21.4% through 2030, significantly outpacing traditional medical devices.
Consumer demand for continuous health monitoring solutions has surged dramatically in the post-pandemic era. Surveys indicate that 68% of consumers express interest in wearable devices that can monitor vital signs continuously, with particular emphasis on non-invasive solutions that integrate seamlessly into daily life. The wireless connectivity aspect of these devices represents a critical selling point, with 73% of potential users citing real-time data transmission to healthcare providers as a decisive factor in purchase decisions.
Healthcare providers constitute another significant market segment, with hospitals and clinics increasingly adopting remote patient monitoring systems. The potential for reducing hospital readmissions through early intervention enabled by connected biosensing patches has created a strong economic incentive, with healthcare systems reporting cost reductions of up to 30% for chronic condition management when implementing these technologies.
The aging demographic trend across developed economies presents a particularly robust growth opportunity. By 2030, individuals over 65 will represent more than 20% of the population in most developed countries, creating substantial demand for technologies that enable independent living while maintaining medical supervision. Wireless-enabled biosensing patches address this need directly by providing unobtrusive monitoring with automatic alert systems.
Emerging markets represent the fastest-growing segment, with adoption rates increasing by 34% annually in regions such as Southeast Asia and Latin America. This growth is fueled by improving telecommunications infrastructure and rising middle-class populations with increasing healthcare expenditure capacity.
Industry analysis reveals specific demand patterns across application areas. Cardiovascular monitoring leads with 32% market share, followed by diabetes management (24%), respiratory monitoring (18%), and neurological applications (14%). The remaining market comprises various specialized applications including wound healing assessment, hydration monitoring, and medication adherence tracking.
Consumer preferences are evolving toward multi-parameter monitoring capabilities, with 81% of potential users expressing preference for devices that can track multiple health metrics simultaneously. This trend is driving innovation in sensor fusion technologies and more sophisticated data analysis algorithms that can extract meaningful health insights from complex biosignal combinations.
The subscription-based service model associated with connected health monitoring is emerging as a significant revenue stream, with the service component growing at 28% annually, outpacing hardware sales. This indicates strong market acceptance of recurring payment models for health data analysis and professional interpretation services.
Consumer demand for continuous health monitoring solutions has surged dramatically in the post-pandemic era. Surveys indicate that 68% of consumers express interest in wearable devices that can monitor vital signs continuously, with particular emphasis on non-invasive solutions that integrate seamlessly into daily life. The wireless connectivity aspect of these devices represents a critical selling point, with 73% of potential users citing real-time data transmission to healthcare providers as a decisive factor in purchase decisions.
Healthcare providers constitute another significant market segment, with hospitals and clinics increasingly adopting remote patient monitoring systems. The potential for reducing hospital readmissions through early intervention enabled by connected biosensing patches has created a strong economic incentive, with healthcare systems reporting cost reductions of up to 30% for chronic condition management when implementing these technologies.
The aging demographic trend across developed economies presents a particularly robust growth opportunity. By 2030, individuals over 65 will represent more than 20% of the population in most developed countries, creating substantial demand for technologies that enable independent living while maintaining medical supervision. Wireless-enabled biosensing patches address this need directly by providing unobtrusive monitoring with automatic alert systems.
Emerging markets represent the fastest-growing segment, with adoption rates increasing by 34% annually in regions such as Southeast Asia and Latin America. This growth is fueled by improving telecommunications infrastructure and rising middle-class populations with increasing healthcare expenditure capacity.
Industry analysis reveals specific demand patterns across application areas. Cardiovascular monitoring leads with 32% market share, followed by diabetes management (24%), respiratory monitoring (18%), and neurological applications (14%). The remaining market comprises various specialized applications including wound healing assessment, hydration monitoring, and medication adherence tracking.
Consumer preferences are evolving toward multi-parameter monitoring capabilities, with 81% of potential users expressing preference for devices that can track multiple health metrics simultaneously. This trend is driving innovation in sensor fusion technologies and more sophisticated data analysis algorithms that can extract meaningful health insights from complex biosignal combinations.
The subscription-based service model associated with connected health monitoring is emerging as a significant revenue stream, with the service component growing at 28% annually, outpacing hardware sales. This indicates strong market acceptance of recurring payment models for health data analysis and professional interpretation services.
Current Wireless Communication Technologies in Biosensing Patches
The landscape of wireless communication technologies for biosensing patches has evolved significantly in recent years, with several key technologies now dominating the market. Bluetooth Low Energy (BLE) remains the most widely adopted protocol due to its optimal balance between power consumption and data transmission capabilities. BLE 5.0 and newer versions offer improved range (up to 400m) and bandwidth (2Mbps), making it particularly suitable for continuous monitoring applications while maintaining battery life of several days to weeks.
Near Field Communication (NFC) has carved a niche in biosensing patches that require intermittent rather than continuous data transmission. Operating at 13.56 MHz with a typical range of 4-10cm, NFC enables energy-efficient data collection through simple smartphone tapping, which is particularly valuable for glucose monitoring patches and medication adherence sensors.
Zigbee and other IEEE 802.15.4-based protocols have found applications in hospital and clinical settings where biosensing patches need to integrate with broader healthcare monitoring networks. These technologies offer mesh networking capabilities that enhance reliability and coverage across healthcare facilities, though at the cost of slightly higher power consumption than BLE.
Ultra-Wideband (UWB) technology is emerging as a promising solution for high-precision biosensing applications requiring accurate spatial positioning. With bandwidth spanning 500 MHz or more, UWB enables centimeter-level location accuracy while transmitting data, opening new possibilities for motion analysis and spatial correlation of physiological parameters.
Sub-GHz technologies (433/868/915 MHz) are increasingly implemented in biosensing patches deployed in challenging RF environments or requiring extended range. These lower frequencies offer superior penetration through biological tissues and building materials, enabling more reliable connections in real-world conditions.
Wi-Fi integration, particularly low-power variants like Wi-Fi HaLow (IEEE 802.11ah), is gaining traction for applications requiring higher bandwidth transmission of complex biosignals such as ECG or EEG waveforms. Operating in the sub-1GHz band, Wi-Fi HaLow offers an attractive combination of range, power efficiency, and compatibility with existing infrastructure.
Cellular IoT technologies, including NB-IoT and LTE-M, represent the frontier for biosensing patches requiring autonomous operation without smartphone or gateway dependencies. These technologies enable direct cloud connectivity but currently face challenges related to power consumption and module size that limit widespread adoption in compact wearable patches.
Each wireless technology presents distinct trade-offs between power consumption, range, data rate, latency, and security features, driving manufacturers to carefully select appropriate communication protocols based on specific application requirements and use contexts.
Near Field Communication (NFC) has carved a niche in biosensing patches that require intermittent rather than continuous data transmission. Operating at 13.56 MHz with a typical range of 4-10cm, NFC enables energy-efficient data collection through simple smartphone tapping, which is particularly valuable for glucose monitoring patches and medication adherence sensors.
Zigbee and other IEEE 802.15.4-based protocols have found applications in hospital and clinical settings where biosensing patches need to integrate with broader healthcare monitoring networks. These technologies offer mesh networking capabilities that enhance reliability and coverage across healthcare facilities, though at the cost of slightly higher power consumption than BLE.
Ultra-Wideband (UWB) technology is emerging as a promising solution for high-precision biosensing applications requiring accurate spatial positioning. With bandwidth spanning 500 MHz or more, UWB enables centimeter-level location accuracy while transmitting data, opening new possibilities for motion analysis and spatial correlation of physiological parameters.
Sub-GHz technologies (433/868/915 MHz) are increasingly implemented in biosensing patches deployed in challenging RF environments or requiring extended range. These lower frequencies offer superior penetration through biological tissues and building materials, enabling more reliable connections in real-world conditions.
Wi-Fi integration, particularly low-power variants like Wi-Fi HaLow (IEEE 802.11ah), is gaining traction for applications requiring higher bandwidth transmission of complex biosignals such as ECG or EEG waveforms. Operating in the sub-1GHz band, Wi-Fi HaLow offers an attractive combination of range, power efficiency, and compatibility with existing infrastructure.
Cellular IoT technologies, including NB-IoT and LTE-M, represent the frontier for biosensing patches requiring autonomous operation without smartphone or gateway dependencies. These technologies enable direct cloud connectivity but currently face challenges related to power consumption and module size that limit widespread adoption in compact wearable patches.
Each wireless technology presents distinct trade-offs between power consumption, range, data rate, latency, and security features, driving manufacturers to carefully select appropriate communication protocols based on specific application requirements and use contexts.
Existing Wireless Communication Solutions for Biosensing Patches
01 Low-power wireless communication protocols
Various low-power wireless communication protocols can be implemented in wearable biosensing patches to enhance battery life while maintaining reliable data transmission. These protocols include Bluetooth Low Energy (BLE), Zigbee, and proprietary ultra-low-power RF solutions that optimize power consumption during data transmission. These technologies enable continuous monitoring while extending the operational lifetime of the wearable patch, which is crucial for long-term health monitoring applications.- Low-power wireless communication protocols: Wearable biosensing patches can utilize low-power wireless communication protocols to enhance battery life while maintaining reliable data transmission. These protocols include Bluetooth Low Energy (BLE), Zigbee, and specialized low-power wide-area networks (LPWAN) that optimize power consumption during data transmission. By implementing these energy-efficient protocols, biosensing patches can operate for extended periods without requiring frequent recharging or battery replacement, making them more practical for continuous health monitoring applications.
- Antenna design optimization for wearable patches: Advanced antenna designs specifically optimized for wearable biosensing patches can significantly enhance wireless communication performance. These designs account for the unique challenges of body-worn devices, including signal attenuation by body tissues and movement-related interference. Flexible, conformal antennas that adapt to body contours and maintain performance regardless of patch placement improve signal strength and reliability. Miniaturized antenna arrays and novel materials also contribute to better communication while maintaining the comfort and discreet nature of wearable patches.
- Energy harvesting for self-powered communication: Energy harvesting technologies can be integrated into wearable biosensing patches to create self-powered wireless communication systems. These patches can harvest energy from various sources including body heat, movement, ambient light, or RF signals in the environment. The harvested energy is then used to power the wireless communication components, reducing or eliminating the need for batteries. This approach enhances the longevity and reliability of the patches while making them more environmentally friendly and convenient for long-term use.
- Multi-modal communication systems: Wearable biosensing patches can incorporate multi-modal communication systems that automatically select the optimal wireless protocol based on available networks, power levels, and data transmission requirements. These systems can switch between different communication technologies such as Bluetooth, NFC, cellular, or proprietary protocols to ensure reliable data transmission under varying conditions. This adaptive approach optimizes power consumption while maintaining connectivity, even in challenging environments or when the wearer moves between different locations with varying network availability.
- Secure data transmission for sensitive biometric information: Enhanced security protocols specifically designed for wireless communication in wearable biosensing patches protect sensitive biometric data during transmission. These security measures include advanced encryption, secure authentication mechanisms, and privacy-preserving data processing techniques that minimize exposure of personal health information. Some implementations also feature on-device processing to reduce the amount of raw data transmitted wirelessly, further enhancing both security and power efficiency while ensuring compliance with healthcare data protection regulations.
02 Antenna design optimization for wearable patches
Specialized antenna designs can significantly improve wireless communication performance in wearable biosensing patches. These include flexible printed antennas, textile-integrated antennas, and miniaturized designs that conform to the human body while maintaining signal integrity. Advanced antenna configurations help overcome challenges related to body interference, movement, and size constraints, resulting in more reliable data transmission from the biosensing patch to receiving devices.Expand Specific Solutions03 Data compression and transmission optimization
Implementing efficient data compression algorithms and transmission protocols can enhance the performance of wireless communication in biosensing patches. These techniques reduce the amount of data that needs to be transmitted, conserving power and bandwidth while maintaining clinical accuracy. Adaptive sampling rates, edge computing for pre-processing, and smart data buffering strategies enable more efficient use of the limited wireless resources available to wearable patches.Expand Specific Solutions04 Multi-modal wireless connectivity solutions
Integrating multiple wireless communication technologies into a single biosensing patch platform allows for adaptive connectivity based on available networks, power conditions, and data urgency. These hybrid approaches may combine short-range technologies like BLE with longer-range options such as cellular IoT or Wi-Fi when needed. This redundancy ensures continuous data transmission even when the primary communication channel is unavailable or compromised.Expand Specific Solutions05 Energy harvesting for sustainable wireless communication
Energy harvesting technologies can be incorporated into wearable biosensing patches to supplement battery power and extend wireless communication capabilities. These solutions capture energy from body heat, movement, ambient RF signals, or light to power the wireless transmission components. By reducing dependence on battery power alone, these patches can achieve more frequent data transmission or longer operational lifetimes without increasing device size.Expand Specific Solutions
Leading Companies in Wireless Wearable Biosensing Market
The wireless biosensing patch market is experiencing rapid growth, currently in the early maturity phase with significant innovation potential. The global market is projected to reach $15-20 billion by 2027, driven by increasing healthcare digitalization and remote monitoring demands. Leading players represent diverse technological approaches: VivaLNK and LifeSignals are pioneering specialized wearable biosensor solutions, while established giants like Philips, Samsung, and Qualcomm leverage their telecommunications expertise to enhance wireless capabilities. Academic institutions (Zhejiang University, Nanjing University) collaborate with medical device specialists (DexCom, Verily) to advance sensor miniaturization and power efficiency. The ecosystem demonstrates a healthy balance between startups developing novel applications and established corporations providing infrastructure, with competition focused on improving wireless range, battery life, and data security.
VivaLNK, Inc.
Technical Solution: VivaLNK has developed a comprehensive wireless communication platform for their wearable biosensing patches that utilizes Bluetooth Low Energy (BLE) technology to transmit continuous physiological data. Their patented eSkin™ technology creates ultra-thin, flexible electronic patches that conform to the body's contours while housing advanced sensors and wireless communication components. The system employs a proprietary data encryption protocol to ensure secure transmission of sensitive health information while maintaining HIPAA compliance. VivaLNK's patches incorporate power optimization algorithms that dynamically adjust transmission rates based on detected events, extending battery life up to 7 days on a single charge while maintaining continuous monitoring capabilities. Their multi-sensor integration allows simultaneous tracking of ECG, temperature, respiration, and motion with synchronized data streams transmitted wirelessly to healthcare providers' systems.
Strengths: Superior flexibility and comfort through proprietary eSkin technology; extended battery life through adaptive power management; comprehensive multi-parameter monitoring in a single patch. Weaknesses: Reliance on BLE limits transmission range compared to cellular or Wi-Fi solutions; potential interference issues in healthcare environments with multiple wireless devices.
LifeSignals, Inc.
Technical Solution: LifeSignals has pioneered a wireless communication solution for biosensing patches centered around their proprietary LP1250 Life Signal Processor chip. This specialized system-on-chip integrates multiple wireless protocols including a primary 2.4GHz RF transceiver with customized firmware for healthcare applications. Their patches utilize a dual-communication architecture where physiological data is first processed locally on the patch before being transmitted via encrypted channels to a gateway device, which then relays information to cloud servers. The technology employs frequency-hopping spread spectrum techniques to minimize interference in crowded RF environments, particularly important in hospital settings. LifeSignals' patches achieve a transmission range of up to 10 meters while maintaining continuous data streaming for 3-5 days on a single battery charge. Their platform supports real-time data transmission with latency under 300ms, critical for applications requiring immediate clinical response.
Strengths: Purpose-built communication chip optimized specifically for biosensing applications; robust interference rejection through frequency-hopping technology; comprehensive end-to-end encryption. Weaknesses: Reliance on gateway devices creates additional points of potential failure; limited battery life compared to some competitors; higher manufacturing costs due to proprietary chip architecture.
Key Technical Innovations in Wireless Biosensor Communication
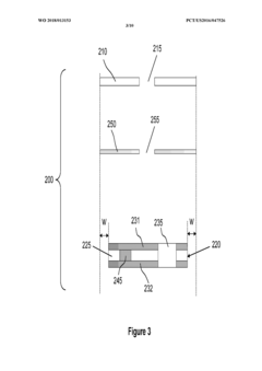
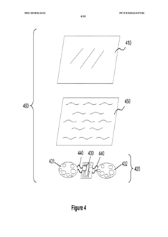
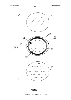
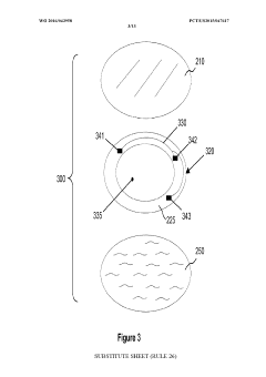
Compliant wearable patch capable of measuring electrical signals
PatentWO2018013153A1
Innovation
- The development of highly compliant and flexible wearable patches with elastic layers, adhesive layers, and shearable electrode layers that can stretch and breathe, allowing for long-term attachment and comfortable wear while measuring electrical signals from the human body.
Highly compliant wearable wireless patch having stress-relief capability
PatentWO2016043958A1
Innovation
- The development of highly compliant and flexible wearable patches with a shearable circuit layer, an elastic layer, and a breathable adhesive, which can elongate to accommodate body movements and maintain contact with the skin, incorporating semiconductor chips for wireless communication using NFC, Wi-Fi, or Bluetooth standards.
Power Management Strategies for Wireless Biosensing Patches
Power management represents a critical challenge in the development of wireless biosensing patches, as these devices must operate continuously while maintaining minimal form factor and weight. The energy constraints of wearable biosensors necessitate sophisticated power management strategies to ensure reliable long-term operation without frequent battery replacement or recharging.
Energy harvesting technologies have emerged as promising solutions for extending the operational lifespan of wireless biosensing patches. These include photovoltaic cells that convert ambient light into electrical energy, thermoelectric generators that leverage body heat, and piezoelectric materials that harvest energy from body movement. Recent advancements in these technologies have significantly improved conversion efficiencies, making them increasingly viable for powering low-energy biosensing applications.
Dynamic power scaling represents another essential strategy, where the biosensing patch adjusts its power consumption based on contextual requirements. This approach involves modulating sampling rates, transmission frequencies, and processing capabilities according to the user's activity levels or health status. For instance, the device might increase its sampling frequency during physical exercise or when detecting anomalous vital signs, while operating in an ultra-low-power state during periods of rest.
Optimized wireless communication protocols specifically designed for biosensing applications have demonstrated substantial energy savings. These protocols minimize overhead and maximize sleep periods between transmissions. Technologies such as Bluetooth Low Energy (BLE), Zigbee, and proprietary ultra-low-power protocols have been tailored to support the intermittent data transmission patterns typical of biosensing applications while consuming minimal power.
Advanced power management integrated circuits (PMICs) have been developed to orchestrate energy flow within biosensing patches. These specialized circuits incorporate sophisticated algorithms for battery charging, voltage regulation, and power distribution. Modern PMICs can dynamically adjust power delivery to different components based on operational requirements, significantly extending battery life while maintaining performance.
Battery technology innovations have also contributed to improved power management in wireless biosensing patches. Thin-film batteries, solid-state batteries, and flexible energy storage solutions offer higher energy densities while conforming to the form factor requirements of wearable devices. These advancements enable longer operational periods between charges while maintaining the comfort and unobtrusiveness essential for continuous wear.
The integration of artificial intelligence at the edge has introduced predictive power management capabilities, where machine learning algorithms anticipate power needs based on usage patterns and physiological signals. This approach enables proactive power conservation by selectively activating sensors and communication modules only when necessary, further optimizing energy consumption in wireless biosensing applications.
Energy harvesting technologies have emerged as promising solutions for extending the operational lifespan of wireless biosensing patches. These include photovoltaic cells that convert ambient light into electrical energy, thermoelectric generators that leverage body heat, and piezoelectric materials that harvest energy from body movement. Recent advancements in these technologies have significantly improved conversion efficiencies, making them increasingly viable for powering low-energy biosensing applications.
Dynamic power scaling represents another essential strategy, where the biosensing patch adjusts its power consumption based on contextual requirements. This approach involves modulating sampling rates, transmission frequencies, and processing capabilities according to the user's activity levels or health status. For instance, the device might increase its sampling frequency during physical exercise or when detecting anomalous vital signs, while operating in an ultra-low-power state during periods of rest.
Optimized wireless communication protocols specifically designed for biosensing applications have demonstrated substantial energy savings. These protocols minimize overhead and maximize sleep periods between transmissions. Technologies such as Bluetooth Low Energy (BLE), Zigbee, and proprietary ultra-low-power protocols have been tailored to support the intermittent data transmission patterns typical of biosensing applications while consuming minimal power.
Advanced power management integrated circuits (PMICs) have been developed to orchestrate energy flow within biosensing patches. These specialized circuits incorporate sophisticated algorithms for battery charging, voltage regulation, and power distribution. Modern PMICs can dynamically adjust power delivery to different components based on operational requirements, significantly extending battery life while maintaining performance.
Battery technology innovations have also contributed to improved power management in wireless biosensing patches. Thin-film batteries, solid-state batteries, and flexible energy storage solutions offer higher energy densities while conforming to the form factor requirements of wearable devices. These advancements enable longer operational periods between charges while maintaining the comfort and unobtrusiveness essential for continuous wear.
The integration of artificial intelligence at the edge has introduced predictive power management capabilities, where machine learning algorithms anticipate power needs based on usage patterns and physiological signals. This approach enables proactive power conservation by selectively activating sensors and communication modules only when necessary, further optimizing energy consumption in wireless biosensing applications.
Data Security and Privacy in Wireless Health Monitoring Systems
The integration of wireless communication with wearable biosensing patches has revolutionized health monitoring, yet it introduces significant data security and privacy challenges. As these devices continuously collect sensitive physiological data and transmit it wirelessly, they create multiple vulnerability points that malicious actors could exploit. The intimate nature of health data demands robust protection mechanisms to maintain user trust and comply with stringent healthcare regulations such as HIPAA in the US and GDPR in Europe.
Encryption serves as the primary defense mechanism for wireless health monitoring systems. Advanced encryption standards (AES) and secure key management protocols protect data both during transmission and storage. However, the resource constraints of wearable patches—limited processing power, memory, and battery life—necessitate lightweight encryption algorithms that balance security with operational efficiency.
Authentication and access control mechanisms represent another critical security layer. Multi-factor authentication, biometric verification, and role-based access controls ensure that only authorized personnel can access sensitive health information. These systems must be designed with usability in mind to prevent healthcare professionals from bypassing security measures during emergency situations.
Secure communication protocols specifically designed for medical IoT devices have emerged to address the unique challenges of wearable biosensing patches. Protocols like Bluetooth Low Energy (BLE) with enhanced security features and specialized healthcare communication standards provide secure channels while minimizing power consumption—a crucial consideration for wearable devices.
Privacy-preserving data analytics techniques have gained prominence as solutions that enable meaningful health insights while protecting individual privacy. Differential privacy, federated learning, and homomorphic encryption allow for data analysis without exposing raw personal health information, striking a balance between analytical utility and privacy protection.
Regulatory compliance frameworks continue to evolve alongside technological advancements. Manufacturers of wireless biosensing patches must navigate complex international regulations while implementing privacy-by-design principles. This includes data minimization strategies, transparent data handling policies, and user consent mechanisms that empower individuals to control their health information.
The future security landscape for wireless health monitoring systems will likely incorporate blockchain technology for immutable audit trails, artificial intelligence for anomaly detection, and quantum-resistant cryptography to protect against emerging threats. As these systems become more integrated with broader healthcare infrastructure, end-to-end security architectures that protect data across the entire ecosystem will become increasingly essential.
Encryption serves as the primary defense mechanism for wireless health monitoring systems. Advanced encryption standards (AES) and secure key management protocols protect data both during transmission and storage. However, the resource constraints of wearable patches—limited processing power, memory, and battery life—necessitate lightweight encryption algorithms that balance security with operational efficiency.
Authentication and access control mechanisms represent another critical security layer. Multi-factor authentication, biometric verification, and role-based access controls ensure that only authorized personnel can access sensitive health information. These systems must be designed with usability in mind to prevent healthcare professionals from bypassing security measures during emergency situations.
Secure communication protocols specifically designed for medical IoT devices have emerged to address the unique challenges of wearable biosensing patches. Protocols like Bluetooth Low Energy (BLE) with enhanced security features and specialized healthcare communication standards provide secure channels while minimizing power consumption—a crucial consideration for wearable devices.
Privacy-preserving data analytics techniques have gained prominence as solutions that enable meaningful health insights while protecting individual privacy. Differential privacy, federated learning, and homomorphic encryption allow for data analysis without exposing raw personal health information, striking a balance between analytical utility and privacy protection.
Regulatory compliance frameworks continue to evolve alongside technological advancements. Manufacturers of wireless biosensing patches must navigate complex international regulations while implementing privacy-by-design principles. This includes data minimization strategies, transparent data handling policies, and user consent mechanisms that empower individuals to control their health information.
The future security landscape for wireless health monitoring systems will likely incorporate blockchain technology for immutable audit trails, artificial intelligence for anomaly detection, and quantum-resistant cryptography to protect against emerging threats. As these systems become more integrated with broader healthcare infrastructure, end-to-end security architectures that protect data across the entire ecosystem will become increasingly essential.
Unlock deeper insights with Patsnap Eureka Quick Research — get a full tech report to explore trends and direct your research. Try now!
Generate Your Research Report Instantly with AI Agent
Supercharge your innovation with Patsnap Eureka AI Agent Platform!







