Research on multimodal sensing in wearable biosensing patches
OCT 10, 20259 MIN READ
Generate Your Research Report Instantly with AI Agent
Patsnap Eureka helps you evaluate technical feasibility & market potential.
Multimodal Biosensing Evolution and Objectives
Wearable biosensing patches have evolved significantly over the past decade, transitioning from single-parameter monitoring devices to sophisticated multimodal sensing platforms. The initial development phase focused primarily on basic vital sign monitoring through single sensors, such as electrocardiogram (ECG) or temperature sensors. As technology advanced, integration capabilities improved, allowing for the incorporation of multiple sensing modalities within a single wearable patch.
The evolution trajectory shows a clear progression from rigid, bulky designs with limited functionality to flexible, conformal patches capable of capturing multiple physiological parameters simultaneously. This transformation has been enabled by breakthroughs in materials science, particularly the development of stretchable electronics, flexible substrates, and skin-compatible adhesives that maintain sensor accuracy while ensuring user comfort during prolonged wear.
A significant milestone in this evolution was the transition from wired to wireless data transmission capabilities, which dramatically enhanced the usability and adoption potential of these devices. The integration of low-power communication protocols such as Bluetooth Low Energy (BLE) and Near Field Communication (NFC) has been crucial in enabling real-time data transmission while maintaining reasonable battery life.
Recent technological advancements have focused on expanding sensing capabilities beyond traditional vital signs to include biochemical markers through non-invasive or minimally invasive approaches. This includes the development of microfluidic systems for sweat analysis, microneedle-based interstitial fluid sampling, and optical sensing for blood oxygen levels and tissue perfusion assessment.
The primary objective of multimodal biosensing research is to develop comprehensive health monitoring solutions that can capture a holistic picture of physiological status through simultaneous measurement of multiple biomarkers. This approach aims to overcome the limitations of single-parameter monitoring by providing contextual information that improves diagnostic accuracy and enables more personalized healthcare interventions.
Another key goal is to enhance the reliability and accuracy of wearable sensors through data fusion techniques that leverage complementary information from multiple sensing modalities. By correlating data across different sensor types, these systems can reduce measurement artifacts and improve signal quality in real-world conditions where movement and environmental factors often compromise data integrity.
Looking forward, the field is moving toward closed-loop systems that not only monitor physiological parameters but also deliver therapeutic interventions based on real-time data analysis. This represents the next frontier in wearable biosensing technology, with potential applications in chronic disease management, personalized medicine, and preventive healthcare.
The evolution trajectory shows a clear progression from rigid, bulky designs with limited functionality to flexible, conformal patches capable of capturing multiple physiological parameters simultaneously. This transformation has been enabled by breakthroughs in materials science, particularly the development of stretchable electronics, flexible substrates, and skin-compatible adhesives that maintain sensor accuracy while ensuring user comfort during prolonged wear.
A significant milestone in this evolution was the transition from wired to wireless data transmission capabilities, which dramatically enhanced the usability and adoption potential of these devices. The integration of low-power communication protocols such as Bluetooth Low Energy (BLE) and Near Field Communication (NFC) has been crucial in enabling real-time data transmission while maintaining reasonable battery life.
Recent technological advancements have focused on expanding sensing capabilities beyond traditional vital signs to include biochemical markers through non-invasive or minimally invasive approaches. This includes the development of microfluidic systems for sweat analysis, microneedle-based interstitial fluid sampling, and optical sensing for blood oxygen levels and tissue perfusion assessment.
The primary objective of multimodal biosensing research is to develop comprehensive health monitoring solutions that can capture a holistic picture of physiological status through simultaneous measurement of multiple biomarkers. This approach aims to overcome the limitations of single-parameter monitoring by providing contextual information that improves diagnostic accuracy and enables more personalized healthcare interventions.
Another key goal is to enhance the reliability and accuracy of wearable sensors through data fusion techniques that leverage complementary information from multiple sensing modalities. By correlating data across different sensor types, these systems can reduce measurement artifacts and improve signal quality in real-world conditions where movement and environmental factors often compromise data integrity.
Looking forward, the field is moving toward closed-loop systems that not only monitor physiological parameters but also deliver therapeutic interventions based on real-time data analysis. This represents the next frontier in wearable biosensing technology, with potential applications in chronic disease management, personalized medicine, and preventive healthcare.
Market Analysis for Wearable Biosensing Patches
The wearable biosensing patch market is experiencing robust growth, driven by increasing health consciousness and the rising prevalence of chronic diseases globally. Current market valuations indicate the global wearable biosensor market reached approximately 12 billion USD in 2022, with projections suggesting a compound annual growth rate (CAGR) of 17.8% through 2030. This growth trajectory is particularly pronounced in developed regions such as North America and Europe, where healthcare infrastructure and consumer adoption of digital health technologies are more advanced.
Consumer demand for non-invasive, continuous health monitoring solutions has created significant market opportunities for multimodal sensing patches. These devices address the limitations of traditional healthcare monitoring by enabling real-time, remote patient monitoring without restricting mobility or comfort. The aging population demographic, particularly in Japan, Western Europe, and North America, represents a substantial market segment, as these consumers often require regular monitoring of multiple physiological parameters.
Healthcare providers constitute another major market segment, with hospitals and clinics increasingly adopting wearable biosensing technologies to improve patient outcomes while reducing healthcare costs. The COVID-19 pandemic accelerated this trend, highlighting the value of remote monitoring capabilities in reducing unnecessary hospital visits and managing patient care at a distance.
From a regional perspective, North America currently dominates the market with approximately 40% share, followed by Europe and Asia-Pacific. However, the Asia-Pacific region is expected to witness the fastest growth rate in the coming years, driven by improving healthcare infrastructure, increasing disposable income, and growing awareness about preventive healthcare in countries like China and India.
The market segmentation by sensing modality reveals that electrochemical sensors currently hold the largest market share, followed by optical sensors and temperature sensors. However, multimodal sensing solutions that combine multiple sensing technologies are gaining significant traction due to their ability to provide more comprehensive health insights.
Key market drivers include technological advancements in sensor miniaturization, improvements in battery technology, enhanced data analytics capabilities, and growing integration with smartphone applications. Regulatory approvals from bodies such as the FDA and CE marking are also facilitating market expansion by increasing consumer and healthcare provider confidence in these technologies.
Despite positive growth indicators, market challenges persist, including concerns about data privacy and security, accuracy of measurements, interoperability issues, and relatively high costs of advanced multimodal sensing patches. Additionally, reimbursement policies for wearable health technologies remain inconsistent across different healthcare systems, potentially limiting adoption in certain markets.
Consumer demand for non-invasive, continuous health monitoring solutions has created significant market opportunities for multimodal sensing patches. These devices address the limitations of traditional healthcare monitoring by enabling real-time, remote patient monitoring without restricting mobility or comfort. The aging population demographic, particularly in Japan, Western Europe, and North America, represents a substantial market segment, as these consumers often require regular monitoring of multiple physiological parameters.
Healthcare providers constitute another major market segment, with hospitals and clinics increasingly adopting wearable biosensing technologies to improve patient outcomes while reducing healthcare costs. The COVID-19 pandemic accelerated this trend, highlighting the value of remote monitoring capabilities in reducing unnecessary hospital visits and managing patient care at a distance.
From a regional perspective, North America currently dominates the market with approximately 40% share, followed by Europe and Asia-Pacific. However, the Asia-Pacific region is expected to witness the fastest growth rate in the coming years, driven by improving healthcare infrastructure, increasing disposable income, and growing awareness about preventive healthcare in countries like China and India.
The market segmentation by sensing modality reveals that electrochemical sensors currently hold the largest market share, followed by optical sensors and temperature sensors. However, multimodal sensing solutions that combine multiple sensing technologies are gaining significant traction due to their ability to provide more comprehensive health insights.
Key market drivers include technological advancements in sensor miniaturization, improvements in battery technology, enhanced data analytics capabilities, and growing integration with smartphone applications. Regulatory approvals from bodies such as the FDA and CE marking are also facilitating market expansion by increasing consumer and healthcare provider confidence in these technologies.
Despite positive growth indicators, market challenges persist, including concerns about data privacy and security, accuracy of measurements, interoperability issues, and relatively high costs of advanced multimodal sensing patches. Additionally, reimbursement policies for wearable health technologies remain inconsistent across different healthcare systems, potentially limiting adoption in certain markets.
Technical Landscape and Barriers in Multimodal Sensing
Multimodal sensing in wearable biosensing patches represents a rapidly evolving technological landscape with significant advancements across global research institutions and commercial entities. Currently, the field demonstrates a complex integration of various sensing modalities including electrochemical, optical, electrical, and mechanical sensors within flexible, skin-conformable platforms. The United States, European Union, China, and Japan lead in research output and patent filings, with academic-industrial partnerships accelerating commercialization efforts.
The primary technical challenges in this domain center around sensor miniaturization while maintaining sensitivity and specificity. Current wearable patches typically range from 1-5 cm² in size, with researchers striving to reduce this footprint while incorporating multiple sensing modalities. Power management remains a critical bottleneck, as multimodal systems require significantly more energy than single-modal counterparts, with most current solutions offering only 24-72 hours of continuous operation before recharging or replacement.
Data integration presents another substantial hurdle, as different sensing modalities generate heterogeneous data streams with varying sampling rates, formats, and noise characteristics. Current algorithmic approaches struggle to synchronize and meaningfully correlate these diverse data types in real-time, particularly on resource-constrained wearable platforms. Cross-modal interference further complicates this landscape, with electromagnetic, thermal, and mechanical interactions between sensing elements potentially compromising measurement accuracy.
Biocompatibility and user comfort remain persistent challenges, particularly for long-term wear applications. Current adhesive technologies and materials science solutions often force trade-offs between secure attachment and skin irritation, with most commercial patches limited to 7-14 days of continuous wear before replacement becomes necessary due to skin reactions or adhesive degradation.
Manufacturing scalability presents significant barriers to widespread adoption, as current fabrication techniques for multimodal patches often involve complex, multi-step processes that are difficult to scale. The integration of rigid electronic components with flexible substrates creates particular challenges for mass production, with yield rates typically below 70% for highly integrated multimodal systems.
Regulatory pathways for multimodal sensing patches remain underdeveloped, with classification challenges arising from their hybrid nature between medical devices and consumer electronics. The FDA and equivalent bodies in other regions are still evolving appropriate validation frameworks for these technologies, creating uncertainty for developers and potentially slowing market entry for innovative solutions.
The primary technical challenges in this domain center around sensor miniaturization while maintaining sensitivity and specificity. Current wearable patches typically range from 1-5 cm² in size, with researchers striving to reduce this footprint while incorporating multiple sensing modalities. Power management remains a critical bottleneck, as multimodal systems require significantly more energy than single-modal counterparts, with most current solutions offering only 24-72 hours of continuous operation before recharging or replacement.
Data integration presents another substantial hurdle, as different sensing modalities generate heterogeneous data streams with varying sampling rates, formats, and noise characteristics. Current algorithmic approaches struggle to synchronize and meaningfully correlate these diverse data types in real-time, particularly on resource-constrained wearable platforms. Cross-modal interference further complicates this landscape, with electromagnetic, thermal, and mechanical interactions between sensing elements potentially compromising measurement accuracy.
Biocompatibility and user comfort remain persistent challenges, particularly for long-term wear applications. Current adhesive technologies and materials science solutions often force trade-offs between secure attachment and skin irritation, with most commercial patches limited to 7-14 days of continuous wear before replacement becomes necessary due to skin reactions or adhesive degradation.
Manufacturing scalability presents significant barriers to widespread adoption, as current fabrication techniques for multimodal patches often involve complex, multi-step processes that are difficult to scale. The integration of rigid electronic components with flexible substrates creates particular challenges for mass production, with yield rates typically below 70% for highly integrated multimodal systems.
Regulatory pathways for multimodal sensing patches remain underdeveloped, with classification challenges arising from their hybrid nature between medical devices and consumer electronics. The FDA and equivalent bodies in other regions are still evolving appropriate validation frameworks for these technologies, creating uncertainty for developers and potentially slowing market entry for innovative solutions.
Current Multimodal Integration Approaches
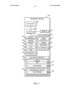
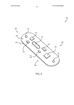
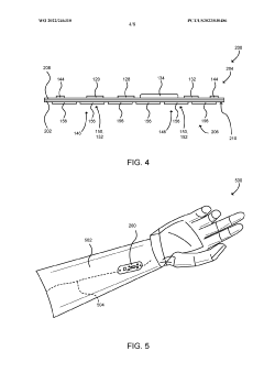
01 Integration of multiple sensing modalities in wearable patches
Wearable biosensing patches can incorporate multiple sensing modalities to provide comprehensive health monitoring. These multimodal systems combine different types of sensors such as electrochemical, optical, and physical sensors on a single flexible platform. This integration enables simultaneous monitoring of various physiological parameters, offering more complete health insights than single-parameter monitoring systems. The combination of different sensing technologies enhances diagnostic capabilities and provides more reliable health data for clinical assessment.- Integration of multiple sensing modalities in wearable patches: Wearable biosensing patches can incorporate multiple sensing modalities to provide comprehensive health monitoring. These multimodal systems combine different types of sensors such as electrochemical, optical, and physical sensors on a single flexible platform. This integration enables simultaneous monitoring of various physiological parameters, offering more complete health insights than single-parameter monitoring systems. The combination of sensing technologies enhances diagnostic capabilities while maintaining user comfort and convenience.
- Advanced materials and fabrication techniques for multimodal biosensing patches: Novel materials and fabrication methods are crucial for developing effective multimodal biosensing patches. Flexible substrates, stretchable electronics, and biocompatible materials enable comfortable, long-term wear while maintaining sensor accuracy. Advanced manufacturing techniques such as 3D printing, screen printing, and microfabrication allow for precise integration of multiple sensing elements in compact, skin-conforming designs. These materials and techniques address challenges related to sensor miniaturization, power efficiency, and signal integrity in multimodal systems.
- Data fusion and processing algorithms for multimodal biosensors: Sophisticated algorithms and data processing techniques are essential for extracting meaningful information from multimodal biosensing patches. These systems employ data fusion methods to combine inputs from different sensor types, improving measurement accuracy and reliability. Machine learning algorithms help identify patterns across multiple physiological parameters, enabling more precise health assessments and predictive capabilities. Edge computing implementations allow for local processing of sensor data, reducing power consumption and enabling real-time feedback to users.
- Wireless communication and power management for wearable multimodal patches: Effective wireless communication and power management systems are critical for practical multimodal biosensing patches. These patches incorporate low-power wireless protocols such as Bluetooth Low Energy, NFC, or custom RF solutions to transmit multimodal sensor data to smartphones or other devices. Energy harvesting technologies, including photovoltaic cells, piezoelectric elements, and thermal energy harvesters, extend battery life and operational duration. Power management circuits optimize energy consumption across multiple sensing modalities, balancing performance requirements with energy constraints.
- Clinical applications and validation of multimodal biosensing patches: Multimodal biosensing patches are being developed and validated for various clinical applications. These include continuous monitoring of chronic conditions, early detection of physiological abnormalities, medication response tracking, and personalized healthcare delivery. Clinical validation studies demonstrate the accuracy, reliability, and user acceptance of these multimodal systems compared to traditional monitoring methods. Regulatory considerations address safety, efficacy, and data security aspects of these advanced wearable technologies, ensuring they meet healthcare standards while providing meaningful clinical insights.
02 Flexible and stretchable materials for biosensing patches
Advanced materials engineering enables the development of flexible and stretchable wearable biosensing patches that conform to the body's contours. These materials include conductive polymers, elastomers, and nanocomposites that maintain functionality during movement and deformation. The flexibility allows for comfortable long-term wear while ensuring continuous contact with the skin for accurate sensing. These materials also facilitate the integration of multiple sensing elements without compromising wearability, making multimodal sensing more practical for everyday use.Expand Specific Solutions03 Data fusion and processing algorithms for multimodal sensors
Sophisticated algorithms are essential for processing and integrating data from multiple sensing modalities in wearable patches. These algorithms synchronize and correlate diverse data streams, filter noise, and extract meaningful health insights. Machine learning approaches can identify patterns across different sensor inputs that might not be apparent when analyzing individual parameters. Real-time data fusion enables more accurate health assessments and can trigger alerts when abnormal patterns are detected, enhancing the diagnostic value of multimodal sensing systems.Expand Specific Solutions04 Wireless communication and power management for wearable patches
Effective wireless communication and power management are critical for practical multimodal biosensing patches. These systems incorporate low-power wireless protocols to transmit data from multiple sensors to smartphones or other devices for analysis. Energy harvesting technologies, such as photovoltaic cells or motion harvesters, can supplement battery power to extend operating time. Advanced power management circuits optimize energy consumption across different sensing modalities, allowing for continuous monitoring without frequent recharging or replacement.Expand Specific Solutions05 Clinical applications of multimodal biosensing patches
Multimodal biosensing patches have diverse clinical applications, from chronic disease management to preventive healthcare. These patches can simultaneously monitor vital signs, biochemical markers, and physical activity to provide comprehensive health assessments. In hospital settings, they enable continuous patient monitoring without restricting mobility. For remote healthcare, they provide clinicians with detailed physiological data from patients at home. Specific applications include diabetes management through combined glucose and metabolite sensing, cardiovascular monitoring through ECG and blood pressure measurements, and sports medicine through combined electrolyte and motion sensing.Expand Specific Solutions
Industry Leaders in Wearable Biosensing Ecosystem
The multimodal sensing wearable biosensing patch market is in a growth phase, characterized by increasing adoption across healthcare monitoring applications. The market size is expanding rapidly, projected to reach significant valuation as remote patient monitoring gains traction globally. Technologically, the field shows varying maturity levels, with established players like Philips and Medtronic offering commercialized solutions, while academic institutions (University of California, Tianjin University, North Carolina State University) drive fundamental research innovations. Companies like LifeSignals, Seers Technology, and Onera Technologies are developing specialized applications, focusing on continuous health monitoring capabilities. Intel and Panasonic contribute computing and materials expertise respectively, while medical device manufacturers like Biosense Webster and Eli Lilly explore integration with therapeutic systems. The ecosystem demonstrates a collaborative innovation model between academia, technology firms, and healthcare companies.
The Regents of the University of California
Technical Solution: The University of California has pioneered groundbreaking research in multimodal biosensing patches through their engineering and medical departments. Their technology integrates electrochemical, optical, and physical sensors within a single flexible platform using advanced microfabrication techniques. UC researchers have developed novel materials including stretchable electronics and conformable substrates that maintain sensor performance during body movement. Their patches incorporate microfluidic systems for biofluid sampling and analysis alongside traditional vital sign monitoring. UC's approach emphasizes non-invasive chemical sensing, utilizing techniques such as reverse iontophoresis and microneedle-based sampling to access interstitial fluid without significant skin penetration. Their research has demonstrated simultaneous monitoring of glucose, lactate, electrolytes, hydration status, and traditional vital signs in a single wearable platform. The technology incorporates energy-efficient data processing algorithms that extract meaningful health insights from multimodal sensor fusion while minimizing power consumption.
Strengths: Cutting-edge research in materials science and sensor miniaturization; strong interdisciplinary collaboration between engineering and medical departments; extensive peer-reviewed publications establishing scientific credibility. Weaknesses: Technology primarily in research phase rather than commercial products; less focus on manufacturing scalability; intellectual property spread across multiple university departments may complicate commercialization.
Koninklijke Philips NV
Technical Solution: Philips has developed an advanced multimodal biosensing patch system that integrates optical, electrochemical, and impedance-based sensing technologies. Their platform combines photoplethysmography (PPG), electrocardiography (ECG), and bioimpedance analysis in a single wearable patch to monitor cardiovascular, respiratory, and fluid status parameters simultaneously. The patches employ a proprietary flexible substrate technology that maintains sensor contact while accommodating body movement. Philips' solution incorporates advanced signal processing algorithms that cross-reference data from multiple sensing modalities to improve measurement accuracy and reduce false alarms. Their system features wireless connectivity to their HealthSuite Digital Platform, enabling remote patient monitoring and integration with electronic health records. The patches utilize energy harvesting techniques combined with optimized power management to extend operational life to over 14 days.
Strengths: Comprehensive healthcare ecosystem integration; strong clinical validation across multiple patient populations; sophisticated data analytics capabilities. Weaknesses: Higher price point limits accessibility; complex setup may require healthcare professional assistance; larger form factor compared to single-function patches.
Key Patents and Breakthroughs in Biosensing Fusion
Technologies for multimodal sensor wearable device for biomedical monitoring
PatentWO2022246310A2
Innovation
- A wearable device with a flexible substrate incorporating a multimodal sensor that combines photoplethysmography and bioimpedance sensors, along with additional sensors for environmental and motion data, processes data to provide continuous cuffless blood pressure monitoring, using a processor to generate accurate biometric data by correcting for motion artifacts and variability in ejection fraction.
Integrated chemical/ultrasonic transducer sensor
PatentPendingUS20220117503A1
Innovation
- A wearable, integrated electrochemical-ultrasonic transducer sensor that combines flexible electrodes with ultrasonic transducers to non-invasively monitor blood pressure and heart rate while detecting biomarkers like glucose, lactate, caffeine, and alcohol in sweat and interstitial fluid, providing a conformal, multiplexed sensing platform.
Materials Science Advancements for Skin-Interface Sensors
Recent advancements in materials science have revolutionized the development of skin-interface sensors for wearable biosensing patches. The evolution from rigid electronic components to flexible, stretchable, and biocompatible materials has significantly enhanced the capability of these devices to perform multimodal sensing while maintaining comfort and durability during prolonged wear.
Elastomeric substrates, particularly silicone-based polymers like polydimethylsiloxane (PDMS), have emerged as foundational materials due to their excellent mechanical properties and biocompatibility. These materials can withstand repeated deformation while maintaining structural integrity, making them ideal for continuous monitoring applications. Additionally, the incorporation of liquid metal alloys, such as gallium-indium eutectic (EGaIn), has enabled the creation of stretchable conductive pathways that maintain electrical performance even under significant mechanical strain.
Nanomaterials have played a crucial role in enhancing sensor sensitivity and specificity. Carbon-based nanomaterials including graphene, carbon nanotubes (CNTs), and reduced graphene oxide (rGO) offer exceptional electrical conductivity and large surface-to-volume ratios, enabling highly sensitive detection of biomarkers. These materials can be functionalized with specific recognition elements to target particular analytes, thereby improving selectivity in complex biological environments.
The integration of piezoelectric materials such as polyvinylidene fluoride (PVDF) and zinc oxide nanowires has facilitated mechanical sensing capabilities, allowing patches to detect subtle physiological movements, including pulse waves and respiratory patterns. Meanwhile, advances in conducting polymers like PEDOT:PSS have enhanced electrochemical sensing performance while maintaining flexibility, enabling simultaneous monitoring of multiple biomarkers.
Hydrogel-based interfaces have addressed the critical challenge of maintaining stable skin contact. These water-containing networks provide a biocompatible buffer zone between electronic components and skin, reducing irritation during extended wear periods. Recent innovations in self-healing materials have further improved device longevity by enabling automatic repair of microcracks and damage that occur during normal use.
Biodegradable and environmentally friendly materials represent the frontier of skin-interface sensor development. Materials such as silk fibroin, poly(lactic-co-glycolic acid) (PLGA), and cellulose derivatives offer promising alternatives to conventional electronics, potentially enabling transient electronics that can safely dissolve after their functional lifetime, reducing electronic waste and eliminating the need for device removal.
Elastomeric substrates, particularly silicone-based polymers like polydimethylsiloxane (PDMS), have emerged as foundational materials due to their excellent mechanical properties and biocompatibility. These materials can withstand repeated deformation while maintaining structural integrity, making them ideal for continuous monitoring applications. Additionally, the incorporation of liquid metal alloys, such as gallium-indium eutectic (EGaIn), has enabled the creation of stretchable conductive pathways that maintain electrical performance even under significant mechanical strain.
Nanomaterials have played a crucial role in enhancing sensor sensitivity and specificity. Carbon-based nanomaterials including graphene, carbon nanotubes (CNTs), and reduced graphene oxide (rGO) offer exceptional electrical conductivity and large surface-to-volume ratios, enabling highly sensitive detection of biomarkers. These materials can be functionalized with specific recognition elements to target particular analytes, thereby improving selectivity in complex biological environments.
The integration of piezoelectric materials such as polyvinylidene fluoride (PVDF) and zinc oxide nanowires has facilitated mechanical sensing capabilities, allowing patches to detect subtle physiological movements, including pulse waves and respiratory patterns. Meanwhile, advances in conducting polymers like PEDOT:PSS have enhanced electrochemical sensing performance while maintaining flexibility, enabling simultaneous monitoring of multiple biomarkers.
Hydrogel-based interfaces have addressed the critical challenge of maintaining stable skin contact. These water-containing networks provide a biocompatible buffer zone between electronic components and skin, reducing irritation during extended wear periods. Recent innovations in self-healing materials have further improved device longevity by enabling automatic repair of microcracks and damage that occur during normal use.
Biodegradable and environmentally friendly materials represent the frontier of skin-interface sensor development. Materials such as silk fibroin, poly(lactic-co-glycolic acid) (PLGA), and cellulose derivatives offer promising alternatives to conventional electronics, potentially enabling transient electronics that can safely dissolve after their functional lifetime, reducing electronic waste and eliminating the need for device removal.
Data Privacy and Security Frameworks for Biosensing
The evolution of wearable biosensing patches has introduced significant data privacy and security challenges that require robust frameworks to address. As these devices collect increasingly sensitive physiological data through multimodal sensing technologies, the protection of this information has become paramount. Current regulatory frameworks such as GDPR in Europe, HIPAA in the United States, and PIPEDA in Canada provide baseline requirements, but specialized frameworks for wearable biosensors are still emerging.
Security frameworks for multimodal biosensing must address several unique challenges. The continuous nature of data collection creates larger attack surfaces compared to traditional medical devices. Additionally, the wireless transmission capabilities of modern patches introduce vulnerabilities during data transfer that must be mitigated through encryption protocols and secure communication channels.
A comprehensive security architecture for biosensing patches typically implements a multi-layered approach. At the hardware level, secure elements and trusted execution environments protect sensitive operations. The firmware layer employs code signing and secure boot processes to prevent unauthorized modifications. Data encryption occurs both at rest and in transit, with many frameworks now recommending end-to-end encryption as standard practice.
Authentication mechanisms have evolved beyond simple passwords to include biometric verification and multi-factor authentication tailored to wearable contexts. Advanced frameworks incorporate anomaly detection systems that can identify unusual data access patterns or unexpected sensor behavior that might indicate security breaches.
Privacy-preserving computation techniques are gaining prominence in biosensing security frameworks. Federated learning allows models to be trained across multiple devices without raw data leaving the device. Differential privacy adds mathematical noise to datasets to protect individual identities while maintaining statistical utility. These approaches enable valuable research while minimizing privacy risks.
Consent management represents another critical component of modern frameworks. Dynamic consent models allow users to modify their data sharing preferences over time, while granular permission systems enable selective sharing of specific sensor data types. This addresses the particular challenge of multimodal sensing, where different sensor types may collect data with varying sensitivity levels.
Industry consortia such as the Continua Health Alliance and the Personal Connected Health Alliance have developed interoperability standards that incorporate security requirements. These collaborative efforts are essential for establishing consistent security practices across the fragmented wearable technology ecosystem, particularly as multimodal sensing introduces greater complexity in data types and integration requirements.
Security frameworks for multimodal biosensing must address several unique challenges. The continuous nature of data collection creates larger attack surfaces compared to traditional medical devices. Additionally, the wireless transmission capabilities of modern patches introduce vulnerabilities during data transfer that must be mitigated through encryption protocols and secure communication channels.
A comprehensive security architecture for biosensing patches typically implements a multi-layered approach. At the hardware level, secure elements and trusted execution environments protect sensitive operations. The firmware layer employs code signing and secure boot processes to prevent unauthorized modifications. Data encryption occurs both at rest and in transit, with many frameworks now recommending end-to-end encryption as standard practice.
Authentication mechanisms have evolved beyond simple passwords to include biometric verification and multi-factor authentication tailored to wearable contexts. Advanced frameworks incorporate anomaly detection systems that can identify unusual data access patterns or unexpected sensor behavior that might indicate security breaches.
Privacy-preserving computation techniques are gaining prominence in biosensing security frameworks. Federated learning allows models to be trained across multiple devices without raw data leaving the device. Differential privacy adds mathematical noise to datasets to protect individual identities while maintaining statistical utility. These approaches enable valuable research while minimizing privacy risks.
Consent management represents another critical component of modern frameworks. Dynamic consent models allow users to modify their data sharing preferences over time, while granular permission systems enable selective sharing of specific sensor data types. This addresses the particular challenge of multimodal sensing, where different sensor types may collect data with varying sensitivity levels.
Industry consortia such as the Continua Health Alliance and the Personal Connected Health Alliance have developed interoperability standards that incorporate security requirements. These collaborative efforts are essential for establishing consistent security practices across the fragmented wearable technology ecosystem, particularly as multimodal sensing introduces greater complexity in data types and integration requirements.
Unlock deeper insights with Patsnap Eureka Quick Research — get a full tech report to explore trends and direct your research. Try now!
Generate Your Research Report Instantly with AI Agent
Supercharge your innovation with Patsnap Eureka AI Agent Platform!







